Скачать СТБ МЭК 61000-4-11-2006 Электромагнитная совместимость. Часть 4-11. Методы испытаний и измерений. Испытания на устойчивость к провалам, кратковременным прерываниям и изменениям напряженияДата актуализации: 01.01.2021
|
| Обозначение: | СТБ МЭК 61000-4-11-2006 |
| Обозначение англ: | 61000-4-11-2006 |
| Статус: | применяется в еаэс |
| Название рус.: | Электромагнитная совместимость. Часть 4-11. Методы испытаний и измерений. Испытания на устойчивость к провалам, кратковременным прерываниям и изменениям напряжения |
| Дата добавления в базу: | 01.01.2019 |
| Дата актуализации: | 01.01.2021 |
| Дата введения: | 01.06.2007 |
| Область применения: | Стандарт распространяется на электрическое и электронное оборудование, подключаемое к низковольтным цепям электропитания, и устанавливает методы испытаний на устойчивость и испытательные уровни к провалам, кратковременным прерываниям и изменениям напряжения. Стандарт распространяется на электрическое и электронное оборудование, у которого входной ток не превышает 16 А в одной фазе, и которое подключается к сетям электропитания с частотой 50 или 60 Гц. Стандарт не применяется к электрическому и электронному оборудованию, которое подключается к сетям электропитания с частотой 400 Гц. |
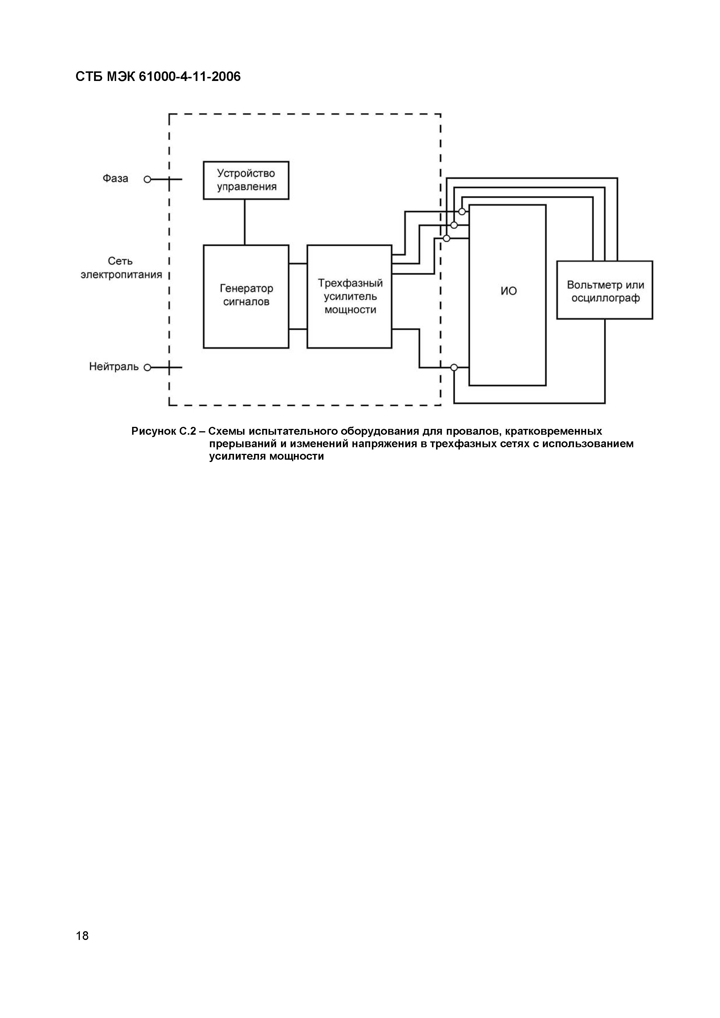
| Оглавление: | Введение 1 Область применения 2 Нормативные ссылки 3 Термины и определения 4 Общие положения 5 Испытательные уровни 5.1 Провалы и прерывания напряжения 5.2 Изменение напряжения (необязательно) 6 Испытательное оборудование 6.1 Испытательный генератор 6.2 Источник электропитания 7 Организованное место для испытаний 8 Методы испытаний 8.1 Условия испытаний в испытательной лаборатории 8.2 Проведение испытаний 9 Оценка результатов испытаний 10 Протокол испытаний Приложение А (обязательное) Пояснения к схеме испытания Приложение В (справочное) Классы электромагнитной обстановки Приложение С (справочное) Испытательное оборудование |
| Разработан: | ОАО Испытания и сертификация бытовой и промышленной продукции БЕЛЛИС |
| Утверждён: | 08.12.2006 Госстандарт Республики Беларусь (62) |
| Издан: | БелГИСС (2007 г. ) |
| Заменяет собой: |
|






















