Скачать ГОСТ Р 58027-2017 Проектирование и производство на месте вертикальных цилиндрических стальных емкостей с плоским дном для хранения охлажденных сжиженных газов с рабочей температурой от 0 °С до -165 °С. Часть 1. Общие положенияДата актуализации: 01.01.2021
|
| Обозначение: | ГОСТ Р 58027-2017 |
| Обозначение англ: | GOST R 58027-2017 |
| Статус: | принят |
| Название рус.: | Проектирование и производство на месте вертикальных цилиндрических стальных емкостей с плоским дном для хранения охлажденных сжиженных газов с рабочей температурой от 0 °С до -165 °С. Часть 1. Общие положения |
| Название англ.: | Design and manufacture of site built, vertical, cylindrical, flat-bottomed steel tanks for the storage of refrigerated, liquefied gases with operating temperatures between 0 °C and to -165 °C. Part 1. General |
| Дата добавления в базу: | 01.01.2019 |
| Дата актуализации: | 01.01.2021 |
| Дата введения: | 01.01.2022 |
| Область применения: | Стандарт распространяется на резервуары, возводимые на строительной площадке, внешняя оболочка которых выполнена из стали, внутренняя оболочка может быть выполнена из стали, бетона или в сочетании обоих материалов. Стандарт устанавливает принципы и правила, применяемые к строительному проектированию резервуара при его изготовлении, испытании, вводе в эксплуатацию, эксплуатации (включая эксплуатацию в чрезвычайных условиях) и выводе из эксплуатации. Стандарт используется для резервуаров-хранилищ, предназначенных для продуктов с температурой кипения при атмосферном давлении ниже наружной температуры в жидком и газообразном состоянии. |
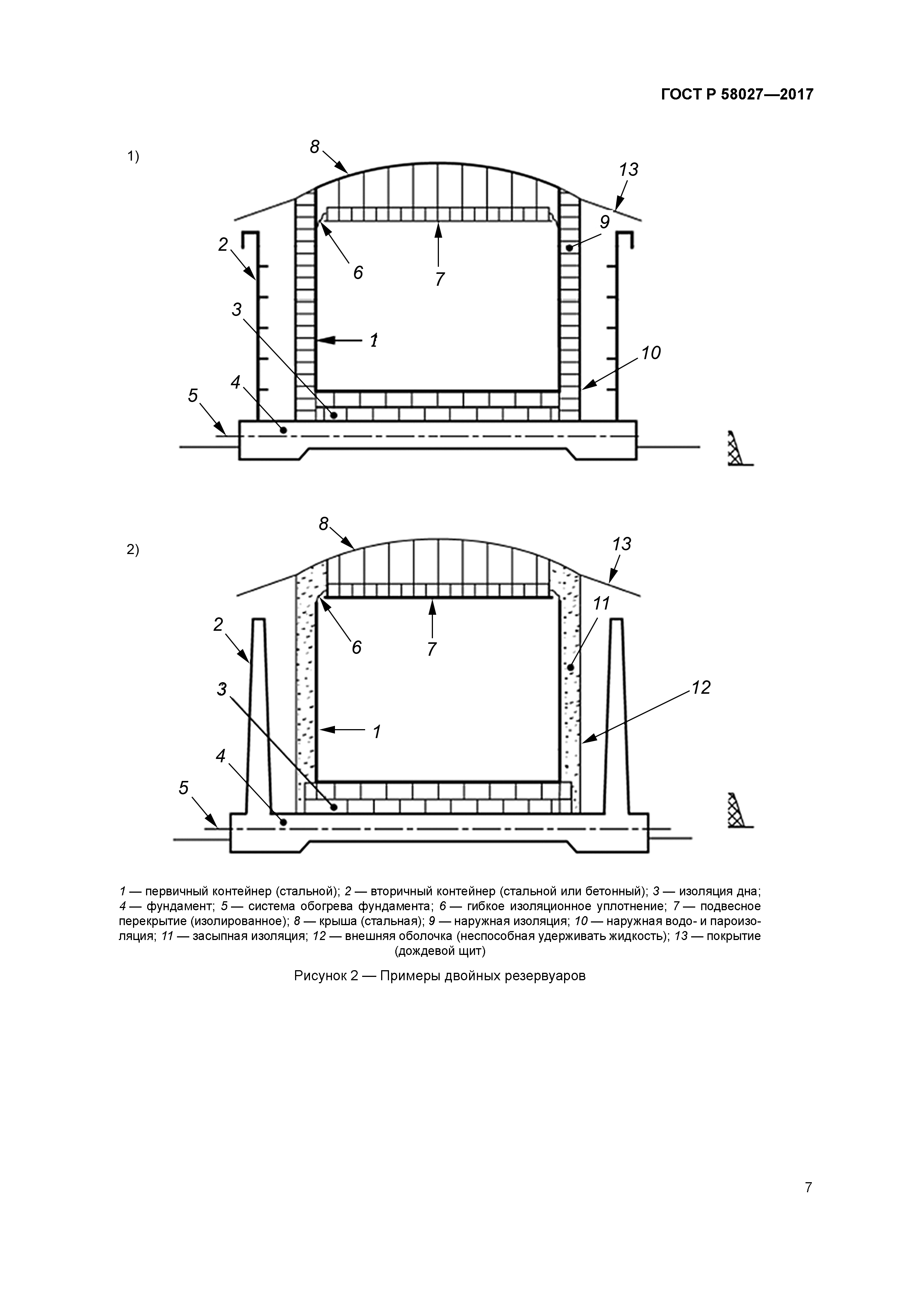
| Оглавление: | 1 Область применения 2 Нормативные ссылки 3 Термины и определения 4 Основные положения и требования 4.1 Общие требования 4.2 Типы резервуаров 4.3 Оценка рисков 5 Обеспечение и контроль качества 6 Программа защиты здоровья, безопасности и окружающей среды 7 Общие проектные решения 7.1 Общие положения 7.2 Системы защиты 7.3 Нагрузки и воздействия 8 Проверка и обслуживание Приложение A (справочное) Физические свойства газов Приложение B (справочное) Проектная информация Приложение C (обязательное) Сейсмический анализ Приложение D (справочное) Система обогрева резервуара Приложение ДА (справочное) Сведения о соответствии ссылочных европейских стандартов национальным стандартам Библиография |
| Разработан: | ЗАО ЦНИИПСК им. Мельникова |
| Утверждён: | 19.12.2017 Федеральное агентство по техническому регулированию и метрологии (2023-ст) |
| Издан: | Стандартинформ (2018 г. ) |
| Нормативные ссылки: |
|





























