Скачать РД 22-158-86 Экскаваторы одноковшовые гидравлические. Рабочее оборудование. Расчет металлоконструкций на статическую прочностьДата актуализации: 01.01.2021
|
| Обозначение: | РД 22-158-86 |
| Обозначение англ: | RD 22-158-86 |
| Статус: | введен впервые |
| Название рус.: | Экскаваторы одноковшовые гидравлические. Рабочее оборудование. Расчет металлоконструкций на статическую прочность |
| Дата добавления в базу: | 01.01.2019 |
| Дата актуализации: | 01.01.2021 |
| Дата введения: | 01.07.1987 |
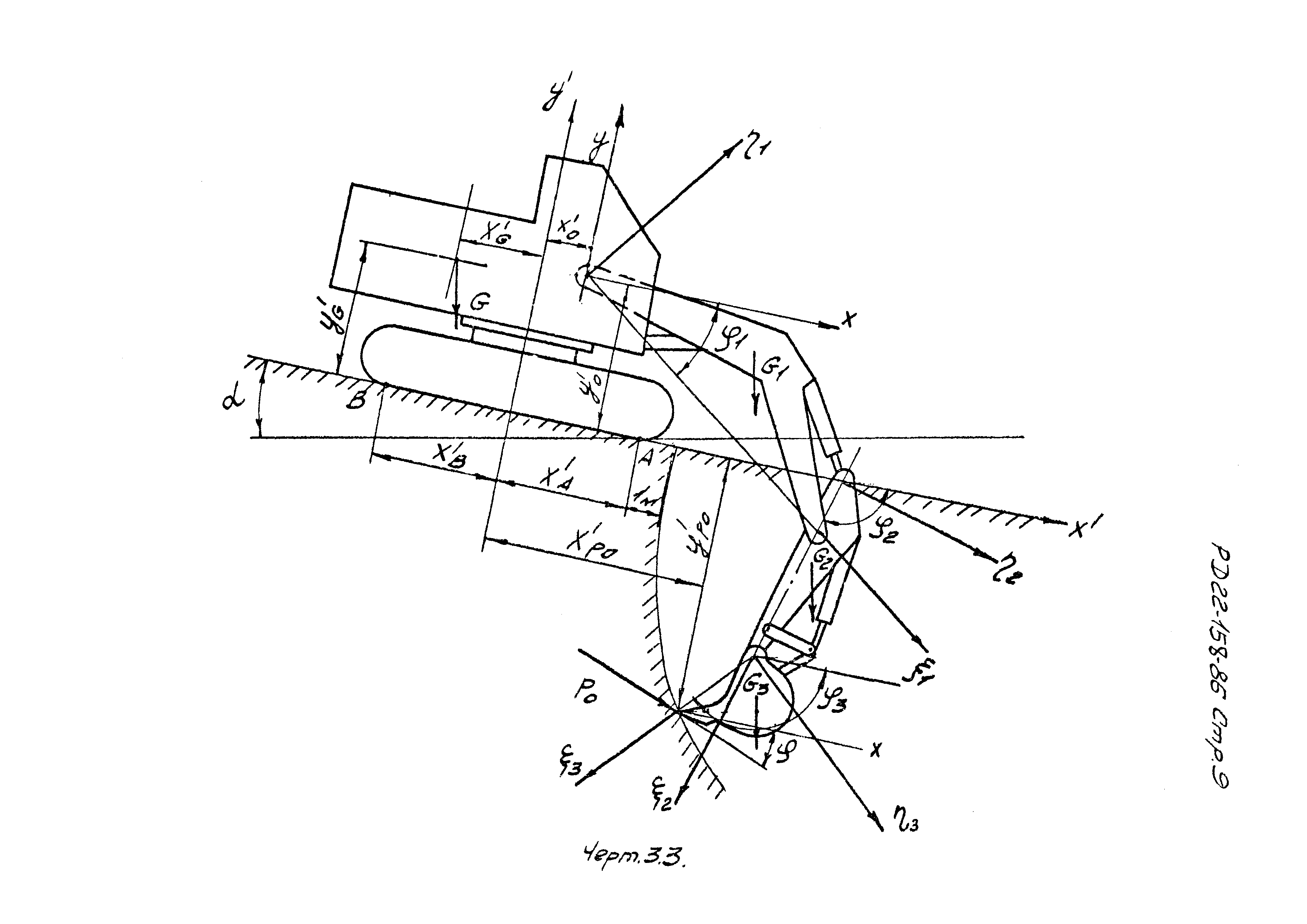
| Область применения: | Документ устанавливает порядок расчета металлоконструкций рабочего оборудования на статическую прочность гидравлических экскаваторов с применением ЭВМ, при разработке РД использованы материалы исследований, проведенных во ВНИИстройдормаше. |
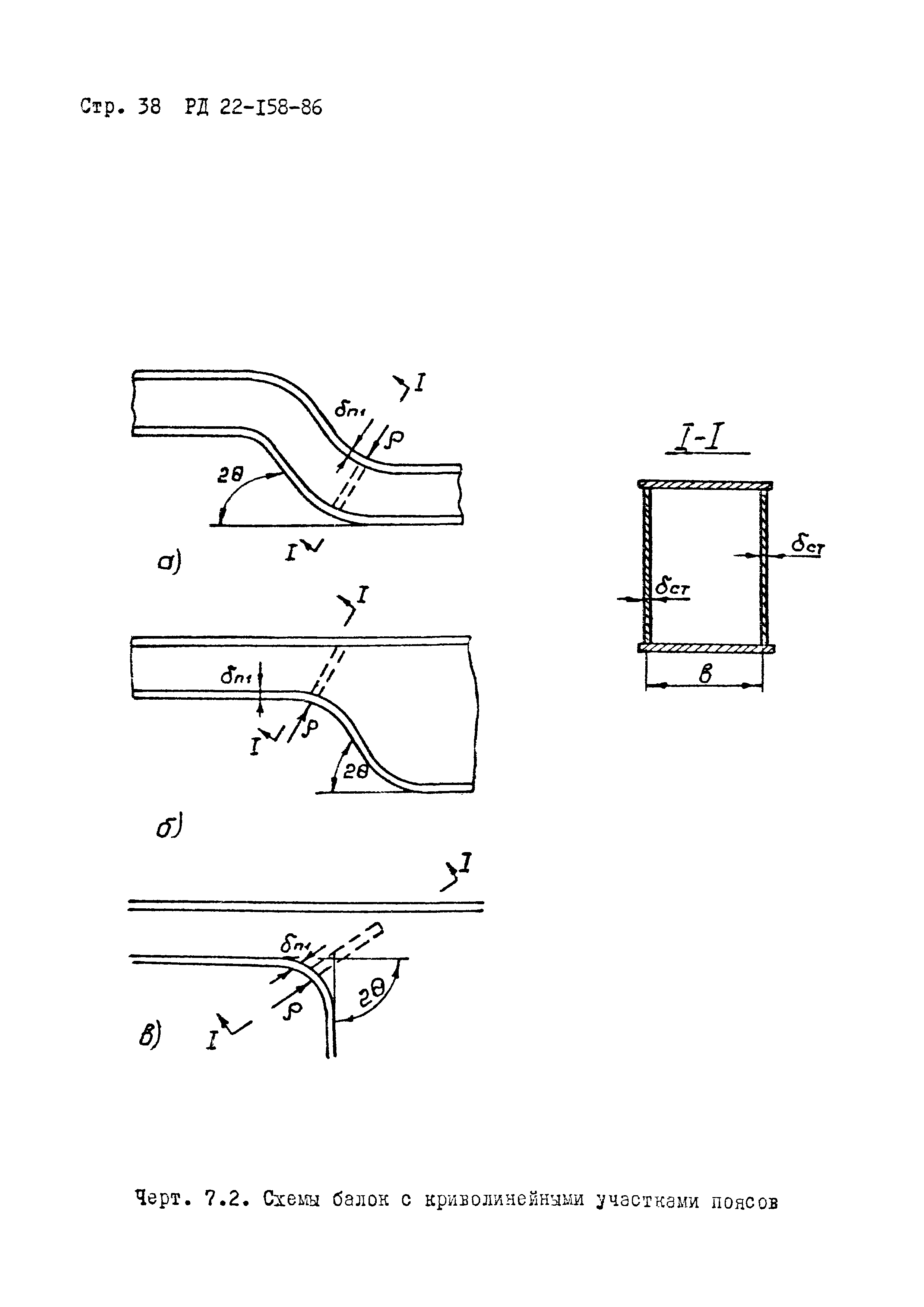
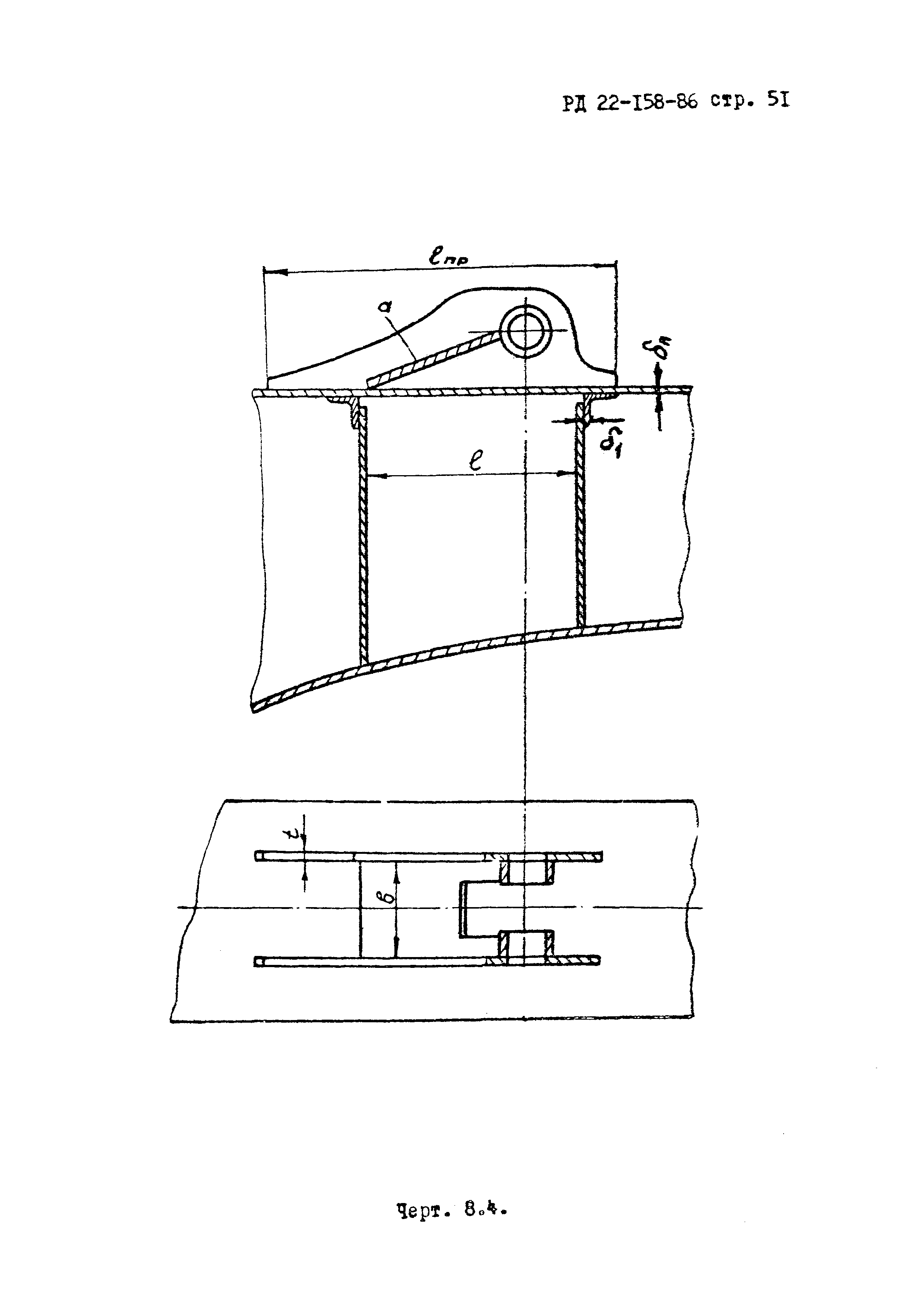
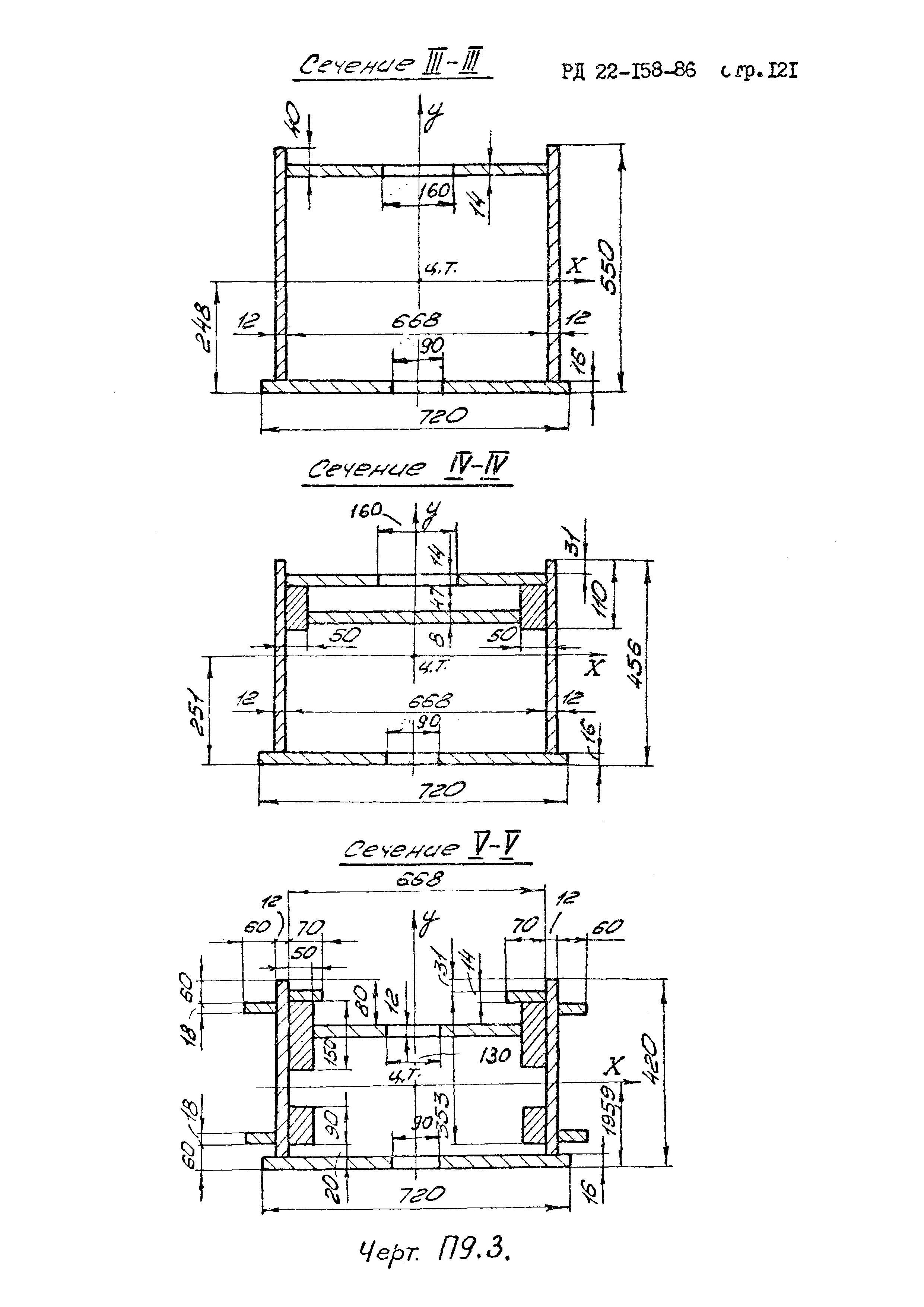
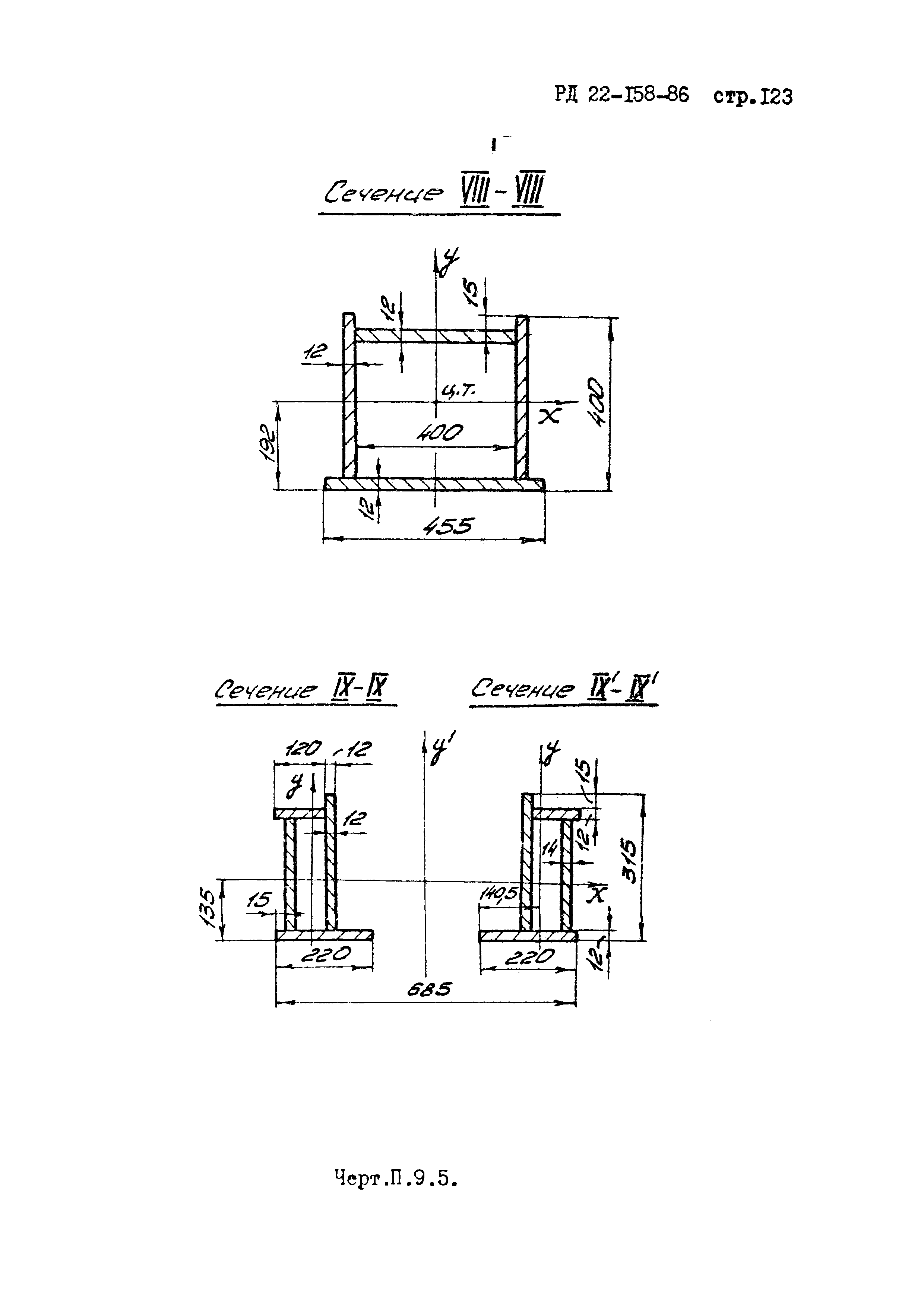
| Оглавление: | 1 Общие требования к расчёту 2 Принятые основные обозначения 3 Основные теоретические предпосылки и допущения 4 Расчетные нагрузки и ограничения 5 Определение напряжений в сечениях элементов рабочего оборудования 6 Проверка прочности 7 Расчет сварных швов 8 Расчет швов под креплениями проушин 9 Рекомендуемая последовательность расчета Приложение 1. Обязательное. Расчетные сопротивления проката Приложение 1а. Обязательное. Нормативные и расчетные сопротивления проката Приложение 2. Справочное. Коэффициенты надёжности по материалу проката и труб Приложение 3. Справочное. Материалы для сварки, соответствует маркам стали Приложение 4. Справочное. Нормативные и расчетные сопротивления металла швов сварных соединений с угловыми швами Приложение 5. Справочное. Значения коэффициентов бета Приложение 6. Справочное. Определение силы сопротивления копанию Ро Приложение 7. Справочное. Определение центра изгиба двойного коробчатого сечения Приложение 8. Обязательное. Программа расчета рабочего оборудования гидравлических экскаваторов на прочность Приложение 9. Обязательное. Пример расчета Литература |
| Разработан: | НПО ВНИИСтройдормаш |
| Утверждён: | НПО ВНИИстройдормаш |
| Нормативные ссылки: |
|





































































































































