Скачать СТБ 1274-2001 Рессоры листовые дорожных транспортных средств. Общие технические условия

Дата актуализации: 01.01.2021

СТБ 1274-2001

Рессоры листовые дорожных транспортных средств. Общие технические условия

Обозначение: СТБ 1274-2001
Обозначение англ: 1274-2001
Статус:применяется в еаэс
Название рус.:Рессоры листовые дорожных транспортных средств. Общие технические условия
Название англ.:Leaf springs of road vehicles. General specifications
Дата добавления в базу:01.01.2019
Дата актуализации:01.01.2021
Дата введения:01.01.2002
Область применения:Стандарт распространяется на стальные малолистовые и многолистовые рессоры и их элементы для дорожных транспортных средств: грузовых и легковых автомобилей, автобусов, троллейбусов, прицепов и полуприцепов.
Оглавление:1 Область применения
2 Нормативные ссылки
3 Определения
4 Основные параметры и размеры
5 Технические требования
6 Правила приемки
7 Методы контроля
8 Транспортирование и хранение
9 Указания по эксплуатации
10 Гарантия изготовителя
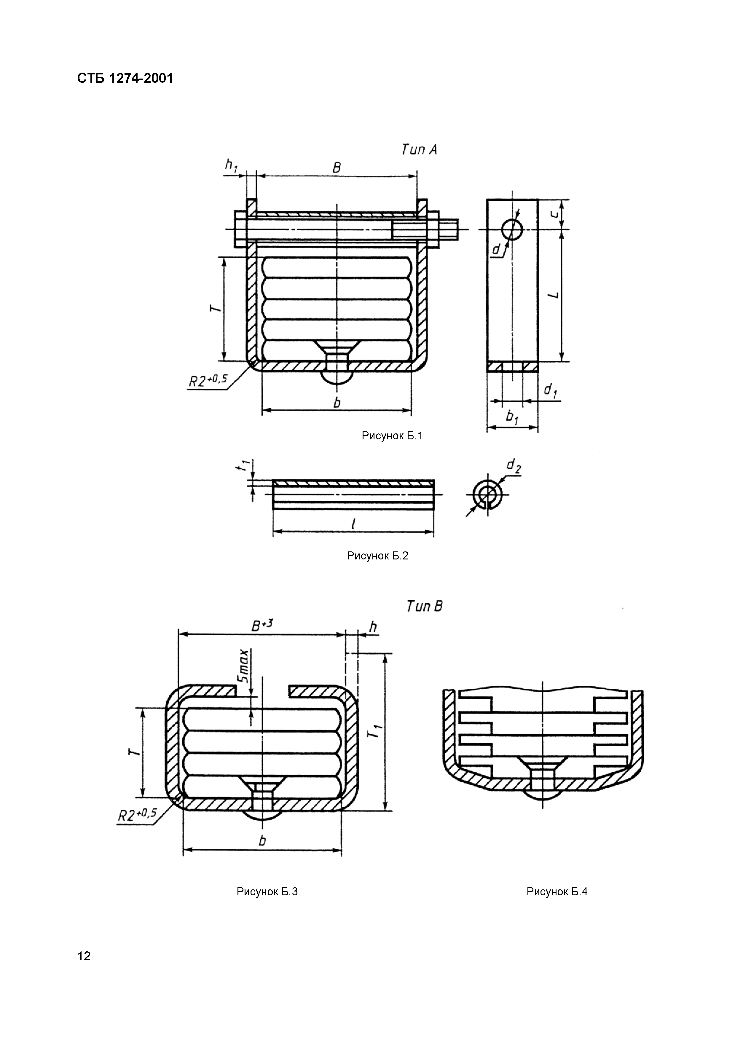
Приложение А Размеры центровых болтов рессор
Приложение Б Типы и размеры хомутов рессор
Приложение В Методика определительных и периодических ресурсных стендовых испытаний рессор
Разработан: БелГИСС
Утверждён:25.06.2001 Госстандарт Республики Беларусь (23)
Нормативные ссылки:
СТБ 1274-2001СТБ 1274-2001СТБ 1274-2001СТБ 1274-2001СТБ 1274-2001СТБ 1274-2001СТБ 1274-2001СТБ 1274-2001СТБ 1274-2001СТБ 1274-2001СТБ 1274-2001СТБ 1274-2001СТБ 1274-2001СТБ 1274-2001СТБ 1274-2001СТБ 1274-2001СТБ 1274-2001СТБ 1274-2001СТБ 1274-2001СТБ 1274-2001СТБ 1274-2001СТБ 1274-2001СТБ 1274-2001СТБ 1274-2001