Скачать ГОСТ 34442-2018 Лифты. Пожарная безопасностьДата актуализации: 01.01.2021
|
| Обозначение: | ГОСТ 34442-2018 |
| Обозначение англ: | GOST 34442-2018 |
| Статус: | введен впервые |
| Название рус.: | Лифты. Пожарная безопасность |
| Название англ.: | Lifts. Fire safety |
| Дата добавления в базу: | 01.02.2020 |
| Дата актуализации: | 01.01.2021 |
| Дата введения: | 01.05.2019 |
| Область применения: | Стандарт устанавливает требования пожарной безопасности к лифтам, не предназначенным для использования во время пожара. Стандарт распространяется на новые лифты, предназначенные для транспортирования людей или людей и грузов, устанавливаемые в зданиях, оборудованных системой пожарной сигнализации. Стандарт может быть использован в качестве базы для повышения пожарной безопасности находящихся в эксплуатации лифтов. Стандарт не распространяется на: - лифты, предназначенные для использования во время пожара (например, лифты для пожарных); - лифты, предназначенные для эвакуации людей из здания в чрезвычайных ситуациях; - ситуации, при которых пожар проник в шахту, в машинное помещение. |
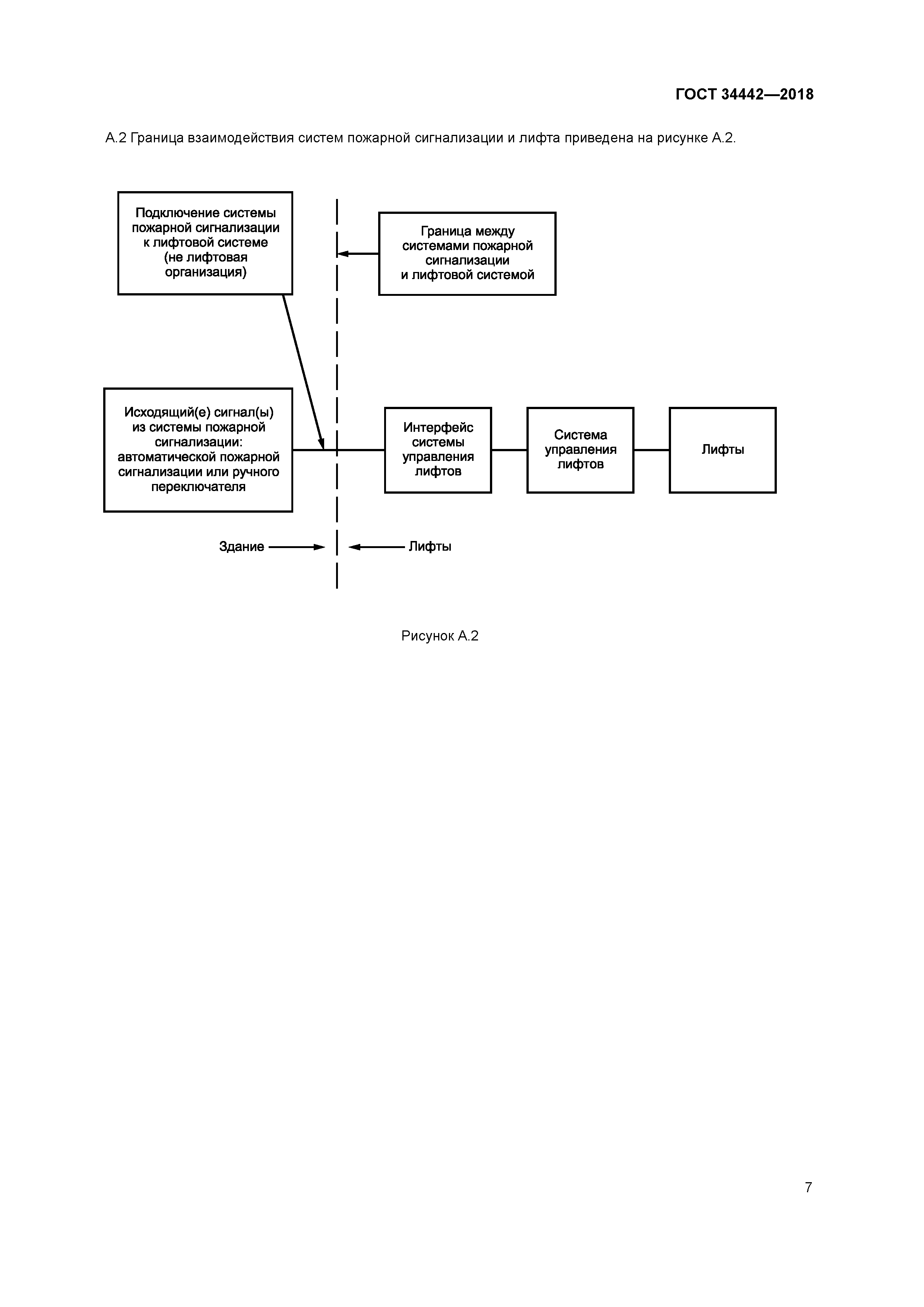
| Оглавление: | 1 Область применения 2 Нормативные ссылки 3 Термины и определения 4 Перечень существенных опасностей 5 Требования безопасности и/или защитные меры 5.1 Основные требования 5.2 Требования к интерфейсу, обеспечивающему взаимодействие системы пожарной сигнализации здания и системы управления лифта 5.3 Работа лифта после получения сигнала о возникновении пожара в здании 5.4 Применяемые материалы 6 Проверка выполнения требований безопасности и/или защитных мер 7 Информация для использования Приложение А (справочное) Схемы формирования требований к лифту и граница взаимодействия систем пожарной сигнализации и лифта Приложение ДА (справочное) Оригинальный текст невключенных структурных элементов примененного европейского стандарта Приложение ДБ (справочное) Сопоставление структуры настоящего стандарта со структурой примененного в нем европейского стандарта Библиография |
| Разработан: | ОАО МОС ОТИС Ассоциация РЛО |
| Утверждён: | 28.09.2018 Межгосударственный Совет по стандартизации, метрологии и сертификации (Inter-Governmental Council on Standardization, Metrology, and Certification 112-П) 23.10.2018 Федеральное агентство по техническому регулированию и метрологии (819-ст) |
| Издан: | Стандартинформ (2018 г. ) |
| Нормативные ссылки: |

















