Passenger lifts. Requirements for vandal resistance

МЕЖГОСУДАРСТВЕННЫЙ СОВЕТ ПО СТАНДАРТИЗАЦИИ, МЕТРОЛОГИИ И СЕРТИФИКАЦИИ
(МГС)

INTERSTATE COUNCIL FOR STANDARDIZATION, METROLOGY AND CERTIFICATION
(ISC)

МЕЖГОСУДАРСТВЕННЫЙ
СТАНДАРТ

ГОСТ
33653-

2015

(EN 81-71:2005)

ЛИФТЫ ПАССАЖИРСКИЕ

Требования вандалозащищенности

(EN 81-71:2005,
Safety rules for the construction and installation of lifts - Particular applications
to passenger lifts and goods passenger lifts - Part 71: Vandal resistant lifts,
MOD)

Москва
Стандартинформ
2016

Предисловие

Цели, основные принципы и основной порядок проведения работ по межгосударственной стандартизации установлены в ГОСТ 1.0-2015 «Межгосударственная система стандартизации. Основные положения» и ГОСТ 1.2-2015 «Межгосударственная система стандартизации. Стандарты межгосударственные, правила и рекомендации по межгосударственной стандартизации. Правила разработки, принятия, обновления и отмены»

Сведения о стандарте

1 ПОДГОТОВЛЕН Некоммерческим партнерством «Российское лифтовое объединение» (НП «РЛО)», Открытым акционерным обществом «Щербинский лифтостроительный завод» (ОАО «ЩЛЗ») на основе собственного перевода на русский язык англоязычной версии стандарта, указанного в пункте 5

2 ВНЕСЕН Федеральным агентством по техническому регулированию и метрологии (Росстандарт)

3 ПРИНЯТ Межгосударственным советом по стандартизации, метрологии и сертификации (протокол от 10 декабря 2015 г. № 48)

За принятие проголосовали:

Краткое наименование страны
по МК (ИСО 3166) 004-97

Код страны
по МК (ИСО 3166) 004-97

Сокращенное наименование национального органа
по стандартизации

Армения

AM

Минэкономики Республики Армения

Беларусь

BY

Госстандарт Республики Беларусь

Казахстан

KZ

Госстандарт Республики Казахстан

Киргизия

KG

Кыргызстандарт

Россия

RU

Росстандарт

Таджикистан

TJ

Таджикстандарт

Туркменистан

TM

Туркменстандартлары

(ИУС 4-2018).

4 Приказом Федерального агентства по техническому регулированию и метрологии от 2 июня 2016 г. № 498-ст межгосударственный стандарт ГОСТ 33653-2015 (EN 81-71:2005) введен в действие в качестве национального стандарта Российской Федерации с 1 января 2017 г.

5 Настоящий стандарт является модифицированным по отношению к европейскому стандарту EN 81-71:2005 «Правила безопасности по устройству и установке лифтов. Специальное применение пассажирских и грузопассажирских лифтов. Часть 71. Вандалозащищенные лифты» («Safety rules for the construction and installation of lifts - Particular applications to passenger lifts and goods passenger lifts - Part 71: Vandal resistant lifts», MOD) путем изменения его структуры для приведения в соответствие с правилами, установленными в ГОСТ 1.5 (подразделы 4.2 и 4.3).

Сравнение структуры настоящего стандарта со структурой европейского стандарта приведено в дополнительном приложении ДБ.

Стандарт дополнен приложением ДА.

Наименование настоящего стандарта изменено относительно наименования указанного европейского регионального стандарта для приведения в соответствии с ГОСТ 1.5 (подраздел 3.6)

6 Настоящий стандарт разработан на основе применения ГОСТ Р 52624-2006 (ЕН 81-71:2005)*

__________

* Приказом Федерального агентства по техническому регулированию и метрологии от 2 июня 2016 г. № 498-ст ГОСТ Р 52624-2006 (EN 81-71:2005) отменен с 1 января 2017 г.

7 Настоящий стандарт может быть применен на добровольной основе для соблюдения требований технического регламента Таможенного союза «Безопасность лифтов»

8 ВВЕДЕН ВПЕРВЫЕ

Информация об изменениях к настоящему стандарту публикуется в ежегодном информационном указателе «Национальные стандарты», а текст изменений и поправок - в ежемесячном информационном указателе «Национальные стандарты». В случае пересмотра (замены) или отмены настоящего стандарта соответствующее уведомление будет опубликовано в ежемесячном информационном указателе «Национальные стандарты». Соответствующая информация, уведомление и тексты размещаются также в информационной системе общего пользования - на официальном сайте Федерального агентства по техническому регулированию и метрологии в сети Интернет (www.gost.ru)

Содержание

1 Область применения. 4

2 Нормативные ссылки. 4

3 Термины и определения. 4

4 Перечень важнейших опасностей. 4

5 Требования безопасности и/или защитные меры.. 5

5.1 Шахта лифта. 5

5.2 Машинные помещения, блочные помещения и шкафы для оборудования лифта, размещаемые снаружи шахты.. 5

5.3 Двери шахты и кабины.. 6

5.4 Кабина. 8

5.5 Оборудование, размещаемое в купе кабины и на этажных площадках. 9

5.6 Металлические конструкции. 10

5.7 Надписи и маркировка. 10

6 Подтверждение выполнения требований безопасности и/или защитных мер. 10

7 Руководство по эксплуатации. 13

Приложение А (справочное) Руководство для покупателя. 13

Приложение B (обязательное) Испытание на удар. 15

Приложение С (обязательное) Информационный знак системы безопасности двери шахты для лифтов категории 2. 16

Приложение D (справочное) Дополнительные рекомендации для проектировщиков зданий. 16

Приложение Е (обязательное) Предметы, которые могут быть использованы
вандалами. 17

Приложение F (обязательное) Испытания на пожарную безопасность. 20

Приложение ДА (обязательное) Метод испытания на удар маятником.. 21

Приложение ДБ (справочное) Сопоставление структуры настоящего стандарта  со структурой примененного в нем европейского регионального стандарта. 23

Введение

Настоящий стандарт предназначен для проектировщиков зданий, заказчиков лифтов, проектировщиков лифтов в тех случаях, когда требуется выполнить дополнительные требования безопасности и/ или защитные меры в связи с наличием риска вандализма.

Стандарт содержит требования безопасности и/или защитные меры, направленные на снижение или предотвращение повреждения лифтового оборудования и на защиту жизни и здоровья людей.

В настоящем стандарте учтены следующие факторы, связанные с риском вандализма:

- условия доступности лифтов в зданиях и сооружениях;

- условия окружающей среды;

- система безопасности зданий и система наблюдения за лифтами;

- период доступа в здание, включая время доступа к лифтам;

- уязвимость лифтов.

Требования настоящего стандарта распространяются на лифты категорий 1 и 2 в соответствии с приложением A.

При разработке настоящего стандарта были приняты следующие допущения:

- конструкция лифтов соответствует общим требованиям безопасности лифтов;

- здание и/или лифтовая установка соответствуют рекомендациям, приведенным в приложении A;

- лифты, их шахты, этажные площадки, проходы к лифтовому оборудованию, помещения для размещения лифтового оборудования обслуживаются надлежащим образом и содержатся в безопасном рабочем состоянии;

- вандальные воздействия на лифт и лифтовое оборудование осуществляются с использованием предметов, приведенных в приложении E, или без их использования.

ГОСТ 33653-2015
(
EN 81-71:2005)

МЕЖГОСУДАРСТВЕННЫЙ СТАНДАРТ

ЛИФТЫ ПАССАЖИРСКИЕ

Требования вандалозащищенности

Passenger lifts.
Requirements for vandal resistance

Дата введения - 2017-01-01

1 Область применения

1.1 Настоящий стандарт устанавливает специальные требования безопасности к пассажирским лифтам, условия эксплуатации которых характеризуются наличием риска вандализма.

2 Нормативные ссылки

В настоящем стандарте использованы нормативные ссылки на следующие межгосударственные стандарты:

ГОСТ 14254-96 (МЭК 529-89) Степени защиты, обеспечиваемые оболочками (Код IP) (МЭК 529:1989, MOD)

ГОСТ 30244-94 Материалы строительные. Методы испытаний на горючесть

Примечание - При пользовании настоящим стандартом целесообразно проверить действие ссылочных стандартов в информационной системе общего пользования - на официальном сайте Федерального агентства по техническому регулированию и метрологии в сети Интернет или по ежегодному информационному указателю «Национальные стандарты», который опубликован по состоянию на 1 января текущего года, и по выпускам ежемесячного информационного указателя «Национальные стандарты» за текущий год. Если ссылочный стандарт заменен (изменен), то при пользовании настоящим стандартом, следует руководствоваться заменяющим (измененным) стандартом. Если ссылочный стандарт отменен без замены, то положение, в котором дана ссылка на него, применяется в части, не затрагивающей эту ссылку.

3 Термины и определения

В настоящем стандарте применены следующие термины с соответствующими определениями:

3.1 потолок кабины лифта: Часть крыши кабины, доступная изнутри кабины.

3.2 лифт категории 0: Лифт, соответствующий общим требованиям безопасности.

3.3 лифт категории 1: Лифт, соответствующий специальным требованиям безопасности к лифтам, подвергающимся умеренным вандальным действиям.

3.4 лифт категории 2: Лифт, соответствующий специальным требованиям безопасности к лифтам, подвергающимся грубым вандальным действиям.

4 Перечень важнейших опасностей

В настоящем разделе перечислены важнейшие опасности, связанные с областью применения настоящего стандарта, определенные в результате анализа риска и требующие принятия мер по уменьшению или полному устранению риска (см. таблицу 1).

Таблица 1 - Перечень важнейших опасностей и меры по их уменьшению или устранению

Опасность/опасная ситуация

Подраздел, пункт, подпункт настоящего стандарта

1 Опасность раздавливания

5.1.1.2; 5.1.1.3; 5.1.2.1; 5.1.2.2; 5.2.5; 5.3.2.1; 5.3.2.4; 5.4.2

2 Опасность разрезания

5.1.1.1; 5.1.1.2; 5.1.1.3; 5.1.2.1; 5.1.2.2; 5.1.3; 5.2.1; 5.2.2; 5.2.3; 5.2.4; 5.2.5; 5.3.1.2; 5.3.1.3; 5.3.1.4; 5.3.1.6; 5.3.2.1; 5.3.2.4; 5.4.1.1; 5.4.2

3 Опасность порезов

5.4.1.7; 5.4.4.2; 5.5.1.3; 5.5.2.1

4 Опасность падения в шахту

5.3.2.3; 5.3.2.4; 5.3.2.5; 5.3.5; 5.6

5 Опасность удара

5.3.4

6 Электрические опасности

5.4.1.8; 5.4.4.2; 5.5.1.1; 5.5.1.3; 5.5.1.4; 5.5.2.1

7 Термоопасности

5.1.1.1; 5.2.1; 5.2.7; 5.3.1.1; 5.4.1.4; 5.4.4.2; 5.5.1.1; 5.5.1.5; 5.7

8 Поведение человека

5.1.1.1; 5.1.1.2; 5.1.1.3; 5.1.2.1; 5.1.2.2; 5.1.3; 5.2.1; 5.2.2; 5.2.3; 5.2.4; 5.2.5; 5.2.6; 5.3.1.5; 5.3.1.6; 5.3.1.7; 5.3.1.8; 5.3.2.1; 5.3.2.3; 5.3.3; 5.3.4; 5.3.5; 5.3.6; 5.4.1.1; 5.4.1.2; 5.4.1.3; 5.4.1.5; 5.4.1.6; 5.4.1.7; 5.4.1.8; 5.4.2; 5.4.3; 5.4.4.2; 5.5.1.2; 5.5.1.3; 5.5.1.4; 5.5.2.1; 5.6; 5.7

9 Опасность поскользнуться, споткнуться, упасть

5.1.1.1; 5.1.1.2; 5.2.5; 5.2.6; 5.3.1.2; 5.3.1.3; 5.3.2.1; 5.3.2.3; 5.3.2.4; 5.3.6; 5.4.1.1; 5.4.1.5; 5.4.2; 5.6

5 Требования безопасности и/или защитные меры

Вандалозащищенные лифты должны соответствовать требованиям безопасности и/или защитным мерам, установленным в настоящем разделе.

5.1 Шахта лифта

5.1.1 Ограждение шахты

5.1.1.1 Ограждение шахты должно быть сплошным. Стены, пол приямка шахты, перекрытие над шахтой должны изготовляться из материалов, таких как сталь, кирпич, бетон и тому подобных. Ограждение шахты должно выдерживать нагрузку, равную 2500 Н, равномерно распределенную по круглой или квадратной площадке площадью 100 см2 и приложенную под прямым углом к любой ее точке с упругой деформацией, не превышающей 15 мм, при этом остаточная деформация не должна превышать 1 мм. Материалы, используемые для ограждения шахты, должны быть негорючими.

5.1.1.2 Для лифтов категории 1 с частичным ограждением шахты высота ограждения в местах, доступных для людей, должна быть не менее 5,0 м или до потолочного перекрытия.

5.1.1.3 Лифты категории 2 должны иметь полное ограждение шахты.

5.1.2 Двери шахты для технического обслуживания оборудования, аварийные двери шахты и крышки смотрового и аварийного люков

5.1.2.1 Конструкция дверей шахты для технического обслуживания оборудования, аварийных дверей шахты и крышек смотровых и аварийных люков должна обеспечивать невозможность их открытия при помощи предметов, приведенных в приложении E.

5.1.2.2 Двери шахты для технического обслуживания оборудования, аварийные двери шахты и крышки смотровых и аварийных люков, а также их замки должны в закрытом положении выдерживать нагрузку, равную 2500 Н (со стороны, доступной для людей), распределенную по круглой или квадратной площадке площадью 100 см2 и приложенную под прямым углом к любой точке с упругой деформацией, не превышающей 15 мм, при этом остаточная деформация не должна превышать 1 мм.

Двери и люки после испытания должны сохранять целостность, работоспособность и безопасность функционирования.

5.1.3 Вентиляционные отверстия

Вентиляционные отверстия должны соответствовать требованиям 5.2.3 и 5.2.4.

5.2 Машинные помещения, блочные помещения и шкафы для оборудования лифта, размещаемые снаружи шахты

5.2.1 Ограждение машинных и блочных помещений и шкафов для оборудования, размещаемых снаружи шахты, должно соответствовать 5.1.1.1.

5.2.2 При наличии доступных для людей смотровых окон их конструкция должна обеспечивать:

a) прочность в соответствии с 5.1.2.2;

b) применение только многослойного стекла.

5.2.3 При наличии доступных для людей вентиляционных отверстий они должны соответствовать следующим требованиям:

a) размер отверстий не должен превышать 250×250 мм;

b) отверстия должны предотвращать проникновение внутрь шахты прямого стержня любого поперечного сечения.

5.2.4 Устройства для предотвращения проникновения по 5.2.3, перечисление b), должны обеспечивать прочность по 5.1.1.1.

5.2.5 Двери и люки, а также их замки должны обеспечивать выполнение требований 5.1.2.2.

5.2.6 Для лифтов категории 2 должна быть предусмотрена звуковая сигнализация об открытии дверей:

- машинного и/или блочного помещения;

- для технического обслуживания оборудования, аварийных дверей шахты, крышек аварийных и смотровых люков;

- шкафов для оборудования лифта, расположенного снаружи шахты.

Звуковой сигнал должен включаться не позднее 30 с после открытия дверей и/или люков.

Звуковой сигнал должен обеспечивать выполнение следующих требований:

a) сигнал должен быть слышен в месте открытия дверей и/или люков и на основном посадочном этаже и иметь уровень звука, регулируемый в диапазоне 70 - 85 дБЛ;

b) сигнал должен автоматически выключаться в регулируемом диапазоне 5 - 15 мин.

Должна обеспечиваться возможность отключения и повторного включения системы сигнализации при помощи ручного устройства по 5.3.2.2.

При прекращении подачи электроэнергии должна быть обеспечена работоспособность системы сигнализации в течение не менее 2 ч.

5.2.7 Для лифтов без машинных помещений категории 2 лифтовое оборудование, размещенное в приямке шахты лифта (лебедка, оборудование гидропривода, устройства системы управления) должно быть оснащено металлическим ограждением. Такое ограждение должно защитить оборудование от попадания в него мусора, что может привести к представляющей опасность неисправной работе (оборудования), возгоранию мусора или задымлению.

5.3 Двери шахты и кабины

5.3.1 Двери шахты и кабины должны быть автоматическими горизонтально раздвижными.

5.3.1.1 Материалы, применяемые для дверей шахты и кабины, должны соответствовать следующим требованиям пожарной безопасности:

a) материалы, применяемые для дверей кабины и шахты, за исключением материалов для отделки (облицовки), должны изготовляться из негорючих материалов или материалов группы горючести Г1 по ГОСТ 30244;

b) пожарно-технические характеристики материалов отделки (облицовки) дверей кабины и шахты должны соответствовать следующим требованиям:

- для лифтов категории 1 - из материалов группы горючести не ниже Г2 по ГОСТ 30244,

- для лифтов категории 2 - из негорючих материалов.

5.3.1.2 Двери кабины и шахты, включая элементы крепления, должны выдерживать испытания маятником для нежесткого удара согласно приложению ДА без разрушения элементов конструкции остаточных деформаций, препятствующих нормальному функционированию дверей. Двери должны сохранять работоспособность после проведения испытаний.

Высота падения нежесткого маятника должна быть:

a) для лифтов категории 1 - 700 мм;

b) для лифтов категории 2 - 1000 мм.

5.3.1.3 Двери должны быть оборудованы устройством, обеспечивающим сохранение створок в исходном положении в случае разрушения роликов или пластиковых элементов башмака створки. Это устройство должно выдерживать испытание маятником для нежесткого удара по 5.3.1.2 с высотой падения 1400 мм без разрушения конструкции.

После такого испытания к дверям не предъявляют требование сохранения работоспособности.

5.3.1.4 Для лифтов категории 2 смотровые окна в дверях не применяют.

5.3.1.5 Для лифтов категории 2 зазор между каждой дверью шахты или элементами на ее ведущей кромке и дверью(ми) кабины или же ее (их) элементами на ведущей кромке не должен превышать 35 мм. Этот зазор должен сохраняться от ведущей кромки на протяжении не менее чем 75 мм и заканчиваться скосом под углом не более 45° к задней стороне дверной створки. Этот скос может отсутствовать на протяжении не более 200 мм вверху и/или внизу дверной створки, чтобы можно было крепить оборудование дверей. Если зазор сохраняется на протяжении 200 мм или более того, тогда скос не требуется (рисунок 1).

1 - направление закрывания створок дверей; 2 - угол ≤ 45°

Рисунок 1

5.3.1.6 Для лифтов категории 2 при приложении к сомкнутым створкам в любой точке нагрузки, равной 150 Н, в направлении открывания ведущей дверной панели (панелей) горизонтально-раздвижных или складчатых дверей, в полученный зазор не должен проникать в шахту со стороны этажной площадки цилиндр диаметром 10 мм.

5.3.1.7 Для лифтов категории 2, створки дверей которых механически соединены между собой, конструкция и расположение этого соединения должны предотвращать возможность разъединения створок в течение 60 с пользователями при помощи предметов, указанных в приложении E.

5.3.1.8 Для лифтов категории 2 передняя кромка створок дверей кабины и шахты должна входить в конструкцию самих створок.

5.3.2 Система безопасности дверей шахты лифтов категории 2

5.3.2.1 При отсутствии кабины на этаже система безопасности должна предотвращать возможность отпирания дверей шахты специальным ключом для отпирания замка и с помощью предметов, указанных в приложении E.

Отпирание дверей должно быть возможным после отключения системы безопасности.

5.3.2.2 Устройство для ручного включения или отключения системы безопасности должно быть размещено в:

a) машинном помещении;

b) шкафу управления;

c) устройстве управления для эвакуации пассажиров и проведения динамических испытаний лифта.

Устройство для ручного включения/отключения системы безопасности должно быть маркировано информационным знаком, приведенным в приложении C. Знак должен быть также размещен на двери шахты лифта или около этой двери на основном посадочном этаже здания.

5.3.2.3 После ручного отключения система безопасности должна автоматически включаться через 30 - 60 мин.

Это требование не распространяется на режимы управления лифтом обслуживающим персоналом («Управление из машинного помещения», «Ревизия») и на случаи остановки лифта в результате срабатывания устройств безопасности. При возвращении в режим нормальной работы время автоматического включения должно начать отсчитываться с ноля. Каждое ручное включение должно активизировать систему безопасности в течение 30 - 60 с.

5.3.2.4 В случае отключения основного источника электроснабжения система безопасности должна сохранять работоспособность не менее чем в течение 2 ч за счет резервного источника электроснабжения.

При отключении устройства, прерывающего электропитание лифта (главного выключателя), система безопасности должна немедленно выключаться.

5.3.2.5 В случаях, если систему безопасности устанавливают на:

a) лифтах для пожарных - система должна автоматически выключаться при переводе лифта в режим «Перевозка пожарных подразделений»;

b) лифтах, оснащенных системой управления с режимом «Пожарная опасность», - система должна автоматически выключаться при поступлении сигнала о переводе лифта в режим «Пожарная опасность».

5.3.3 Механизм соединения створок дверей

Для лифтов категории 2, при нахождении кабины в зоне отпирания замка двери шахты, должна быть предотвращена возможность разъединения пользователями дверей кабины и шахты в течение 60 с вручную или при помощи предметов, указанных в приложении E.

5.3.4 Устройство реверса дверей

Устройство контроля дверного проема и реверса дверей кабины и шахты лифтов категории 2 должно быть расположено так, чтобы быть недоступным для пользователей и посторонних лиц.

5.3.5 Запирание дверей кабины

Двери кабины должны быть снабжены автоматическим замком или запираться кинематически.

5.3.6 Воздействие на привод и замки дверей

Для лифтов категории 2 должна быть исключена возможность приведения в нерабочее состояние привода дверей и замков дверей пользователями или посторонними лицами в течение 60 с при помощи предметов, указанных приложении E.

5.4 Кабина

5.4.1 Рама кабины, отделка

5.4.1.1 Стены кабины должны выдерживать нагрузку не ниже установленной для дверей шахты в 5.3.1.2, перечисление a) или b).

5.4.1.2 Потолок кабины лифтов категории 1 должен:

a) выдерживать массу 150 кг в любой точке, в которой пользователь может «повиснуть»;

b) быть закреплен так, чтобы пользователи не могли его демонтировать в течение 60 с либо вручную, либо при помощи предметов, указанных в приложении E.

5.4.1.3 Конструкция потолка кабины лифтов категории 2 должна быть такой, чтобы пользователи не могли «повиснуть» на ней.

5.4.1.4 Материалы кабины лифта должны соответствовать следующим требованиям:

a) стены, пол и потолок изготовляют:

- для лифтов категории 1 - из материалов группы горючести не ниже Г1 по ГОСТ 30244,

- для лифтов категории 2 - из негорючих материалов;

b) отделку (облицовку) поверхностей стен и потолков купе кабины изготовляют:

- для лифтов категории 1 - из материалов группы горючести не ниже Г2 по ГОСТ 30244,

- для лифтов категории 2 - из негорючих материалов;

c) покрытие пола купе кабины изготовляют:

- для лифтов категории 1 - из материалов группы горючести не ниже Г3 по ГОСТ 30244,

- для лифтов категории 2 - из негорючих материалов.

5.4.1.5 Ограждение купе кабины должно быть устойчиво к разрезанию предметами, указанными в приложении E.

Материал любого напольного покрытия кабины должен быть так закреплен, чтобы исключалась опасность падения пользователя при его разрезании.

5.4.1.6 Поручень в купе кабины лифтов категории 2 должен выдерживать нагрузку 2500 Н, прилагаемую в наиболее неблагоприятной точке в любом направлении.

5.4.1.7 При установке зеркала в кабине лифтов категории 2 должны соблюдаться следующие требования:

a) зеркало должно быть встроено в конструкцию щита купе кабины заподлицо;

b) стекло, применяемое в зеркале, должно быть многослойным (ламинированным).

5.4.1.8 Конструкция доступных для пользователей креплений элементов кабины должна обеспечивать:

a) для лифтов категории 1 - снятие только при помощи специального инструмента;

b) для лифтов категории 2 - невозможность для пользователей обнаружить места крепления.

5.4.2 Аварийный люк и аварийная дверь кабины

Для лифтов категории 2 аварийный люк в крыше кабины и аварийная дверь для перехода людей в кабину соседнего лифта должны быть оборудованы системой безопасности в соответствии с 5.3.2.

5.4.3 Вентиляция кабины

Вентиляционные отверстия купе кабины, доступные для пользователей, должны быть выполнены так, чтобы через них не мог пройти изнутри кабины в шахту прямой стержень любого поперечного сечения.

5.4.4 Освещение кабины

5.4.4.1 Кабины лифтов категорий 1 и 2 должны быть оборудованы стационарным электрическим освещением, обеспечивающим на аппаратах управления и на уровне пола уровень освещенности не менее 100 лк.

5.4.4.2 Устройства стационарного электрического освещения кабины лифта должны:

a) иметь крепления, незаметные для пользователей и предотвращающие несанкционированный доступ к устройствам;

b) сохранять работоспособность и не разрушаться при проведении испытаний в соответствии с приложениями B и F.

5.5 Оборудование, размещаемое в купе кабины и на этажных площадках

5.5.1 Устройства управления и сигнальные устройства в кабине лифта и на этажных площадках

5.5.1.1 Кнопки управления и сигнальные устройства при испытании с рабочей стороны должны обеспечивать устойчивость к воздействию воды не менее IP×3 по ГОСТ 14254.

5.5.1.2 Зазор между толкателем кнопки управления и корпусом кнопочного аппарата должен быть минимальным, чтобы предотвратить заклинивание кнопки при помощи предметов, указанных в приложении E.

5.5.1.3 Кнопки управления и сигнальные устройства должны быть испытаны на удар в соответствии с приложением B.

5.5.1.4 Кнопки управления и сигнальные устройства должны обладать устойчивостью к разрезанию при помощи предметов, указанных в приложении E.

5.5.1.5 Кнопки управления должны соответствовать требованиям пожарной безопасности, приведенным в приложении F.

5.5.2 Посты управления в кабине лифта и на этажной площадке

5.5.2.1 Посты управления в кабине лифта и на этажной площадке должны соответствовать следующим требованиям:

a) быть закреплены в соответствии с 5.4.1.8;

b) выполнены из материалов в соответствии с 5.4.1.4;

c) выдерживать испытания на удар в соответствии с приложением B;

d) обеспечивать устойчивость к разрезанию при помощи предметов, указанных в приложении E.

5.5.2.2 Устройство, информирующее о местоположении кабины, должно быть установлено в кабине лифта и на основном посадочном этаже.

5.6 Металлические конструкции

Для лифтов категории 2 должна быть обеспечена защита от коррозии, вследствие использования моющих средств, применяемых для очистки и уборки кабины лифта, а также других воздействий человека и/или окружающей среды следующих элементов конструкции:

a) каркаса, купе, пола и потолка кабины;

b) створок дверей шахты и дверей кабины, их порогов, направляющих линеек и элементов крепления створок дверей;

c) автоматических замков дверей шахты и кабины;

d) стен и пола кабины.

5.7 Надписи и маркировка

Надписи и маркировка, доступные для пользователей, должны соответствовать следующим требованиям:

a) быть закреплены так, чтобы исключить возможность демонтажа их при помощи предметов, указанных в приложении E;

b) должны сохранять информационный смысл при воздействии на них любым из предметов, перечисленных в приложении E, в течение 60 с;

c) соответствовать требованиям приложения F.

6 Подтверждение выполнения требований безопасности и/или защитных мер

Методы подтверждения выполнения требований безопасности и/или защитных мер, приведенных в разделе 5, должны соответствовать указанным в таблице 2.

Таблица 2 - Методы подтверждения требований безопасности и/или защитных мер

Подраздел, пункт, подпункт настоящего стандарта

Требование

Метод подтверждения

Визуальный1)

Измерение2)

Функционирование3)

Конструкция4)

5.1.1.1

Сплошные ограждения шахты

×

-

-

-

5.1.1.1

Прочность ограждения шахты

×

×

-

×

5.1.1.1

Пожарная безопасность ограждения шахты

-

-

-

×

5.1.1.2

Размеры частичного ограждения шахты

-

×

-

-

5.1.1.3

Полное ограждение шахты

×

-

-

-

5.1.2.1

Конструкция дверей и люков

×

-

-

-

5.1.2.2

Прочность дверей и люков

×

×

×

×

5.1.3

Вентиляционные отверстия в шахте

×

×

-

-

5.2.1

Сплошное ограждение помещения для размещения лифтового оборудования

×

-

-

-

5.2.1

Прочность ограждения помещения для размещения лифтового оборудования

×

×

-

×

5.2.1

Пожарная безопасность ограждения помещения для размещения лифтового оборудования

-

-

-

×

5.2.2

Прочность смотрового окна

×

×

-

×

5.2.3

Размер вентиляционных отверстий

×

×

-

-

5.2.4

Защита вентиляционных отверстий

×

×

-

×

5.2.5

Прочность дверей и замков

×

×

×

×

5.2.6

Работа звуковой сигнализации

-

×5)

×

-

5.2.7

Защита лифтового оборудования для лифтов без машинного помещения

×

-

-

-

5.3.1

Тип дверей

×

-

-

-

5.3.1.1

Пожарная безопасность

-

-

-

×

5.3.1.2

Прочность створок

-

×

-

-

5.3.1.3

Стабилизация положения створок

-

×

-

-

5.3.1.4

Смотровые окна

×

-

-

-

5.3.1.5

Конструкция створок

-

×

-

-

5.3.1.6

Зазоры между створками

-

×

-

-

5.3.1.7

Защита устройств соединения дверных створок

×

-

-

-

5.3.1.8

Конструкция передней кромки

×

-

-

-

5.3.2.1

Система безопасности

×

-

×

×

5.3.2.2

Включение/выключение системы безопасности

-

-

×

-

5.3.2.3

Автоматическое включение

-

-

×

-

5.3.2.4

Резервное электроснабжение

-

-

×

-

5.3.2.5

Автоматическое выключение

-

×

-

×

5.3.3

Соединение створок дверей

-

-

×

-

5.3.4

Устройство реверса дверей

×

-

-

-

5.3.5

Запирание дверей кабины

-

-

×

-

5.3.6

Воздействие на привод и замки дверей

-

×

×

-

5.4.1.1

Прочность стен кабины

-

×

-

-

5.4.1.2, перечисление a)

Прочность потолка кабины

-

-

×

×

5.4.1.2, перечисление b)

Прочность крепления потолка кабины

-

-

×

-

5.4.1.3

Конструкция потолка кабины

×

-

-

-

5.4.1.4

Материалы кабины

-

-

-

×

5.4.1.5

Защита элементов кабины от опасности разрезания

-

-

-

×

5.4.1.6

Прочность поручня

-

-

-

×

5.4.1.7, перечисление a)

Крепление зеркала

×

-

-

-

5.4.1.7, перечисление b)

Тип стекла для зеркала

×

-

-

×

5.4.1.8

Крепление оборудования в кабине

-

-

×

-

5.4.2

Аварийный люк и аварийная дверь

-

-

×

×

5.4.3

Вентиляция кабины

×

-

-

-

5.4.4.1

Освещение кабины

-

×

-

-

5.4.4.2, перечисление a)

Крепление устройств освещения кабины

×

-

-

-

5.4.4.2, перечисление b)

Устройства освещения кабины

-

-

×

-

5.5.1.1

Устойчивость к воздействию воды кнопок управления, сигнальных и других устройств

-

-

-

×

5.5.1.2

Зазоры в кнопочном аппарате

×

-

-

×

5.5.1.3

Испытание на удар

-

×

-

-

5.5.1.4

Устойчивость к разрезанию

-

×

-

×

5.5.1.5

Пожарная безопасность

-

×

-

×

5.5.2.1, перечисление a)

Крепление аппаратуры управления

×

-

-

-

5.5.2.1, перечисление b)

Пожарная безопасность аппаратуры управления

-

-

-

×

5.5.2.1, перечисление c)

Устойчивость аппаратуры управления к ударным воздействиям

-

×

-

-

5.5.2.1, перечисление d)

Устойчивость аппаратуры управления к разрезанию

-

×

-

×

5.5.2.2

Устройство, информирующее о местоположении кабины

×

-

-

-

5.6

Защита от коррозии

×

-

-

×

5.7, перечисление a)

Крепление знаков и маркировки

-

-

×

-

5.7, перечисление b)

Прочность нанесения знаков

-

×

-

×

5.7, перечисление c)

Пожарная безопасность знаков

-

-

-

×

7.1

Инструкция по эксплуатации

×

-

-

-

1) Визуальная проверка должна подтвердить наличие элементов, регламентированных требованиями настоящего стандарта.

2) Измерения должны подтвердить соответствие измеряемых параметров/размеров требованиям настоящего стандарта.

3) Проверка должна подтвердить, что функционирование лифта и его устройств осуществляется в соответствии с требованиями настоящего стандарта.

4) Проверка чертежей и расчетов должна подтвердить соответствие конструкции элементов лифта требованиям настоящего стандарта.

5) Измерение уровня звука проводят на расстоянии 1 м от источника звука.

Примечания

1 Знак «×» - проверка проводится.

2 Знак «-» - проверка не проводится.

7 Руководство по эксплуатации

7.1 Руководство по эксплуатации должно соответствовать требованиям, предъявляемым к руководствам по эксплуатации национальных стандартов государств, входящих в Содружество Независимых Государств, и включать в себя указания для владельца лифта и организации, выполняющей техническое обслуживание лифта.

7.1.1 Указания для владельца лифта:

a) о необходимости регулярных проверок лифта для обнаружения возможных повреждений лифта;

b) о необходимости выведения лифта из эксплуатации при невозможности обеспечения его безопасной работы и быстром проведении ремонтных работ;

c) об обеспечении чистоты и отсутствии влаги на полу лифта и этажных площадках;

d) о недопущении размещения на этажных площадках и на подходах к лифтовому оборудованию горючих материалов.

7.1.2 Указания для организации, выполняющей техническое обслуживание лифта

Для лифтов категории 2 особое внимание должно быть уделено опасности коррозии несущих элементов конструкции лифта и соответствующим проверкам состояния каркаса кабины рамы пола, купе и крыши кабины, несущих элементов дверей кабины и шахты, а также других элементов конструкции лифта.

Приложение А
(справочное)
Руководство для покупателя

А.1 Общие положения

Определение возможного уровня вандализма базируется на учете нескольких факторов - необходимо учитывать особенности поведения пользователей лифта, а также значение лифтов для функционирования здания, вид контроля доступа к лифтам.

Категории лифтов в зависимости от видов доступа к лифту приведены в таблице А.1.

Таблица А.1 - Категории лифтов

Условие пользования лифтом

Категория лифта

Ограниченный доступ пользователей, находящихся под наблюдением

0

Ограниченный доступ пользователей без наблюдения за ними

0

Лифты общедоступные. Пользователи находятся под наблюдением

0

Лифты общедоступные. Пользователи не находятся под наблюдением

1

Лифты общедоступные. Пользователи расположены к вандализму

2

А.2 Примеры типов лифтов для различных условий пользования

Категории лифтов, предназначенных для различных условий пользования:

- лифты, предназначенные для пользователей в условиях ограниченного доступа к лифтам с системой наблюдения, например для пользователей обзорных лифтов в стеклянной шахте, размещаемых в офисных зданиях с системой контроля на входе в здание.

В таких зданиях целесообразно устанавливать лифты категории 0;

- лифты, предназначенные для пользователей в условиях ограниченного доступа к лифтам в зданиях без контроля на входе здания.

В таких зданиях целесообразно устанавливать лифты категории 0;

- общедоступные лифты, оснащенные камерами наблюдения или установленные в прозрачных шахтах.

Установка таких лифтов характерна для крупных торговых центров, элитных жилых домов и других зданий массового посещения.

В таких зданиях целесообразно устанавливать лифты категории 0;

- общедоступные лифты в зданиях, не имеющих контроля над пользователями.

К таким зданиям могут быть отнесены муниципальные жилые дома, дома экономического класса, магазины.

В таких зданиях целесообразно устанавливать лифты категории 1;

- лифты, устанавливаемые на объектах потенциального вандализма.

В некоторых типах зданий и сооружений с большой вероятностью можно ожидать проявления вандализма по отношению к лифтам.

К таким зданиям и сооружениям относятся стадионы, железнодорожные вокзалы, общежития, а также муниципальные жилые здания экономического класса.

В таких зданиях целесообразно устанавливать лифты категории 2.

А.3 Другие факторы, влияющие на уровень вандализма

Наблюдение за пользователями при помощи видеокамер или, в случае установки лифтов, кабины и двери которых выполнены из стекла, в прозрачных шахтах в значительной степени снижает риск проявлений вандализма.

Размещение в кабине лифта зеркала также снижает риск вандализма. Установка зеркала должна быть выполнена в соответствии с требованиями настоящего стандарта.

Другим фактором, оказывающим влияние на уровень вандализма, являются применение высокого уровня освещенности в сочетании с системой идентификации пользователя.

При выборе категории лифта применяют следующие характеристики мест установки лифтов:

- будет ли организовано наблюдение за зоной, в которой установлены лифты;

- расположено ли здание на территории, на которой следует ожидать проявления вандализма;

- является ли назначение здания предрасположенным к проявлениям вандализма;

- является ли ожидаемое использование лифта причиной повреждений лифтового оборудования (например, транспортирование тележек и т.п.);

- какой тип лифта характерен для установки в соответствующем здании, сооружении.

При выборе категории лифтов проектировщики здания и покупатели лифтов должны внимательно относиться к вышеуказанным характеристикам, учитывать возможность защиты здания системами наблюдения и контроля.

После выбора категории лифта проектировщик здания должен выбрать число лифтов, их грузоподъемность и скорость для обеспечения необходимой провозной способности лифтов и приемлемого времени ожидания лифта и поездки в лифте.

А.4 Показатели работы лифта

Время ожидания лифта и поездки в лифте должно быть по возможности коротким. Для предотвращения нежелательного поведения пользователей при длительном ожидании число, скорость и грузоподъемность лифтов рекомендуется выбирать для обеспечения среднего интервала между прибытиями лифта на этаж не более 45 с.

Размеры кабины лифтов выбирают с учетом размеров инвалидных кресел-колясок, различных типов ручных транспортных устройств.

Лифт может быть оснащен устройством контроля загрузки кабины, которое предотвращает остановку кабины при установленной предельной загрузке (рекомендуемый уровень загрузки - 60 % номинальной грузоподъемности кабины).

Положительное влияние оказывает использование устройств, сокращающих время закрытия дверей. В качестве таких устройств используют кнопки закрывания дверей, оптические средства контроля дверного проема и другие устройства.

Важно также применение устройств реверсирования закрывающихся дверей при наличии препятствия в дверном проеме.

А.5 Защита от коррозии

Исполнение оборудования кабины и устройств, расположенных на этажах, должно обеспечивать их устойчивость к коррозии, вызываемой применением жидких моющих средств и влиянием других обстоятельств (например, выделениями человека).

Коррозионно-устойчивое исполнение редко требуется для лифтов категории 1. Однако это требование следует выполнять для лифтов категории 2 (см. 5.7).

Меры защиты от коррозии зависят от конструкции лифта, окружающей среды и применяемых материалов.

Эти меры не относятся к содержанию настоящего стандарта, но некоторые из них приведены ниже:

следует предусмотреть меры по предотвращению попадания вызывающих коррозию веществ на важные компоненты лифта и/или обеспечить специальное антикоррозийное исполнение этих компонентов. Применяемая в конструкции лифта сталь может, например, подвергаться гальванизации или антикоррозийному покрытию. Применение отдельных видов пластических материалов, других композитных материалов, бронзы обеспечивает достаточную защиту от коррозии в течение долгого времени.

А.6 Долговечность отделки лифтового оборудования

Отделка кабины лифта, а также оборудования, расположенного на этажных площадках, должна быть устойчивой к нанесению царапин и выдерживать частую обработку чистящими жидкостями. Применение чистящих жидкостей объясняется необходимостью удаления наносимых пользователями рисунков и других загрязнений.

А.7 Защита устройств подачи электропитания

Опасность вандализма по отношению к электрическим кабелям, выключателям требует установки этих элементов в местах, доступных только для обслуживающего персонала.

Приложение B
(обязательное)
Испытание на удар

В.1 Оборудование

Испытательная установка должна обеспечивать возможность падения ударного устройства на испытуемый образец лифтового оборудования. Масса ударного устройства должна быть (1,0 ± 0,05) кг. Устройство должно иметь заостренную ударную часть с наконечником радиусом (10 ± 0,05) мм, воздействующую на испытуемый образец.

В.2 Образцы

Каждый испытуемый образец устанавливают и закрепляют в соответствующей раме.

В.3 Метод испытания

Наиболее уязвимую часть испытуемого образца подвергают трехкратному воздействию ударным устройством с высоты (0,2 ± 0,005) м - для лифтов категории 1 и (1,0 ± 0,005) м - для лифтов категории 2.

В.4 Результаты испытаний

После проведения испытаний образец должен сохранять работоспособность и соответствовать требованиям безопасности настоящего стандарта.

Приложение С
(обязательное)
Информационный знак системы безопасности
двери шахты для лифтов категории 2

Примечание - Цвета информационного знака:

- зеленый;

- белый.

Информационный знак, установленный на основном посадочном этаже, должен быть размером не менее 50×50 мм.

Информационный знак, установленный на устройстве включения системы, должен быть размером не менее 20×20 мм.

Рисунок С.1 - Информационный знак системы безопасности двери шахты
для лифтов категории 2

Приложение D
(справочное)
Дополнительные рекомендации для проектировщиков зданий

D.1 Вандализм может объясняться разными причинами: чувством разочарования и/или какими-то отклонениями от норм поведения, при этом средства и стечение обстоятельств лишь усугубляют и учащают стремление к вандальным действиям.

D.2 Лифт не может функционировать надежно, если в кабину лифта, шахту и другие помещения для лифтового оборудования проникает вода. Задачей проектировщиков является минимизировать риск доступности средств водоснабжения: гидранты и другое подобное оборудование не должно располагаться вблизи лифтов.

D.3 Для снижения частоты и тяжести последствий от воздействия воды или пожара должно быть предусмотрено надлежащее расположение различных сервисных служб здания по отношению к лифтам:

- трубопроводов для жидкостей и других веществ;

- пожарных гидрантов;

- входных устройств электропитания;

- мест хранения и удаления мусора;

- мест хранения топлива и других жидких материалов.

D.4 Машинное помещение лифта, обычно располагающееся в местах, удаленных от путей перемещения людей, создает возможность для вандалов в течение длительного времени пытаться проникнуть в машинное помещение. Для защиты машинного помещения от проникновения вандалов должны быть приняты следующие меры: обеспечение повышенной прочности двери машинного помещения, а также оснащение машинного помещения сигнализацией об открытии двери машинного помещения с возможностью передачи информации в автоматическом режиме на пульт диспетчера, если лифт подключен к системе диспетчерского контроля.

D.5 Одним из самых серьезных рисков вследствие проникновения вандалов в машинное помещение лифта является возможность возникновения в этом помещении пожара, который из-за удаленности машинного помещения может быть обнаружен слишком поздно.

Это обстоятельство должно быть учтено при оборудовании здания системой обнаружения пожара.

D.6 Вандальные воздействия на стены кабины и другое лифтовое оборудование, осуществляющиеся в течение длительного времени, увеличивают риск снижения безопасности работы лифта. Сервисные службы здания должны регулярно проверять наличие повреждения оборудования вследствие проявлений вандализма и устранять их прежде, чем возникнут серьезные инциденты.

D.7 Один из возможных рисков возникает при загрязнении, засорении порога двери. Этот риск устраняется регулярными проверками и очисткой порогов.

D.8 Размещаемые в кабине лифта пепельницы, сиденья часто становятся объектами вандальных действий, поэтому их установка в лифтах, подверженных вандализму, не рекомендуется.

D.9 Материалы, применяемые для покрытия пола кабины лифта, должны предотвращать для пользователей риск поскользнуться и упасть, особенно при попадании на пол влаги.

Приложение Е
(обязательное)
Предметы, которые могут быть использованы вандалами

Для определения требований к конструкции лифтового оборудования, подвергаемого вандальным действиям, в таблице Е.1 приводится перечень предметов, которые обычно имеют при себе пользователи и которые могут быть использованы ими для вандальных действий. Могут быть использованы также и другие предметы, однако с практической точки зрения невозможно создать лифт, устойчивый к любым воздействиям.

Таблица Е.1 - Предметы, которые могут быть использованы вандалами на лифтах разных категорий

Предмет

Категория лифта

1

2

Шариковая ручка

×

×

Веревка, шнурок, провод

×

×

Ключи

×

×

Трость

×

×

Жевательная резинка

×

×

Сигарета

×

×

Вес человека

×

×

Пробка от бутылки

×

×

Зажигалка

×

×

Перочинный нож с лезвием до 100 мм

-

×

Ножницы (маникюрные)

-

×

Отвертка длиной до 200 мм

-

×

Примечание - В настоящей таблице приняты следующие обозначения: знак «×» - предмет используют; знак «-» - не используют.

Возможные результаты воздействия различных предметов на лифтовое оборудование приведены в таблице Е.2.


Таблица Е.2 - Возможные результаты воздействия различных предметов на лифтовое оборудование

Предмет воздействия

Результат воздействия на лифтовое оборудование

Различные устройства

Светильники

Механизм дверей

Створки, стены, потолок, покрытие пола

Этикетка

Препятствие в работе

Разрезание

Воздействие рычагом

Удар

Возгорание

Демонтаж

Эстетика

Разрезание

Воздействие рычагом

Удар

Возгорание

Демонтаж

Препятствие в работе

Разрезание

Воздействие рычагом

Удар

Этикетка

Воздействие рычагом

Удар

Шариковая ручка

C

 

 

 

 

 

 

C

 

 

 

 

 

 

 

 

 

B

 

 

Веревка, провод

 

 

 

 

 

 

 

 

 

 

 

 

 

A

 

A

 

 

 

 

Ключи

C

 

 

 

 

 

 

B

 

 

 

 

 

 

 

 

 

B

 

 

Трость

C

 

 

 

A,

B

 

 

B

 

B

B

 

 

 

 

B

B

B

A

 

Жевательная резинка

 

B

 

 

 

 

 

 

 

 

 

 

 

B

 

 

 

 

 

 

Сигарета

C

 

 

 

 

B

 

B

 

 

 

B

 

 

 

 

 

B

 

 

Вес человека

 

 

 

 

A,

B

 

 

 

 

 

B

 

 

 

 

 

B

 

 

A

Зажигалка

C

 

 

 

 

A,

B

 

C

C

 

 

C

 

 

 

 

 

C

 

 

Перочинный нож

C

 

A,

B

A,

B

A,

B

 

A,

B

C

C

B

B

 

B

 

B

B

B

C

B

 

Отвертка

C

 

 

A,

B

A,

B

 

 

C

 

B

B

 

B

 

 

 

 

C

B

 

Горлышко бутылки

C

 

 

 

 

 

 

C

 

 

 

 

 

 

 

 

 

C

 

 

Ножницы

C

 

 

 

A,

B

 

 

C

C

B

B

 

 

 

A

B

B

C

B

 

Примечание - A - повреждение оборудования, которое может привести к травме; B - повреждение оборудования, которое может привести к нарушению работы или остановке лифта; C - повреждение оборудования, нарушающее эстетику лифта.


Приложение F
(обязательное)
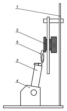
Испытания на пожарную безопасность

F.1 Оборудование

a) Газовая зажигалка с образованием пламени высотой 40 мм.

b) Устройство для закрепления зажигалки и испытуемого образца.

Устройство должно обеспечивать такое положение испытуемого образца, которое он занимает при работе лифта.

Крепление зажигалки должно быть таким, чтобы она могла находиться в любом положении - от горизонтального до вертикального (см. рисунок F.1).

F.2 Образцы для испытаний

Образцы для испытаний устанавливают в устройство для закрепления.

Испытуемый образец монтируют в составе предусмотренной сборки (например, кнопка должна быть смонтирована на своей панели).

F.3 Метод проведения испытаний

Вертикальное пламя зажигалки устанавливают на высоту 40+5 мм. Образец для испытаний устанавливают в обычном рабочем положении. Пламя должно быть направлено на наиболее уязвимую часть образца под углом, создающим наиболее опасное воздействие, как показано на рисунке F.1.

Продолжительность испытания для лифтов категории 1 - 60 с, для лифтов категории 2 - 120 с.

F.4 Результаты испытаний

После испытания образец должен сохранять работоспособность.

Воспламеняемость: образец не должен поддерживать горение.

Обесцвечивание: любое обесцвечивание не должно нарушать маркировку.

Функционирование: после испытаний кнопки и другие компоненты лифта должны сохранять работоспособность после удаления продуктов горения.

1 -держатель образца; 2 - образец (кнопка); 3 - зажигалка (источник огня); 4 - держатель зажигалки; 5 - пламя

Рисунок F.1 - Схема установки для проведения испытаний на пожарную безопасность

Приложение ДА
(обязательное)
Метод испытания на удар маятником

ДА.1 Сущность метода

Метод заключается в нанесении маятником нежесткого удара по вертикально расположенной двери, закрепленной также, как при установке на лифт.

ДА.2 Испытательное оборудование

ДА.2.1 Маятник для нежесткого удара

Маятник для нежесткого удара представляет собой кожаный мешок (см. рисунок ДА.1), заполненный свинцовыми шариками диаметром (3,5 ± 1) мм, посредством которых общую массу маятника доводят до (45 ± 0,5) кг.

ДА.2.2 Подвеска маятника

Маятник должен быть подвешен на стальном канате диаметром 3 мм таким образом, чтобы горизонтальное расстояние между наружным краем свободно подвешенного маятника и испытуемой панелью не превышало 15 мм.

Длина подвески (расстояние от нижней части крюка до точки, наносящей удар по испытуемой панели) должна быть не менее 1,5 м.

ДА.2.3 Тянущее и отпускающее приспособление

Для удара маятник отклоняют от вертикали посредством тянущего и отпускающего приспособления и таким образом поднимают на высоту, необходимую согласно ДА.3.2 и ДА.3.3. В момент отпускания отпускающее приспособление не должно сообщать маятнику никакого дополнительного импульса.

ДА.3 Метод испытаний

ДА.3.1 Испытания следует проводить при температуре (23 ± 2) °С. Непосредственно перед испытаниями панели должны быть выдержаны при этой температуре не менее 4 ч.

ДА.3.2 Испытание на удар маятником для нежесткого удара следует проводить с помощью устройства, описанного в ДА.2.2, при высоте падения:

а) для лифтов категории 1 - 700 мм,

б) для лифтов категории 2 - 1000 мм,

в) для устройств, обеспечивающих сохранение створок в исходном положении - 1400 мм (см. рисунок ДА.1).

ДА.3.3 Маятник должен быть поднят на необходимую высоту и отпущен. Он должен ударить дверь посредине ее ширины и на высоте (1,0 ± 0,05) м от уровня пола.

Высота падения представляет собой расстояние по вертикали между базисными точками (см. рисунок ДА.2).

ДА.3.4 Испытания на нежесткий удар проводят по одному разу на одной и той же панели.

ДА.4 Протокол испытаний

Протокол испытаний должен содержать:

- наименование и адрес лаборатории, выполнившей испытания;

- дату испытаний;

- информацию о размерах и конструкции двери;

- высоту падения, использованную в этих испытаниях;

- подпись лица, ответственного за эти испытания.

1 - стержень с нарезанной резьбой; 2 - базисная точка для измерения высоты падения в плоскости максимального
диаметра; 3 - кожаный мешок; 4 - стальной диск; 5 - крепление пускающего приспособления

Рисунок ДА.1 - Маятник для нежесткого удара

1 - рама; 2 - испытуемая дверь; 3 - маятник; 4 - уровень пола; H - высота падения

Рисунок ДА.2 - Высота падения

Приложение ДБ
(справочное)
Сопоставление структуры настоящего стандарта
со структурой примененного в нем европейского регионального стандарта

Таблица ДБ.1

Структура настоящего стандарта

Структура европейского регионального стандарта EN 81-71:2005

Раздел

Подраздел

Раздел

Подраздел

1

 

1

 

2

 

2

 

3

 

3

 

4

 

4

 

5

5.1

5

5.1

 

5.2

 

5.2

 

5.3

 

5.3

 

5.4

 

5.4

 

5.5

 

5.5

 

 

5.6

 

5.6

 

5.7

 

5.7

 

5.8

6

 

6

 

7

 

7

 

 

 

 

7.1

 

 

 

7.2

Приложение

A

Приложение

А

B

В

C

С

D

D

E

Е

F

F

ДА

 

 

Ключевые слова: пассажирские лифты, риск вандализма, вандалозащищенность