Скачать Руководство по сооружению вертикальных стволов шахт методом погружения крепи в тиксотропной рубашке при строительстве метрополитенов в сложных гидрогеологических условияхДата актуализации: 01.01.2021 |
| Статус: | справочные материалы, мп, тпр |
| Название рус.: | Руководство по сооружению вертикальных стволов шахт методом погружения крепи в тиксотропной рубашке при строительстве метрополитенов в сложных гидрогеологических условиях |
| Дата добавления в базу: | 01.02.2020 |
| Дата актуализации: | 01.01.2021 |
| Область применения: | Руководство предназначается для проектирования и производства работ по сооружению вертикальных стволов шахт в сложных гидрогеологических условиях методом погружения крепи в тиксотропной рубашке при строительстве метрополитенов, а также может быть использовано при сооружении вертикальных стволов шахт, рудников и других подземных сооружений различного назначения. |
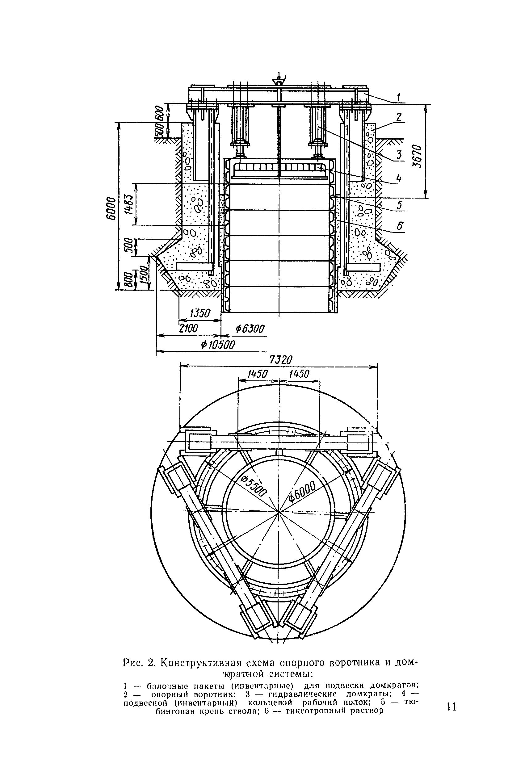
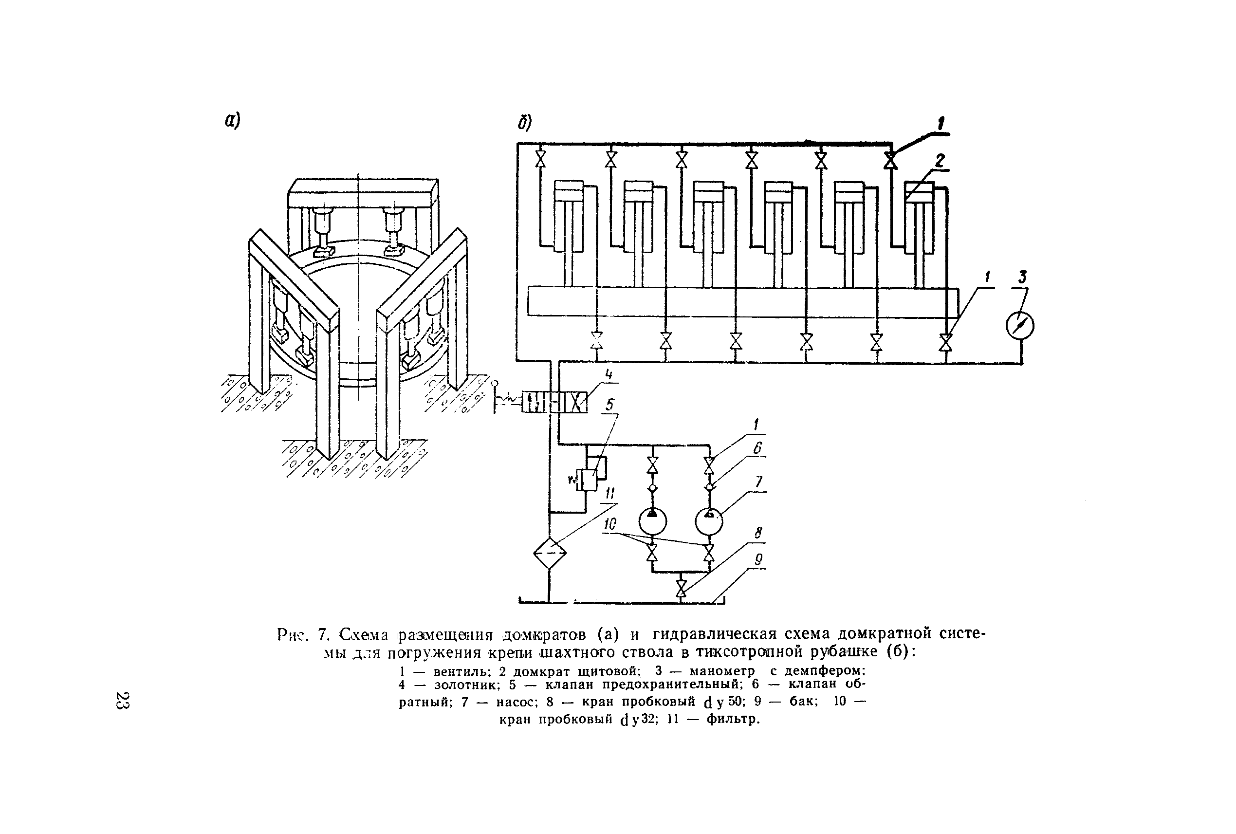
| Оглавление: | 1. Общие положения 2. Проектирование 3. Материалы и оборудование для приготовления и подачи в ствол шахты тиксотропного раствора 4. Оборудование для производства работ 5. Подготовительные работы 6. Производство работ по погружению крепи ствола 7. Геодезическо-маркшейдерские работы 8. Охрана труда Приложение 1 .Формулы для определения содержания глины в растворе Приложение 2. Наименование месторождений бентонитовых глин и предприятий, изготавливающих глинопорошки Приложение 3. Технические условия на глинопорошки для бурения Приложение 4. Форма журнала для учета показателей качества тиксотропного раствора Приложение 5. Форма маркшейдерского журнала для записей наблюдений за погружением крепи ствола Приложение 6. Форма маркшейдерского журнала для записей наблюдений за деформацией опорного воротника Приложение 7. Технологическая схема сооружения стволов методом погружения крепи в тиксотропной рубашке Приложение 8. условие погружения крепи ствола в тиксотропной рубашке Приложение 9. Определение максимальной глубины для возможности безаварийного снятия гидропригруза |
| Разработан: | Мосметрострой ЦНИИС ЦНИИподземмаш НИИОСП им. Герсеванова |
| Утверждён: | Главтоннельметрострой (Glavtonnelmetrostroy ) |
| Принят: | Минтрансстрой (Mintransstroy ) ЦК профсоюза рабочих железнодорожного транспорта (Central Committee of the Labor Union of Railway Workers ) Метрогипротранс |
| Нормативные ссылки: |
|































































