Скачать Руководство по эксплуатации и обслуживанию сигнализаторов метана, совмещенных с головными светильниками СМС-1 МаякДата актуализации: 01.01.2021
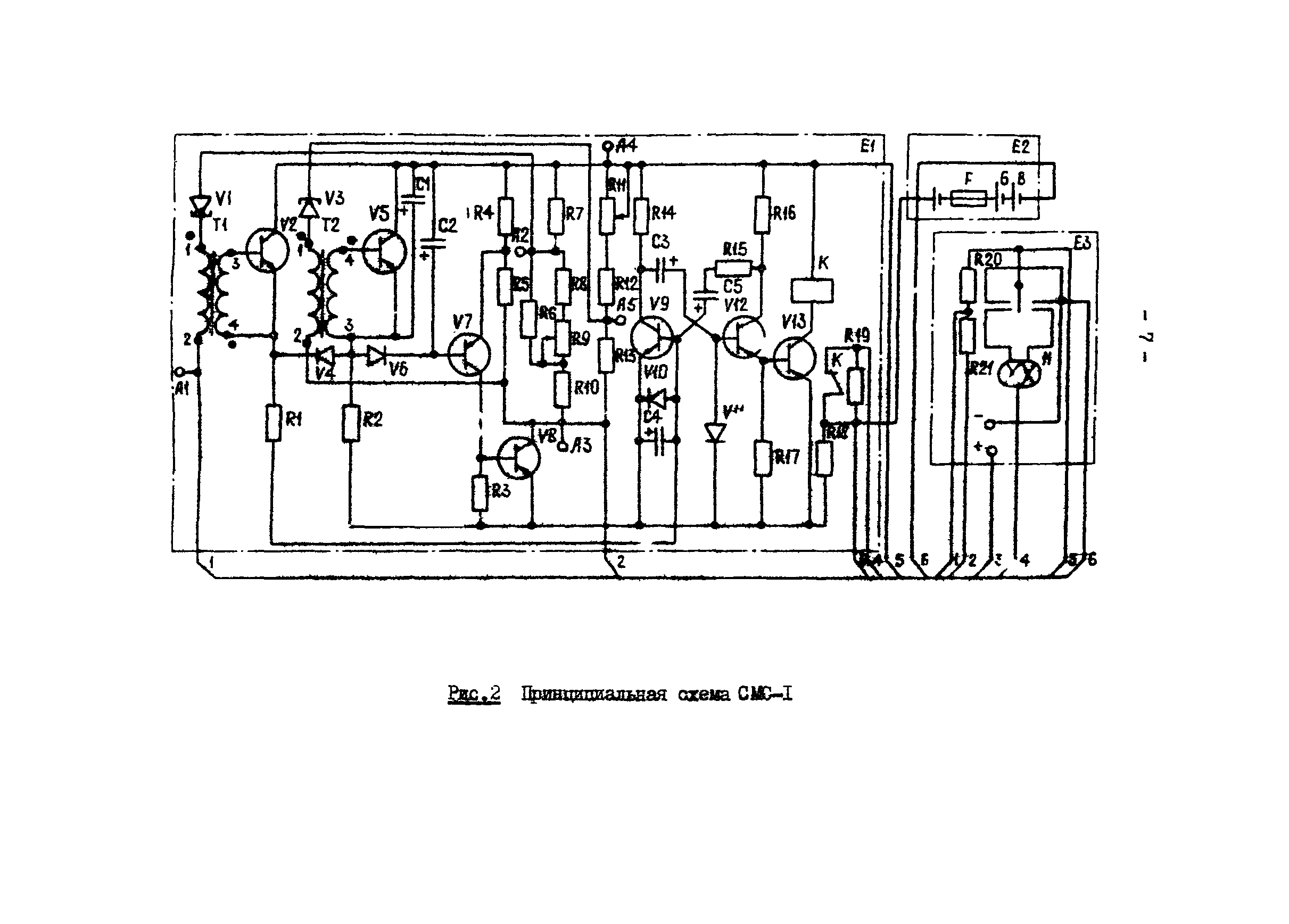
Руководство по эксплуатации и обслуживанию сигнализаторов метана, совмещенных с головными светильниками СМС-1 "Маяк"| Статус: | справочные материалы, мп, тпр | | Название рус.: | Руководство по эксплуатации и обслуживанию сигнализаторов метана, совмещенных с головными светильниками СМС-1 "Маяк" | | Дата добавления в базу: | 01.02.2020 | | Дата актуализации: | 01.01.2021 | | Область применения: | Руководство является обязательным для всех предприятий и организаций Минуглепрома СССР, эксплуатирующих СМС-1 | | Оглавление: | 1. Назначение 2. Техническая характеристика СМС-1 3. Устройство и принцип действия сигнализатора метана 4. Конструкция СМС-1 5. Организация обслуживания и эксплуатации 5.1. Общие положения 5.2. Эксплуатация приборов 5.3. Подготовка сигнализаторов метана СМС-1 к выдаче в шахту 5.4. Правила обращения горнорабочего с СМС-1 5.5. Обязанности слесаря по обслуживанию и эксплуатации СМС-1 5.6. Обязанности зарядчика, обслуживающего метаносигнализаторы СМС-1 5.7. Периодическая поверка приборов 5.8. Хранение приборов 5.9. Документация Приложение 1. Программа обучения специалистов по эксплуатации, поверке и регулировке сигнализаторов метана СМС-1 Приложение 2. Бланк удостоверения Приложение 3. Перечень оборудования, приборов и инструментов для обслуживания сигнализатора метана СМС-1 Приложение 4. Характерные неисправности и меры их устранения Приложение 5. Методика приготовления МВС в кислородных подушках Приложение 6. Перечень элементов | | Разработан: | МакНИИ
| | Утверждён: | 07.09.1976 Министерство угольной промышленности СССР (USSR Ministry of the Coal Industry )
| | Принят: | Электроточприбор (01/27706 СК)
|
                                       
|