Скачать Руководство по ревизии, наладке и испытанию поверхностных подстанций шахт и разрезовДата актуализации: 01.01.2021 |
| Статус: | справочные материалы, мп, тпр |
| Название рус.: | Руководство по ревизии, наладке и испытанию поверхностных подстанций шахт и разрезов |
| Дата добавления в базу: | 01.02.2020 |
| Дата актуализации: | 01.01.2021 |
| Область применения: | Руководство предназначено для инженерно-технических работников специализированных наладочных организаций и энергомеханических служб предприятий угольной и горнодобывающей отраслей промышленности. |
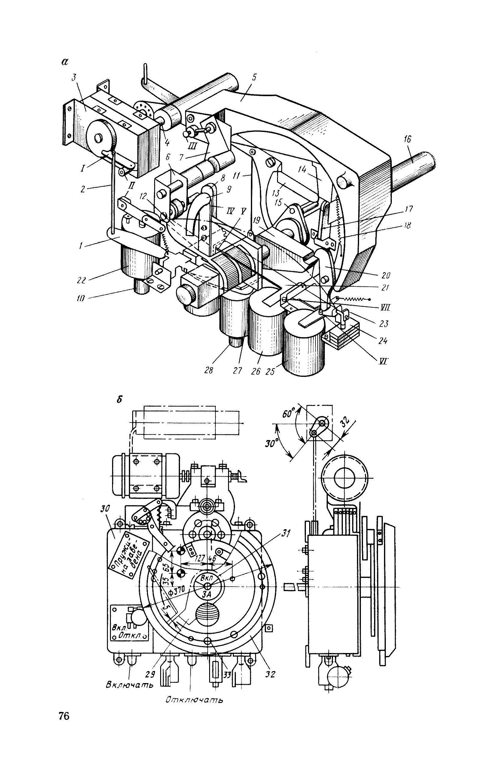
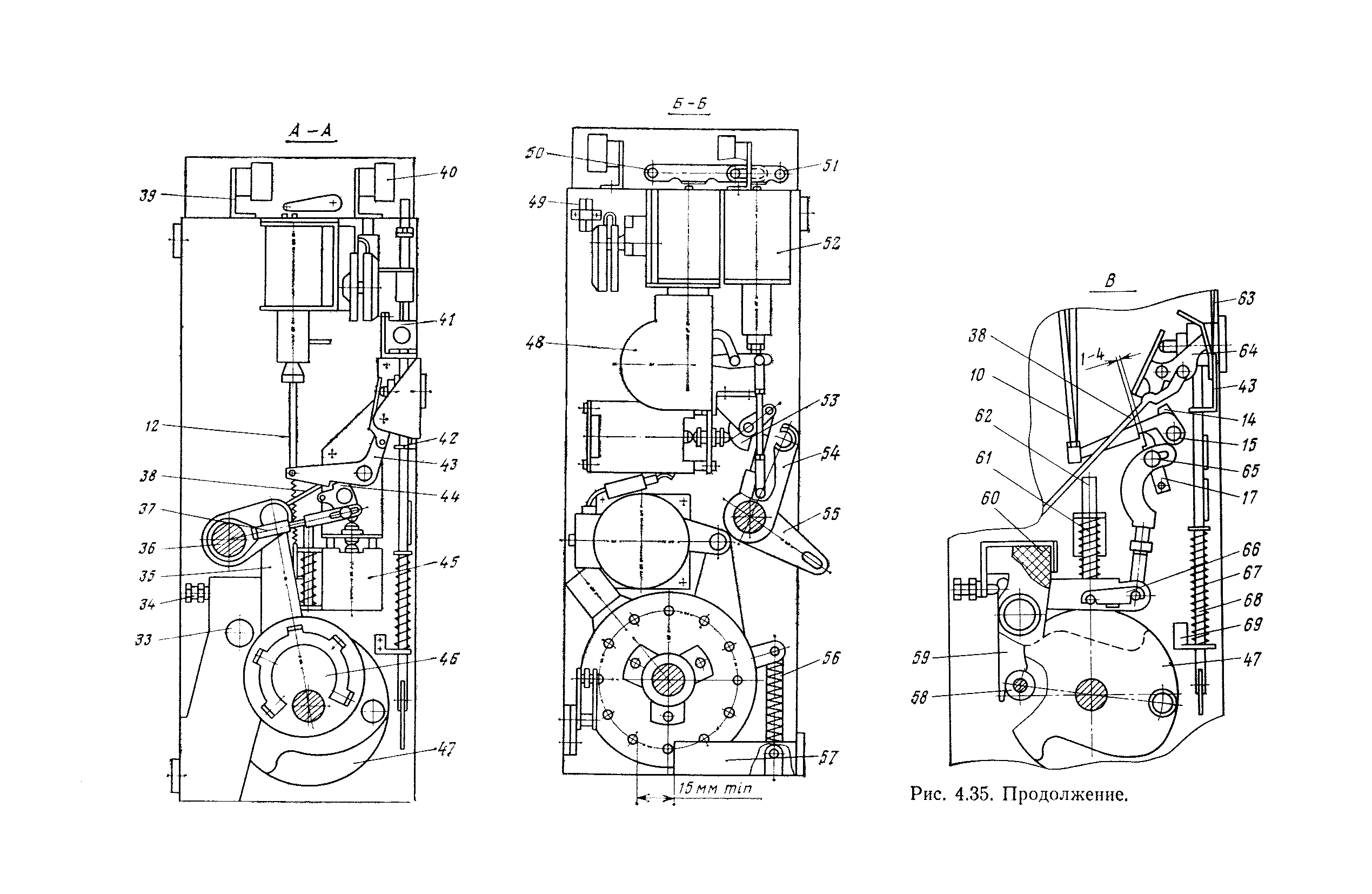
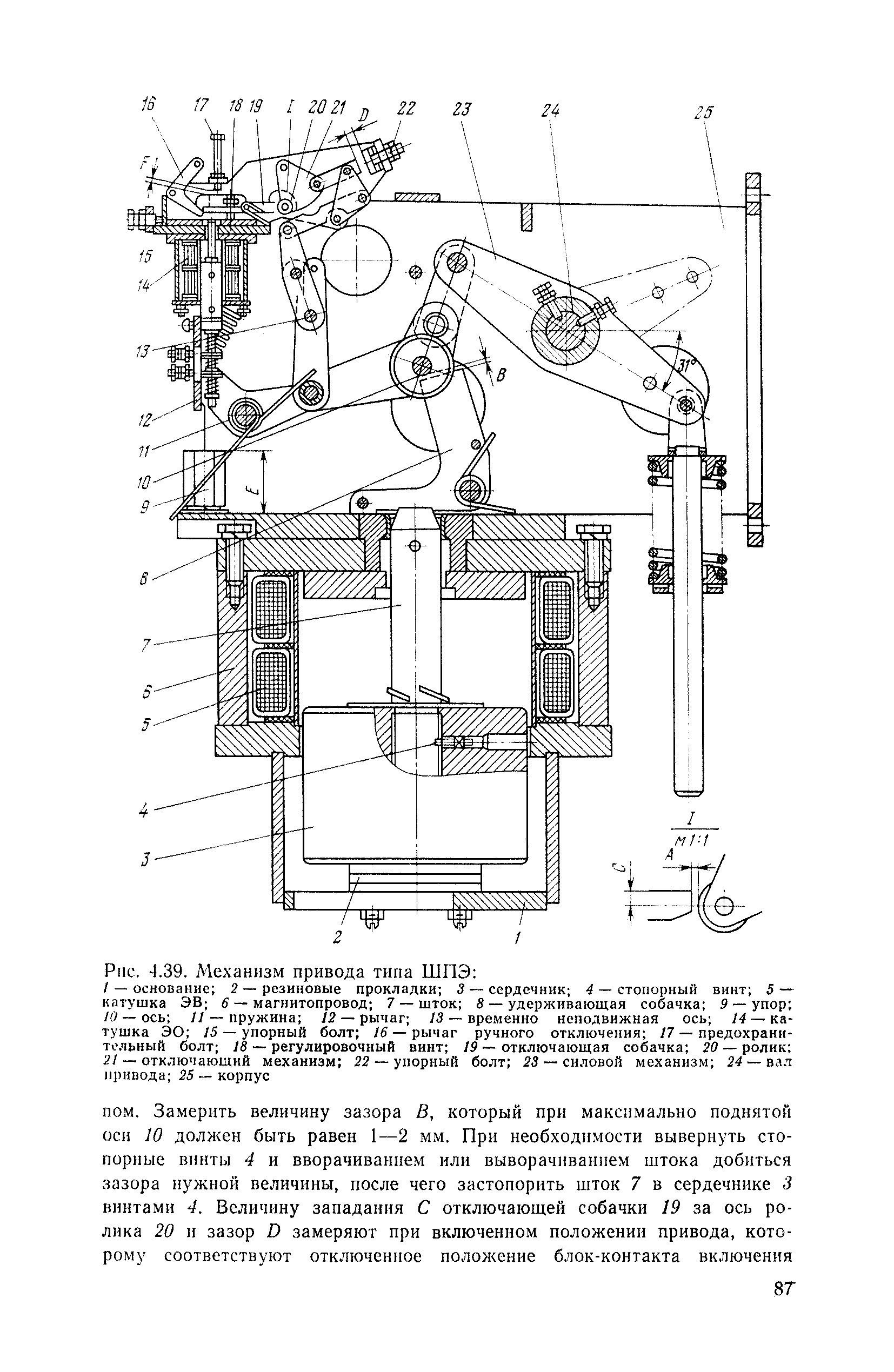
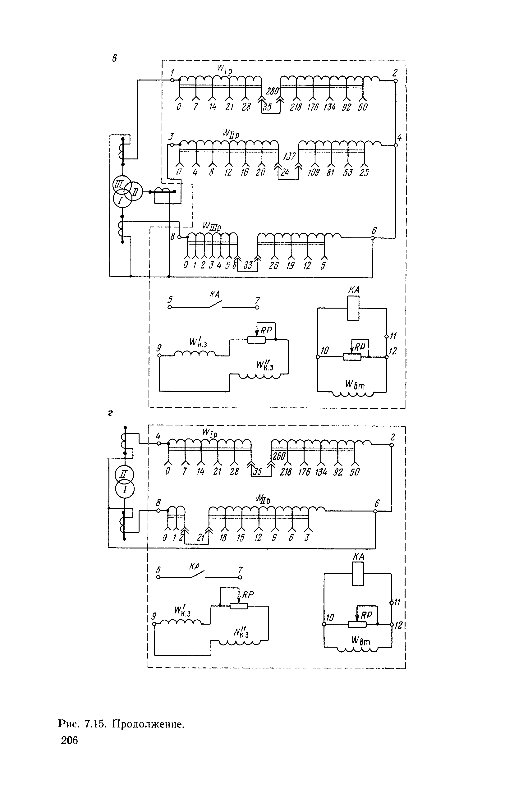
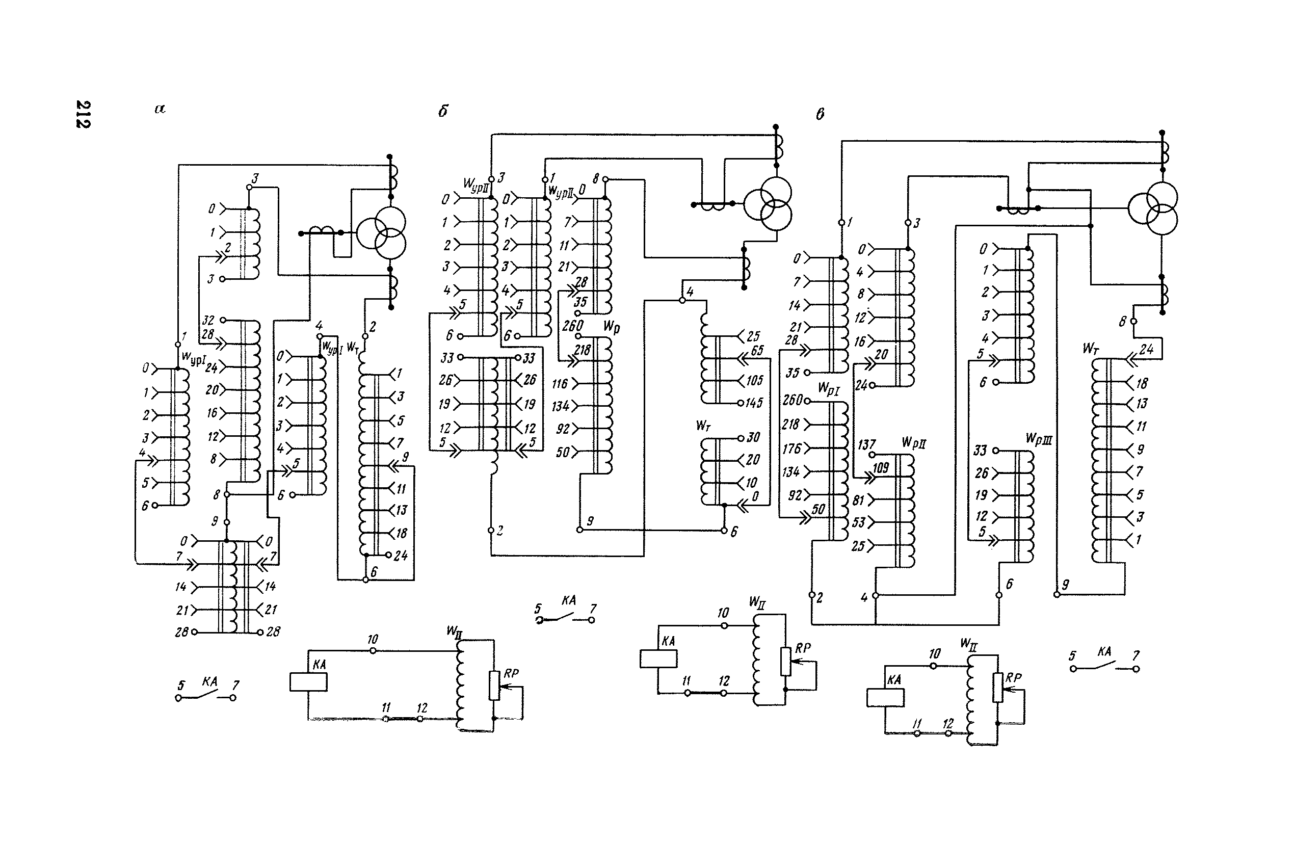
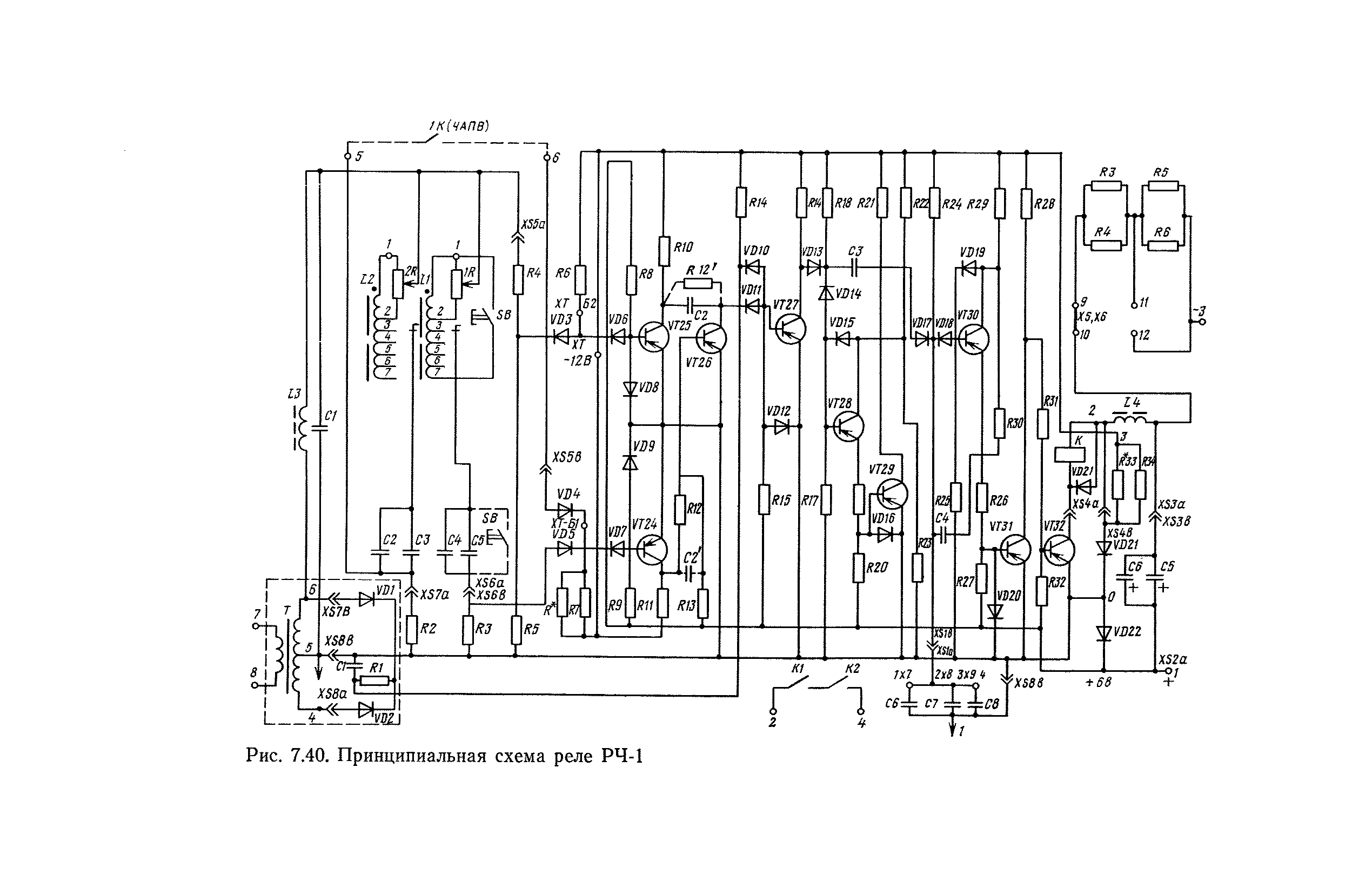
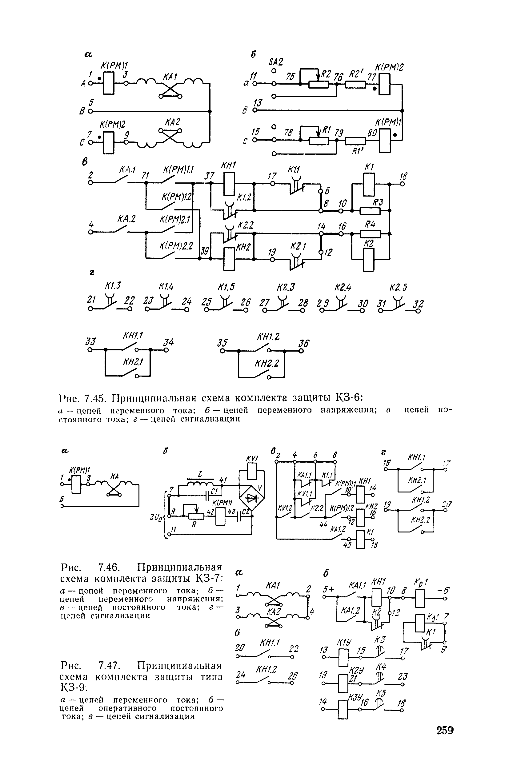
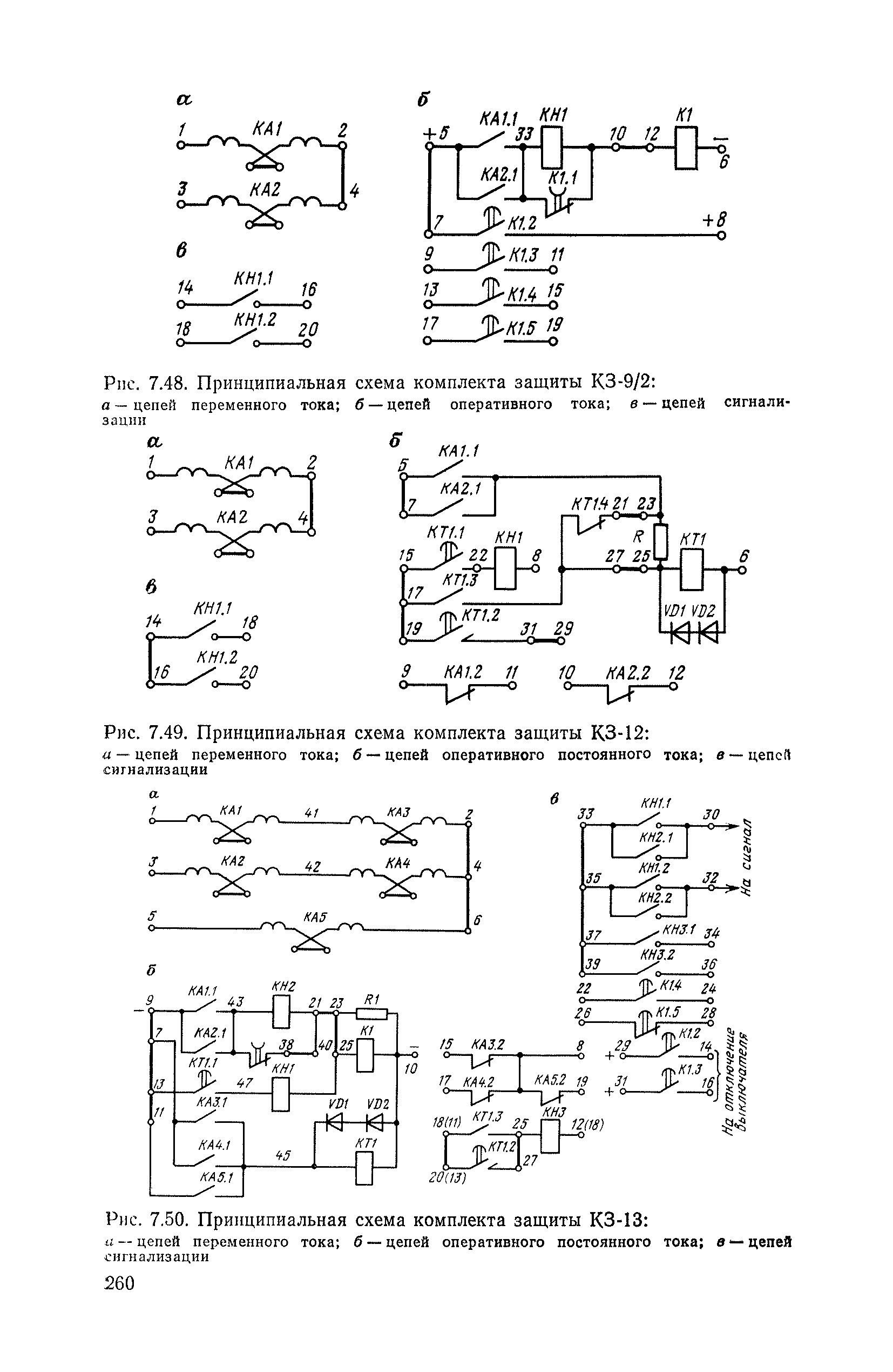
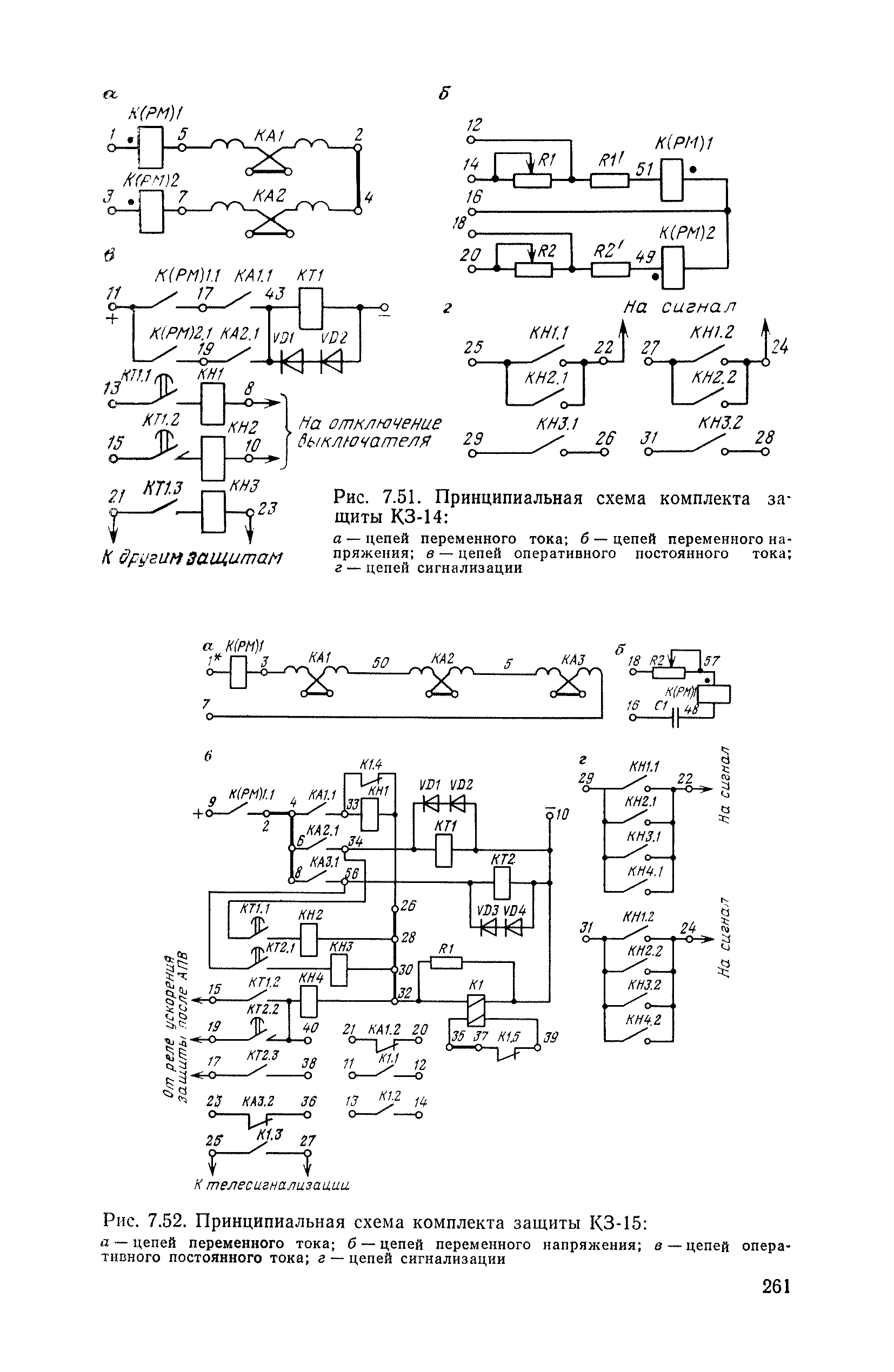
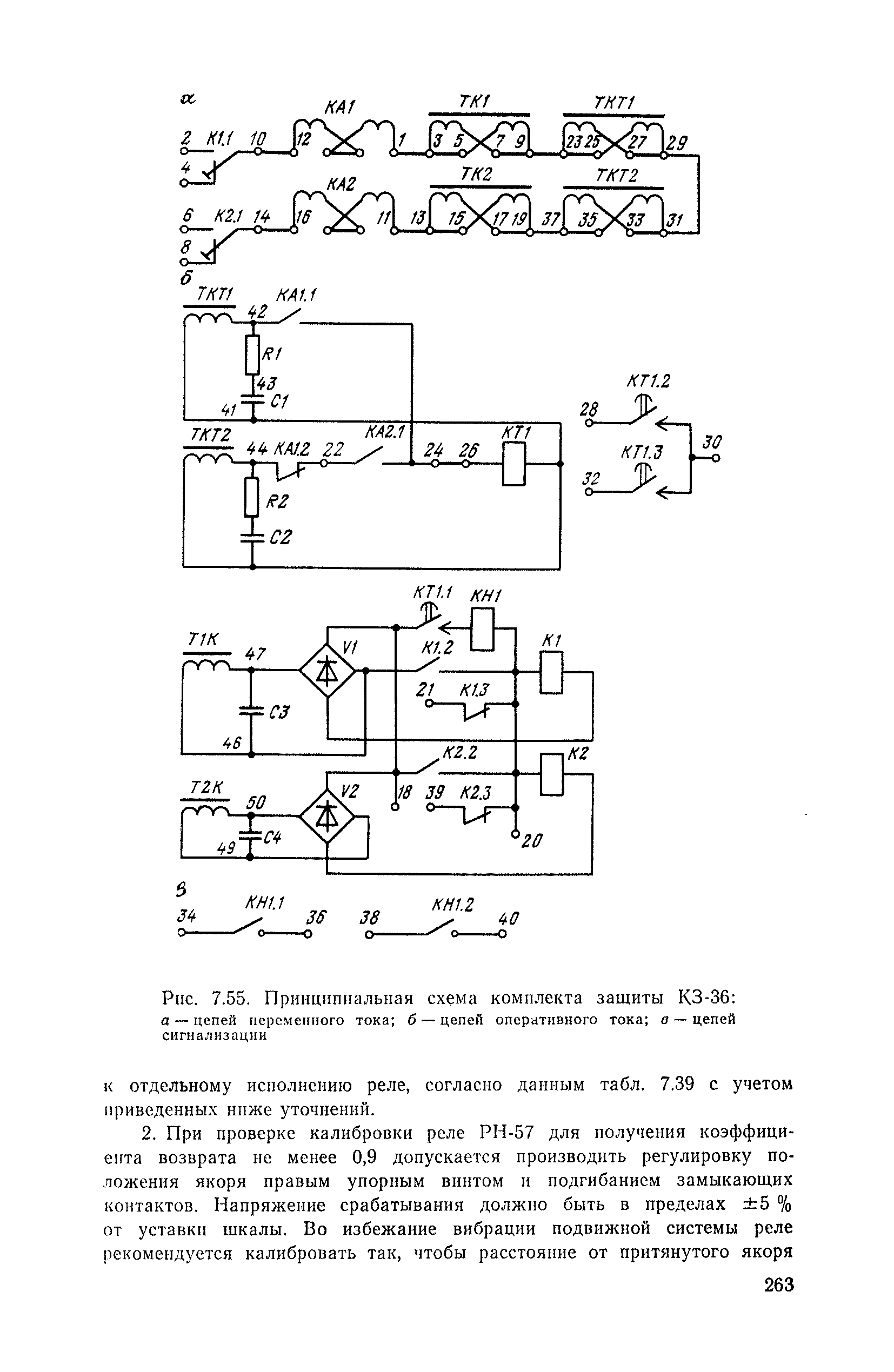
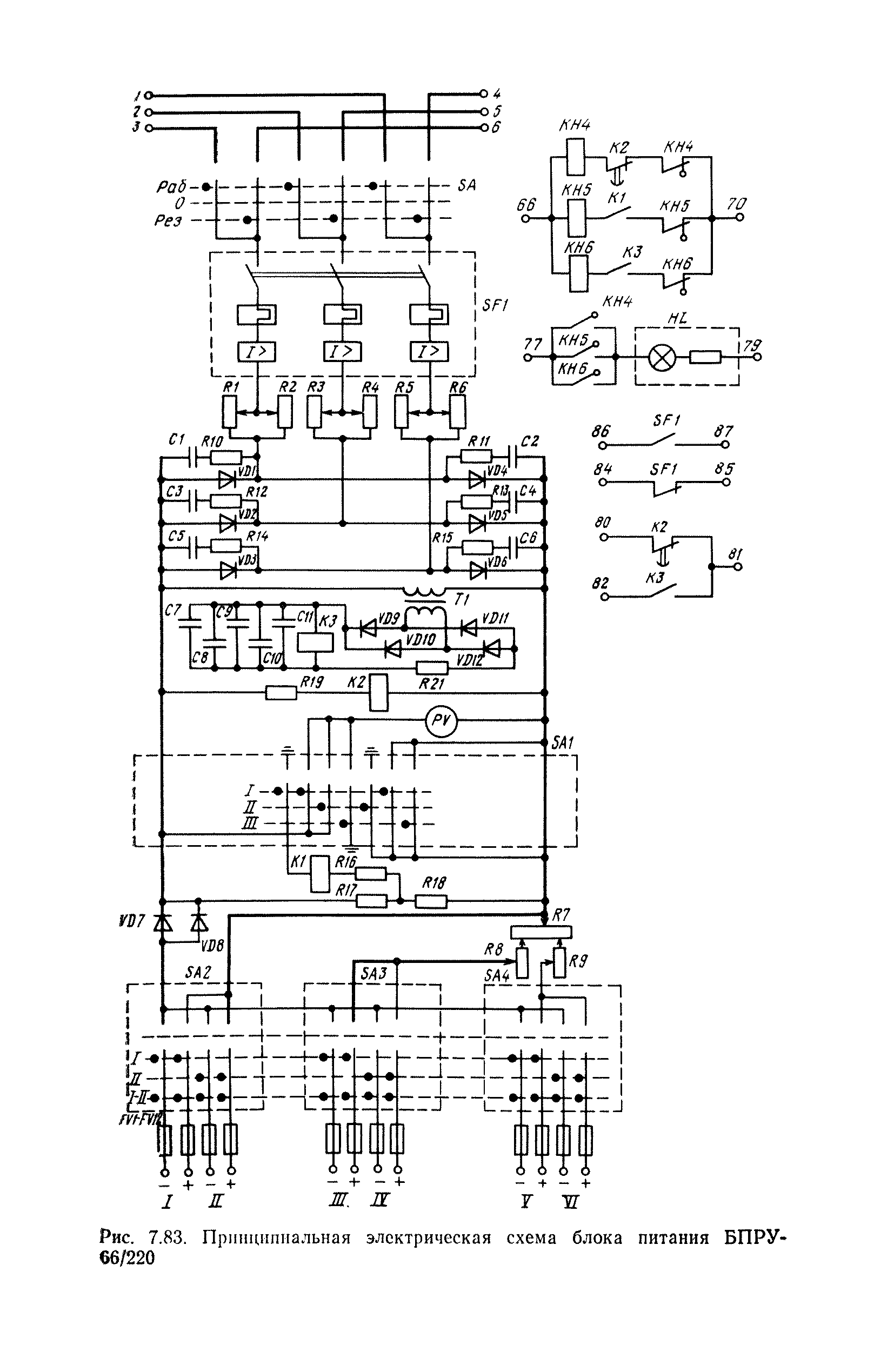
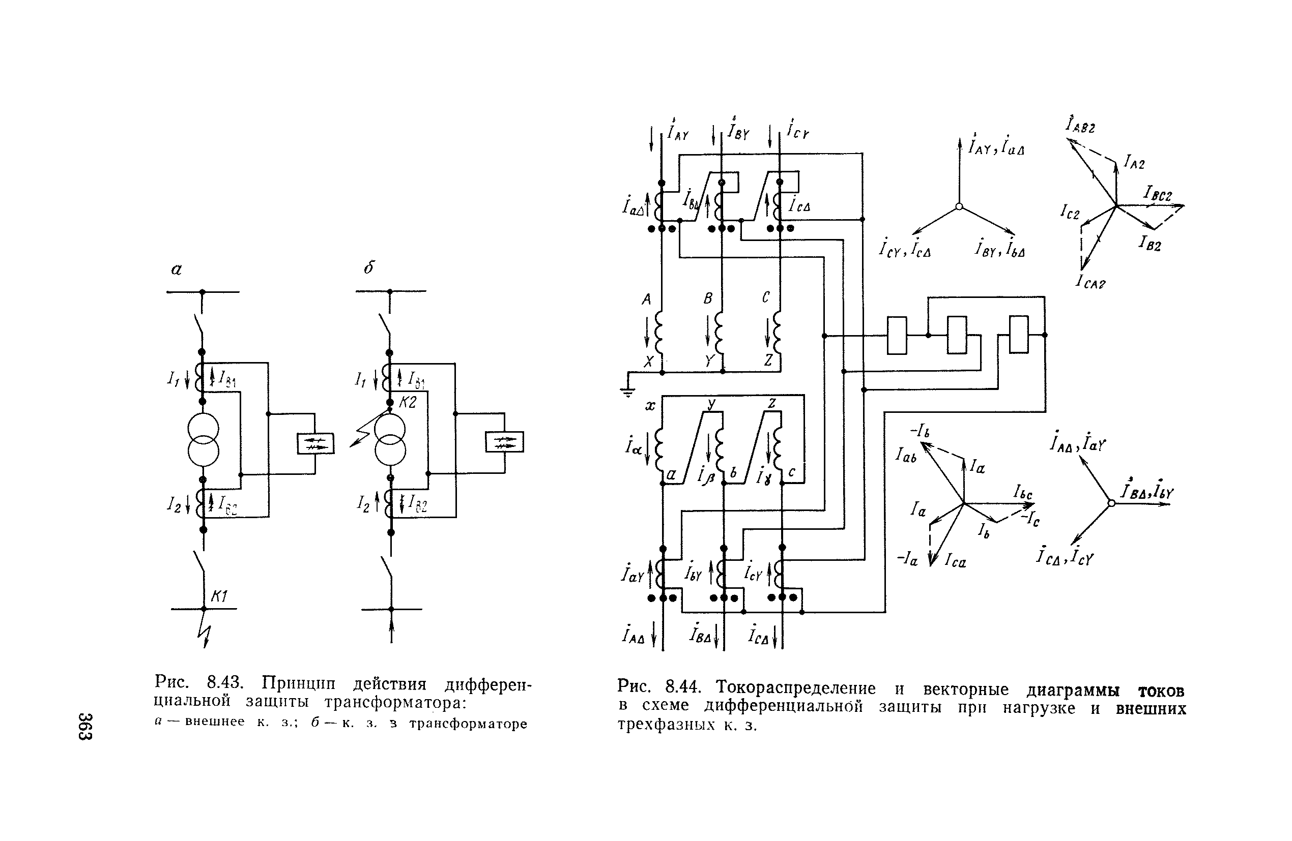
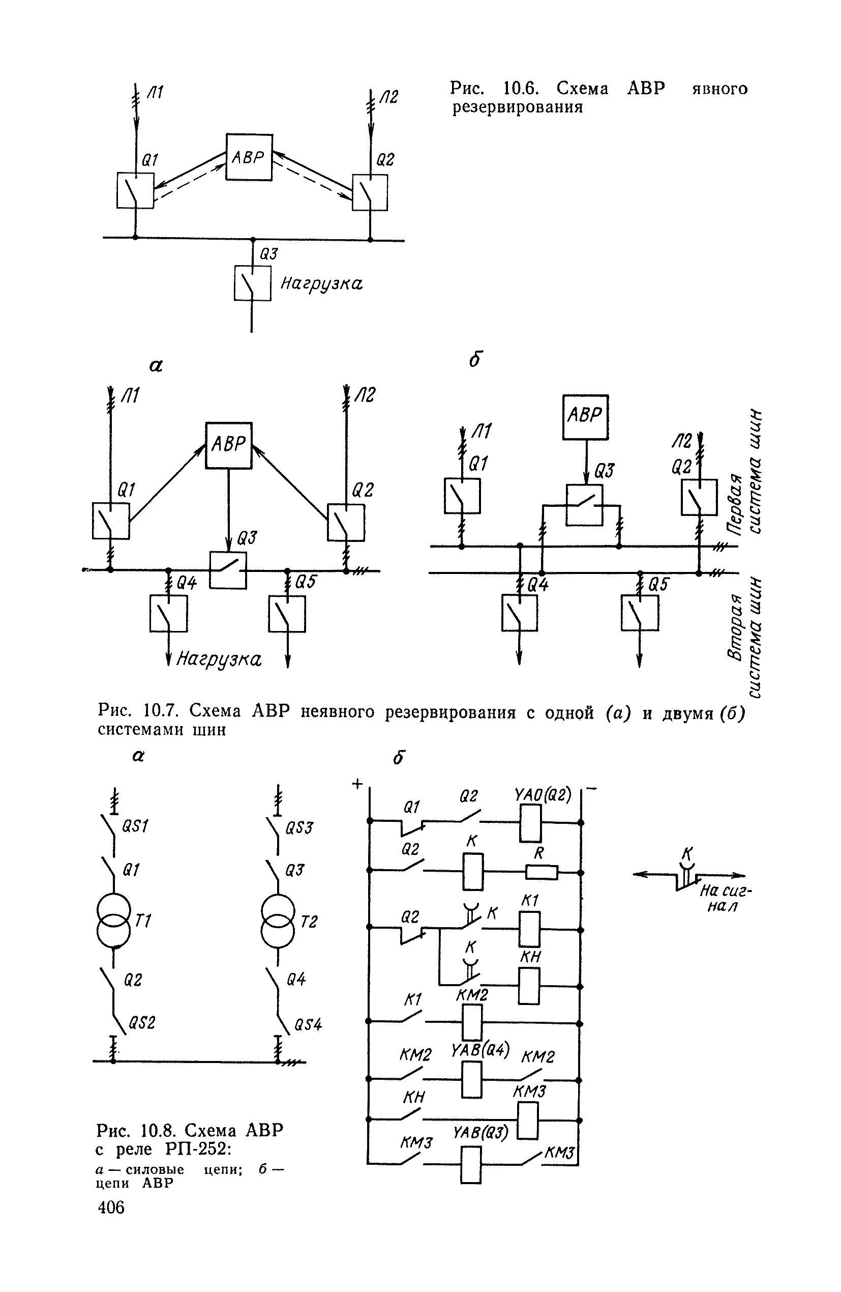
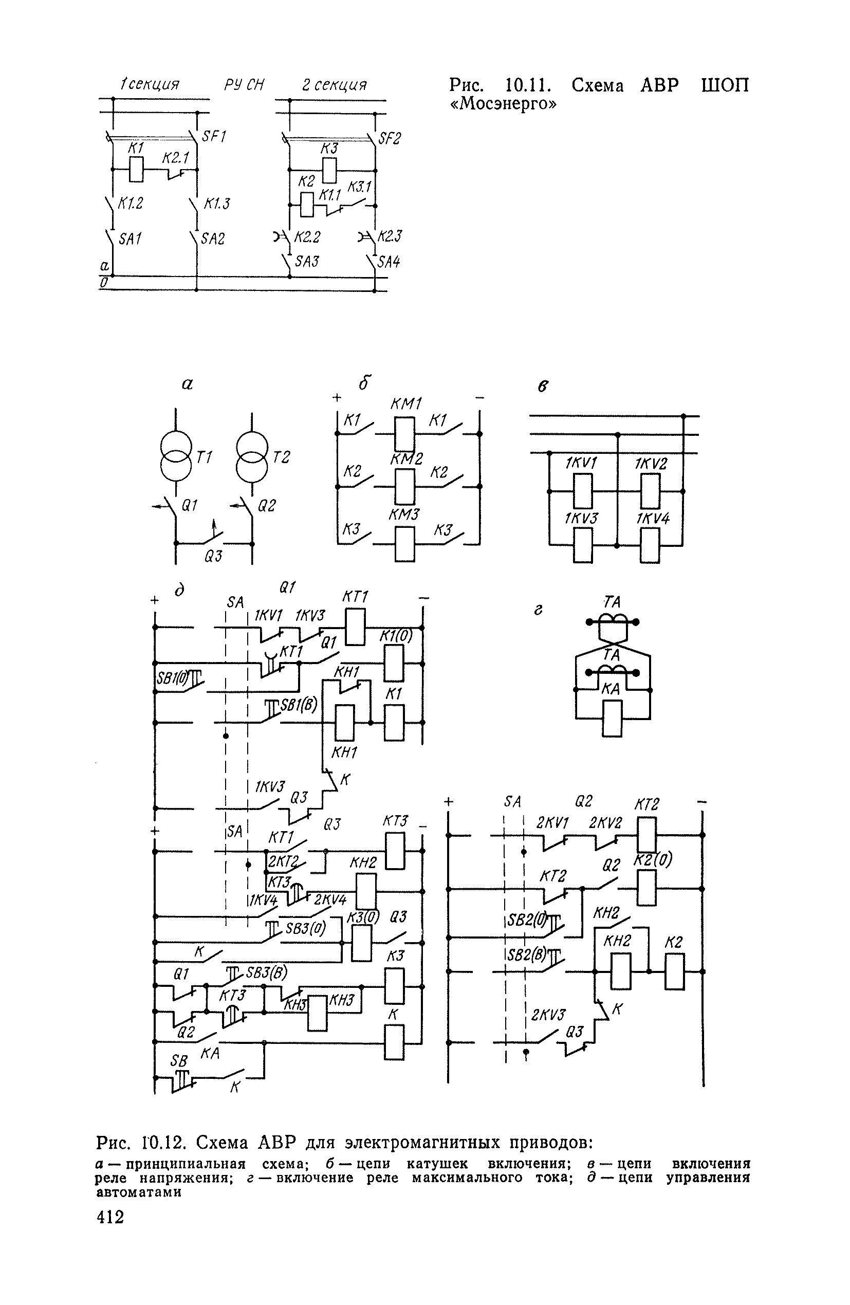
| Оглавление: | 1. Организация наладочных работ 2. Техника безопасности при производстве наладочных работ 3. Изменения, регулирование и испытания при производстве наладочных работ 4. Ревизия, наладка и испытание аппаратуры распределительных устройств напряжением выше 1000 В 5. Ревизия, наладка и испытание силовых трансформаторов 6. Аппаратура распределительных устройств напряжением до 1000 В 7. Проверка, регулировка, калибровка реле и устройств релейной защиты и автоматики 8. Проверка и наладка схем релейной защиты 9. Расчет токов короткого замыкания и поверочный расчет уставок релейной защиты 10. Наладка устройств автоматики 11. Наладка общестанционных устройств управления и сигнализации 12. Проверка заземляющих устройств и грозозащиты Приложение 1 График производства работ по ревизии, наладке и испытанию подстанции Приложение 2 Отрывной талон уведомления Приложение 3 Примерный перечень инструмента, приборов и устройств, необходимых для производства работ по ревизии, наладке и испытанию поверхностных подстанций (на одну бригаду) Алфавитный указатель |
| Разработан: | СПО Союзтехэнерго ВПО Союзуглеавтоматика Минуглепрома СССР Донецкуглеавтоматика Ворошиловградуглеавтоматика Минуглепрома УССР Техническое управление по эксплуатации Минэнерго СССР Энергомеханическое управление Минуглепрома СССР |
| Утверждён: | 24.04.1984 Министерство угольной промышленности СССР (USSR Ministry of the Coal Industry ) |
| Издан: | Издательство Недра (1986 г. ) |
| Нормативные ссылки: |
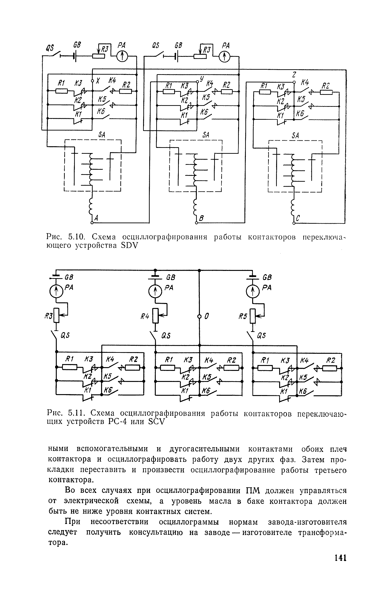
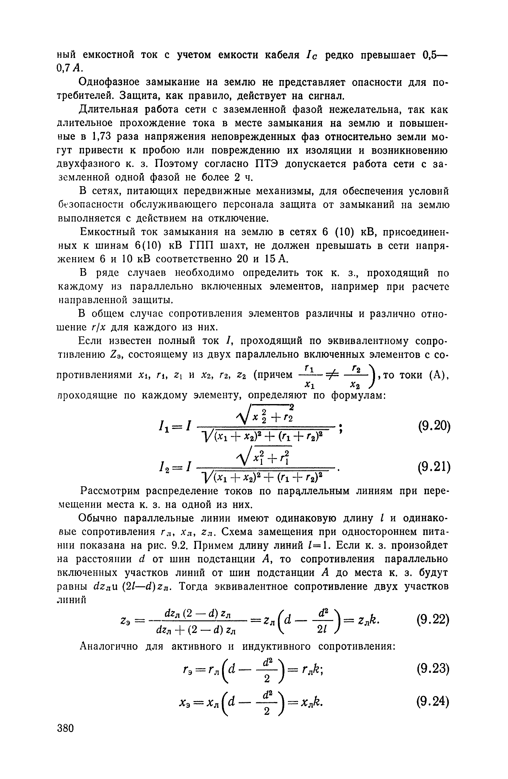
|
















































































































































































































































































































































































































































