Скачать Руководство по ревизии, наладке и испытанию шахтных подъемных установок

Дата актуализации: 01.01.2021

Руководство по ревизии, наладке и испытанию шахтных подъемных установок

Статус:справочные материалы, мп, тпр
Название рус.:Руководство по ревизии, наладке и испытанию шахтных подъемных установок
Дата добавления в базу:01.02.2020
Дата актуализации:01.01.2021
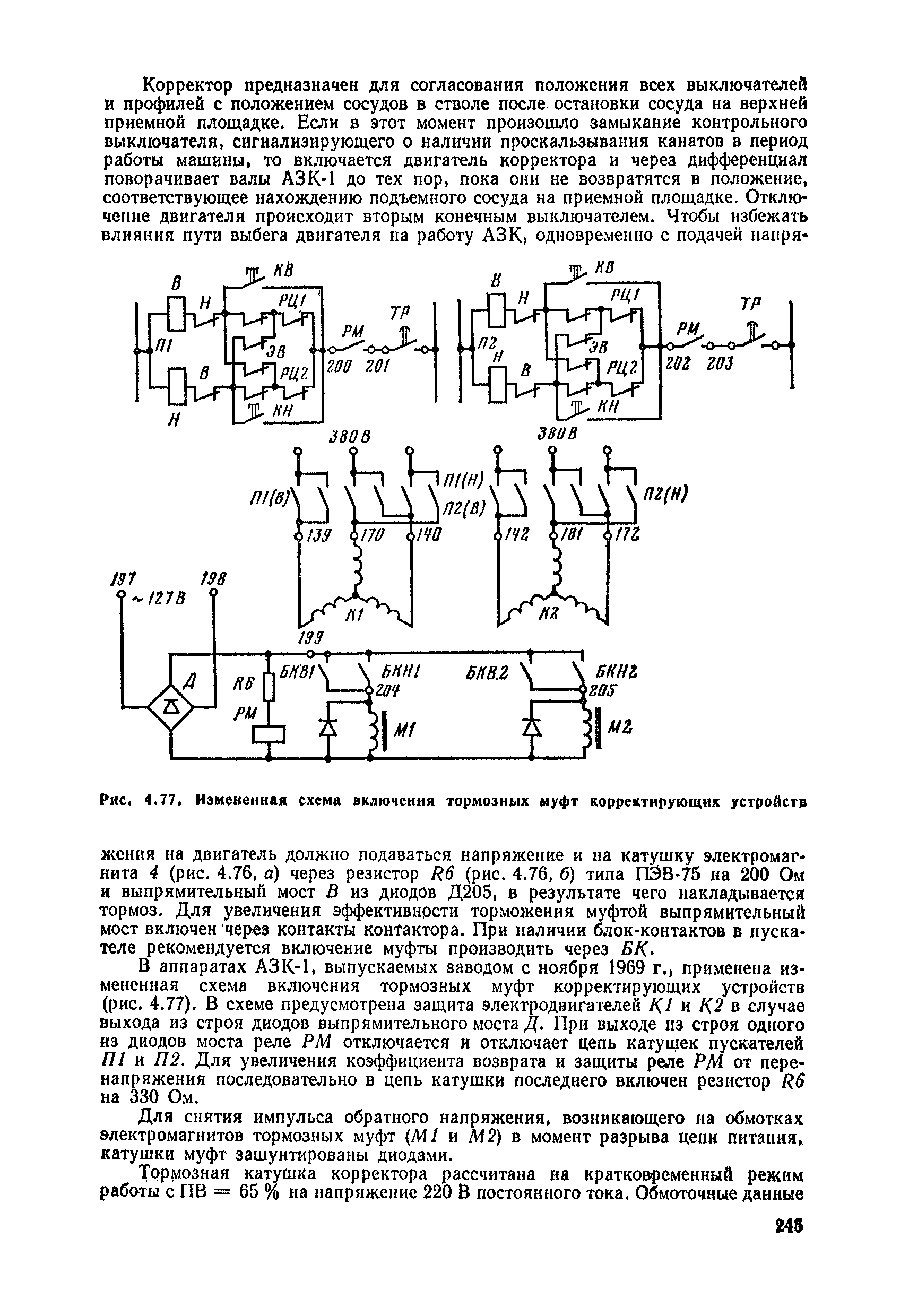
Область применения:Руководство предназначено для инженерно-технических работников.
Оглавление:1. Общие положения
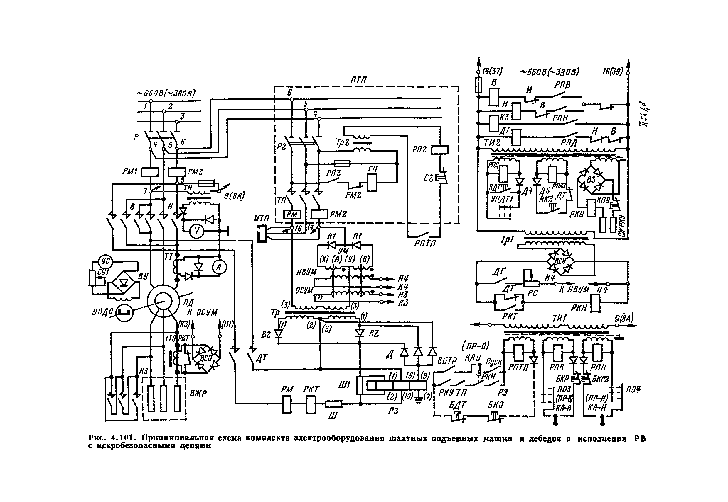
2. Ревизия и наладка механической части подъемных установок
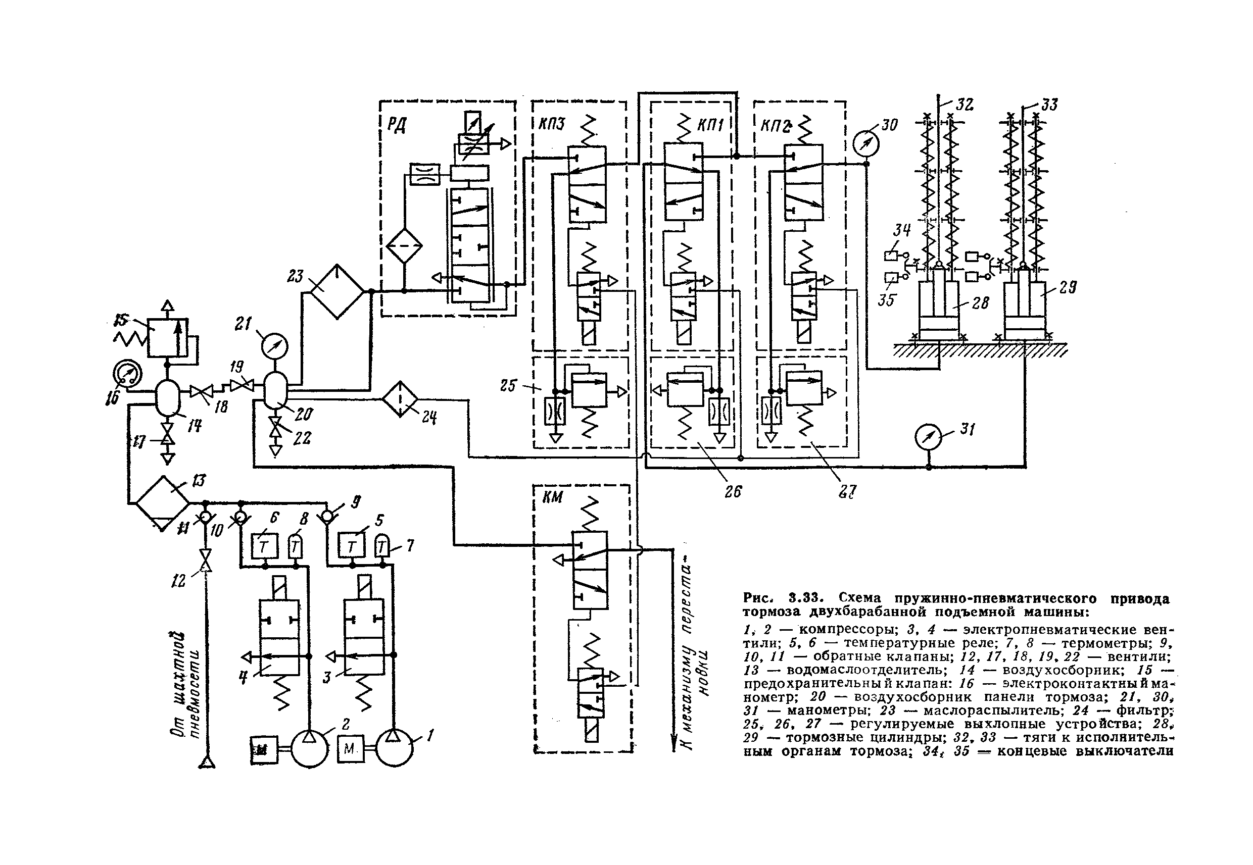
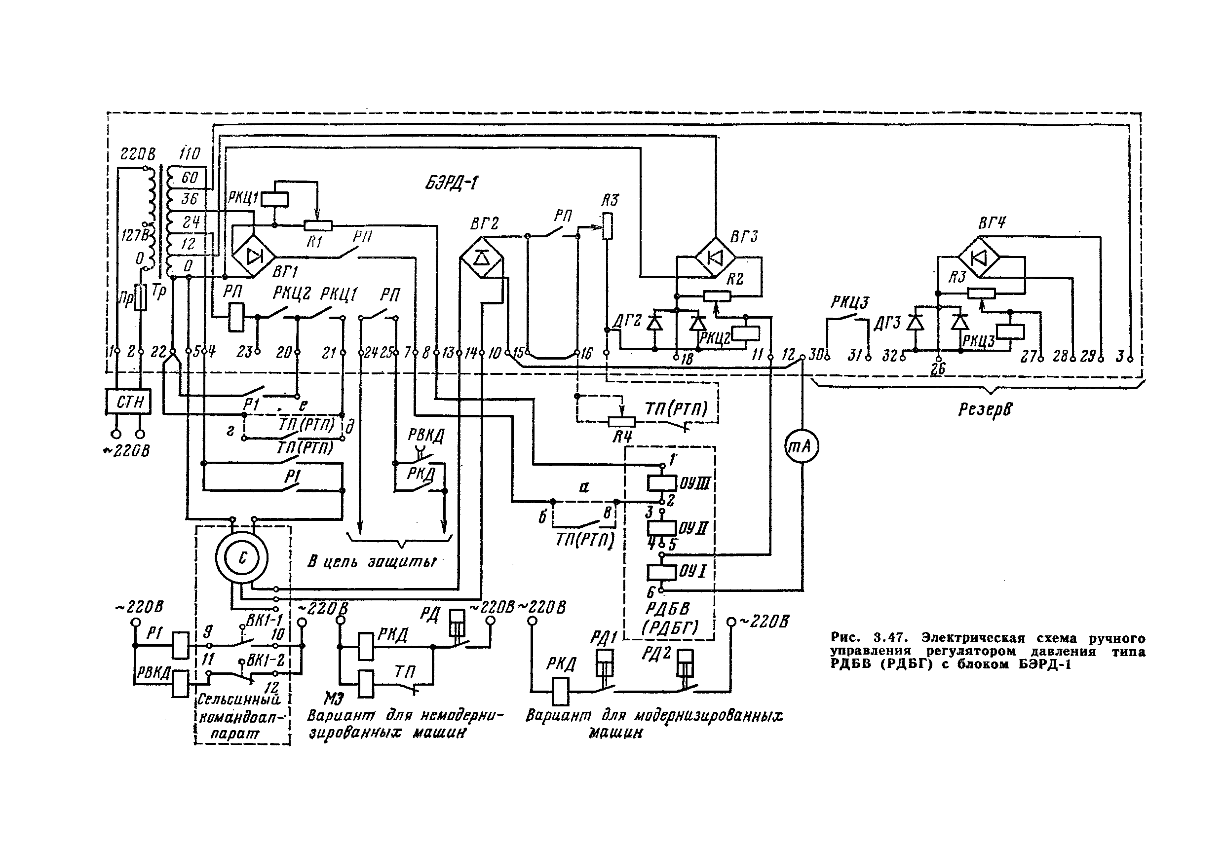
3. Ревизия и наладка тормозных устройств
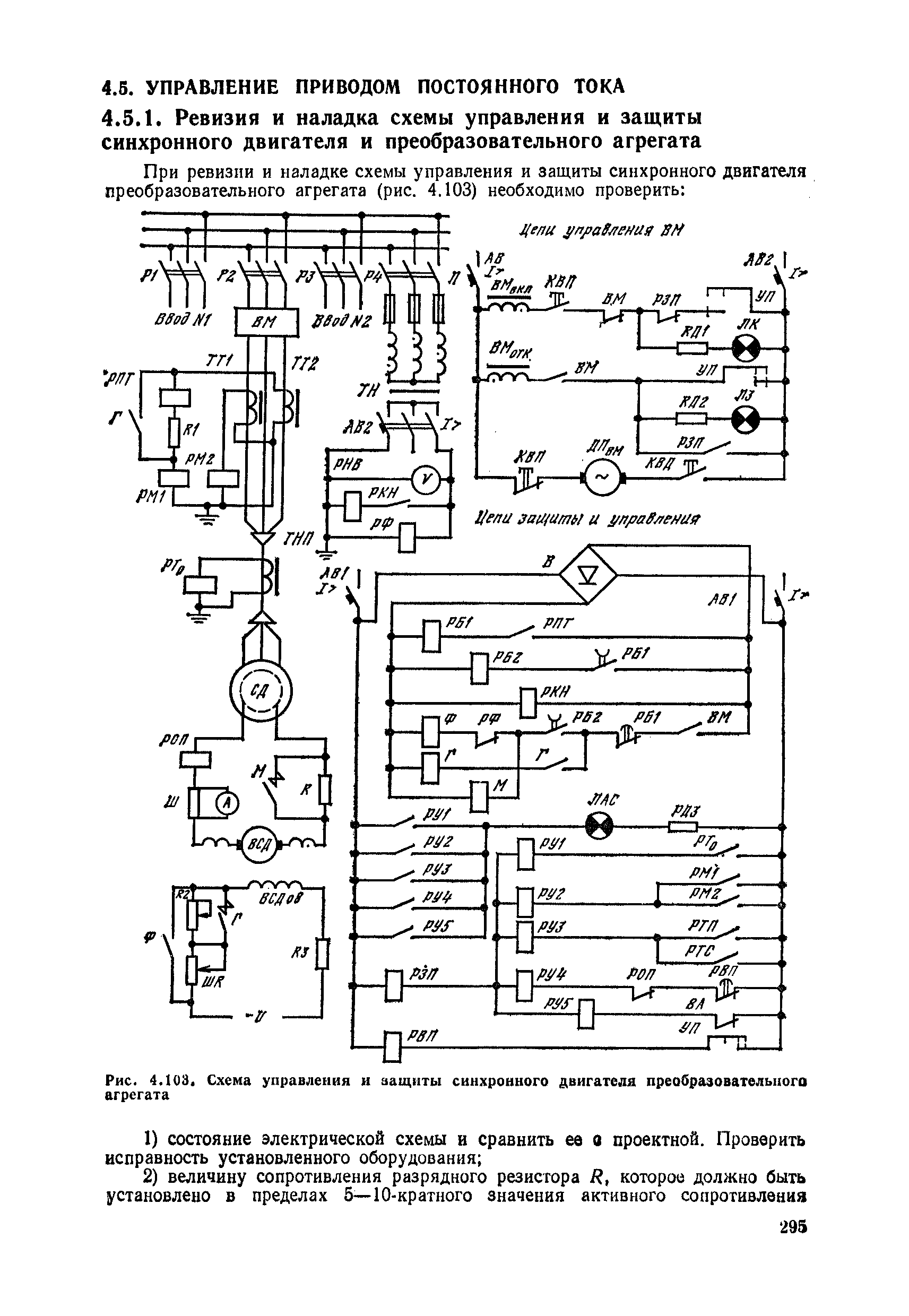
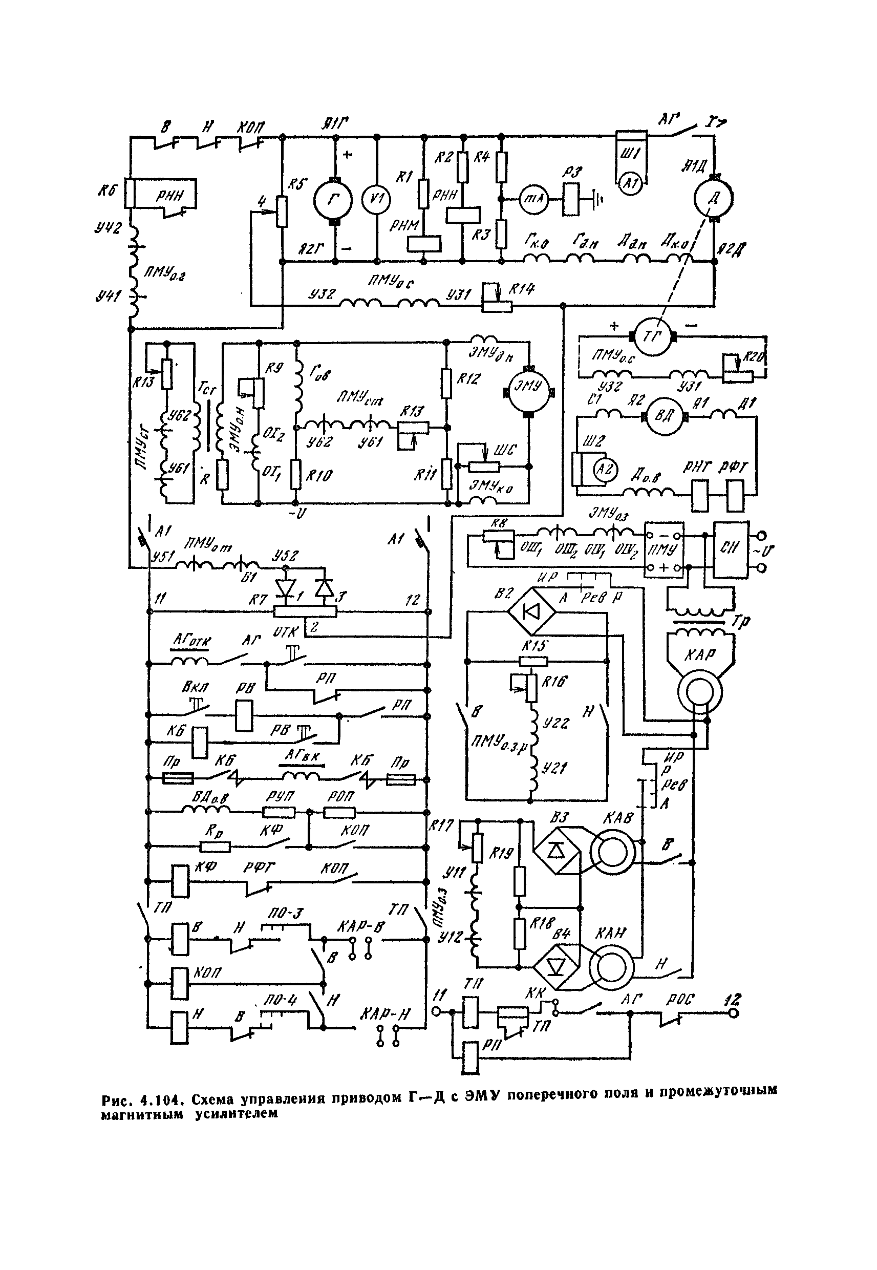
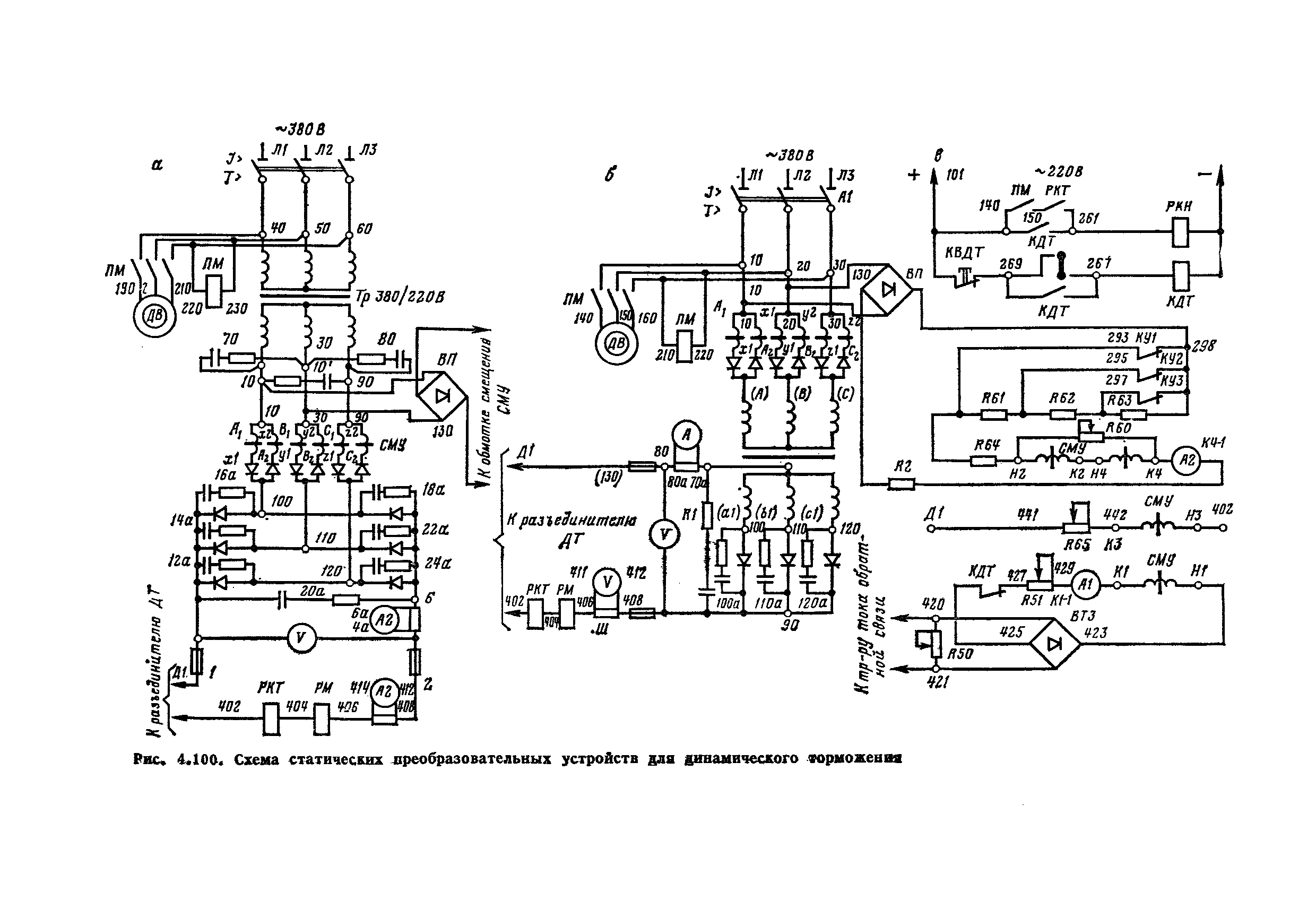
4. Ревизия и наладка электрической части подъемных установок
Список литературы
Приложение 1 Техническая характеристика приводов тормоза подъемных машин НКМЗ
Приложение 2 Ящики сопротивлений
Приложение 3 Манжеты и воротники кожаные
Приложение 4 Манжеты резиновые для цилиндров
Разработан: МакНИИ
Карагандауголь
Воркутауголь
Кузбассуголь
ВНИИ горной механики им. М.М. Федорова
Ворошиловградуглеавтоматика Минуглепрома УССР
Донецкий машиностроительный завод им. Ленинского комсомола В.И. Ленина (им. ЛКУ)
НКМЗ
Укрзападуголь
Утверждён:26.07.1979 Министерство угольной промышленности СССР (USSR Ministry of the Coal Industry )
Издан: Издательство Недра (1982 г. )
Нормативные ссылки: