Скачать Серия ЖЗ-172 Рекомендации по акустическому расчету котельныхДата актуализации: 01.01.2021
|
| Обозначение: | Серия ЖЗ-172 |
| Обозначение англ: | Series ЖЗ-172 |
| Статус: | справочные материалы, мп, тпр |
| Название рус.: | Рекомендации по акустическому расчету котельных |
| Дата добавления в базу: | 01.02.2020 |
| Дата актуализации: | 01.01.2021 |
| Область применения: | Рекомендации предназначены для расчета шума в котельных и рассчитаны на специалистов без специальной подготовки в области акустики. |
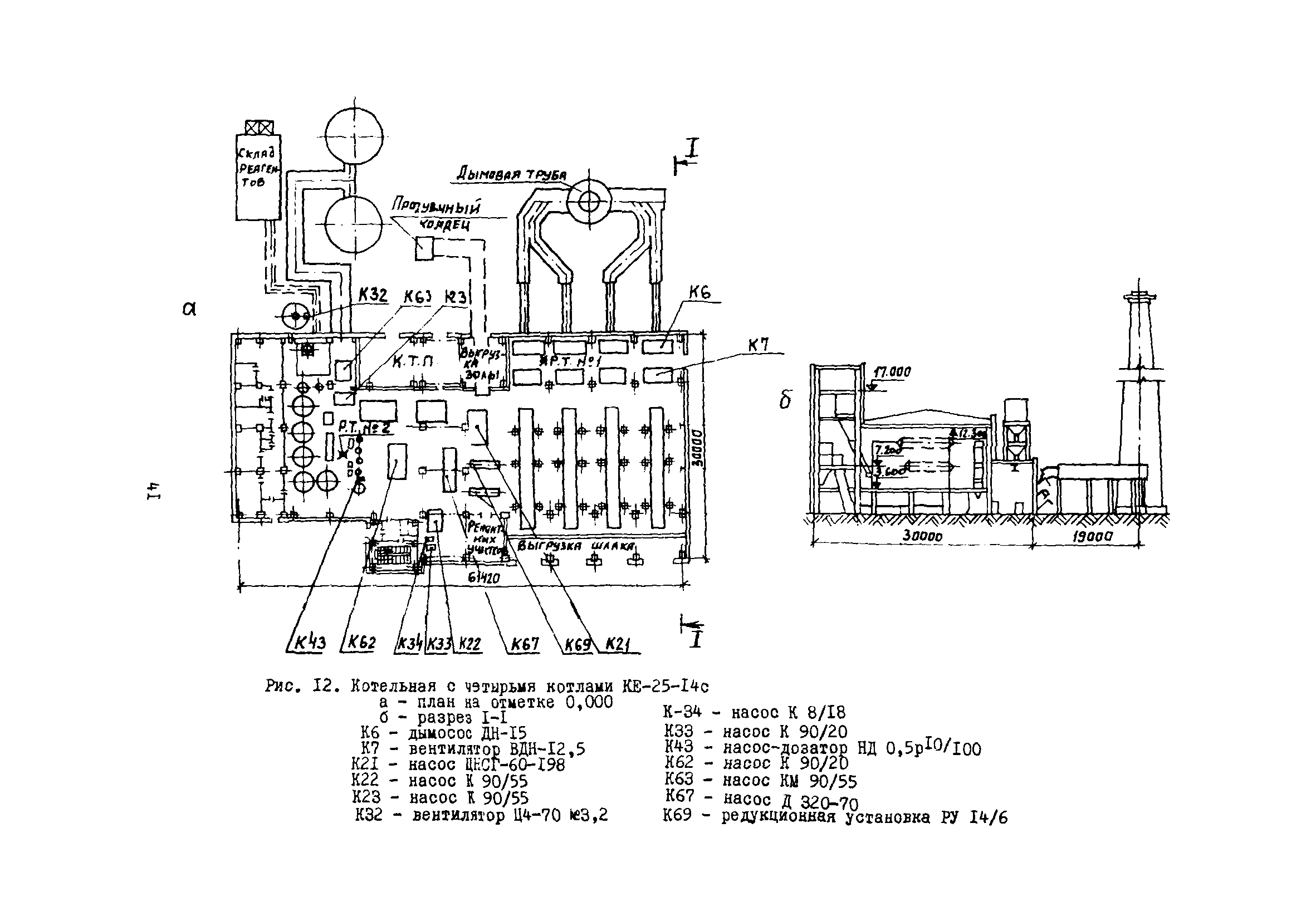
| Оглавление: | Общая часть Акустический расчет котельной 1. Источники шума и их шумовые характеристики 2. Определение октавных уровней звукового давления в предварительно выбранных расчетных точках 3. Определение октавных уровней звукового давления в расчетных точках помещения, смежного с "шумным" помещением 4. Определение октавных уровней звукового давления в расчетных точках помещения при проникновении шума в прилегающей территории 5. Проникновение шума в помещение через стенки воздуховодов и газопроводов 6. Определение октавных уровней звукового давления в расчетных точках на территории, прилегающей к зданию котельной 7. Определение требуемого снижения октавных уровней звукового давления в расчетных точках Пример акустического расчета котельной с четырьмя котлами КЕ-25-14с Приложение 1 Основные акустические понятия и определения Приложение 2 Определение суммарного уровня звуковой мощности (давления) нескольких источников шума Приложение 3 Определение октавных уровней звуковой мощности, излучаемой вентилятором через вентиляционные решетки, всасывающие короба Приложение 4 Определение октавных уровней звуковой мощности вентиляторов (центробежных и осевых) Приложение 5 Шумовые характеристики оборудования Приложение 6 Расчет звукоизолирующей способности металлической трехслойной стеновой панели Список литературы |
| Разработан: | Сантехпроект |
| Утверждён: | Госстрой СССР |
| Нормативные ссылки: |
|







































































































