Скачать Инструкция по определению и прогнозу газоносности угольных пластов и вмещающих пород при геологоразведочных работах

Дата актуализации: 01.01.2021

Инструкция по определению и прогнозу газоносности угольных пластов и вмещающих пород при геологоразведочных работах

Статус:справочные материалы, мп, тпр
Название рус.:Инструкция по определению и прогнозу газоносности угольных пластов и вмещающих пород при геологоразведочных работах
Дата добавления в базу:01.02.2020
Дата актуализации:01.01.2021
Область применения:В инструкции приведены общие сведения о геологии природных газов угольных месторождений, методах изучения газоносности пластов угля и вмещающих пород. Даны рекомендации по расчету объема опробования, проведению опробования, лабораторной обработке отобранных проб, а также по камеральной обработке получаемых материалов. Изложены основные требования, предъявляемые к материалам по газоносности угольных месторождений. Инструкция предназначена для геологоразведочных организаций, занимающихся разведкой угольных месторождений, в которых наблюдаются проявления газа
Оглавление:Предисловие
Введение
Глава 1. Общие сведения о геологии газов угольных бассейнов и месторождений
   1. Состав н происхождение газов угольных бассейнов и месторождений
   2. Формы нахождения газов в угольных пластах и вмещающих породах
   3. Миграция газов и газовая зональность
   4. Влияние геологических факторов на распределение газов в угольных пластах и вмещающих породах
Глава 2. Методы изучения газоносности угольных месторождений
   1 Метод изучения качественного состава газа
   2. Метод прямого определения природной газоносности угольных пластов и вмещающих пород
   3. Методы косвенного определения природной газоносности
   4. Комплексный метод МГРИ
Глава 3. Методика изучения газоносности угольных месторождений
   1. Задачи изучения газоносности угольных месторождений
   2. Объем работ по проведению газового опробования
   3. Опробование угольных пластов и вмещающих пород на газоносность
   4. Лабораторные работы
   5. Обработка материалов по газоносности
   6. Требования, предъявляемые к материалам по газоносности угольных месторождений
   7. Организация работ
Приложение 1. Герметические сосуды
Приложение 2. Герметические керногазонаборники ГКМ
Приложение 3. Керногазонаборник КГН-3-58 или КГН-3-70/76
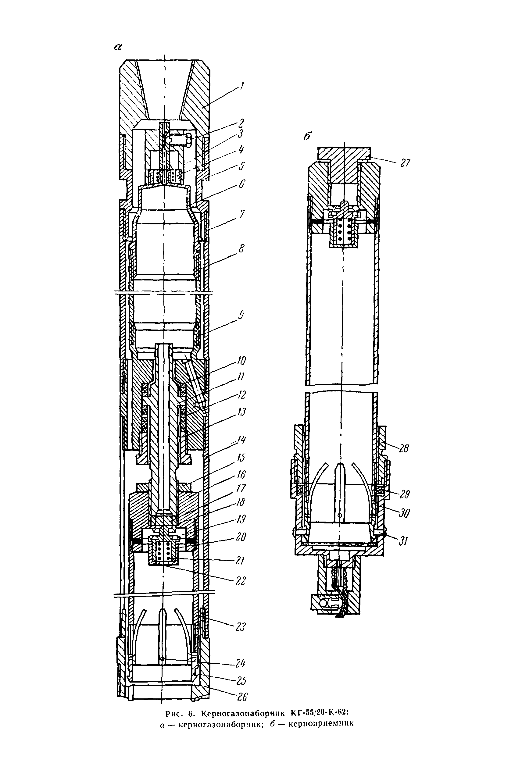
Приложение 4. Керногазонаборник КГ-55/120-К-62. Модернизация керногазонаборника КГ-55/120-К-62
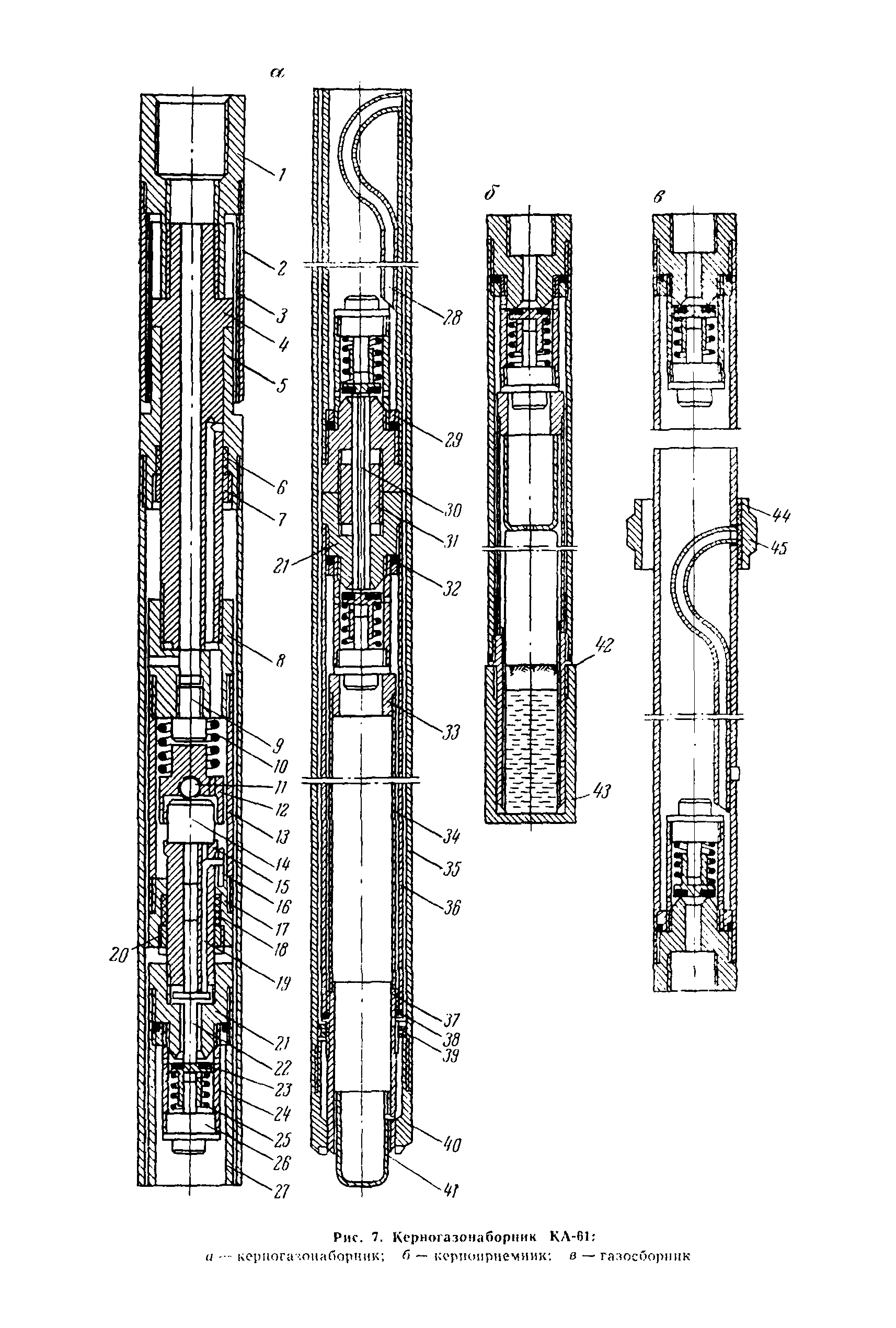
Приложение 5. Керногазонаборник КА-61М
Приложение 6. Испытатель пластов КИИ-65 СевКавНИИ с пробоотборной камерой конструкции УкрНИИГаза
   Расчет газоносности по данным КИИ-65
Приложение 7. Комплексный метод МГРИ
Приложение 8. Дегазационная установка и дегазация проб
Приложение 9. Изучение газовыделения из скважин
Приложение 10. Расчет содержания газа в пробе, отобранной в герметический сосуд
Приложение 11. Расчет содержания газа в пробе, отобранной керногазонаборником
Приложение 12. Расчет газосодержания жидкости
Приложение 13. Установление характера нарастания метаноносности угольных пластов с глубиной
Приложение 14. Метод расчета природной газоносности угольных пластов по данным газообильности горных выработок
Приложение 15. Штатный состав и список оборудования
Приложение 16. Форма бланков
Список литературы
Разработан: ИГД им. А.А. Скочинского
Утверждён: Министерство угольной промышленности СССР (USSR Ministry of the Coal Industry )
Министерство геологии СССР
Государственная Комиссия по запасам полезных ископаемых при Совете Министров СССР
Принят: Госгортехнадзор СССР (USSR Gosgortekhnadzor )
Издан: Издательство Недра (1977 г. )
Нормативные ссылки: