Скачать ГОСТ Р 50.05.14-2019 Система оценки соответствия в области использования атомной энергии. Средства ультразвукового контроля основных материалов, сварных соединений и наплавленных поверхностей оборудования и трубопроводов атомных энергетических установок. Общие требованияДата актуализации: 01.01.2021
|
| Обозначение: | ГОСТ Р 50.05.14-2019 |
| Обозначение англ: | GOST R 50.05.14-2019 |
| Статус: | введен впервые |
| Название рус.: | Система оценки соответствия в области использования атомной энергии. Средства ультразвукового контроля основных материалов, сварных соединений и наплавленных поверхностей оборудования и трубопроводов атомных энергетических установок. Общие требования |
| Название англ.: | Conformity assessment system for the use of nuclear energy. Accessories for ultrasonic testing of base materials (semiproducts), welded joints and cladded surfaces of equipment and piping of nuclear power installations. General requirements |
| Дата добавления в базу: | 01.02.2020 |
| Дата актуализации: | 01.01.2021 |
| Дата введения: | 01.08.2019 |
| Область применения: | Стандарт распространяется на средства контроля, используемые при оценке соответствия в форме ультразвукового контроля основных материалов (полуфабрикатов), сварных соединений и наплавленных поверхностей оборудования и трубопроводов атомных энергетических установок (АЭУ) и других элементов атомных станций (АС), выполненных в соответствии с требованиями федеральных норм и правил в области использования атомной энергии, устанавливающих: - требования к устройству безопасной эксплуатации оборудования и трубопроводов АЭУ; - требования к устройству и эксплуатации локализующих систем безопасности АС; - требования к сварке и наплавке оборудования и трубопроводов АЭУ; - правила контроля металла оборудования и трубопроводов АЭУ при изготовлении и монтаже; - правила контроля основного металла, сварных соединений и наплавленных покрытий при эксплуатации оборудования, трубопроводов и других элементов АС. Стандарт устанавливает общие требования к средствам контроля, используемым при проведении ультразвукового контроля. Стандарт предназначен для применения специалистами и организациями, непосредственно осуществляющими оценку соответствия металла оборудования и трубопроводов АЭУ и других элементов АС в форме ультразвукового контроля. |
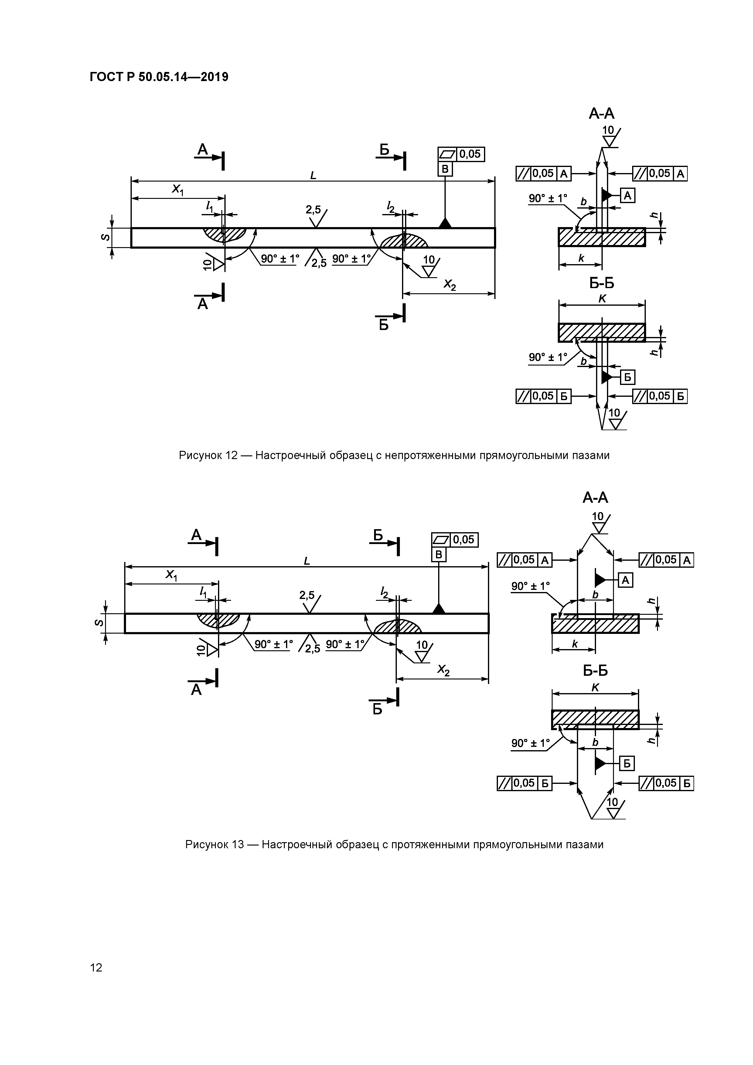
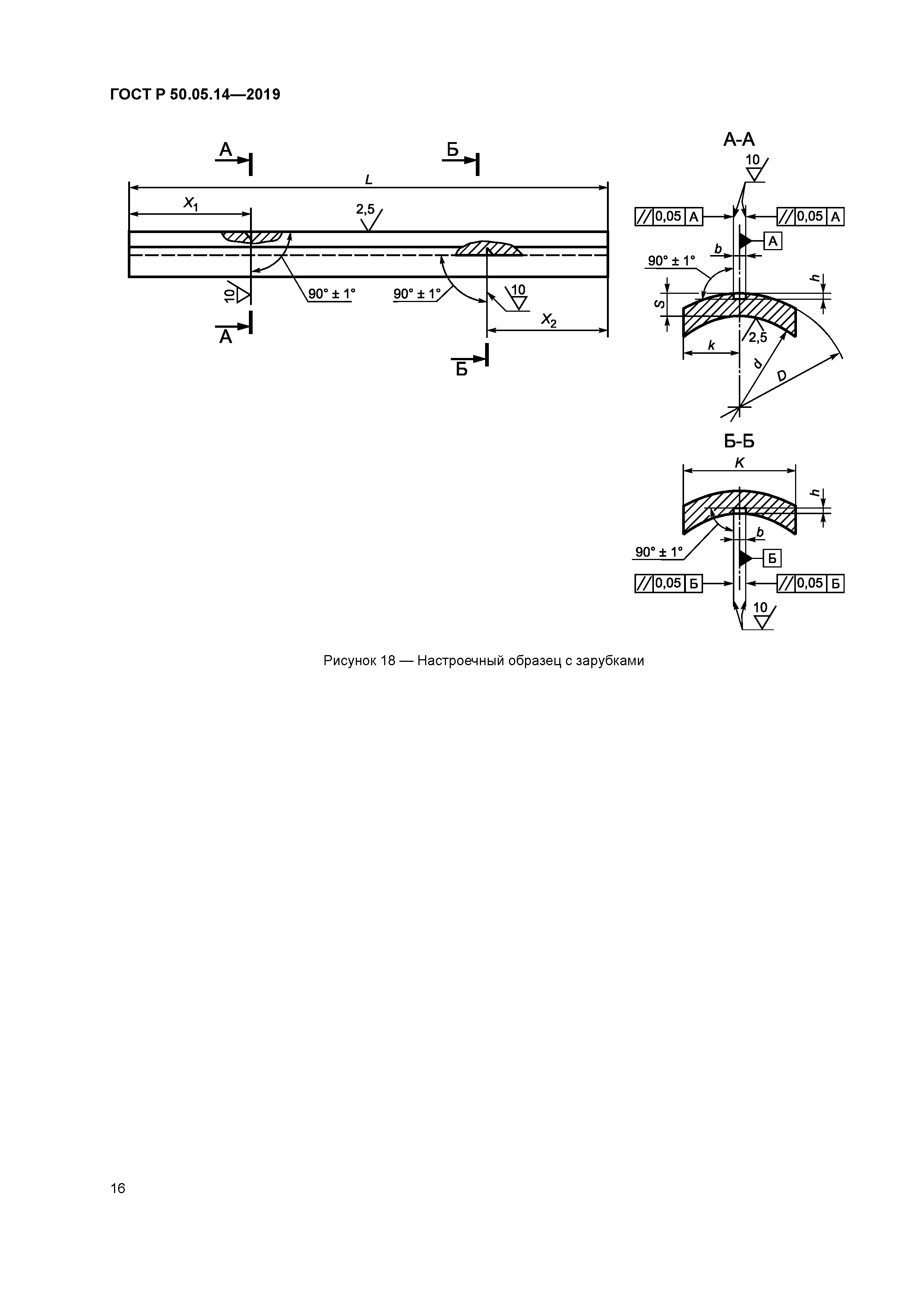
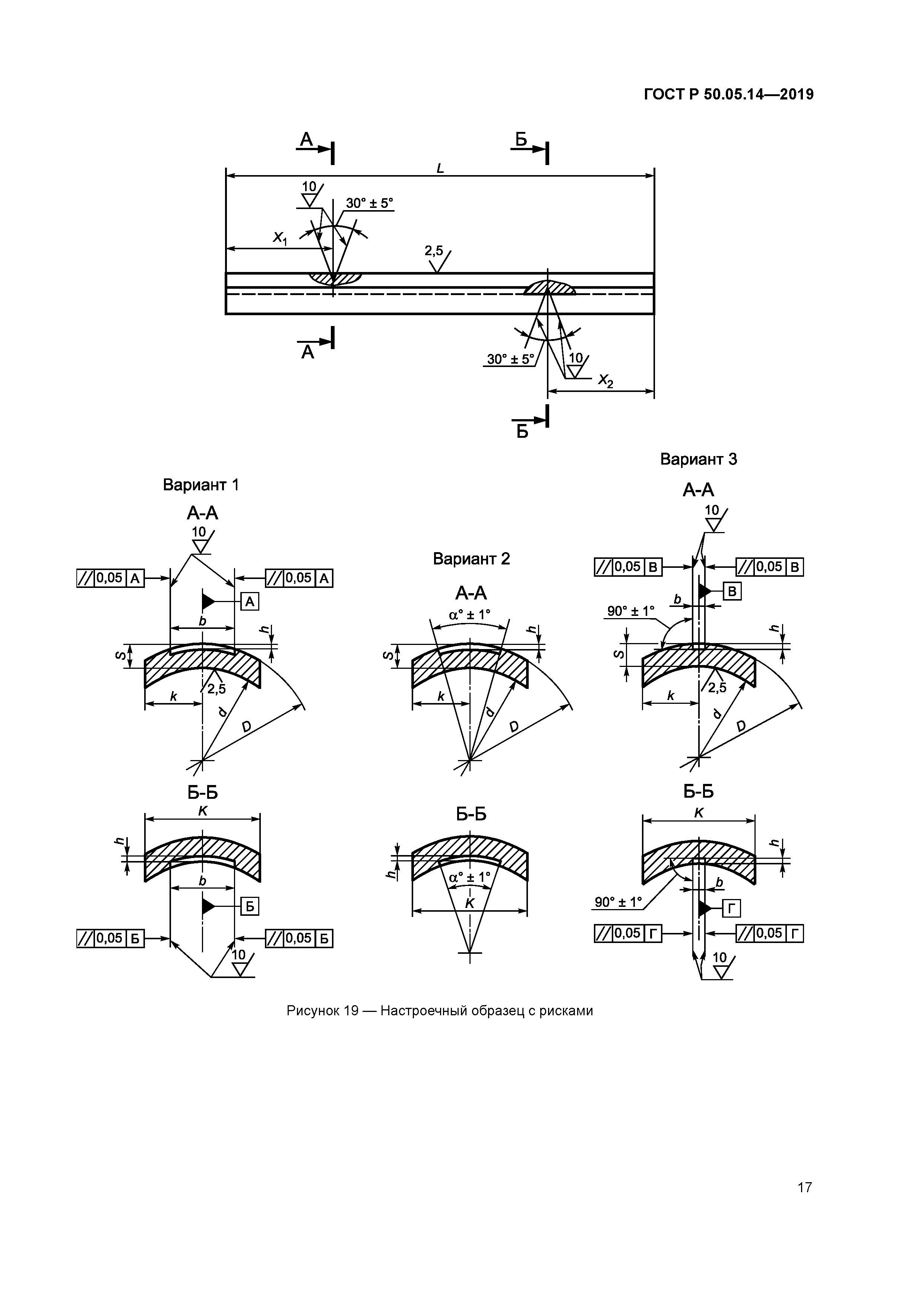
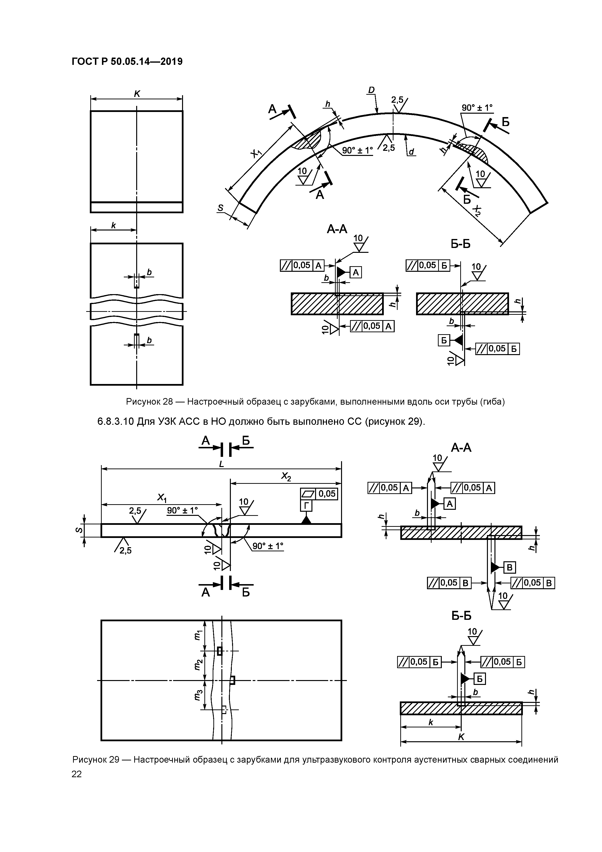
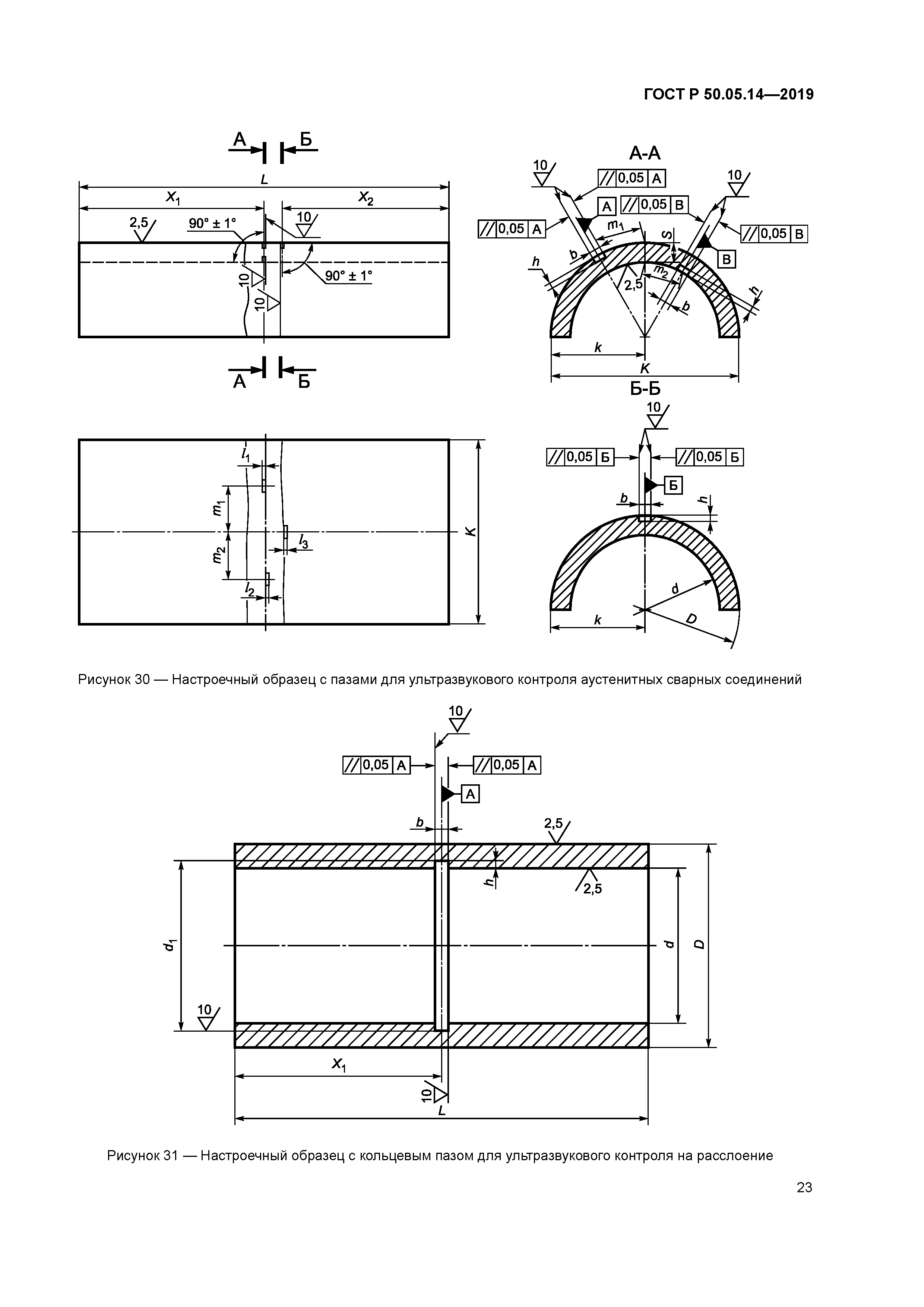
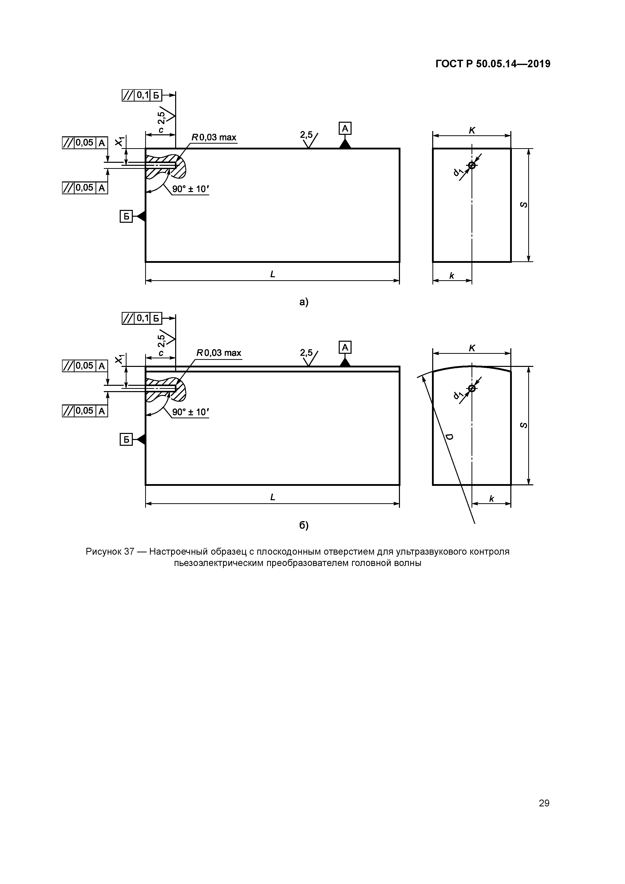
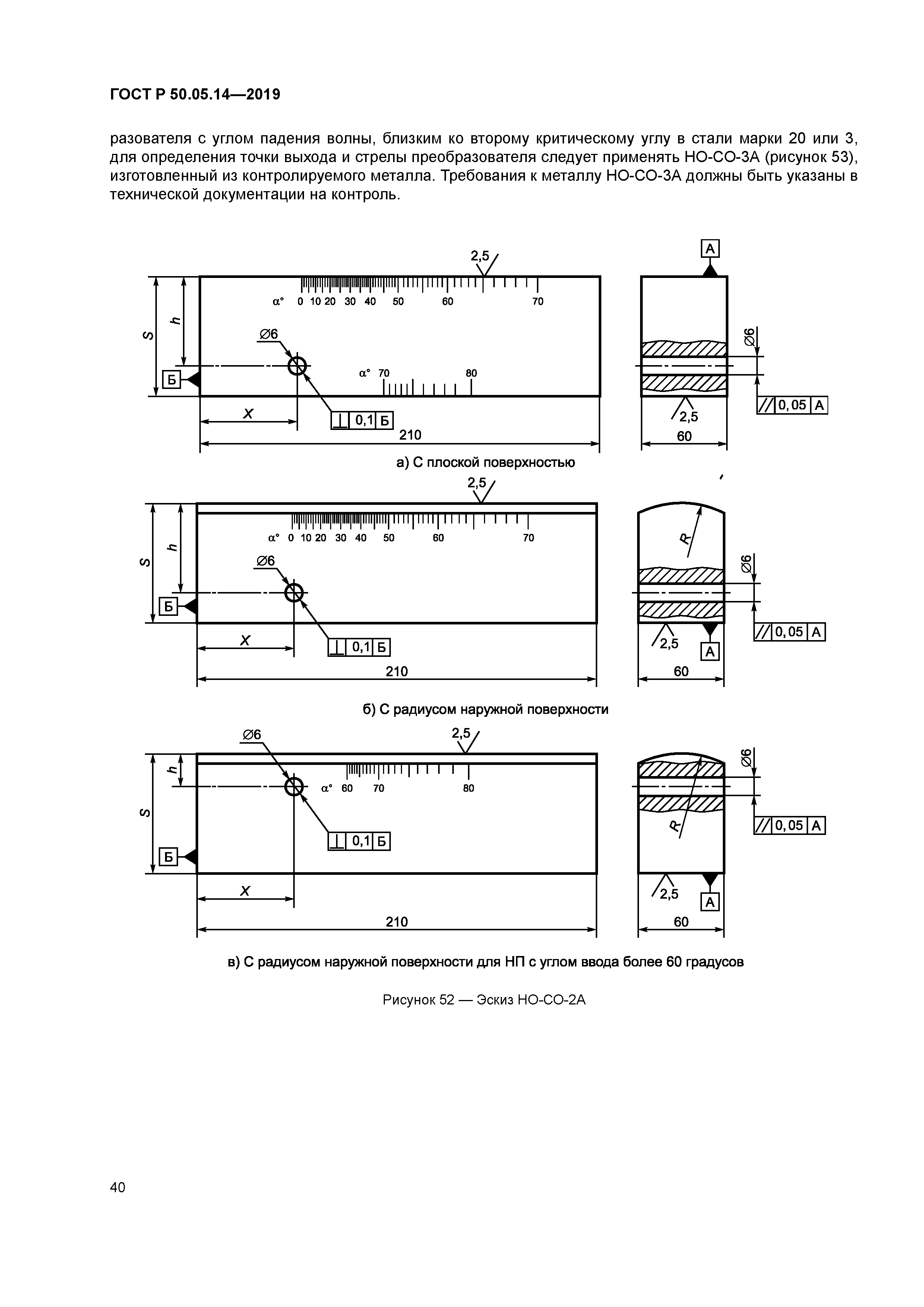
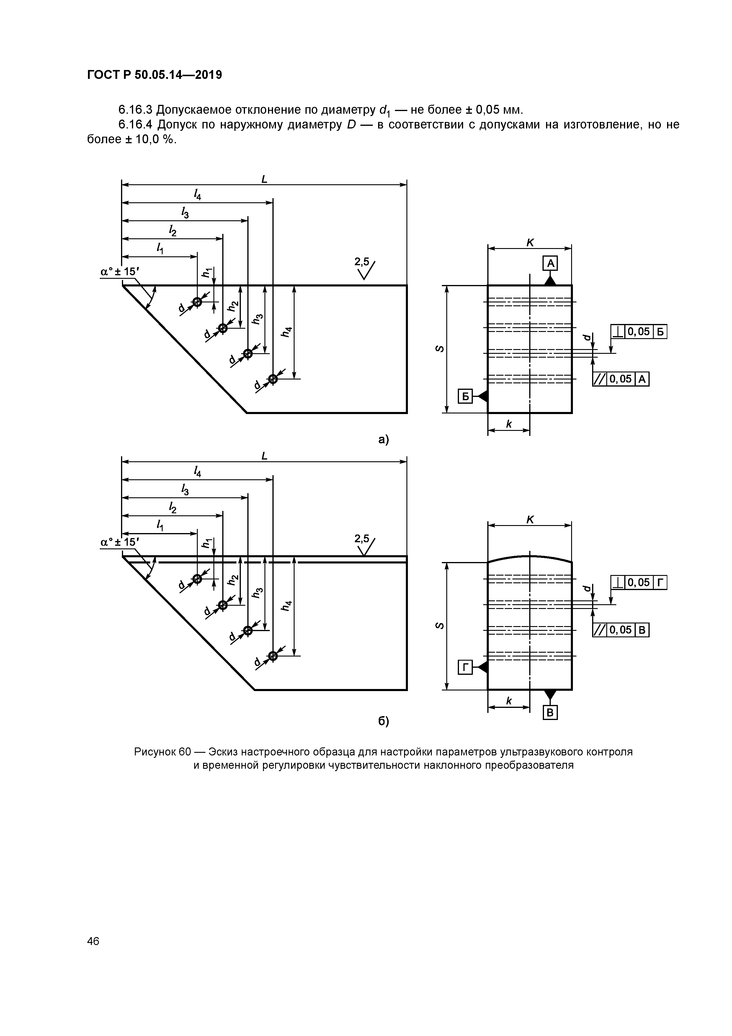
| Оглавление: | 1 Область применения 2 Нормативные ссылки 3 Термины и определения 4 Сокращения 5 Средства ультразвукового контроля и их составные части 6 Конструкция образцов Библиография |
| Разработан: | Государственная корпорация по атомной энергии Росатом ООО ЦАК |
| Утверждён: | 14.05.2019 Федеральное агентство по техническому регулированию и метрологии (187-ст) |
| Издан: | Стандартинформ (2019 г. ) |
| Нормативные ссылки: |
|



















































