Скачать РД 39-1-300-79 Инструкция по входному контролю скважинных штанговых насосовДата актуализации: 01.01.2021
|
| Обозначение: | РД 39-1-300-79 |
| Обозначение англ: | RD 39-1-300-79 |
| Статус: | введен впервые |
| Название рус.: | Инструкция по входному контролю скважинных штанговых насосов |
| Дата добавления в базу: | 01.02.2020 |
| Дата актуализации: | 01.01.2021 |
| Дата введения: | 20.03.1980 |
| Область применения: | Инструкция предназначена для работников нефтяной промышленности, занимающихся добычей нефти скважинными штанговыми насосами |
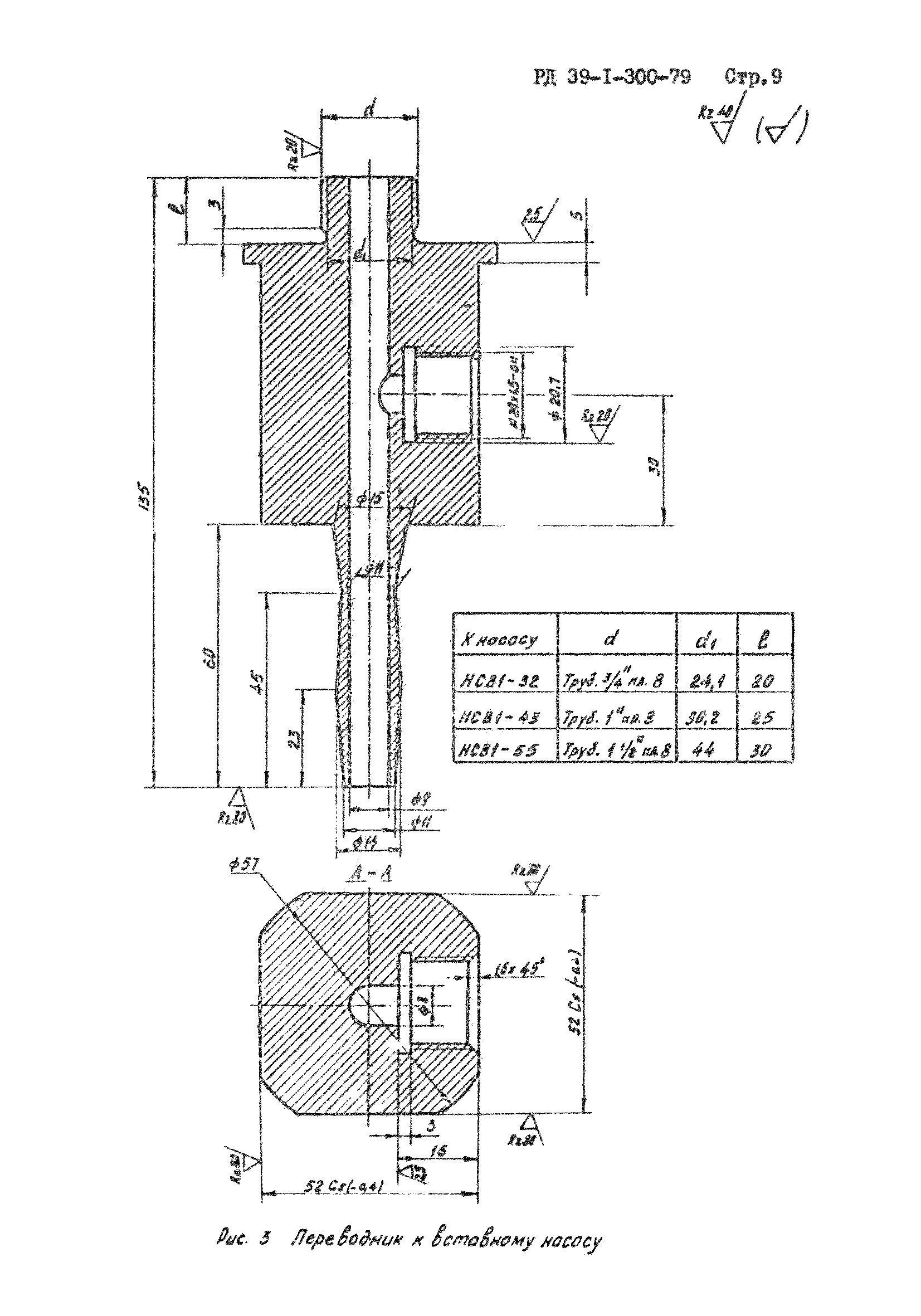
| Оглавление: | Введение 1 Общие указания 2 Рекомендации по мерам безопасности 3 Порядок установки 4 Подготовка к работе 5 Порядок работы 6 Порядок подсчета (оценка) результатов входного контроля насоса 7 Характерные неисправности и методы их устранения |
| Разработан: | АзНИПИнефть |
| Утверждён: | 25.12.1979 Министерство нефтяной промышленности СССР (USSR Ministry of the Petroleum Industry ) |

















