Скачать Инструкция по повышению эффективности действующих установок с осевыми вентиляторами на шахтах угольной промышленности

Дата актуализации: 01.01.2021

Инструкция по повышению эффективности действующих установок с осевыми вентиляторами на шахтах угольной промышленности

Статус:справочные материалы, мп, тпр
Название рус.:Инструкция по повышению эффективности действующих установок с осевыми вентиляторами на шахтах угольной промышленности
Дата добавления в базу:01.02.2020
Дата актуализации:01.01.2021
Область применения:Инструкция является руководством для работников специализированных наладочных бригад, которые проводят ревизии и наладки шахтных вентиляторных установок
Оглавление:Введение
1 Определение исходных данных для проведения мероприятий по повышению экономичности вентиляторов
   1 Подготовка к измерениям
   2. Определение фактического режима работы шахтной вентиляторной установки
2 Проведение мероприятий по повышению эффективности вентиляторных установок
   1 Выбор рационального сочетания чисел лопаток рабочих колес
   2 Проведение работ по усовершенствованию на действующих вентиляторных установках
   3 Правила безопасности
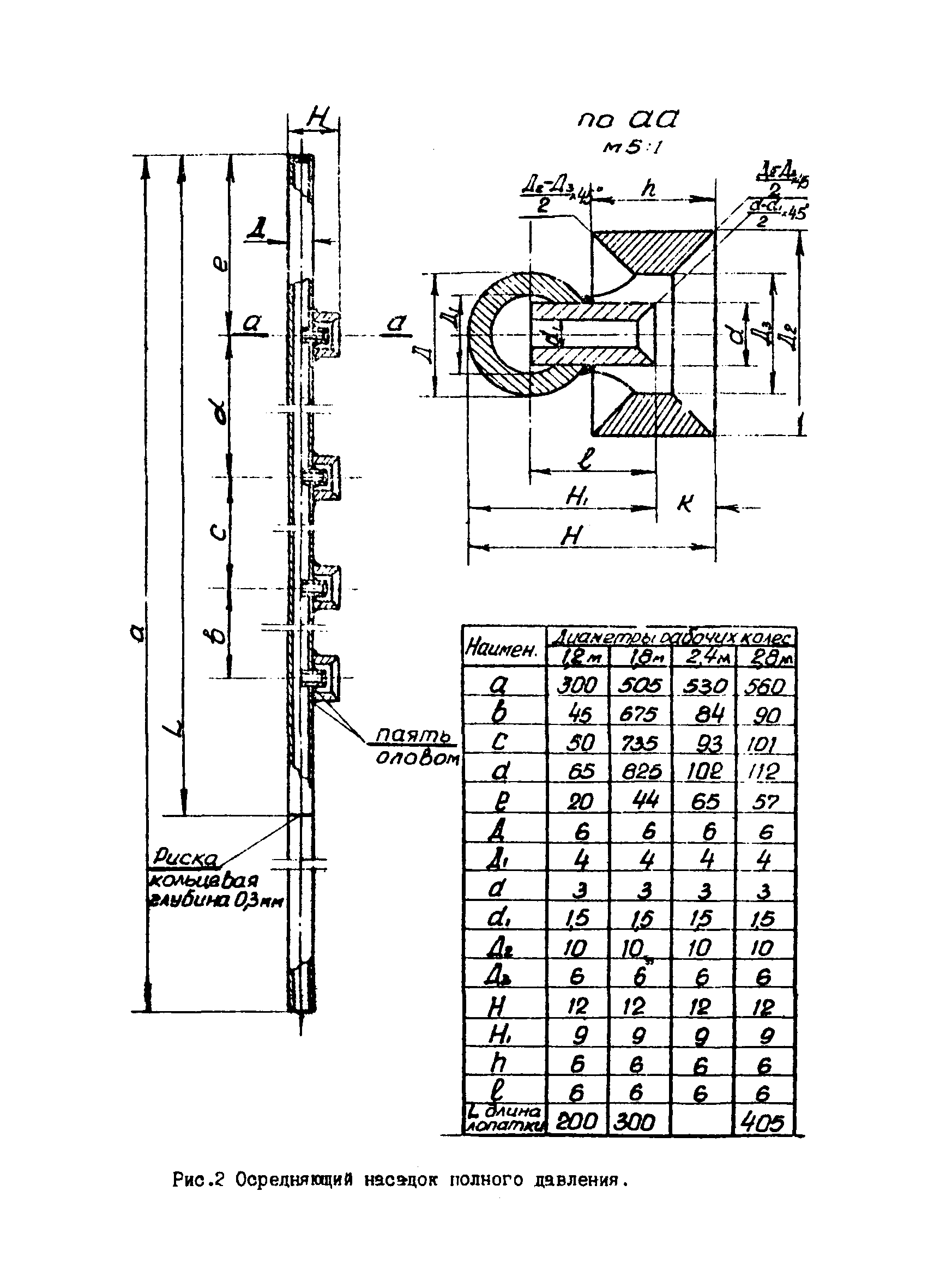
Приложение
Разработан: Институт горной механики и технической кибернетики им. М.М. Федорова
Утверждён:30.07.1969 Министерство угольной промышленности СССР (USSR Ministry of the Coal Industry )