Скачать ЦТ-336 Инструкция по сварочным и наплавочным работам при ремонте тепловозов, электровозов, электропоездов и дизель-поездовДата актуализации: 01.01.2021
|
| Обозначение: | ЦТ-336 |
| Обозначение англ: | ЦТ-336 |
| Статус: | информационный документ |
| Название рус.: | Инструкция по сварочным и наплавочным работам при ремонте тепловозов, электровозов, электропоездов и дизель-поездов |
| Дата добавления в базу: | 01.02.2020 |
| Дата актуализации: | 01.01.2021 |
| Область применения: | Инструкция распространяется на ремонт сваркой, наплавкой и напылением деталей и узлов тепловозов, электровозов, электропоездов и дизель-поездов (тяговый подвижной состав) при текущем (ТР-1, ТР-2, ТР-3), капитальном (КР-1, КР-2), внеплановом их ремонте и техническом обслуживании, а также на изготовление запчастей для тягового подвижного состава. |
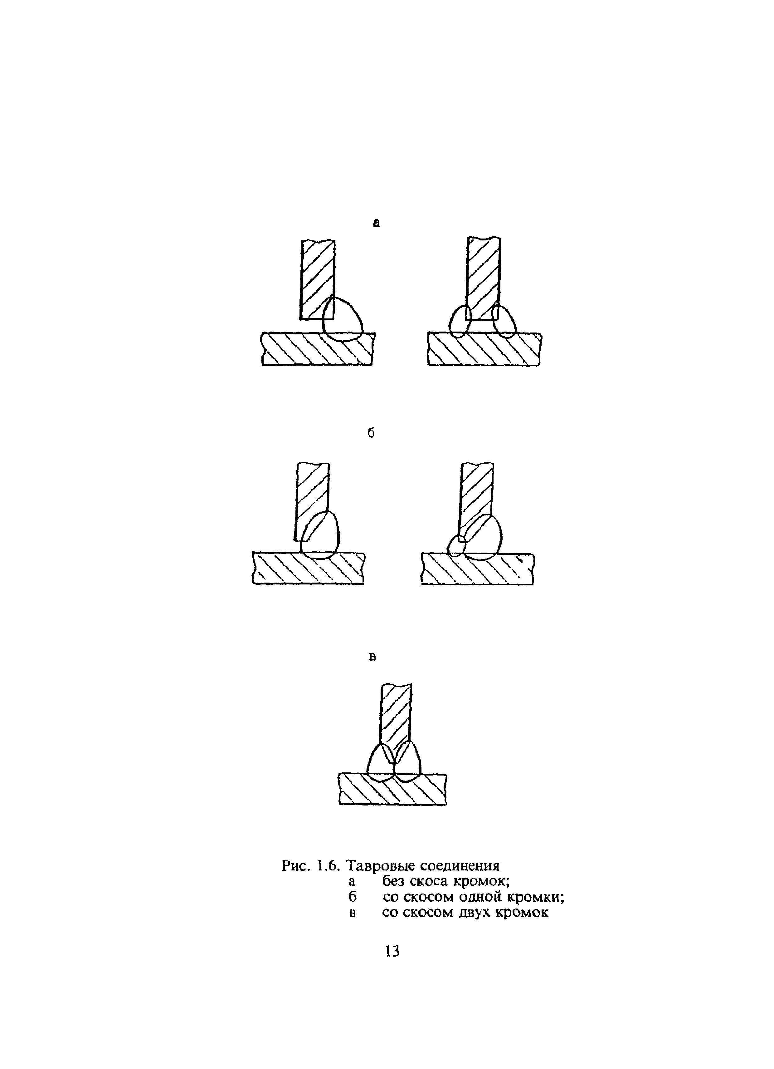
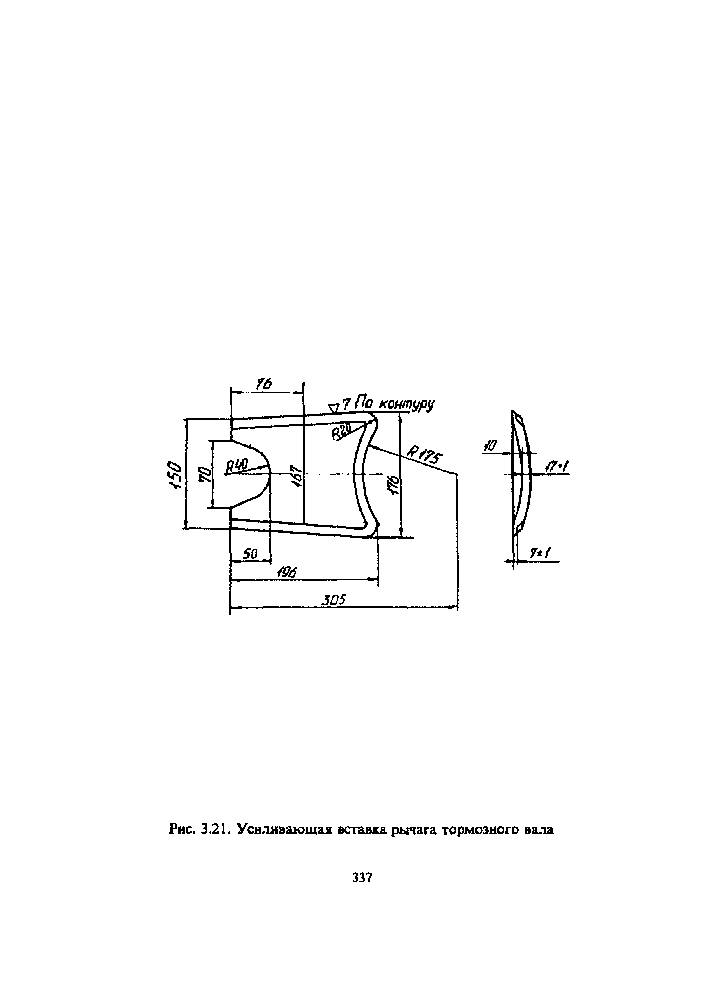
| Оглавление: | 1. Основные требования по технологии сварки, наплавки и напыления 1.1. Общие положения 1.1.1. Основные требования 1.1.2. Типы сварных соединений и подготовка кромок под сварку 1.2. Основные сведения о сталях и их свариваемости 1.3. Ручная дуговая сварка 1.4. Автоматическая и механизированная (полуавтоматическая) сварка под флюсом 1.5. Сварка порошковой проволокой 1.5.1. Общие положения 1.5.2. Оборудование для сварки порошковыми проволокам 1.6. Сварка в углекислом газе 1.7. Сварка в газовых смесях 1.8. Наплавка электродами и порошковой проволокой 1.9. Вибродуговая наплавка 1.10. Газотермическая наплавка и напыление 1.11. Многоэлектродная наплавка 1.12. Индукционная наплавка 1.13. Оборудование для дуговой сварки и наплавки 1.14. Газопламенная обработка металла 1.14.1. Газовая сварка 1.14.2. Газовая наплавка 1.14.3. Кислородная резка 1.15. Газопрессовая сварка 1.16. Сварка цветных металлов 1.16.1. Сварка алюминия и его сплавов 1.16.2. Сварка меди и ее сплавов 1.17. Пайка и лужение 1.18. Воздушно-дуговая резка металла 1.19. Контактная сварка 1.19.1. Общие положения 1.19.2. Стыковая сварка 1.19.3. Точечная сварка. 1.20. Сварка чугуна 1.20.1. Общие положения 1.20.2. Газовая сварка чугуна горячим способом 1.20.3. Низкотемпературная пайко-сварка чугуна 1.21. Наплавка деталей из сплава ЦАМ 9—15 1.22. Заварка трещин и усиление поврежденных мест 1.23. Меры по уменьшению напряжений и деформаций при сварке 1.24. Способы повышения прочности сварных соединений поверхностным упрочнением 1.25. Плазменная резка 1.26. Контроль качества и дефектоскопия сварных соединений 1.27. Требования безопасности 1.27.1. Общие указания 1.27.2. Подготовка деталей к сварочным и газосварочным работам 1.27.3. Электросварочные работы 1.27.4. Газосварочные работы 2. Тепловозы 2.1. Дизель 1ОД 100, 2Д100 (тепловозы типа ТЭ10, ТЭ3) 2.1.1. Общие требования по ремонту блока дизеля 2.1.2. Приварка опор вкладышей подшипников (бугелей) 2.1.3. Наплавка опор вкладышей и заварка трещин 2.1.4. Заварка трещин в листах и сварных швах блока 2.1.5. Вварка вставок в вертикальные листы блока 2.1.6. Наплавка кромок отверстий поясов для вертикальной передачи и цилиндровых гильз 2.1.7. Рама дизеля 2.1.8. Вертикальная передача дизеля 2.2. Дизель ПД 1 М 2.2.1. Блок дизеля и картер 2.3. Дизель 14Д40 и 11Д45 2.4. Дизель 5Д49 2.5. Дизель К6S310DR 2.6. Дизель 1Д12 2.7. Заварка трещин в поршневых вставках 2.8. Вспомогательное оборудование дизелей 2.9. Воздуходувка 2.10. Экипажная часть тепловозов 2.10.1. Рама 2.10.2. Рама листовая тепловоза ТГМ23 2.10.3. Капот и кузов тепловоза 2.10.4. Рамы тележек тепловозов 2.10.5. Автосцепное устройство 2.10.6. Боковые опоры тележки тепловоза 2.10.7. Скользуны тележки тепловоза 2.10.8. Колесные пары и зубчатая передача тепловоза 2.10.9. Кожуха зубчатых передач и корпуса редукторов 2.10.10. Буксы и их детали 2.10.11. Буксовые направляющие и клинья 2.10.12. Подбуксовые струнки 2.10.13. Рессорное подвешивание и гидроамортизаторы 2.10.14. Рычажная передача тормоза 2.10.15. Подвески тяговых электродвигателей 2.11. Вспомогательное оборудование тепловозов 2.11.1. Редукторы 2.11.2. Подпятник и вентиляторное колесо 2.11.3. Приводы силовых механизмов 2.11.4. Холодильник тепловоза 2.11.5. Трубопроводы водяной, масляной, топливной систем и автотормоза 2.11.6. Воздушные резервуары 2.11.7. Топливные масляные и водяные баки 2.11.8. Приборы автотормоза и автоматики 2.11.9. Вентилятор 2.11.10. Компрессоры 2.11.11. Вентилятор охлаждения тяговых электродвигателей 2.12. Гидропередача тепловоза 2.12.1. Корпуса гидропередачи и реверса 2.12.2. Валы гидропередачи и реверса 2.12.3. Отбойный вал в сборе 2.12.4. Гидромуфта 2.12.5. Золотники гидротрансформаторов 2.12.6. Шестерни, корпуса подшипников и крышки 2.12.7. Узлы автоматики гидропередачи 3 Электровозы 3.1. Брусковая рама тележки 3.2. Рамы тележек коробчатого сечения 3.3. Противоразгрузочное устройство 3.4. Межтележечное сочленение 3.5. Подпятники 3.6. Колесные пары 3.7. Кожуха зубчатых передач и корпуса редукторов 3.8. Пружинные подвески тяговых электродвигателей 3.9. Подбуксовые связи (струнки) 3.10. Путеочистители 3.11. Буксы 3.12. Рессорное подвешивание 3.13. Тормозная рычажная передача, ручной тормоз и тормозные цилиндры 3.14. Песочницы и вентиляционные патрубки 3.15. Кузов 3.16. Люлечное подвешивание и гасители колебаний 4. Электрическое оборудование тягового подвижного состава 4.1. Остовы тяговых электродвигателей и вспомогательных электромашин 4.2. Подшипниковые щиты тяговых электродвигателей и вспомогательных электромашин 4.3. Станины и подшипниковые щиты главных генераторов тепловозов 4.4. Якоря электрических машин и их детали 4.5. Щеткодержатели и их кронштейны 4.6. Сердечники главных и добавочных полюсов 4.7. Катушки главных и добавочных полюсов 4.8. Электрическая аппаратура и тяговые трансформаторы 4.9. Токоприемники 4.10. Быстродействующий выключатель 4.11.Контакторы 4.12. Групповые (реостатные) контроллеры и переключатели 4.13. Переключатели типов ПР, ПТК, ПШ. РК, ТК 4.14. Контроллер машиниста 4.15. Прочие работы по электрической аппаратуре 5. Вагоны электропоездов 5.1. Общие положения 5.2. Рама кузова и кузов вагона 5.3. Сварные рамы тележек вагонов 5.4. Редуктор и кожух зубчатой передачи 5.5. Тормозное оборудование 6. Вагоны дизель-поездов 6.1. Рама и кузов вагона 6.2. Тележки дизель-поезда 6.3. Рессорное подвешивание 6.4. Рычажная передача тормоза 6.5. Рычаги реактивные осевого редуктора 6.6. Колесные пары, буксы, зубчатая передача 6.7. Осевые редукторы 6.8. Силовая гидравлическая передача 6.9. Редуктор вспомогательных машин 6.10. Карданные валы 6.11. Муфты эластичные главного кардана 6.12. Регулятор переключения скоростей 6.13. Дизель М756 Приложение 1. Основные неисправности источников питания сварочной дуги и способы их устранения Приложение 2. Основная нормативно-техническая документация Приложение 3. Основные стандарты по сварочному производству и материалам |
| Разработан: | Внии жт |
| Утверждён: | 11.08.1995 Министерство путей сообщения РФ (Russian Federation Ministry of Railroads ) |
| Нормативные ссылки: |
|










































































































































































































































































































































































































































































