Скачать Отраслевая инструкция по применению рамных и анкерных крепей в подготовительных выработках угольных и сланцевых шахт

Дата актуализации: 01.01.2021

Отраслевая инструкция по применению рамных и анкерных крепей в подготовительных выработках угольных и сланцевых шахт

Статус:справочные материалы, мп, тпр
Название рус.:Отраслевая инструкция по применению рамных и анкерных крепей в подготовительных выработках угольных и сланцевых шахт
Дата добавления в базу:01.01.2021
Дата актуализации:01.01.2021
Область применения:Инструкция обязательна для применения на действующих, строящихся и проектируемых угольных и сланцевых шахтах, в производственных объединениях и комбинатах Минуглепрома СССР, а также может быть использована научно-исследовательскими и проектными организациями и учебными заведениями.
Оглавление:1. Общие положения
2. Крепление подготовительных выработок металлическими рамными крепями
   2.1. Конструкция металлических крепей и условия их применения
   2.2. Возведение и ремонт металлических крепей
3. Крепление подготовительных выработок сборными железобетонными рамным крепями
   3.1. Конструкции сборных железобетонных крепей и условия их применения
   3.2. Возведение и ремонт сборных железобетонных крепей
4. Крепление подготовительных выработок рамными смешанными и комбинированными крепями
   4.1. Конструкции крепей и условия их применения
   4.2. Возведение и ремонт крепей
5. Крепление подготовительных выработок деревянными рамными крепями
   5.1. Конструкции деревянных кровей и условия их применения .
   5.2. Возведение и ремонт деревянных крепей
6. Крепление подготовительных выработок анкерными крепями
   6.1. Конструкции анкерных крепей и условия их применения
   6.2. Возведение анкерных крепей и контроль за их работой
7. Крепление призабойной части выработок временными предохранительными кровями
   7.1. Конструкция временных предохранительных крепе й и условия их применения
8. Межрамные ограждения подготовительных выработок
   8.1. Конструкции межрамных ограждений и условия их применения
9. Извлечение, восстановление и повторное использование рамных и анкерных крепей
10. Прием, хранение и учет крепи
Приложение 1. Классификация горных пород по коэффициенту крепости
Приложение 2. Характеристика специальных взаимозаменяемых профилей проката
Приложение 3. Перечень металлических крепей, их новое и старое обозначение
Приложение 4. Техническая характеристика металлических рамных податливых крепей с замками ЗПК
Приложение 5. Техническая характеристика металлических податливых арочных крепей с соединительными замками ЗСД
Приложение 6. Техническая характеристика металлических податливых крепей с кулачковыми замками
Приложение 7. Техническая характеристика крепеустановщика КПМ-8
Приложение 8. Техническая характеристика забутовочных машин
Приложение 9. Техническая характеристика сборных железобетонных крепей
Приложение 10. Техническая характеристика пустотелых железобетонных прямоугольных стоек
Приложение 11. Техническая характеристика металлических шарнирно-подвесных верхняков
Приложение 12. Техническая характеристика металлических накладных верхняков
Приложение 13. Техническая характеристика железобетонной арочной податливой крепи АП
Приложение 14. Техническая характеристика железобетонной арочной податливой крепи КЖК-У
Приложение 15. Химические составы, рекомендуемые для закрепления анкерной крепи в шнурах
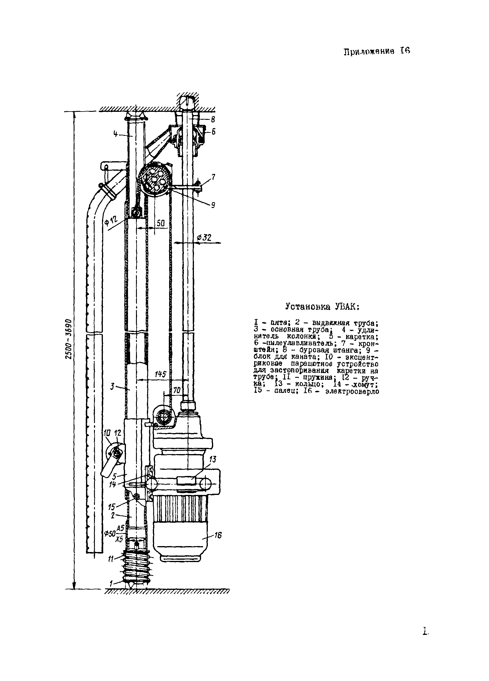
Приложение 16. Установка УВАК
Приложение 17. Станок ПА-1
Приложение 18. Колонка КАУ-2
Приложение 19. Передвижная машина для анкерования МАП-1
Приложение 20. Техническая характеристика железобетонных плоских прямоугольных затяжек
Приложение 21. Техническая характеристика металлических решетчатых затяжек
Приложение 22. Техническая характеристика стальной плетеной одинарной сетки (ГОСТ 5336-80)
Приложение 23. Акт инвентаризации металлокрепи и других материалов находящихся в погашаемой (ремонтируемой) выработке
Приложение 24. Техническая характеристика машины для извлечения металлической крепи МИК-3
Приложение 25. Шахтные лебедки для извлечения металлической крепи из погашаемых выработок
Приложение 26. Техническая характеристика машины для извлечения металлической крепи МИК-3
Приложение 27. Правильно-гибочная машина МПГ для восстановления металлической крепи
Приложение 28. Гидравлический пресс ПК-250 для восстановления металлической крепи
Приложение 29. Виды наиболее часто встречающихся дефектов металлической арочной крепи из спецпрофиля, способы их устранения и условия выбраковки
Приложение 30. Акт выбраковки деформированной крепи и метизов, не поддающихся восстановлению
Приложение 31. Ведомость (книга) учета излеченной и повторно используемой металлической крепи и других материалов из погашаемых выработок
Приложение 32. Акт инвентаризации рамных и анкерных крепей, установленных в проведенных горных выработках
Литература
Разработан: КНИУИ
ПечорНИИпроект
ВНИИГидроуголь
ИГД им. А.А. Скочинского
НИИОГР
КузНИУИ
Утверждён:14.07.1984 Министерство угольной промышленности СССР (USSR Ministry of the Coal Industry )
Нормативные ссылки: