Скачать ГОСТ Р 58380-2019 Крепления для горных и туристических лыж. Подошвы для испытаний креплений. Технические требования и методы испытанийДата актуализации: 01.01.2021
|
| Обозначение: | ГОСТ Р 58380-2019 |
| Обозначение англ: | GOST R 58380-2019 |
| Статус: | введен впервые |
| Название рус.: | Крепления для горных и туристических лыж. Подошвы для испытаний креплений. Технические требования и методы испытаний |
| Название англ.: | Alpine and touring ski-bindings. Test soles for ski-binding tests. Technical requirements and test methods |
| Дата добавления в базу: | 01.01.2021 |
| Дата актуализации: | 01.01.2021 |
| Дата введения: | 01.06.2020 |
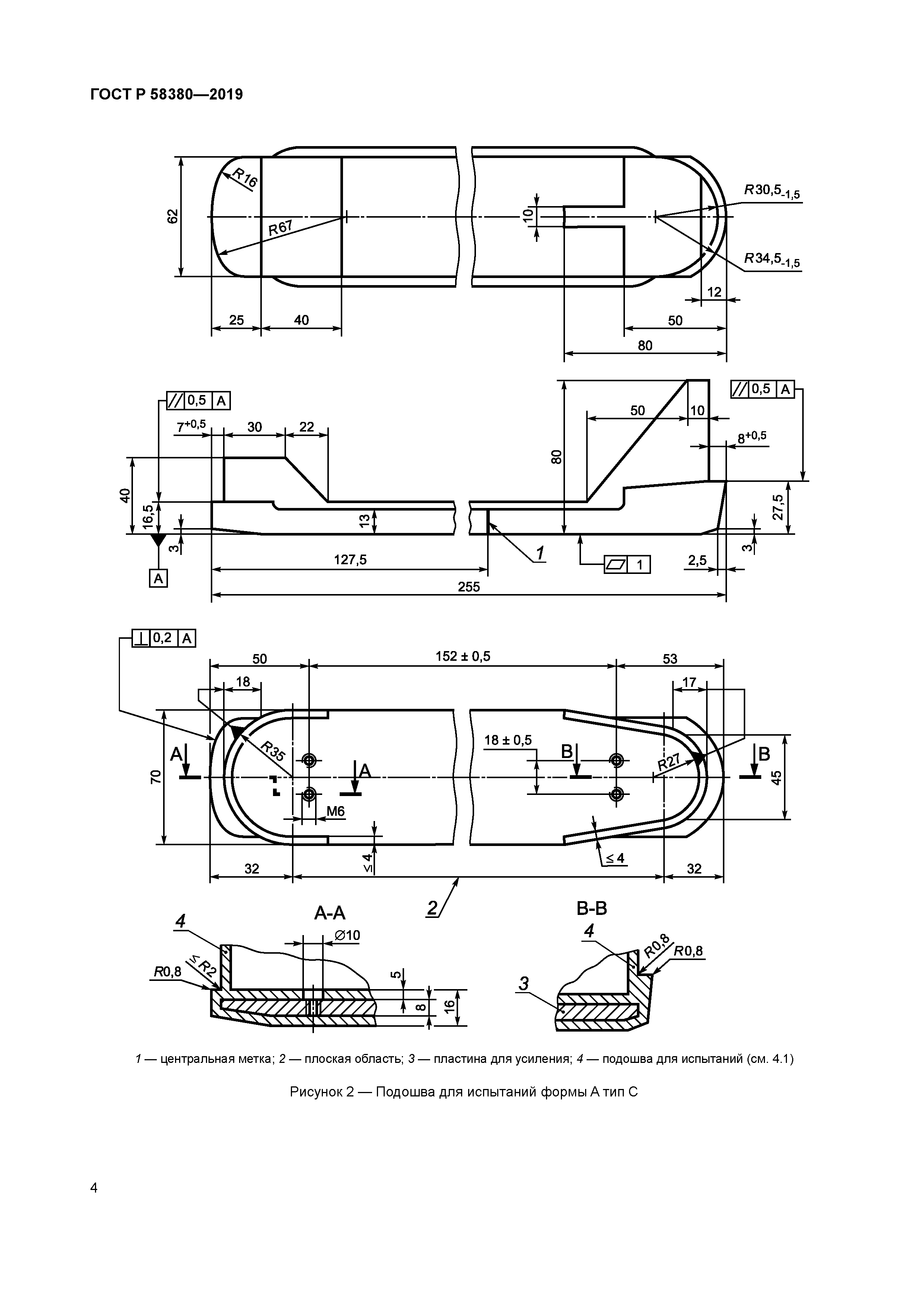
| Область применения: | Стандарт распространяется на подошвы для испытаний креплений горных и туристических лыж и устанавливает технические требования и методы испытаний. |
| Оглавление: | 1 Область применения 2 Нормативные ссылки 3 Термины и определения 4 Технические требования 5 Методы испытаний 6 Указания по эксплуатации |
| Разработан: | ФГУП СТАНДАРТИНФОРМ |
| Утверждён: | 29.11.2019 Федеральное агентство по техническому регулированию и метрологии (1299-ст) |
| Издан: | Стандартинформ (2020 г. ) |
| Нормативные ссылки: |
|











