Скачать Выпуск 2 Руководящие указания по релейной защите. Ступенчатая токовая защита нулевой последовательности от замыканий на землю линий 110 - 220 кВДата актуализации: 01.01.2021
|
| Обозначение: | Выпуск 2 |
| Обозначение англ: | Выпуск 2 |
| Статус: | заменен |
| Название рус.: | Руководящие указания по релейной защите. Ступенчатая токовая защита нулевой последовательности от замыканий на землю линий 110 - 220 кВ |
| Дата добавления в базу: | 01.01.2021 |
| Дата актуализации: | 01.01.2021 |
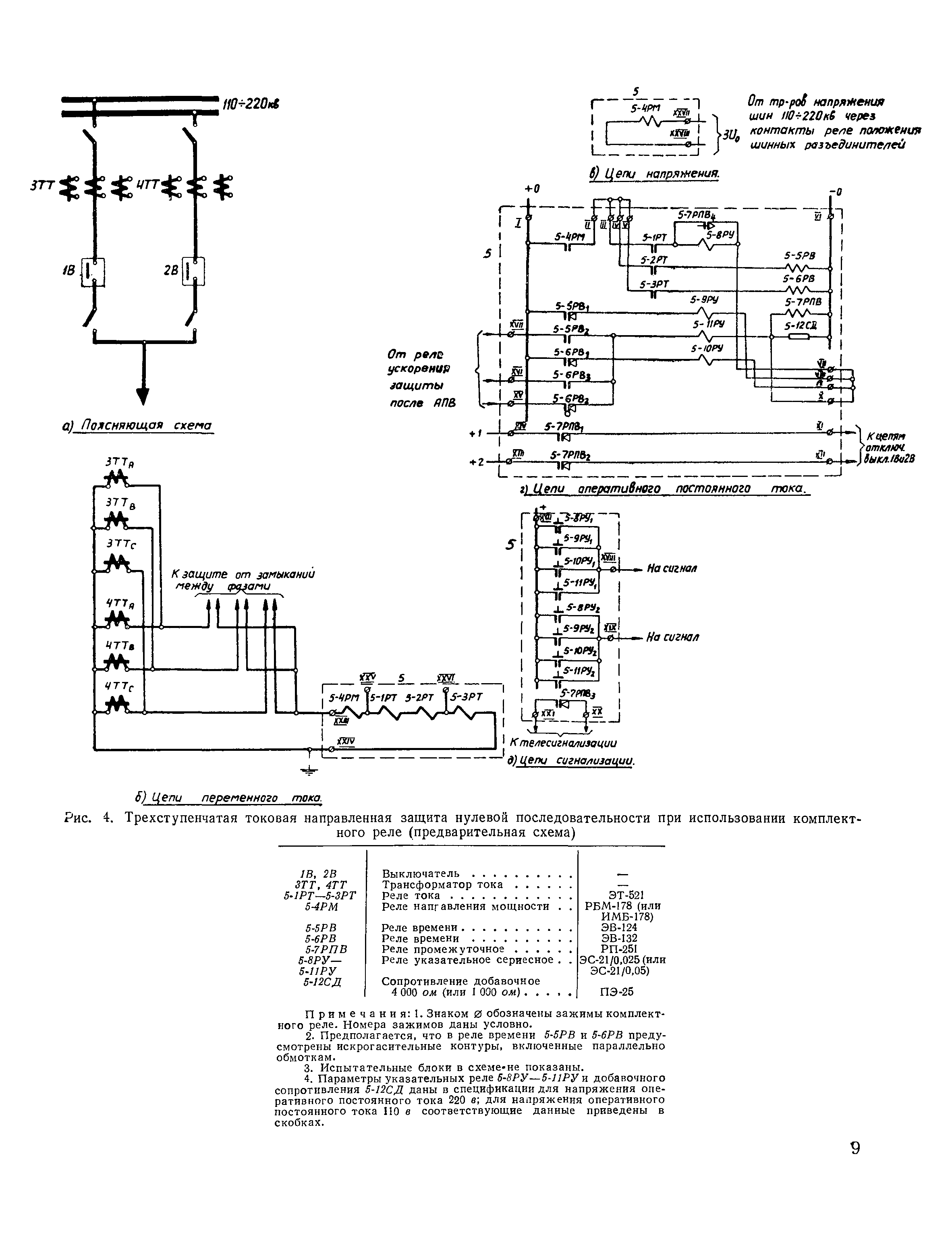
| Область применения: | В выпуске Руководящих указаний рассмотрены токовые направленные и ненаправленные защиты нулевой последовательности со ступенчатой характеристикой выдержки времени, устанавливаемые на линиях 110 — 220 кВ с двусторонним питанием в сетях с большим током замыкания на землю. В работе даны типовые схемы защит нулевой последовательности и указания по расчету этих защит, для иллюстрации способов расчета защит приведен ряд примеров выбора параметров этих защит и оценки их действия для сетей 110 — 220 кВ |
| Оглавление: | Предисловие Глава первая. Схемы защит нулевой последовательности от замыканий на землю линий 110 — 220 кВ Глава вторая. Расчет ступенчатых токовых направленных и ненаправленных защит нулевой последовательности от замыканий на землю линий 110 — 220 кВ Глава третья. Примеры расчета защиты нулевой последовательности от замыканий на землю линий в сетях 110 — 220 кВ Приложение I. Использование трансформаторов тока в цепях трансформаторов и автотрансформаторов для питания поляризующей обмотки реле направления мощности нулевой последовательности Приложение II. Согласование токовых защит нулевой последовательности в кольцевой сети Приложение III. Проверка чувствительности органа направления мощности ступенчатой токовой направленной защиты нулевой последовательности Приложение IV. Составление схем замещения нулевой последовательности параллельных линий с взаимоиндукцией между ними Литература |
| Разработан: | ВНИИЭ Донбассэнерго Мосэнергопроект Проектный институт Теплоэлектропроект Союзглавэнерго Новосибирскэнерго Днепроэнерго |
| Издан: | Госэнергоиздат (1961 г. ) |
































































