Скачать Руководство по съемке и составлению планов подземных коммуникаций и сооруженийДата актуализации: 01.01.2021
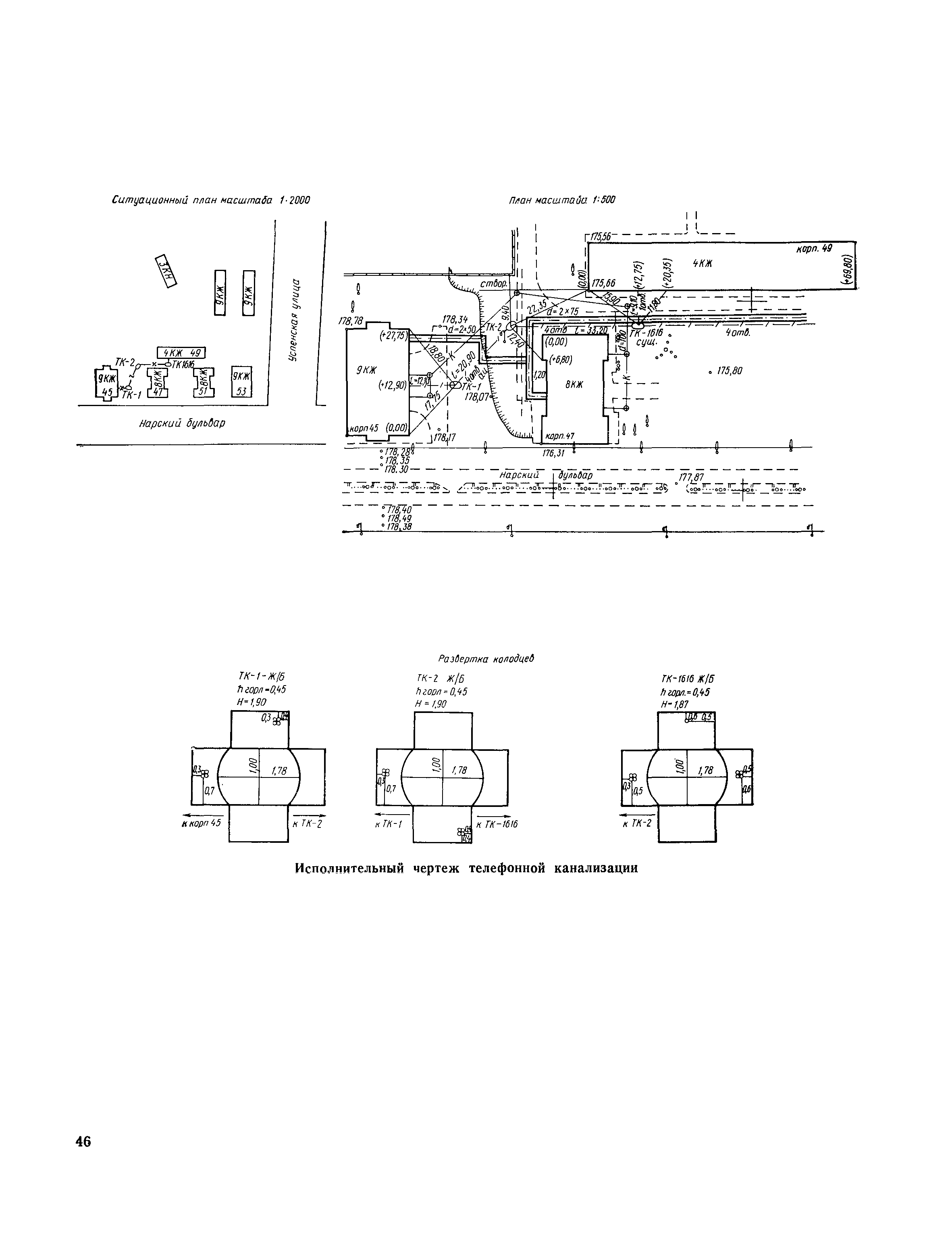
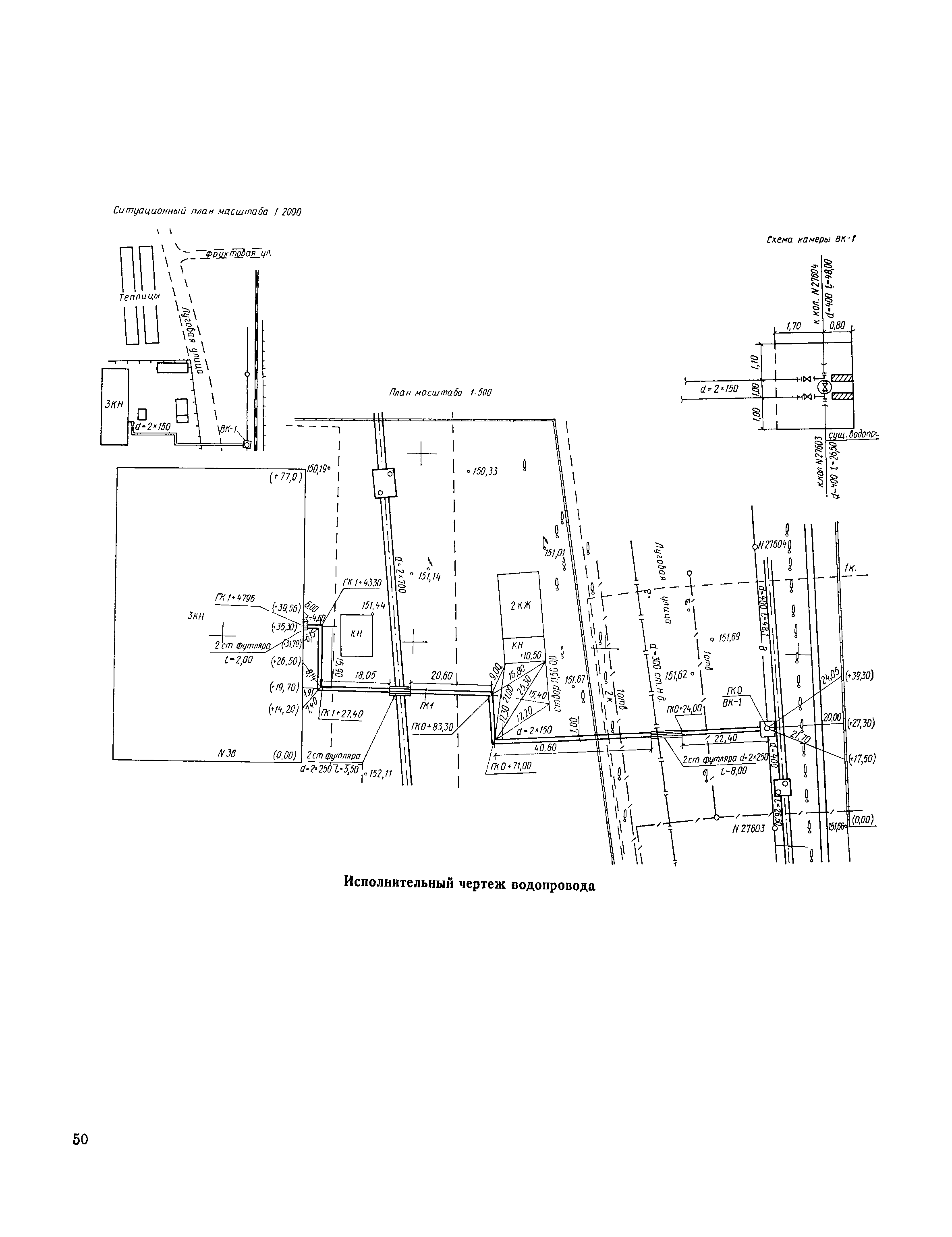
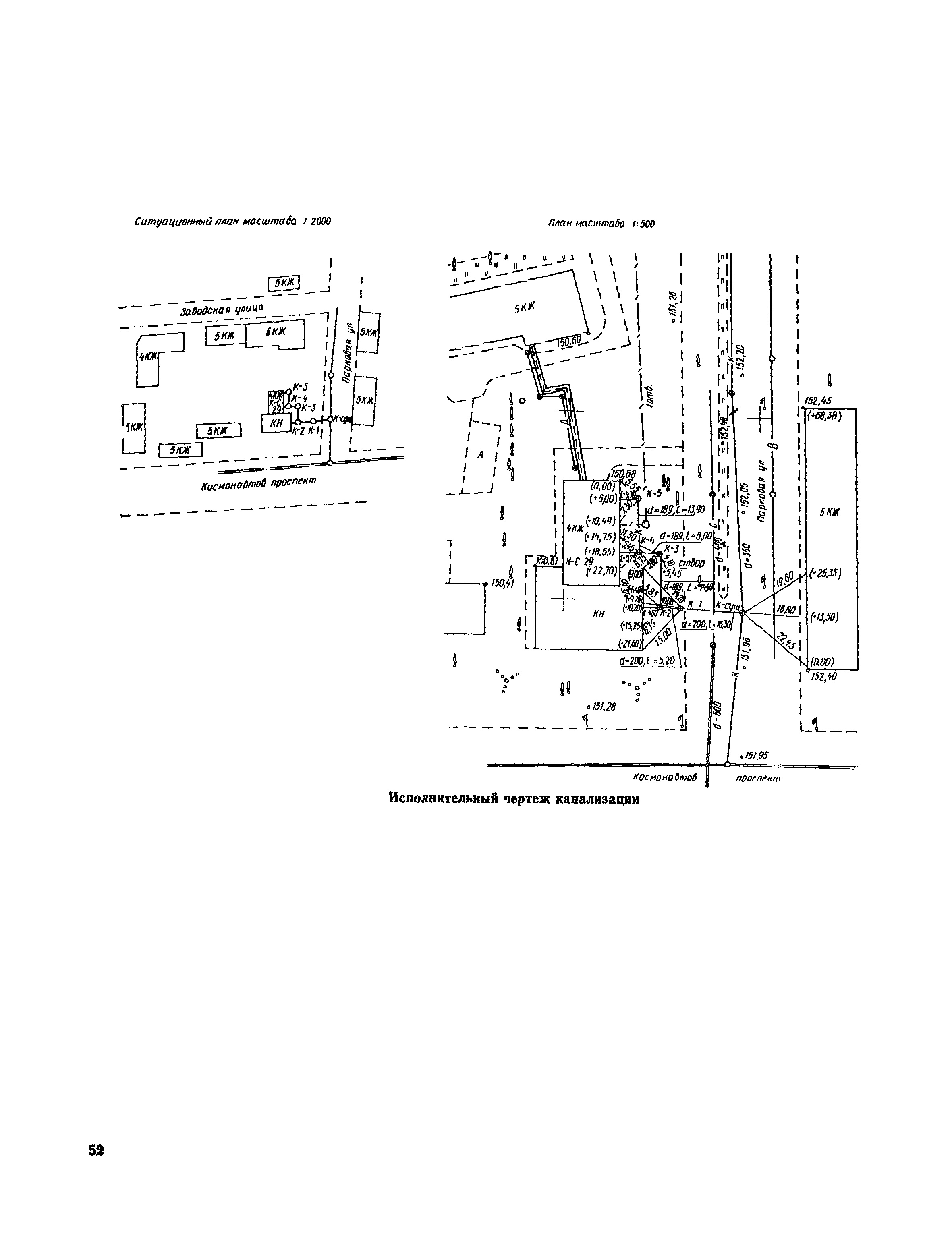
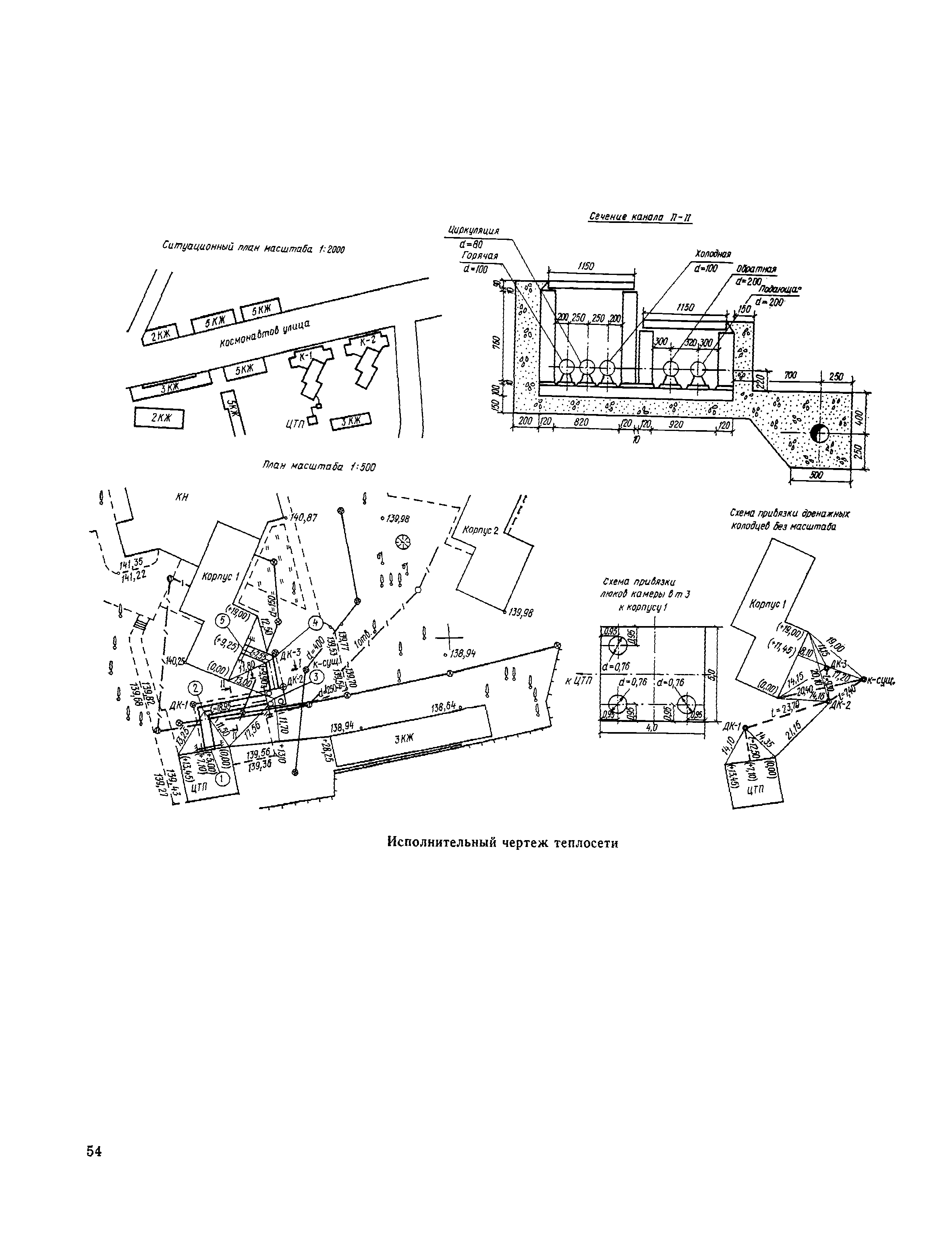
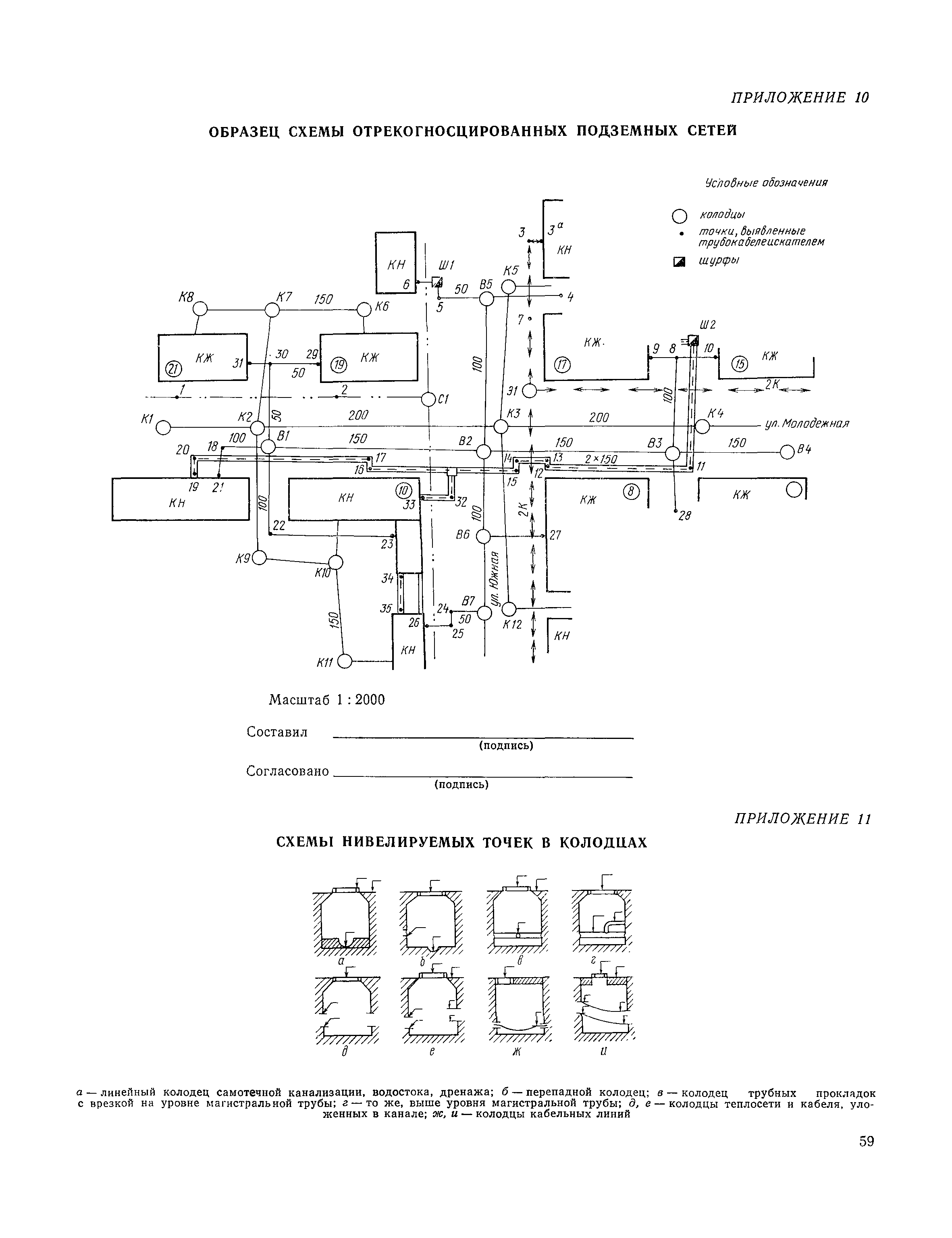
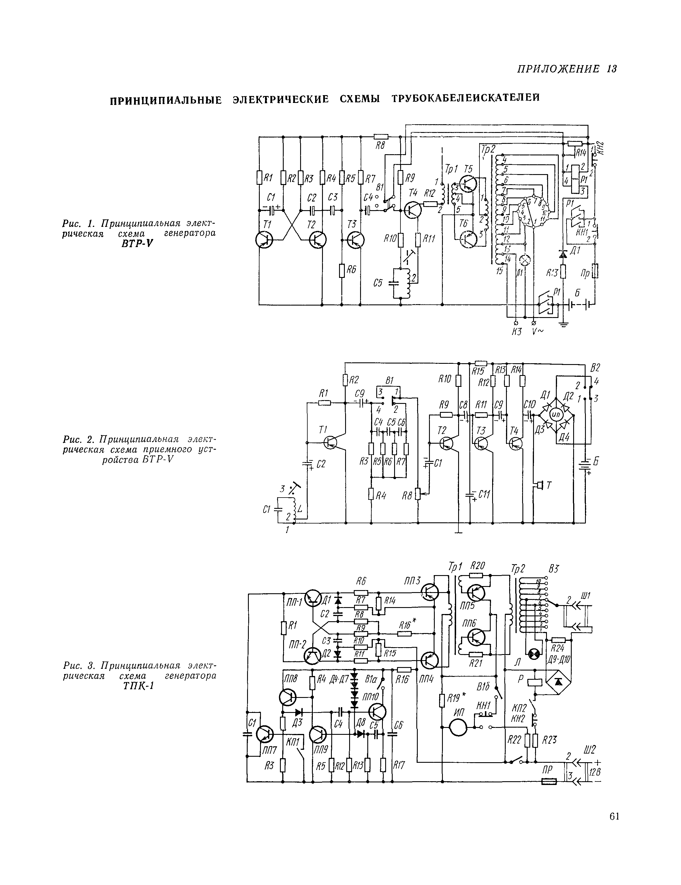
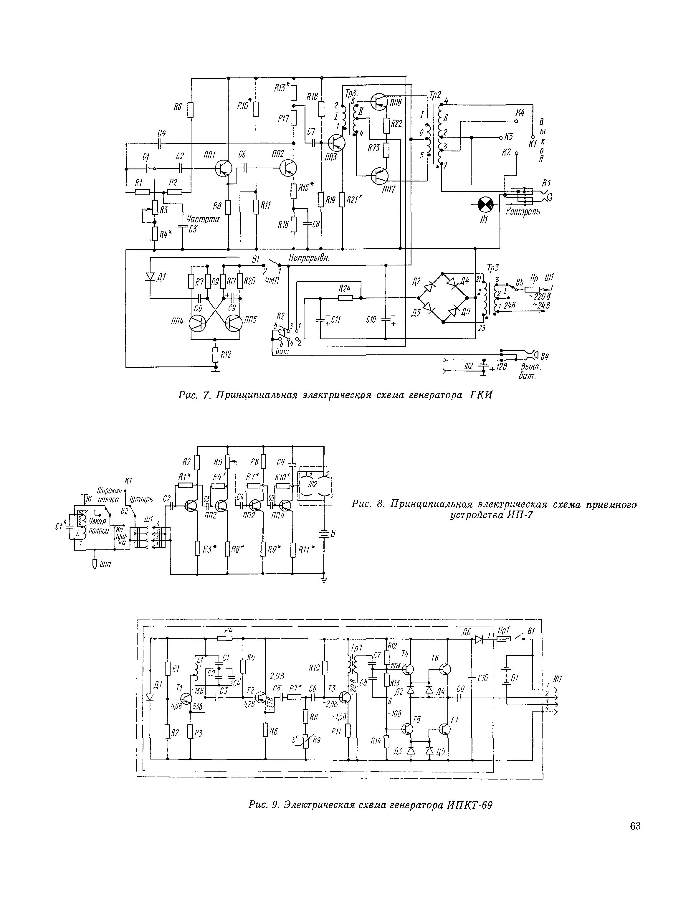
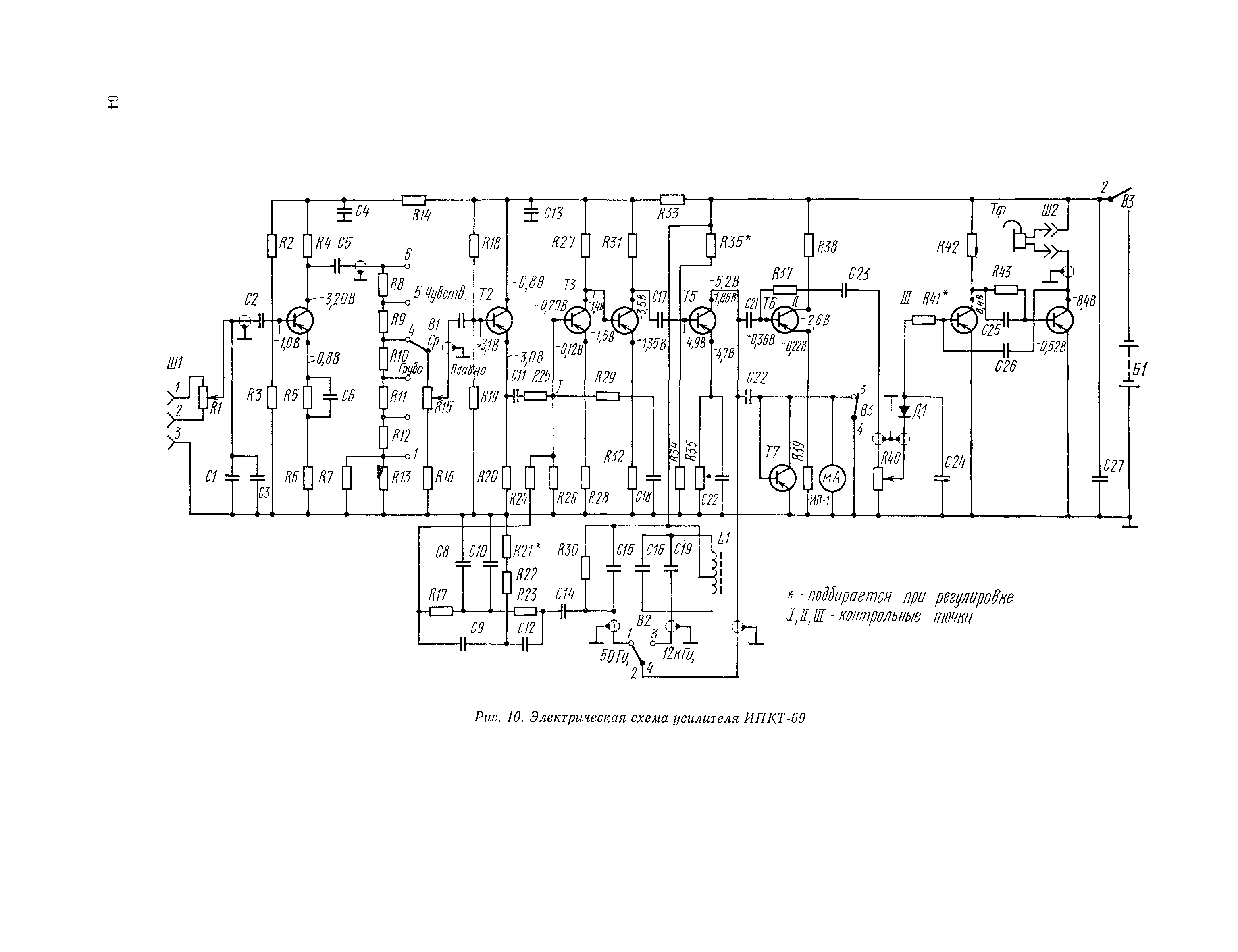
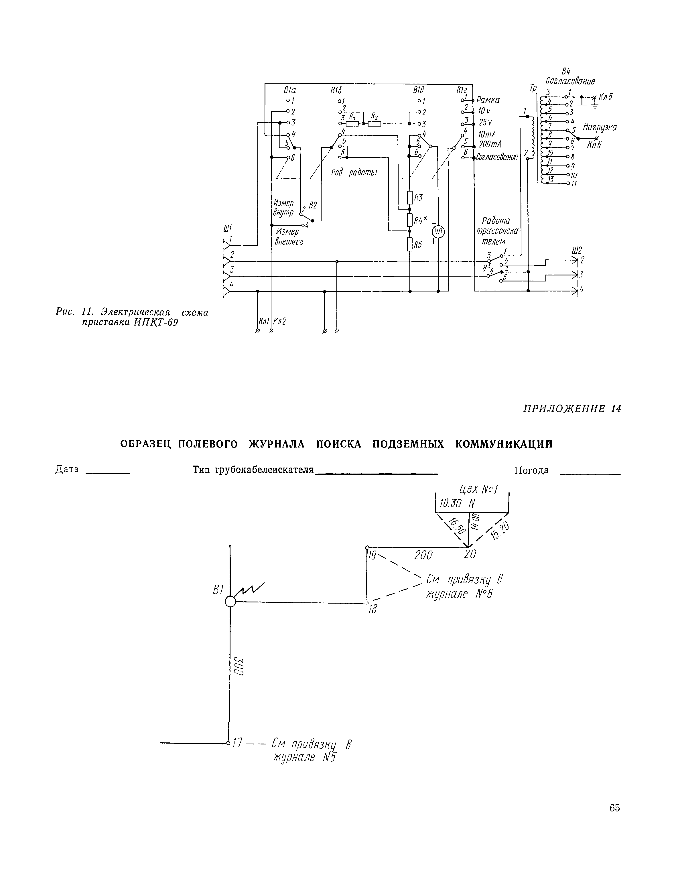
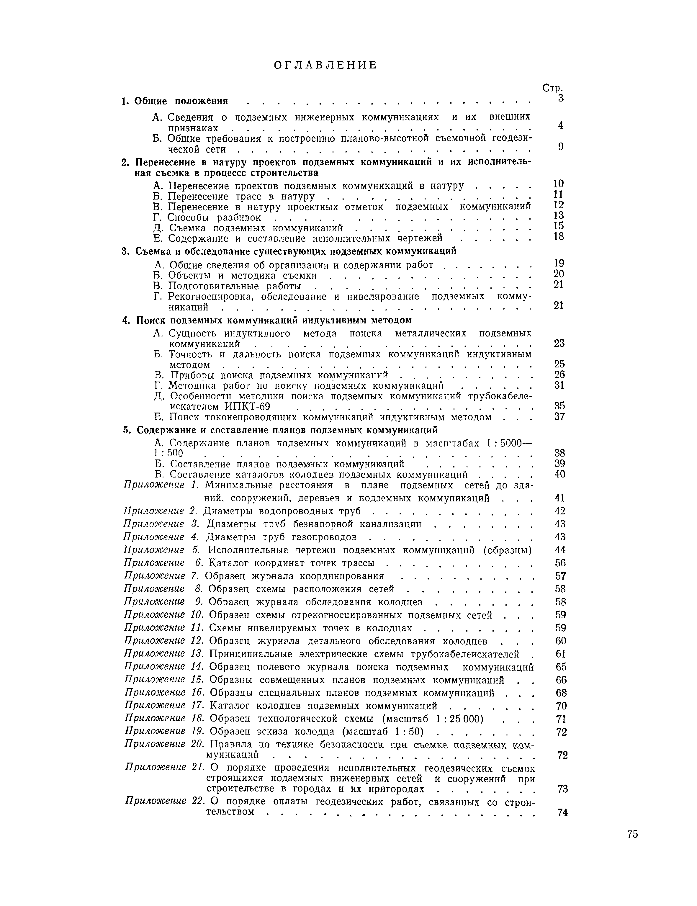
Руководство по съемке и составлению планов подземных коммуникаций и сооружений| Статус: | справочные материалы, мп, тпр | | Название рус.: | Руководство по съемке и составлению планов подземных коммуникаций и сооружений | | Дата добавления в базу: | 01.01.2021 | | Дата актуализации: | 01.01.2021 | | Область применения: | В Руководстве изложены общие понятия о подземных коммуникациях и даны рекомендации по приборам и методам производства работ по съемке и составлению планов. Руководство предназначено для инженеров и техников, выполняющих работы по съемке и составлению планов подземных инженерных коммуникаций, а также может быть использовано в качестве практического пособия в соответствующих вузах и техникумах | | Оглавление: | 1 Общие положения А. Сведения о подземных инженерных коммуникациях и их внешних признаках Б. Общие требования к построению планово-высотной съемочной геодезической сети 2 Перенесение в натуру проектов подземных коммуникаций и их исполнительная съемка в процессе строительства А. Перенесение проектов подземных коммуникаций в натуру Б. Перенесение трасс в натуру В. Перенесение в натуру проектных отметок подземных коммуникации Г. Способы разбивок Д. Съемка подземных коммуникаций Е. Содержание и составление исполнительных чертежей 3 Съемка м обследование существующих подземных коммуникаций А. Общие сведения об организации и содержании работ Б. Объекты и методика съемки В. Подготовительные работы Г. Рекогносцировка, обследование и нивелирование подземных коммуникаций 4 Поиск подземных коммуникаций индуктивным методом А. Сущность индуктивного метода поиска металлических подземных коммуникаций Б. Точность и дальность поиска подземных коммуникаций индуктивным методом В. Приборы поиска подземных коммуникаций Г. Методика работ по поиску подземных коммуникаций Д. Особенности методики поиска подземных коммуникаций трубокабелеискателем ИПКТ-69 Е. Поиск токонепроводящих коммуникаций индуктивным методом 5 Содержание и составление планов подземных коммуникаций А. Содержание планов подземных коммуникаций в масштабах 1: 5000 — 1: 500 Б. Составление планов подземных коммуникаций В. Составление каталогов колодцев подземных коммуникаций Приложение 1. Минимальные расстояния в плане подземных сетей до зданий, сооружений, деревьев и подземных коммуникаций Приложение 2. Диаметры водопроводных труб Приложение 3. Диаметры труб безнапорной канализации Приложение 4. Диаметры труб газопроводов Приложение 5. Исполнительные чертежи подземных коммуникаций (образцы) Приложение 6. Каталог координат точек трассы Приложение 7. Образец журнала координирования Приложение 8. Образец схемы расположения сетей Приложение 9. Образец журнала обследования колодцев Приложение 10. Образец схемы отрекогносцированных подземных сетей Приложение 11. Схемы нивелируемых точек в колодцах Приложение 12. Образец журнала детального обследования колодцев Приложение 13. Принципиальные электрические схемы трубокабелеискателей Приложение 14. Образец полевого журнала поиска подземных коммуникаций Приложение 15. Образцы совмещенных планов подземных коммуникаций Приложение 16. Образцы специальных планов подземных коммуникаций Приложение 17. Каталог колодцев подземных коммуникаций Приложение 18. Образец технологической схемы (масштаб 1: 25 000) Приложение 19. Образец эскиза колодца (масштаб 1: 50) Приложение 20. Правила по технике безопасности при съемке подземных коммуникаций Приложение 21. О порядке проведения исполнительных геодезических съемок строящихся подземных инженерных сетей и сооружений при строительстве в городах и их пригородах Приложение 22. О порядке оплаты геодезических работ, связанных со строительством | | Разработан: | ПНИИИС Мосгоргеотрест
| | Утверждён: | Госстрой СССР
| | Издан: | Стройиздат (1979 г. )
| | Нормативные ссылки: | |
                                                                           
|