Скачать Указания по прогнозированию проявлений горного давления и выбору расчетных параметров крепи капитальных выработок на глубоких горизонтах шахт Донбасса

Дата актуализации: 01.01.2021

Указания по прогнозированию проявлений горного давления и выбору расчетных параметров крепи капитальных выработок на глубоких горизонтах шахт Донбасса

Статус:справочные материалы, мп, тпр
Название рус.:Указания по прогнозированию проявлений горного давления и выбору расчетных параметров крепи капитальных выработок на глубоких горизонтах шахт Донбасса
Дата добавления в базу:01.01.2021
Дата актуализации:01.01.2021
Область применения:Указания предназначены для применения проектными институтами, шахтостроительными организациями и производственными предприятиями при проектировании и сооружении капитальных выработок в условиях полого и наклонного падения (до 30 градусов) на больших глубинах Донбасса
Оглавление:Введение
1. Общие положения
2. Область применения
3. Условия работы и характер деформации крепей, применяемых в капитальных выработках на больших глубинах
4. Выбор наиболее благоприятных условий проходки и поддержания, типов и основных расчетных параметров крепи капитальных выработок
5. Охрана горизонтальных капитальных выработок от вредного влияния очистных работ
Приложение 1.
   1. Примеры проверки устойчивости обнажения породного слоя в протяженной капитальной выработке
   2. Примеры определения допустимого определения допустимого расстояния между параллельными капитальными выработками
   3. Примеры определения допустимого расстояния между капитальными выработками, проходимыми в различных горизонтальных плоскостях в одном и разных направлениях
   4. Примеры построения целиков для охраны капитальных выработок
Приложение 2.
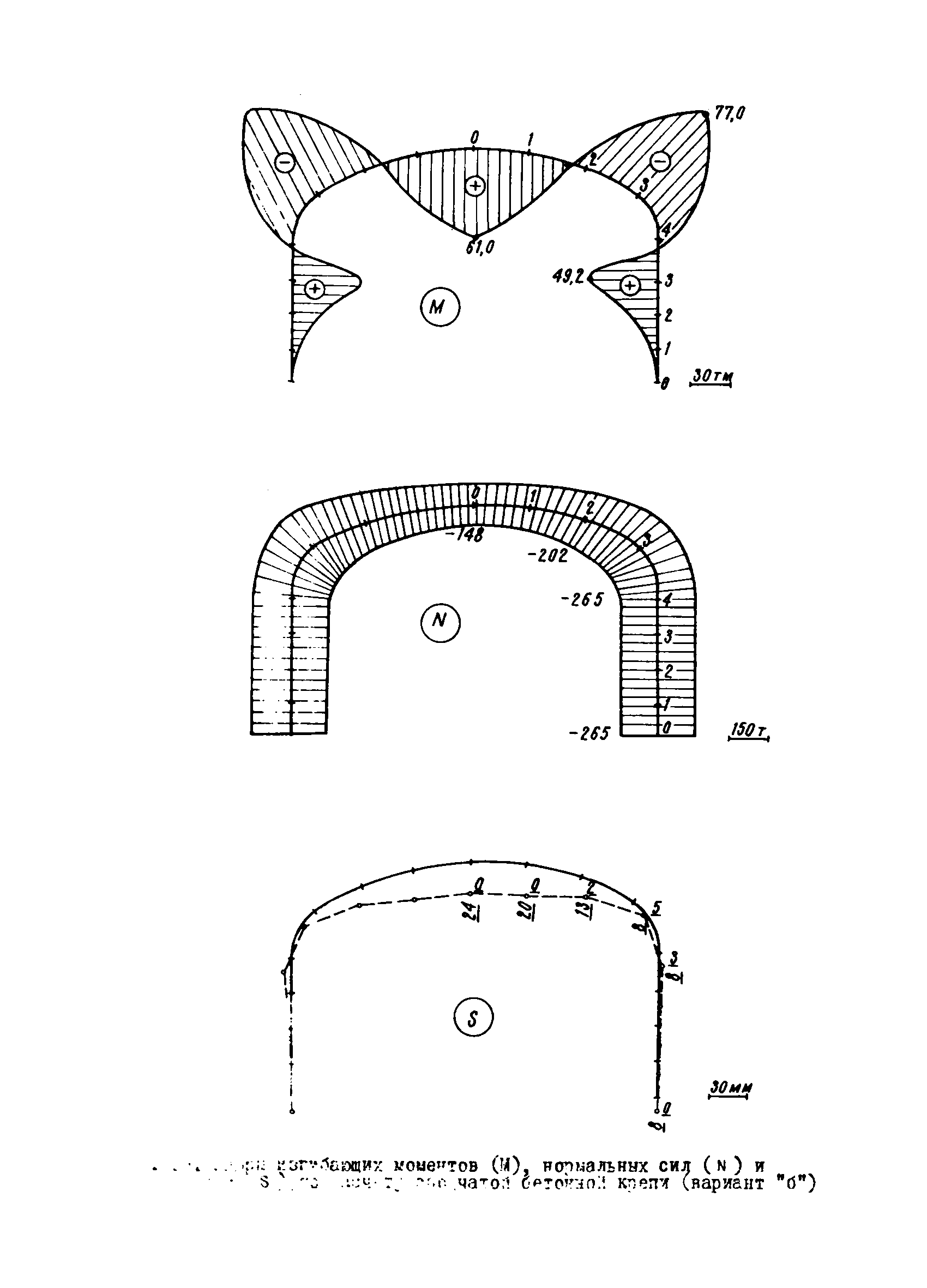
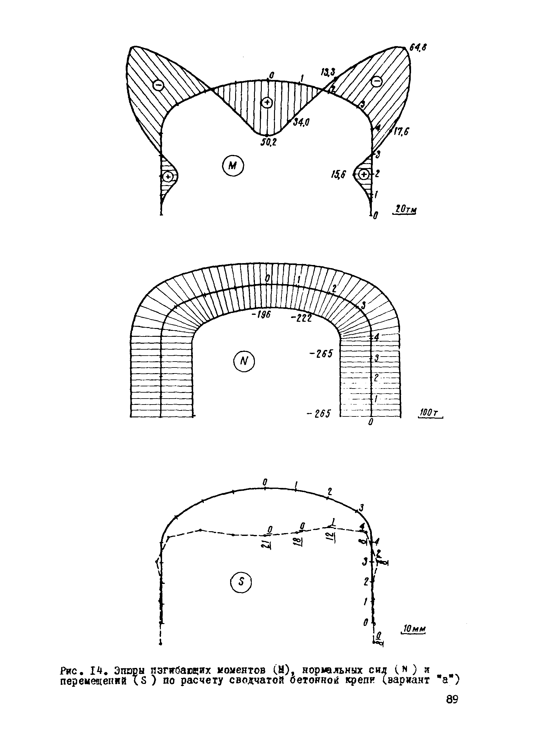
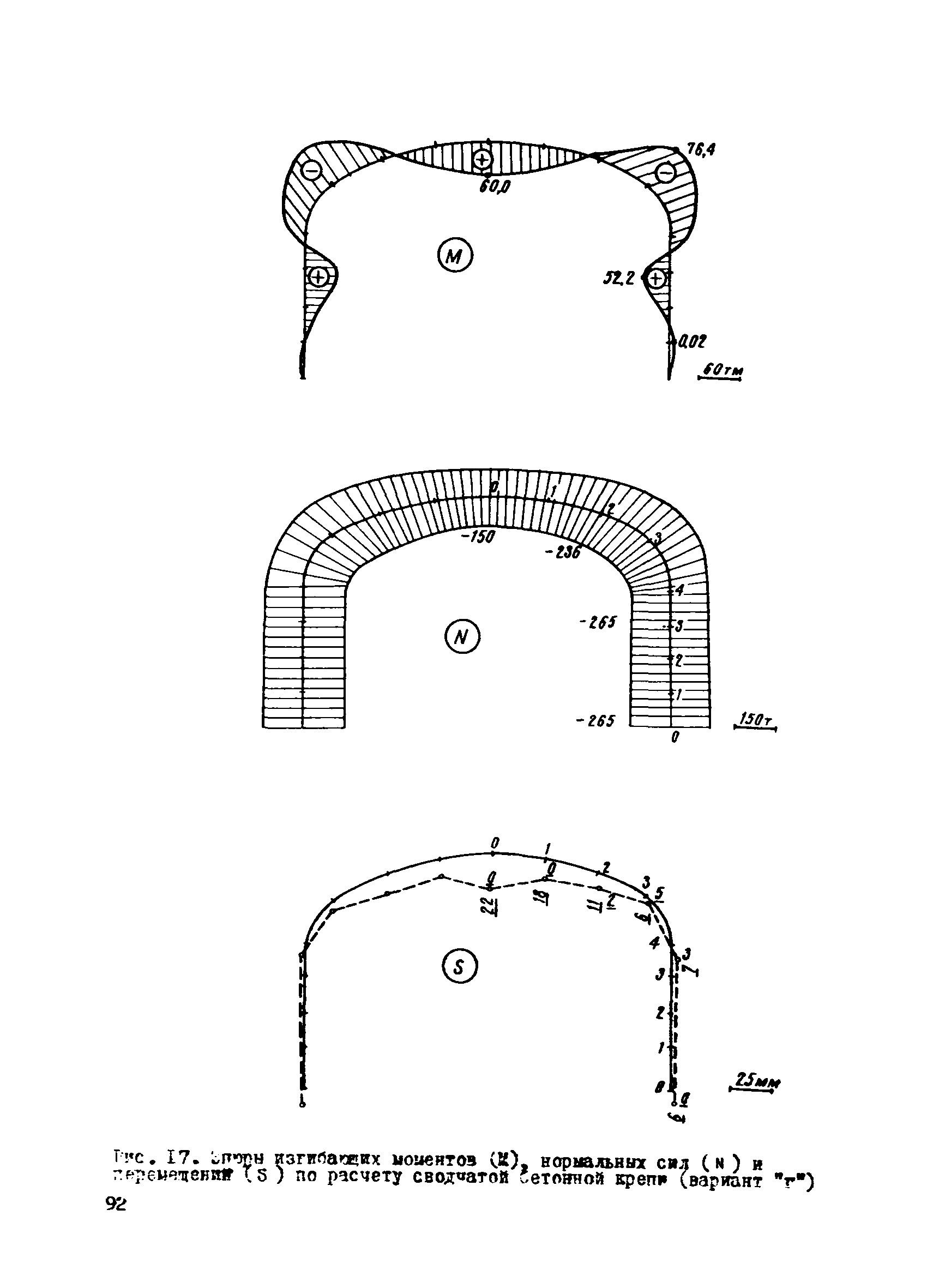
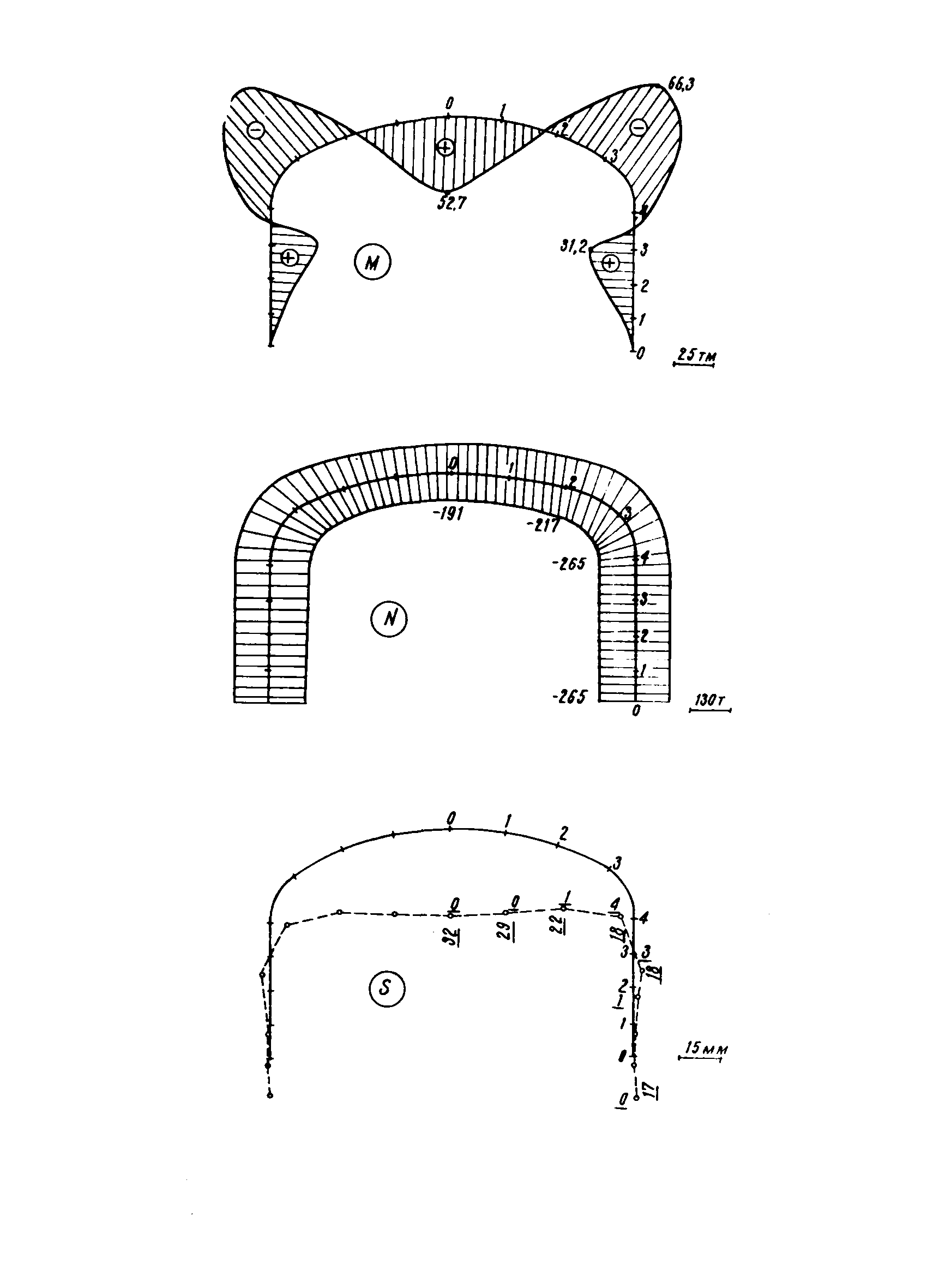
   Методика статического расчета крепи подземных выработок монолитной жесткой конструкции с применением ЭВМ
   Примеры расчета крепи капитальных выработок
Приложение 3.
   Программа для расчета крепи на ЭВМ "Наири"
   Блок-схема программы
Литература
Разработан: ВНИМИ
Утверждён:25.07.1969 Министерство угольной промышленности СССР (USSR Ministry of the Coal Industry )