Скачать Руководство по проектированию и строительству герметических надшахтных зданий и сооружений, находящихся под высоким давлением

Дата актуализации: 01.01.2021

Руководство по проектированию и строительству герметических надшахтных зданий и сооружений, находящихся под высоким давлением

Статус:справочные материалы, мп, тпр
Название рус.:Руководство по проектированию и строительству герметических надшахтных зданий и сооружений, находящихся под высоким давлением
Дата добавления в базу:01.01.2021
Дата актуализации:01.01.2021
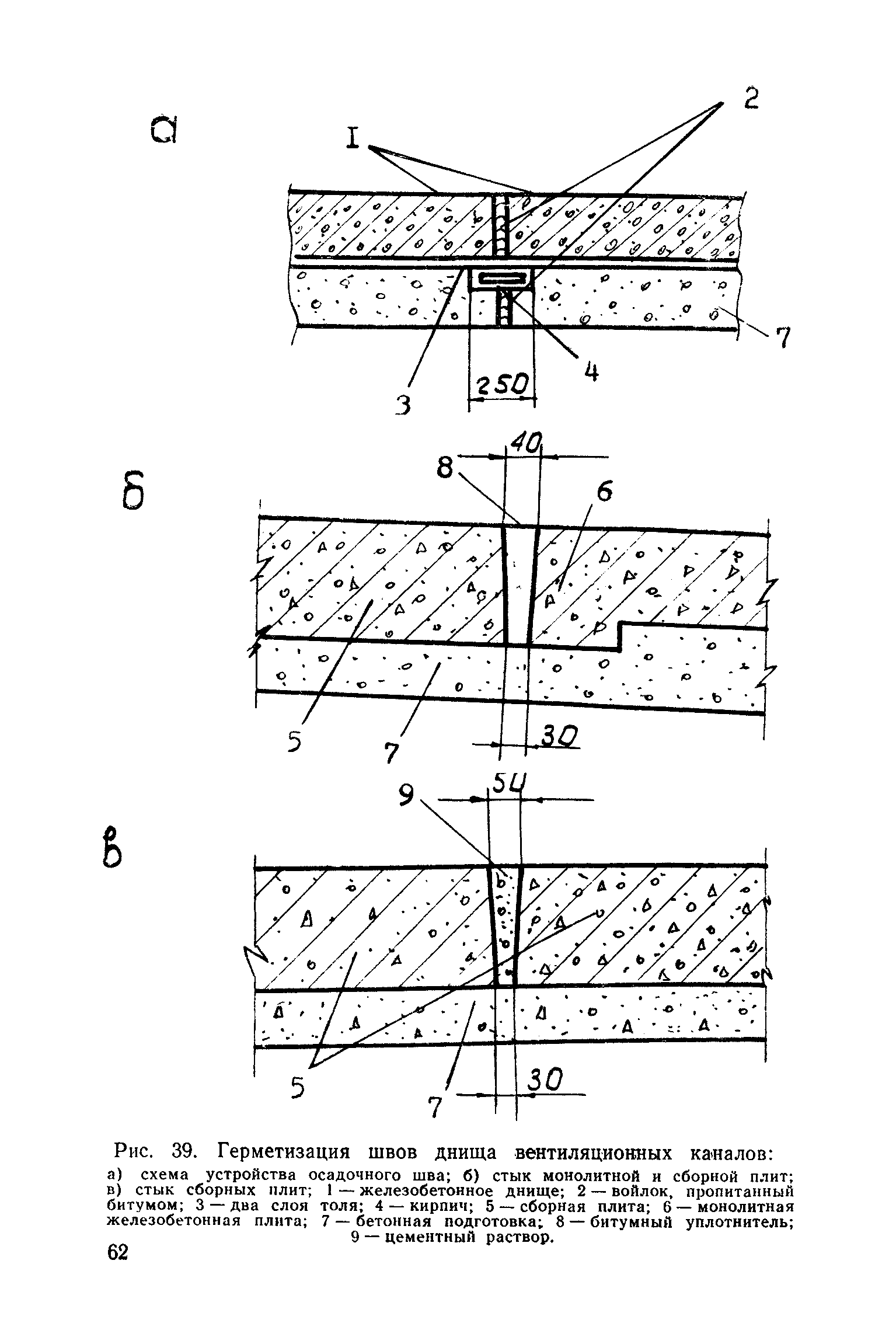
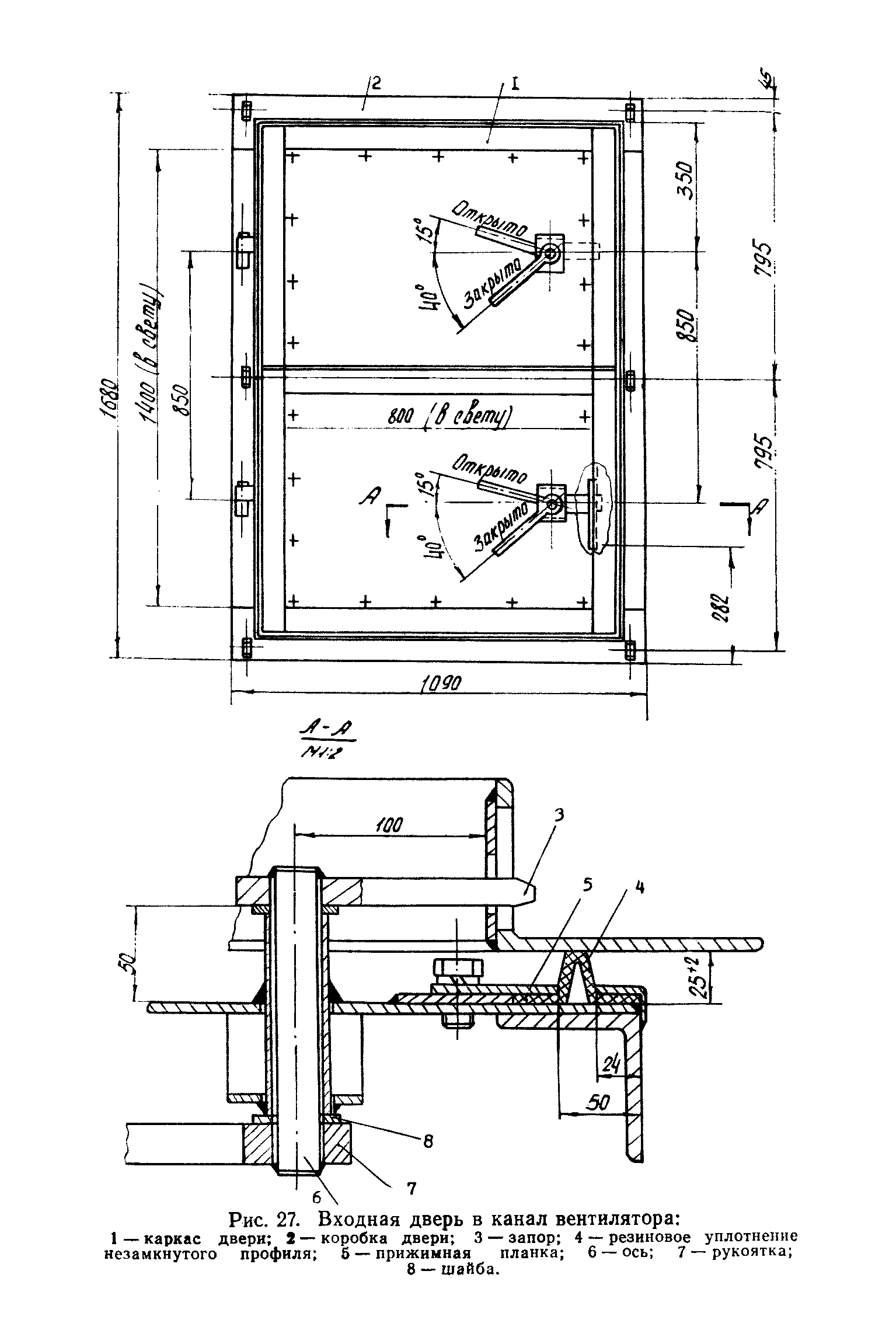
Область применения:Руководство содержит основные требования к герметизации элементов конструкций надшахтных зданий и вентиляционных устройств поверхностных комплексов угольных шахт, находящихся под высоким давлением; в нем описаны средства повышения герметичности основных конструктивных элементов зданий строящихся шахт, а также даны материалы и способы приготовления и нанесения специальных защитных полимерцементных и полимербитумных покрытий на ограждающих герметические поверхности с целью уменьшения их воздухопроницаемости. Руководство предназначено для использования при проектировании и строительстве герметических надшахтных зданий и сооружений угольных и горнорудных шахт, находящихся под высоким давлением
Оглавление:Введение
1. Общие положения
2. Расчет внешних утечек воздуха
3. Конструктивные решения герметических элементов надшахтных зданий и вентиляторных устройств
4. Материалы для герметизации элементов конструкций
5. Способы нанесения герметизирующих и воздухонепроницаемых покрытий
6. Расчет годового экономического эффекта
7. Контроль качества и приемка работ
8. Техника безопасности и противопожарные мероприятия
Приложение 1
Приложение 2
Приложение 3
Приложение 4
Приложение 5
Приложение 6
Приложение 7
Приложение 8
Приложение 9
Приложение 10
Приложение 11
Приложение 12
Приложение 13
Приложение 14
Приложение 15
Разработан: Донецкий Промстройниипроект
Утверждён:02.08.1979 Министерство угольной промышленности СССР (USSR Ministry of the Coal Industry )
Принят: Союзшахтопроект
Союзшахтострой Минуглепрома СССР