Скачать Наставление гидрометеорологическим станциям и постам. Выпуск 8. Гидрометеорологические наблюдения на болотахДата актуализации: 01.01.2021
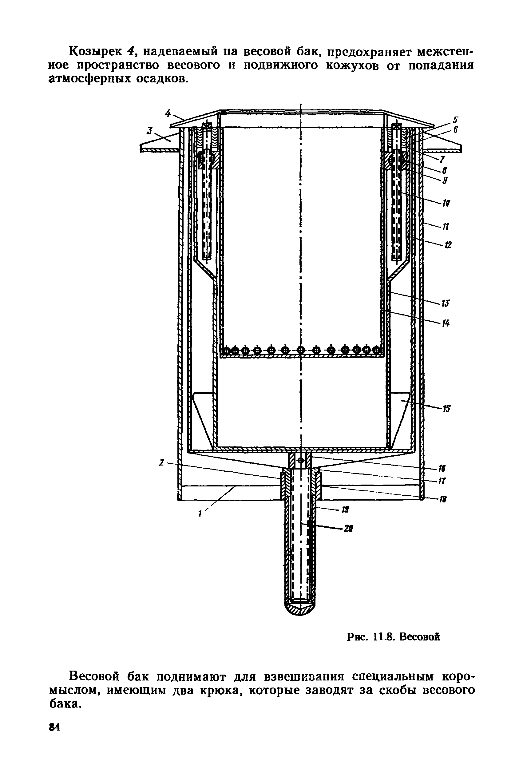
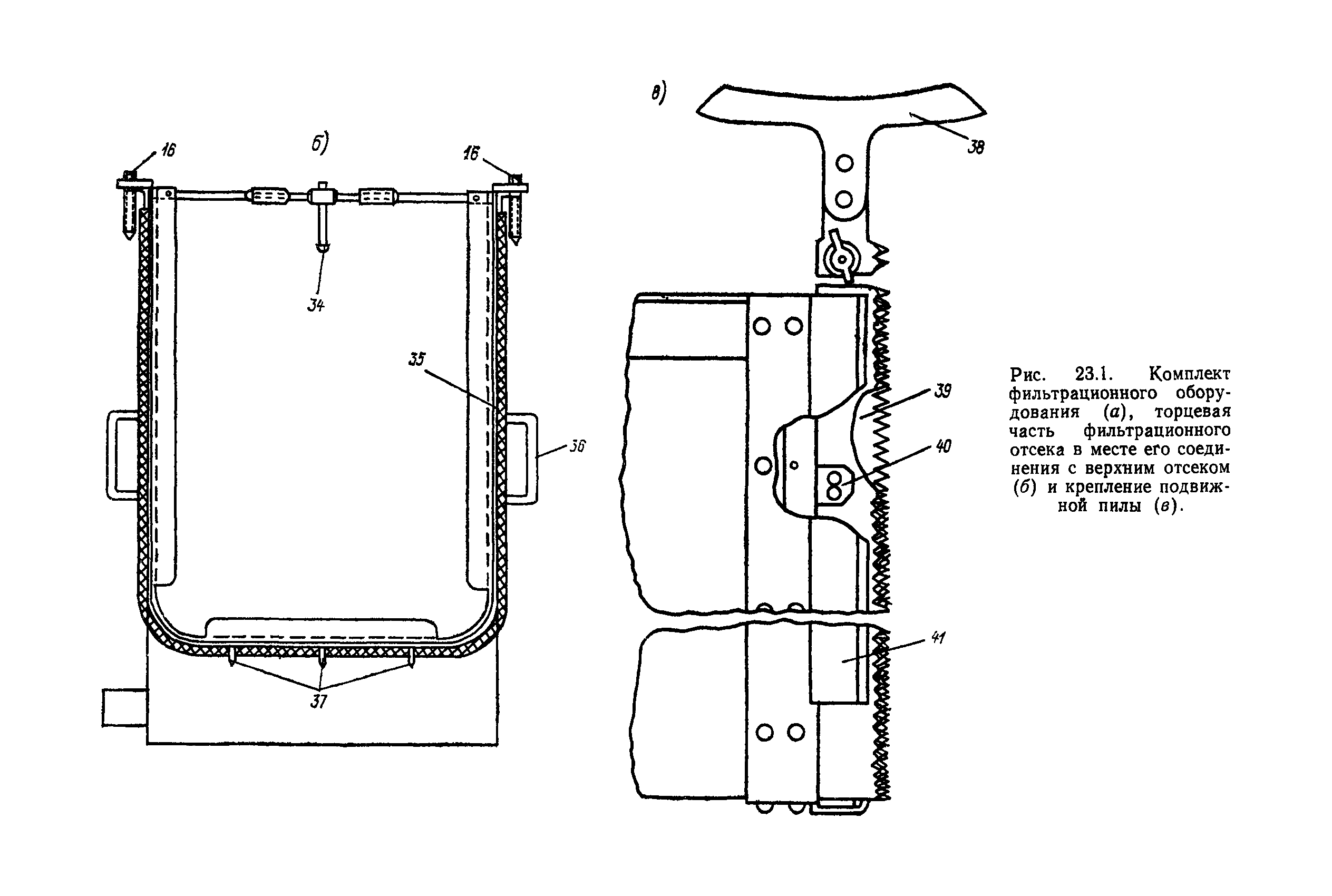
Наставление гидрометеорологическим станциям и постам. Выпуск 8. Гидрометеорологические наблюдения на болотах| Статус: | справочные материалы, мп, тпр | | Название рус.: | Наставление гидрометеорологическим станциям и постам. Выпуск 8. Гидрометеорологические наблюдения на болотах | | Дата добавления в базу: | 01.01.2021 | | Дата актуализации: | 01.01.2021 | | Область применения: | Документ устанавливает основные принципы производства и обработки всех видов гидрометеорологических наблюдений и связанных с ними работ, выполняющихся станциями, постами и учреждениями Госкомгидромета СССР, а также организациями других ведомств. В Наставлении изложены основные положения и методы организации, производства и обработки гидрометеорологических наблюдений и исследований на естественных, осушенных и освоенных болотах и болотах зоны многолетней мерзлоты | | Оглавление: | Предисловие Часть первая. Организация наблюдений и исследований на болотах Глава 1. Задачи и программа комплексных гидрометеорологических наблюдений и исследований на болотах Глава 2. Выбор болотного массива для производства наблюдений и размещение на нем пунктов наблюдений Глава 3. Обследование болот Глава 4. Техническая документация станций и постов на болотах Часть вторая. Полевые работы и наблюдения Раздел 1. Изучение строения и колебаний поверхности болота Глава 5. Определение расчетной поверхности болота и характеристик структуры горизонта формирования микрорельефа Глава 6. Наблюдения за колебанием поверхности болота Раздел 11. Воднобалансовые наблюдения Глава 7. Воднобалансовые наблюдения на болотах Глава 8. Атмосферные осадки Глава 9. Снежный покров Глава 10. Сток воды болотных водотоков Глава 11. Испарение Глава 12. Уровни болотных вод Глава 13. Уровни грунтовых вод Глава 14. Водообмен торфяной залежи с нижележащими водовмещающими породами Глава 15. Наблюдения за влажностью торфяной залежи Раздел III. Теплобалансовые наблюдения Глава 16. Актинометрические наблюдения и определение составляющих теплового баланса Глава 17. Температура торфяной залежи Глава 18. Промерзание и оттаивание болот Раздел IV. Вспомогательные наблюдения Глава 19. Наблюдения на метеоплощадках за температурой и влажностью воздуха, скоростью ветра, облачностью и атмосферными явлениями Глава 20. Агрометеорологические наблюдения Раздел V. Гидрохимические наблюдения Глава 21. Отбор проб воды и определение ее качества Раздел VI. Гидрофизические работы Глава 22. Определение коэффициентов подъема уровня болотных вод при выпадении осадков Глава 23. Полевые определения коэффициентов фильтрации торфяной залежи Глава 24. Отбор монолитов и образцов для исследования водно-физических свойств торфяных залежей и разделяющего слоя болот Часть третья. Лабораторные исследования водно-физических свойств торфяной залежи Глава 25. Цель и состав лабораторных исследований Глава 26. Определение водоотдачи торфяной залежи методом дренирования колонн торфа Глава 27. Определение капиллярной влагоемкости мохового очеса и торфа Глава 28. Определение плотности сухого торфа и мохового очеса Глава 29. Определение коэффициентов фильтрации торфяной залежи и разделяющего слоя Приложение 1. Программы комплексных исследований гидрометеорологических условий заболоченных территорий для обоснования способов их освоения и проектирования Приложение 2. Классификация болот Приложение 3. Общие дешифровочные признаки болот Приложение 4. Дешифровочные признаки и краткая наземная характеристика гидрографической сети на болотах Приложение 5. Дешифровочные признаки и краткая наземная характеристика различных типов болот и основных болотных микроландшафтов Приложение 6. Условные обозначения для типологического картирования различных типов болот с использованием материалов аэрофотосъемки Приложение 7. Основные правила по технике безопасности при обследовании болот Приложение 8. Журнал технического нивелирования Приложение 9. Журнал бурения торфяной залежи Приложение 10. Классификация и условные обозначения торфов (на вкладке) Приложение 11. Книжка полевого описания болот Приложение 12. Определение уклонов водной поверхности на болотах с сезонным промерзанием торфяной залежи Приложение 13. Техническое дело водомерных скважин Приложение 14. Техническое дело испарительных площадок Приложение 15. Техническое дело установок для наблюдений за подъемом уровня болотных вод от выпадающих осадков Приложение 16. Техническое дело болотной станции Приложение 17. Техническое дело болотного поста Приложение 18. Технический листок комплекта таксационного оборудования Приложение 19. Книжка для записи данных исследования горизонта формирования микрорельефа (ГФМ) методом линейной таксации Приложение 20. Пример статистической обработки ординат профиля горизонта формирования микрорельефа (вспомогательная таблица) Приложение 21. Пример статистической обработки ординат профиля горизонта формирования микрорельефа Приложение 22. Оценка погрешности определения средней арифметической ординаты по профилю ГФМ, снятому на болоте с естественным микрорельефом Приложение 23. Книжка для записи наблюдений за колебанием поверхности болота по полевым установкам Приложение 24. Книжка для записи наблюдений по сети осадкомеров на болотных станциях Приложение 25. Книжка для записи наблюдений по суммарным осадкомерам на болотных станциях Приложение 26. Конструкция подъемного устройства ГР-22 Приложение 27. Книжка для записи наблюдений по весовым болотным испарителям Приложение 28. Расчет испарения с поверхности болота Приложение 29. Книжка для записи наблюдений над уровнем болотных вод КГ-36 Приложение 30. Книжка для записи наблюдений над уровнем в температурой грунтовых вод КГ-83Б Приложение 31. Журнал регистрации образцов, отобранных из разделяющего слоя Приложение 32. Значения слоя водообмена за декаду, месяц и за различные периоды года в пунктах наблюдений Приложение 33. Характеристики водообмена через разделяющий слой на балансовых участках Приложение 34. Определение влажности талой торфяной залежи Приложение 35. Определение влажности торфяной залежи с мерзлым слоем Приложение 36. Построение профилей влажности торфяной залежи Приложение 37. Вычисление запаса общей влаги (мм) в отдельных 5-сантиметровых слоях почвы с учетом строения ГФМ, мм Приложение 38. Форма записи результатов серийных теплобалансовых наблюдений за каждый час Приложение 39. Полупроводниковый прибор для измерения осредненной температуры поверхности почвы ПТПП-2К (термопаук) Приложение 40. Книжка для записи наблюдений за промерзанием и оттаиванием болота Приложение 41. Книжка для записи наблюдений за оттаиванием болот в зоне многолетней мерзлоты Приложение 42. Химический состав вод болотного массива Приложение 43. Книжка для записи наблюдений над подъемом уровня болотных вод от осадков Приложение 44. Журнал фильтрации монолитов в полевом лотке Приложение 45. Расчет послойных коэффициентов фильтрации Приложение 46. Зависимость послойного коэффициента фильтрации Кz от глубины слоя z Приложение 47. Расчет средних поелойных коэффициентов kiср фильтрации для микроландшафта по данным опытов на полевом лотке Приложение 48. Зависимость послойного коэффициента поверхностного стока Кzп от площади залитой поверхности монолита Приложение 49. Определение zзрпм в зависимости от S по интегральной кривой распределения высот микрорельефа Приложение 50. Зависимость коэффициента фильтрации от уровня болотных вод в микроландшафте Приложение 51. Книжка для записи определений коэффициента фильтрации торфяной залежи по методу восстановления уровня Приложение 52. Коэффициенты фильтрации торфяной залежи, полученные методом восстановления уровня воды в скважине Приложение 53. Зависимость среднего коэффициента фильтрации Кср от глубины уровня болотных вод, полученная методом восстановления уровня воды в скважине Приложение 54. Расчет средних послойных коэффициентов фильтрации, полученных методом восстановления уровня воды в скважине Приложение 55. Нижняя часть зависимости Kzср Приложение 56. Средние послойные коэффициенты фильтрации Приложение 57. Паспорт монолита торфа Приложение 58. Журнал регистрации образцов торфа Приложение 59. Площадь комнат, особые требования и оборудование, размещенное в лабораторном помещении Приложение 60. Журнал для записи определений водоотдачи торфяной залежи методом дренирования колонн торфа Приложение 61. Пример расчета средней для микроландшафта кривой связи коэффициентов водоотдачи с глубиной уровня болотных вод Приложение 62. Журнал для записи результатов определения капиллярной влагоемкости торфа Приложение 63. Результаты исследования капиллярной влагоемкости торфяной залежи Приложение 64. Журнал для записи результатов сушки образцов торфяной залежи Приложение 65. Пример расчета средних послойных значений плотности сухого торфа (очеса) в деятельном слое залежи, г/см2 Приложение 66. Лабораторный журнал опытных данных по определению водно-физических свойств торфа Приложение 67. Зависимость критерия t в распределении Стьюдента от числа степеней свободы n-1 и от вероятности Р Приложение 68. Пример расчета доверительной оценки среднего коэффиицента фильтрации в торфяном горизонте при значении доверительной вероятности Р=0,9 по экспериментальным значениям коэффициента, полученным при испытании восьми образцов торфа | | Разработан: | ЦКБ ГМП
| | Утверждён: | 23.12.1988 ЦКМП
| | Издан: | Гидрометеоиздат (1990 г. )
|
                                                                                                                                                                                                                                                                                                                                                         
|