Скачать ОСТ 2 И90-2-87 Ключи рожковые. Технические условия

Дата актуализации: 01.01.2021

ОСТ 2 И90-2-87

Ключи рожковые. Технические условия

Обозначение: ОСТ 2 И90-2-87
Обозначение англ: И90-2-87
Статус:не определен законодательством
Название рус.:Ключи рожковые. Технические условия
Дата добавления в базу:01.01.2021
Дата актуализации:01.01.2021
Дата введения:01.01.1989
Дата окончания срока действия:30.06.2003
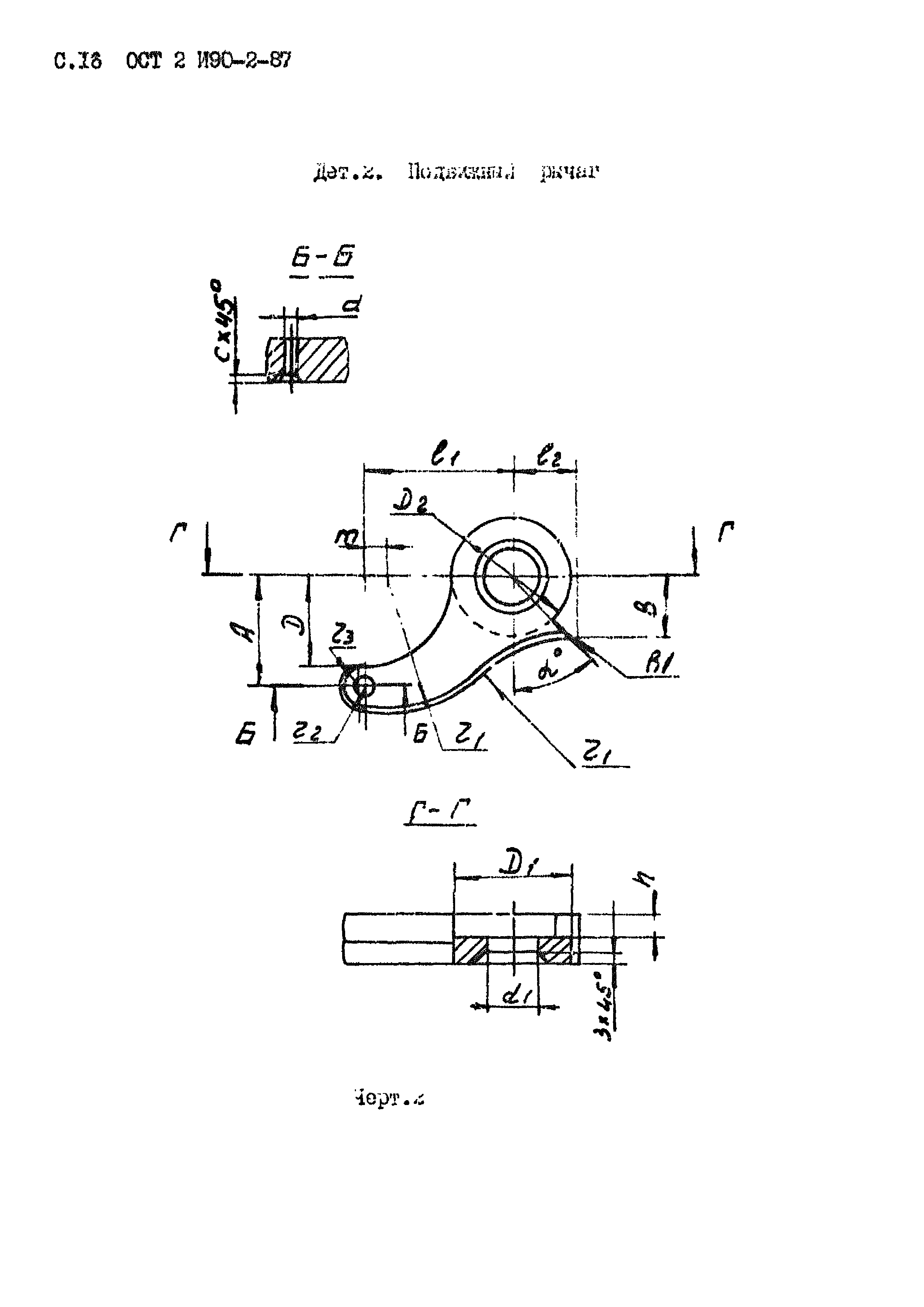
Область применения:Стандарт распространяется на ключи рожковые для круглых гаек с отверстиями на торце "под ключ", изготавливаемые для нужд народного хозяйства и зкспорта.
Оглавление:1 Типы и основные размеры
2 Технические требования
3 Приемка
4 Методы испытаний
5 Транспортирование и хранение
6 Техника безопасности
Приложение 1, рекомендуемое. Основные размеры деталей ключей рожковых типа I
Приложение 2, рекомендуемое. Основные размеры деталей ключей рожковых типа II
 Информационные данные
Разработан: НПО ЭНИМС Минстанкопрома
ВНИИИ
Утверждён:28.09.1987 Министерство станкостроительной и инструментальной промышленности СССР (USSR Ministry of the Machine Tool Manufacturing and the Instrument Industry )
Список изменений:
Нормативные ссылки:
ОСТ 2 И90-2-87ОСТ 2 И90-2-87ОСТ 2 И90-2-87ОСТ 2 И90-2-87ОСТ 2 И90-2-87ОСТ 2 И90-2-87ОСТ 2 И90-2-87ОСТ 2 И90-2-87ОСТ 2 И90-2-87ОСТ 2 И90-2-87ОСТ 2 И90-2-87ОСТ 2 И90-2-87ОСТ 2 И90-2-87ОСТ 2 И90-2-87ОСТ 2 И90-2-87ОСТ 2 И90-2-87ОСТ 2 И90-2-87ОСТ 2 И90-2-87ОСТ 2 И90-2-87ОСТ 2 И90-2-87ОСТ 2 И90-2-87ОСТ 2 И90-2-87ОСТ 2 И90-2-87ОСТ 2 И90-2-87

Текстовое изменение № 1 от 01.01.1991

№ 1№ 1