| Обозначение: |  ГОСТ Р 57327-2016 |
| Статус: | действующий |
| Название рус.: | Двери металлические противопожарные. Общие технические требования и методы испытаний |
| Название англ.: | Metal fire doors. General technical requirements and test methods |
| Дата актуализации текста: | 01.01.2021 |
| Дата актуализации описания: | 01.07.2023 |
| Дата издания: | 05.08.2019 |
| Дата введения: | 01.07.2017 |
| Код ОКП: | 526217 |
| Нормативные ссылки: | ГОСТ 2.601-2013; ГОСТ 2.610-2006; ГОСТ 8.423-81; ГОСТ 166-89; ГОСТ 1050-2013; ГОСТ 5089-2011; ГОСТ 5632-2014; ГОСТ 7502-98; ГОСТ 13837-79; ГОСТ 14192-96; ГОСТ 15150-69; ГОСТ 16523-97; ГОСТ 19904-90; ГОСТ 21150-87; ГОСТ 30247.0-94; ГОСТ 30826-2014; ГОСТ 31173-2003; ГОСТ 31471-2011; ГОСТ Р 52582-2006; ГОСТ Р 53303-2009; ГОСТ Р 53307-2009; ГОСТ Р 56177-2014; ГОСТ 32539-2013;СП 59.13330.2012 |
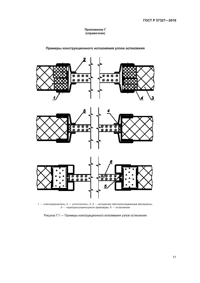
| Область применения: | Настоящий стандарт распространяется на стальные противопожарные однопольные и двупольные распашные двери глухие и со светопропускающими элементами (далее - с остеклением) до 25 % площади дверного проема в свету (далее - двери), устанавливаемые в качестве заполнения проемов в противопожарных преградах |
|