| Обозначение: |  ГОСТ Р 56529-2015 |
| Статус: | действующий |
| Название рус.: | Совместимость космической техники электромагнитная. Общие требования и методы испытаний |
| Название англ.: | Electromagnetic compatibility of space technology. General requirements and test methods |
| Дата актуализации текста: | 01.01.2021 |
| Дата актуализации описания: | 01.07.2023 |
| Дата издания: | 29.04.2016 |
| Дата введения: | 01.01.2016 |
| Нормативные ссылки: | ГОСТ Р 50397-2011; ГОСТ Р 50842-95; ГОСТ Р 51317.4.2-2010; ГОСТ Р 51317.4.4-2007; ГОСТ Р 53734.5.1-2009; ГОСТ Р 53802-2010; ГОСТ 12.1.030-81; ГОСТ 18707-81; ГОСТ 18714-81; ГОСТ 19005-81; ГОСТ 23611-79 |
| Область применения: | Настоящий стандарт устанавливает общие требования и методы испытаний электромагнитной совместимости космической техники (космических комплексов социально-экономического, научного и коммерческого назначения и их составных частей), разрабатываемой предприятиями Российской Федерации, на следующих уровнях: общие требования к космическому комплексу, специальные требования к космическому комплексу и требования к электромагнитным помехам на уровне оборудования. Стандарт не содержит испытательных норм электромагнитных помех. Испытательные нормы должны разрабатываться исходя из электромагнитной обстановки, требований к качеству электроэнергии и эксплуатационных требований. Требования настоящего стандарта являются обязательными при наличии ссылки на него в международных договорах, государственных контрактах и других договорных документах |
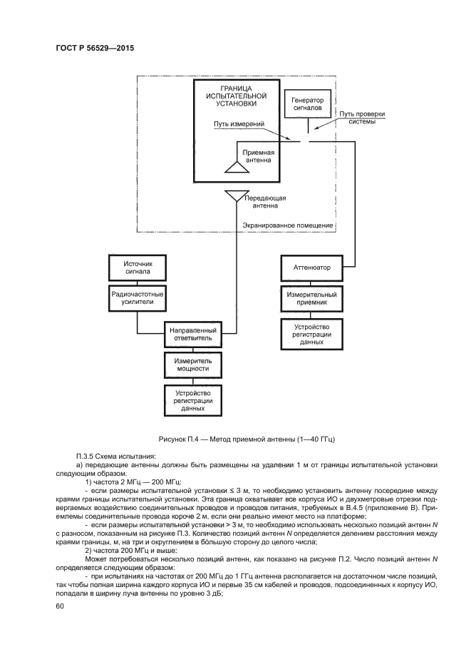
|