Скачать ГОСТ Р 56750-2015 Аппаратура для измерения электрической энергии переменного тока. Частные требования. Счетчики электрической энергии с аналоговыми входами, подключаемые к маломощным датчикам, используемым в качестве трансформаторов напряжения и токаДата актуализации: 01.06.2025 ГОСТ Р 56750-2015
Аппаратура для измерения электрической энергии переменного тока. Частные требования. Счетчики электрической энергии с аналоговыми входами, подключаемые к маломощным датчикам, используемым в качестве трансформаторов напряжения и тока
| Обозначение: |  ГОСТ Р 56750-2015 |
| Статус: | действующий |
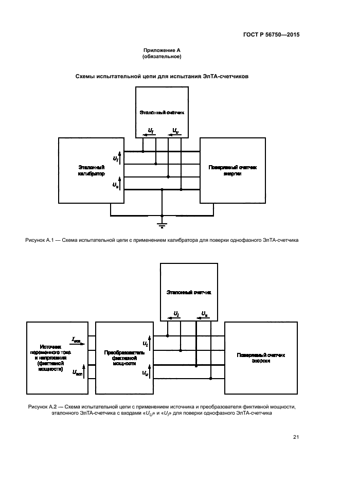
| Название рус.: | Аппаратура для измерения электрической энергии переменного тока. Частные требования. Счетчики электрической энергии с аналоговыми входами, подключаемые к маломощным датчикам, используемым в качестве трансформаторов напряжения и тока | | Дата актуализации текста: | 01.01.2021 | | Дата актуализации описания: | 01.07.2023 | | Дата издания: | 15.07.2019 | | Дата введения: | 01.12.2016 | | Нормативные ссылки: | ГОСТ 8.584; ГОСТ 23624; ГОСТ 23625; ГОСТ 30012.1; ГОСТ 31818.11; ГОСТ 31819.22; ГОСТ 31819.23; ГОСТ Р 52555; ГОСТ Р МЭК 60044-7; ГОСТ Р МЭК 60044-8 | | Область применения: | Настоящий стандарт распространяется на счетчики электрической энергии с аналоговыми входами, подключаемые к электронным трансформаторам напряжения и тока, классов точности 0,2S и 0,5S для измерения активной энергии и классов точности 1 и 2 для измерения реактивной энергии в сетях переменного тока частотой 50 или 60 Гц, и устанавливает требования к производству и испытаниям ЭлТА-счетчиков. Настоящий стандарт устанавливает дополнительные (отсутствующие в ГОСТ 31818.11) технические условия и требования к методам испытания на ЭлТА-счетчики, получающие сигналы измерительной информации от первичных датчиков тока (по ГОСТ Р МЭК 60044-8) и напряжения (по ГОСТ Р МЭК 60044-7), используемым без вторичных конвертеров | |
                              
|