Скачать ГОСТ 379-2015 Кирпич, камни, блоки и плиты перегородочные силикатные. Общие технические условияДата актуализации: 01.01.2026 ГОСТ 379-2015
Кирпич, камни, блоки и плиты перегородочные силикатные. Общие технические условия
| Обозначение: |  ГОСТ 379-2015 |
| Статус: | действующий |
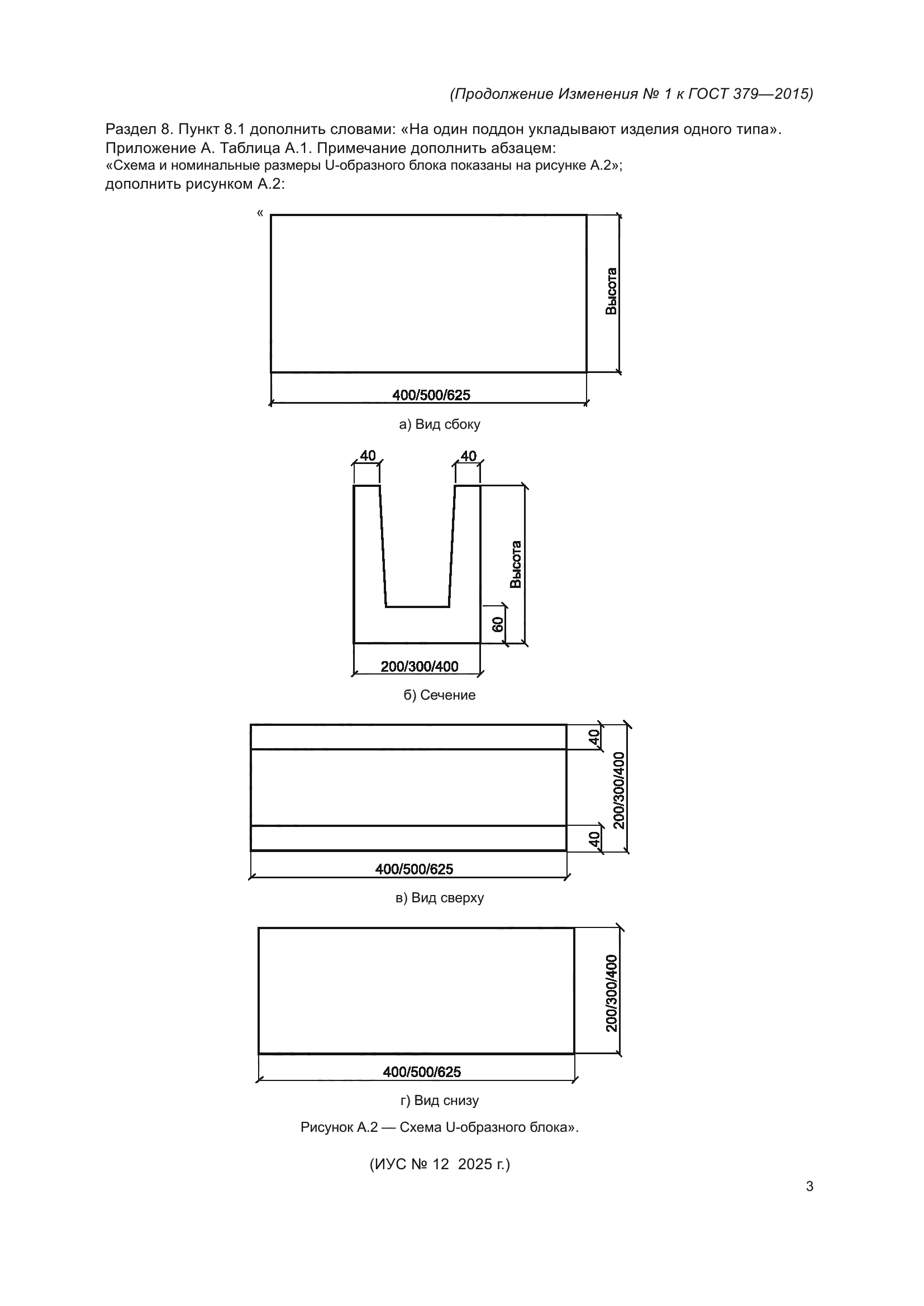
| Название рус.: | Кирпич, камни, блоки и плиты перегородочные силикатные. Общие технические условия | | Название англ.: | Silicate bricks, stones, blocks and partition blocks. General specifications | | Дата актуализации текста: | 01.01.2026 | | Дата актуализации описания: | 01.01.2026 | | Дата регистрации: | 30.01.2015 | | Дата издания: | 28.07.2015 | | Дата введения: | 01.10.2015 | | Дата окончания срока действия: | 01.05.2026 | | Взамен: | ГОСТ 379-95 | | Заменяющий: | ГОСТ 379-2025 | | Нормативные ссылки: | ГОСТ 28574-2014; ГОСТ 162; ГОСТ 166; ГОСТ 427; ГОСТ 530; ГОСТ 3344; ГОСТ 3560; ГОСТ 3749; ГОСТ 7025; ГОСТ 8273; ГОСТ 8462; ГОСТ 8736; ГОСТ 9179; ГОСТ 10354; ГОСТ 14192; ГОСТ 15846; ГОСТ 22690; ГОСТ 23421; ГОСТ 24332; ГОСТ 25592; ГОСТ 25818; ГОСТ 25951; ГОСТ 26644; ГОСТ 27296; ГОСТ 30108; ГОСТ 30244; ГОСТ 32496 | | Область применения: | Настоящий стандарт распространяется на силикатные кирпич, камни, блоки и перегородочные плиты, изготовляемые способом прессования увлажненной смеси из кремнеземистых материалов и извести или других известесодержащих компонентов с применением пигментов, легких заполнителей и без них и последующим твердением в условиях гидротермальной обработки в автоклаве. Силикатные изделия применяют для кладки и облицовки несущих, самонесущих и ненесущих стен и других элементов жилых, общественных и производственных зданий и сооружений | | Приложение №1: | Изменение №1 к ГОСТ 379-2015 | |
                          
Изменение №1 к ГОСТ 379-2015
| Обозначение: | Изменение №1 к ГОСТ 379-2015 |
| Дата введения: | 01.01.2026 |
 
|