| Обозначение: |  ГОСТ 2593-2014 |
| Статус: | действующий |
| Название рус.: | Рукава соединительные железнодорожного подвижного состава. Технические условия |
| Дата актуализации текста: | 01.01.2021 |
| Дата актуализации описания: | 01.07.2023 |
| Дата регистрации: | 05.12.2014 |
| Дата издания: | 27.09.2019 |
| Дата введения: | 01.07.2015 |
| Код ОКП: | 318442 |
| Взамен: | ГОСТ 2593-2009; ГОСТ 31374-2009 |
| Нормативные ссылки: | ГОСТ 2.314; ГОСТ 2.601; ГОСТ 9.030; ГОСТ 9.032; ГОСТ 9.080; ГОСТ 9.301; ГОСТ 15.309; ГОСТ 26.020; ГОСТ 38; ГОСТ 166; ГОСТ 427; ГОСТ 1050; ГОСТ 1215; ГОСТ 1335; ГОСТ 2405; ГОСТ 2477; ГОСТ 5346; ГОСТ 6357; ГОСТ 6707; ГОСТ 6973; ГОСТ 7142; ГОСТ 7143; ГОСТ 7293; ГОСТ 7409; ГОСТ 7462; ГОСТ 8711; ГОСТ 9151; ГОСТ 9270; ГОСТ 14192; ГОСТ 15150; ГОСТ 18321; ГОСТ 23170; ГОСТ 23706; ГОСТ 26828; ГОСТ 28379; ГОСТ 28498 |
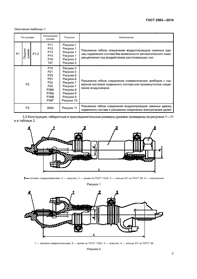
| Область применения: | Настоящий стандарт распространяется на рукава соединительные, предназначенные для применения на железнодорожном подвижном составе и метрополитене. Рукава предназначены для гибкого соединения воздушных магистралей с целью подачи сжатого воздуха давлением до 1,0 МПа, а также для разъемного соединения электрических цепей электропневматического тормоза |
|