| Обозначение: |  ГОСТ Р 56076-2014 |
| Статус: | действующий |
| Название рус.: | Конструкции строительные. Конструкции из панелей с металлическими обшивками. Методы испытаний на огнестойкость и пожарную опасность |
| Дата актуализации текста: | 01.01.2021 |
| Дата актуализации описания: | 01.07.2023 |
| Дата издания: | 01.10.2014 |
| Дата введения: | 01.01.2015 |
| Код ОКП: | 483680 |
| Нормативные ссылки: | ГОСТ 12.1.004-91; ГОСТ 12.1.033-81; ГОСТ 6616-94; ГОСТ 16588-91; ГОСТ 30247.0-94; ГОСТ 30247.1-94; ГОСТ 30403-2012; ГОСТ Р 8.619-2006; ГОСТ Р 12.1.019-2009; ГОСТ Р 53309-2009; ГОСТ Р 54852-2011 |
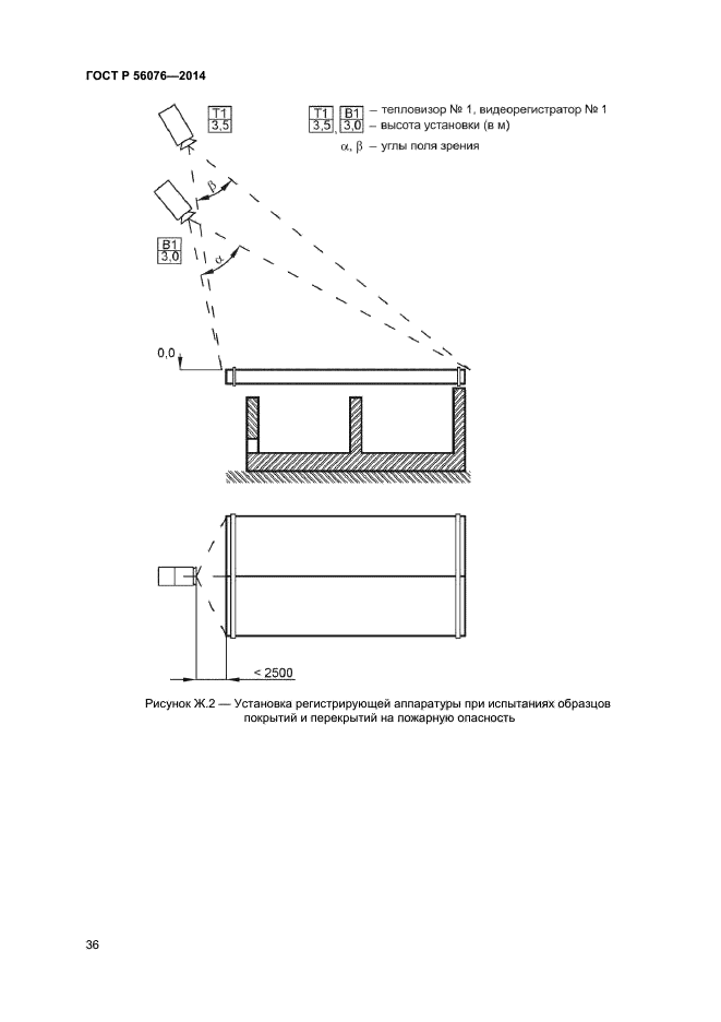
| Область применения: | Настоящий стандарт устанавливает методы испытаний на огнестойкость и пожарную опасность конструкций ненесущих наружных и внутренних стен без проемов, а также покрытий и перекрытий из панелей с металлическими обшивками и теплоизоляционным материалом (далее - конструкции из панелей). Настоящий стандарт применяется совместно с ГОСТ 30247.0, ГОСТ 30247.1, ГОСТ 30403, ГОСТ Р 53309 |
|