Скачать ГОСТ Р 54125-2010 Безопасность машин и оборудования. Принципы обеспечения безопасности при проектированииДата актуализации: 01.06.2025 ГОСТ Р 54125-2010
Безопасность машин и оборудования. Принципы обеспечения безопасности при проектировании
| Обозначение: |  ГОСТ Р 54125-2010 |
| Статус: | действующий |
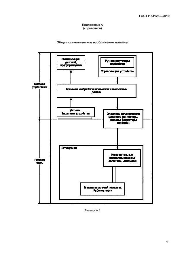
| Название рус.: | Безопасность машин и оборудования. Принципы обеспечения безопасности при проектировании | | Название англ.: | Safety of machinery and equipment. Principles for safety ensuring while designing | | Дата актуализации текста: | 01.01.2021 | | Дата актуализации описания: | 01.07.2023 | | Дата издания: | 17.04.2014 | | Дата введения: | 01.06.2012 | | Содержит требования: | ISO 12100:2010 | | Нормативные ссылки: | ГОСТ Р ЕН 614-1-2003; ГОСТ Р ИСО 9355-1-2009; ГОСТ Р ИСО 10075-2011; ГОСТ Р ИСО 10075-2-2009; ГОСТ Р ИСО 13849-1-2003; ГОСТ Р ИСО 14122-3-2009; ГОСТ Р МЭК 60079-11-2010; ГОСТ Р МЭК 60204-1-2007; ГОСТ Р МЭК 61508-1-2007; ГОСТ Р МЭК 61508-3-2007 | | Область применения: | Настоящий стандарт определяет основные термины и устанавливает методы и принципы оценки и снижения риска, помогающие конструкторам обеспечить безопасность машин. Эти принципы основаны на знаниях и опыте, полученных в результате конструирования, использования машин и оборудования, анализа их неполадок, несчастных случаев и рисков, связанных с эксплуатацией механизмов; они являются основой для оценки и устранения потенциальной опасности или снижения риска ее возникновения на протяжении всего срока эксплуатации машины. Предполагается использовать настоящий стандарт как основу для разработки стандартов типа В или типа С. Положения настоящего стандарта должны учитываться конструкторами. В настоящем стандарте не рассматриваются вопросы, связанные с безопасностью домашних животных, нанесением ущерба имуществу или окружающей среде. Настоящий стандарт дает руководящие принципы, касающиеся информации, необходимой для выполнения оценки риска. Описаны процедуры идентификации факторов опасности и оценки риска. Настоящий стандарт обеспечивает руководящие принципы, касающиеся решений, которые необходимо принять для обеспечения безопасности оборудования, и типа документации, требуемой для проверки выполненной оценки риска и принятых мер по снижению риска | |
                                                       
|