Скачать ГОСТ Р 55430-2013 Соединения трубопроводов разъемные. Оценка технического состояния и методы испытаний. Безопасность эксплуатацииДата актуализации: 01.06.2025 ГОСТ Р 55430-2013
Соединения трубопроводов разъемные. Оценка технического состояния и методы испытаний. Безопасность эксплуатации
| Обозначение: |  ГОСТ Р 55430-2013 |
| Статус: | действующий |
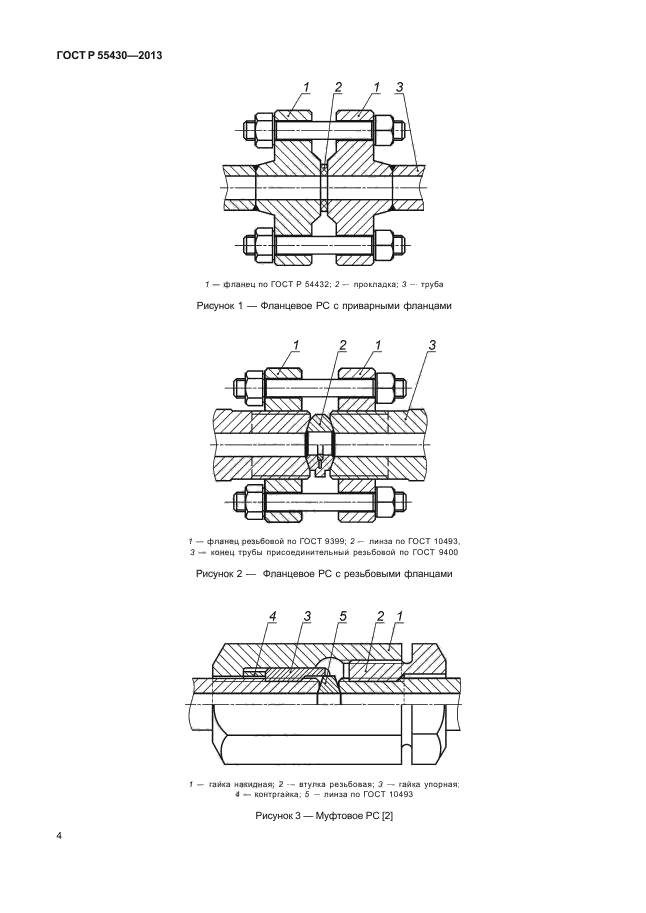
| Название рус.: | Соединения трубопроводов разъемные. Оценка технического состояния и методы испытаний. Безопасность эксплуатации | | Дата актуализации текста: | 01.01.2021 | | Дата актуализации описания: | 01.07.2023 | | Дата издания: | 13.03.2015 | | Дата введения: | 01.12.2013 | | Код ОКП: | 364790 | | Нормативные ссылки: | ГОСТ Р 52720-2007; ГОСТ Р 54432-2011; ГОСТ Р 55429-2013; ГОСТ 12.1.044-89; ГОСТ 166-89; ГОСТ 2789-73; ГОСТ 5378-88; ГОСТ 8724-2002; ГОСТ 9399-81; ГОСТ 9400-81; ГОСТ 10493-81; ГОСТ 10494-80; ГОСТ 10495-80; ГОСТ 11447-80; ГОСТ 14068-79; ГОСТ 16093-2004; ГОСТ 18442-80; ГОСТ 19782-74; ГОСТ 21105-87; ГОСТ 26303-84; ГОСТ 26349-84; ГОСТ 28338-89 | | Область применения: | Настоящий стандарт устанавливает требования, направленные на обеспечение промышленной безопасности, предупреждение аварий, случаев производственного травматизма при эксплуатации разъемных соединений технологических трубопроводов. Настоящий стандарт предназначен для обеспечения единого подхода при конструировании, изготовлении, модернизации, ремонте, техническом диагностировании и эксплуатации разъемных соединений технологических трубопроводов на опасных производственных объектах. Область применения стандарта - разъемные соединения стальных технологических трубопроводов с номинальными диаметрами от DN 3 до DN 4000 включительно, на номинальные давления от PN 1 до PN 2500 включительно, температуру среды от минус 196 °С до 700 °С включительно, предназначенных для транспортирования газообразных, парообразных, жидких сред и эксплуатирующихся на опасных производственных объектах | |
                                                       
|