Скачать ГОСТ Р 54618-2011 Глобальная навигационная спутниковая система. Система экстренного реагирования при авариях. Методы испытаний автомобильной системы вызова экстренных оперативных служб на соответствие требованиям по электромагнитной совместимости, стойкости к климатическим и механическим воздействиямДата актуализации: 01.06.2025
| ||||||||||||||||||||||||||||||||||
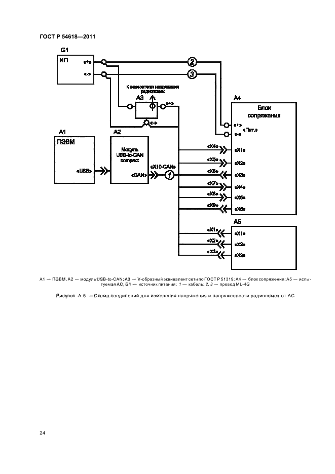
| Обозначение: | ![]() ГОСТ Р 54618-2011 |
| Статус: | отменён |
| Название рус.: | Глобальная навигационная спутниковая система. Система экстренного реагирования при авариях. Методы испытаний автомобильной системы вызова экстренных оперативных служб на соответствие требованиям по электромагнитной совместимости, стойкости к климатическим и механическим воздействиям |
| Название англ.: | Global navigation satellite system. Road accident emergency response system. Compliance test methods of in-vehicle emergency call system for electromagnetic compatibility, environmental and mechanical resistance requirements |
| Дата актуализации текста: | 01.01.2021 |
| Дата актуализации описания: | 01.07.2023 |
| Дата издания: | 17.12.2012 |
| Дата введения: | 01.09.2012 |
| Дата окончания срока действия: | 01.01.2020 |
| На территории РФ пользоваться: | ГОСТ 33466-2015 |
| Нормативные ссылки: | ГОСТ Р 8.568-97; ГОСТ Р 50397-92; ГОСТ Р 50607-93; ГОСТ Р 51319-99; ГОСТ Р 52230-2004; ГОСТ Р 52928-2010; ГОСТ Р 54620-2011; ГОСТ 9.311-87; ГОСТ 12.1.030-81; ГОСТ 12.3.019-80; ГОСТ 14254-96; ГОСТ 16019-2001; ГОСТ 28751-90; ГОСТ 29157-91; ГОСТ 30429-96; ГОСТ Р 55530-2013; ГОСТ Р 55532-2013; ГОСТ 30630.0.0-99;EEC UN №10 |
| Область применения: | Настоящий стандарт распространяется на автомобильные системы/устройства вызова экстренных оперативных служб, функционирующие на основе применения глобальной навигационной спутниковой системы Российской Федерации (ГЛОНАСС) и являющиеся структурными элементами системы экстренного реагирования при авариях «ЭРА-ГЛОНАСС»Настоящий стандарт устанавливает методы испытаний указанных систем/устройств вызова экстренных служб на соответствие требованиям по электромагнитной совместимости, стойкости к климатическим и механическим воздействиям, установленным в ГОСТ Р 54620, для целей оценки (подтверждения) соответствия требованиям технического регламента |
| Список изменений: | №0 от 31.05.2017 (рег. 15.12.2016) «Текстовое изменение; Изменено заглавие» №0 от 31.05.2017 (рег. 31.05.2017) «Восстановлен на территории РФ» №0 от 01.12.2017 (рег. 30.11.2017) «Восстановлен на территории РФ» №0 от 01.01.2019 (рег. 25.12.2018) «Отменен» №1 от 31.08.2014 (рег. 21.04.2014) «» |
| Приложение №1: | Изменение №1 к ГОСТ Р 54618-2011 |






































| Обозначение: | Изменение №1 к ГОСТ Р 54618-2011 |
| Дата введения: | 01.09.2014 |





