Скачать ГОСТ Р 54321-2011 Машины и оборудование для пищевой промышленности. Центрифуги для производства пищевых растительных масел и жиров. Требования по безопасности и гигиенеДата актуализации: 01.06.2025 ГОСТ Р 54321-2011
Машины и оборудование для пищевой промышленности. Центрифуги для производства пищевых растительных масел и жиров. Требования по безопасности и гигиене
| Обозначение: |  ГОСТ Р 54321-2011 |
| Статус: | действующий |
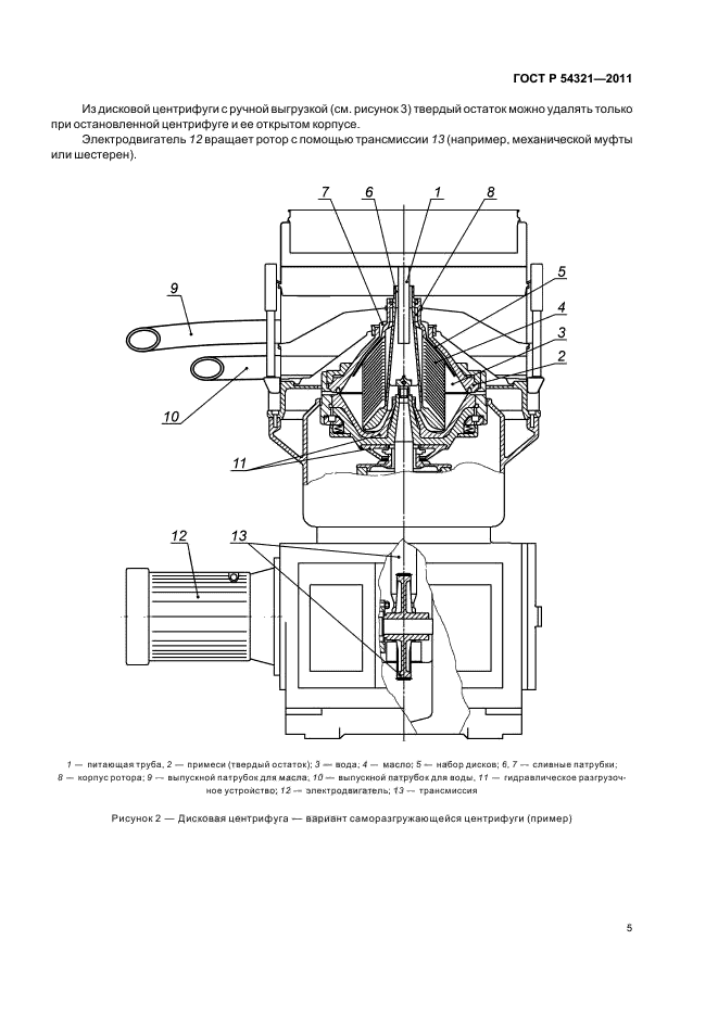
| Название рус.: | Машины и оборудование для пищевой промышленности. Центрифуги для производства пищевых растительных масел и жиров. Требования по безопасности и гигиене | | Название англ.: | Food processing machinery. Centrifugal machines for processing edible oils and fats. Safety and hygiene requirements | | Дата актуализации текста: | 06.04.2015 | | Дата актуализации описания: | 01.07.2023 | | Дата издания: | 14.02.2012 | | Дата введения: | 01.07.2012 | | Код ОКП: | 513151 | | Содержит требования: | EN 12505:2000 | | Нормативные ссылки: | ГОСТ Р ЕН 614-1-2003; ГОСТ Р ИСО 11228-1-2009; ГОСТ Р ИСО 12100-2-2007; ГОСТ Р ИСО 13849-1-2003; ГОСТ Р 51402-99; ГОСТ Р 51838-2001; ГОСТ Р МЭК 60204-1-2007; ГОСТ 2.601-2006; ГОСТ 9.032-74; ГОСТ 9.104-79; ГОСТ 12.1.003-83; ГОСТ 12.1.012-2004; ГОСТ 12.1.019-2009; ГОСТ 12.1.030-81; ГОСТ 12.1.050-86; ГОСТ 12.2.007.0-75; ГОСТ 12.2.124-90; ГОСТ 2789-73; ГОСТ 5632-72; ГОСТ 12969-67; ГОСТ 12971-67; ГОСТ 14254-96; ГОСТ 21130-75; ГОСТ 21786-76; ГОСТ 21829-76; ГОСТ 22613-77; ГОСТ 22614-77; ГОСТ 22615-77; ГОСТ 23941-2002; ГОСТ 24885-91; ГОСТ 26582-85; ГОСТ 30691-2001; ГОСТ 31171-2003; ГОСТ 31172-2003; ГОСТ 31191.1-2004; ГОСТ 31319-2006 | | Область применения: | Стандарт определяет все существенные опасности, выявленные при оценке рисков, которые перечислены в пункте 5 стандарта, в отношении центрифуг для производства пищевых растительных масел и жиров, используемых по назначению и в условиях, оговоренных изготовителем. Стандарт содержит требования по безопасности и гигиене при конструировании, изготовлении, эксплуатации, обслуживании и очистке центрифуг. Стандарт не распространяется на центрифуги, используемые при экстракции растворителями, и на вспомогательное оборудование (например, транспортеры, бункеры и т. д.). Стандарт не распространяется также на «корзиночные» центрифуги, в которых разделяемый материал помещается в специальные контейнеры (кассеты). Стандарт применим совместно с ГОСТ 24885 только к центрифугам, выпущенным после даты его выхода | |
                                      
|