| Обозначение: |  ГОСТ Р 53295-2009 |
| Статус: | действующий |
| Название рус.: | Средства огнезащиты для стальных конструкций. Общие требования. Метод определения огнезащитной эффективности |
| Название англ.: | Fire retardant compositions for steel constructions. General requirement. Method for determining fire retardant efficiency |
| Дата актуализации текста: | 01.01.2021 |
| Дата актуализации описания: | 01.07.2023 |
| Дата издания: | 20.04.2009 |
| Дата введения: | 01.05.2009 |
| Код ОКП: | 572000 |
| Нормативные ссылки: | ГОСТ 6616-94; ГОСТ 8239-89; ГОСТ 26020-83; ГОСТ 30247.0-94; ГОСТ 27772-88; ГОСТ 28246-2006; ГОСТ 30247.1-94; ГОСТ Р 53293-2009 |
| Область применения: | Настоящий стандарт является нормативным документом по пожарной безопасности в области стандартизации и устанавливает общие требования к средствам огнезащиты для стальных конструкций, а также метод определения огнезащитной эффективности этих средств. Настоящий стандарт не распространяется на определение пределов огнестойкости строительных конструкций с огнезащитой. Соблюдение требований настоящего стандарта рекомендуется при разработке нормативно-технической документации на данные средства огнезащиты и при их сертификации |
| Список изменений: | №1 от 01.11.2014 (рег. 08.07.2014) «Текстовое изменение; Изменены ссылочные НД; Изменен код ОКС» |
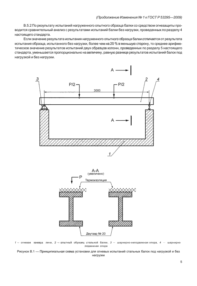
| Приложение №1: | Изменение №1 к ГОСТ Р 53295-2009 |
|