Скачать ГОСТ Р 53254-2009 Техника пожарная. Лестницы пожарные наружные стационарные. Ограждения кровли. Общие технические требования. Методы испытанийДата актуализации: 01.06.2025 ГОСТ Р 53254-2009
Техника пожарная. Лестницы пожарные наружные стационарные. Ограждения кровли. Общие технические требования. Методы испытаний
| Обозначение: |  ГОСТ Р 53254-2009 |
| Статус: | действующий |
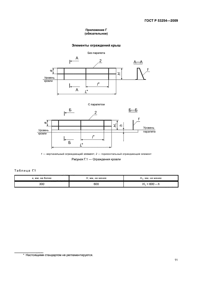
| Название рус.: | Техника пожарная. Лестницы пожарные наружные стационарные. Ограждения кровли. Общие технические требования. Методы испытаний | | Название англ.: | Fire equipment. Ed fire ladders to be installed outside buildings. Buildings roof railings. General technical requirements. Test methods | | Дата актуализации текста: | 01.01.2021 | | Дата актуализации описания: | 01.07.2023 | | Дата издания: | 25.11.2019 | | Дата введения: | 01.05.2009 | | Код ОКП: | 485485 | | Нормативные ссылки: | ГОСТ 9.032; ГОСТ 9.302; ГОСТ 166; ГОСТ 427; ГОСТ 5264; ГОСТ 7502; ГОСТ 23118; ГОСТ 25772 | | Область применения: | Настоящий стандарт распространяется на металлические пожарные маршевые и вертикальные лестницы (в том числе - эвакуационные и на аварийных выходах), площадки и ограждения к ним, устанавливаемые стационарно снаружи жилых, промышленных, общественных зданий и сооружений, которые используются пожарными подразделениями для эвакуации людей, подъема на кровли и чердаки личного состава и пожарно-технического вооружения, а также на ограждения кровли зданий для обеспечения безопасности проводимых работ. Настоящий стандарт устанавливает типы, основные параметры и размеры, общие технические требования, методы испытаний, правила и порядок оценки качества лестниц и ограждений кровли. Требования настоящего стандарта применяются на стадии проектирования, приемки объекта в эксплуатацию и при проведении периодических испытаний наружных пожарных лестниц и ограждений кровли | |
                 
|