| Обозначение: |  ГОСТ 530-80 |
| Статус: | заменён |
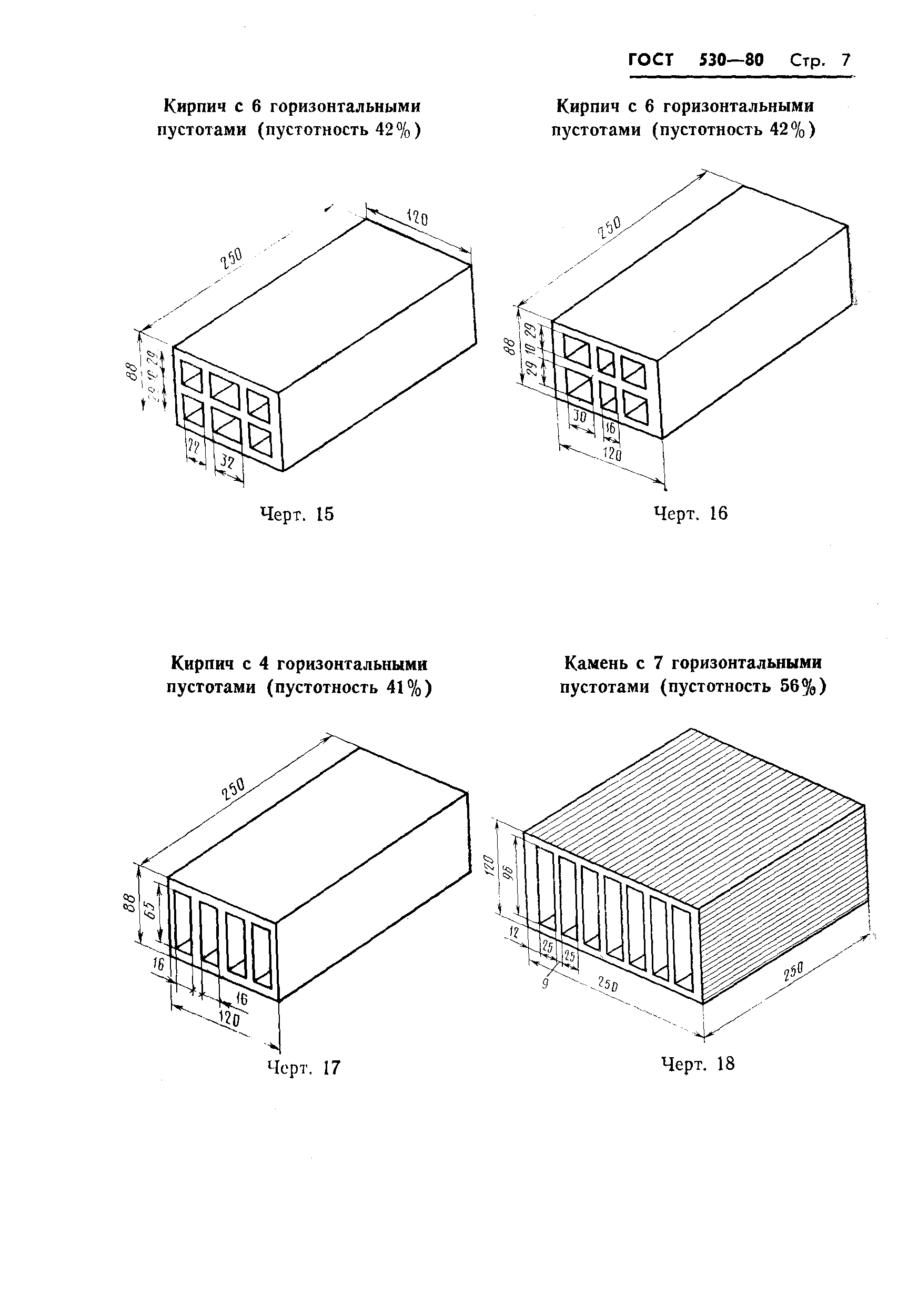
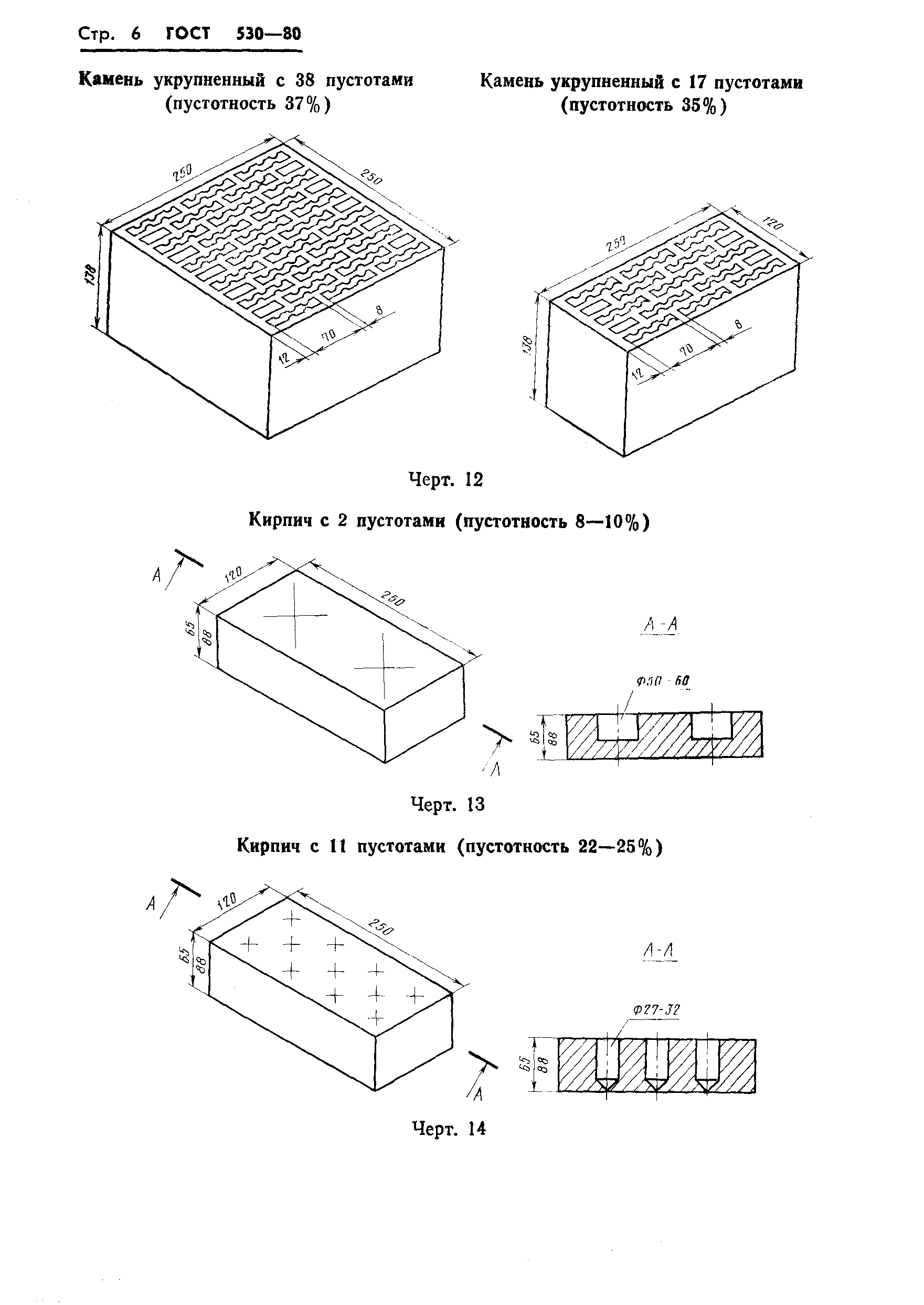
| Название рус.: | Кирпич и камни керамические. Технические условия |
| Название англ.: | Glay ordinary brick |
| Дата актуализации текста: | 06.04.2015 |
| Дата актуализации описания: | 01.07.2023 |
| Дата введения: | 01.01.1982 |
| Дата окончания срока действия: | 01.07.1996 |
| Код ОКП: | 574121 |
| Взамен: | ГОСТ 530-71; ГОСТ 6316-74; ГОСТ 648-73 |
| Заменяющий: | ГОСТ 530-95 |
|