| Обозначение: |  ГОСТ 5089-90 |
| Статус: | заменён |
| Название рус.: | Замки и защелки для деревянных дверей. Типы и основные размеры |
| Название англ.: | Locks and latches for wooden doors. Types and basis dimensions |
| Дата актуализации текста: | 06.04.2015 |
| Дата актуализации описания: | 01.07.2023 |
| Дата издания: | 28.01.1991 |
| Дата введения: | 01.01.1992 |
| Дата окончания срока действия: | 01.01.1998 |
| Код ОКП: | 498100 |
| Взамен: | ГОСТ 5089-80 |
| Заменяющий: | ГОСТ 5089-97 |
| Нормативные ссылки: | ГОСТ 538-80; ГОСТ 1145-80; ГОСТ 1146-80; ГОСТ 6629-88; ГОСТ 17474-80; ГОСТ 17475-80; ГОСТ 19091-82; ГОСТ 23306-87; ГОСТ 24698-81; ГОСТ 27346-87 |
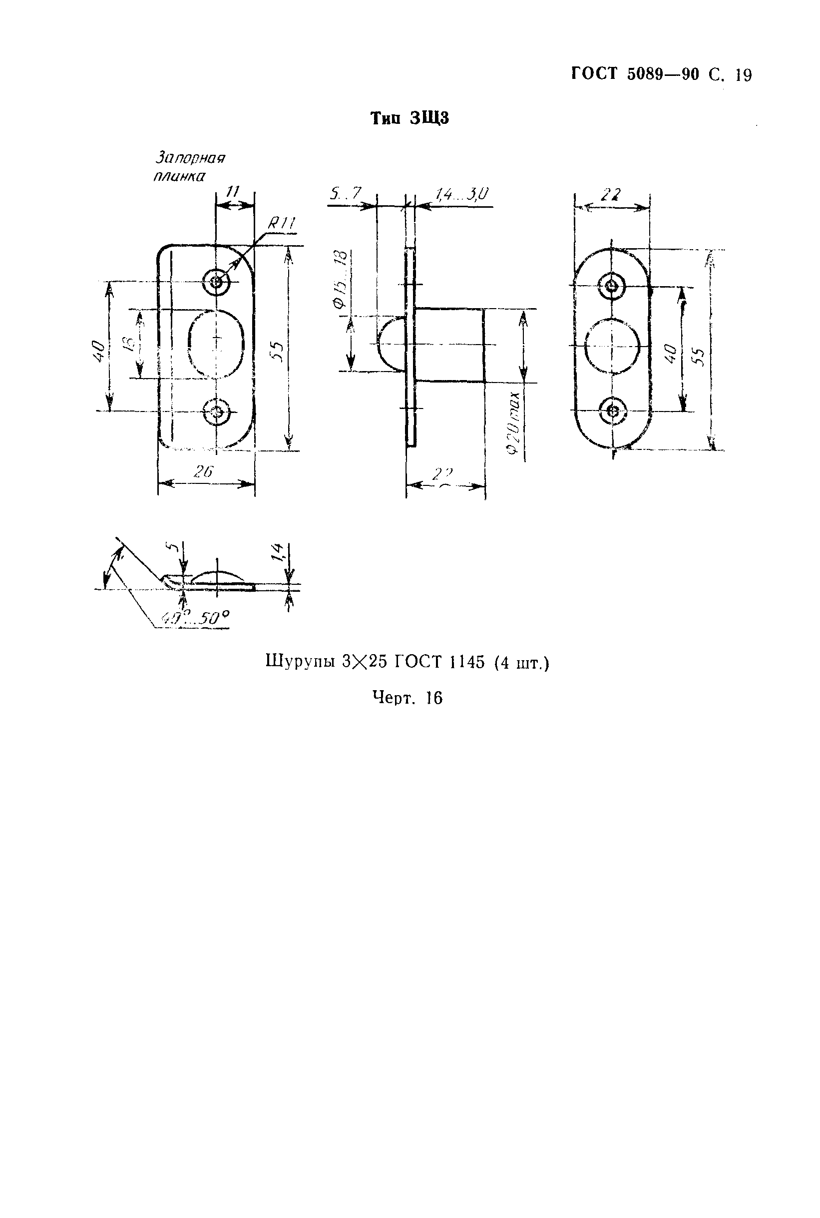
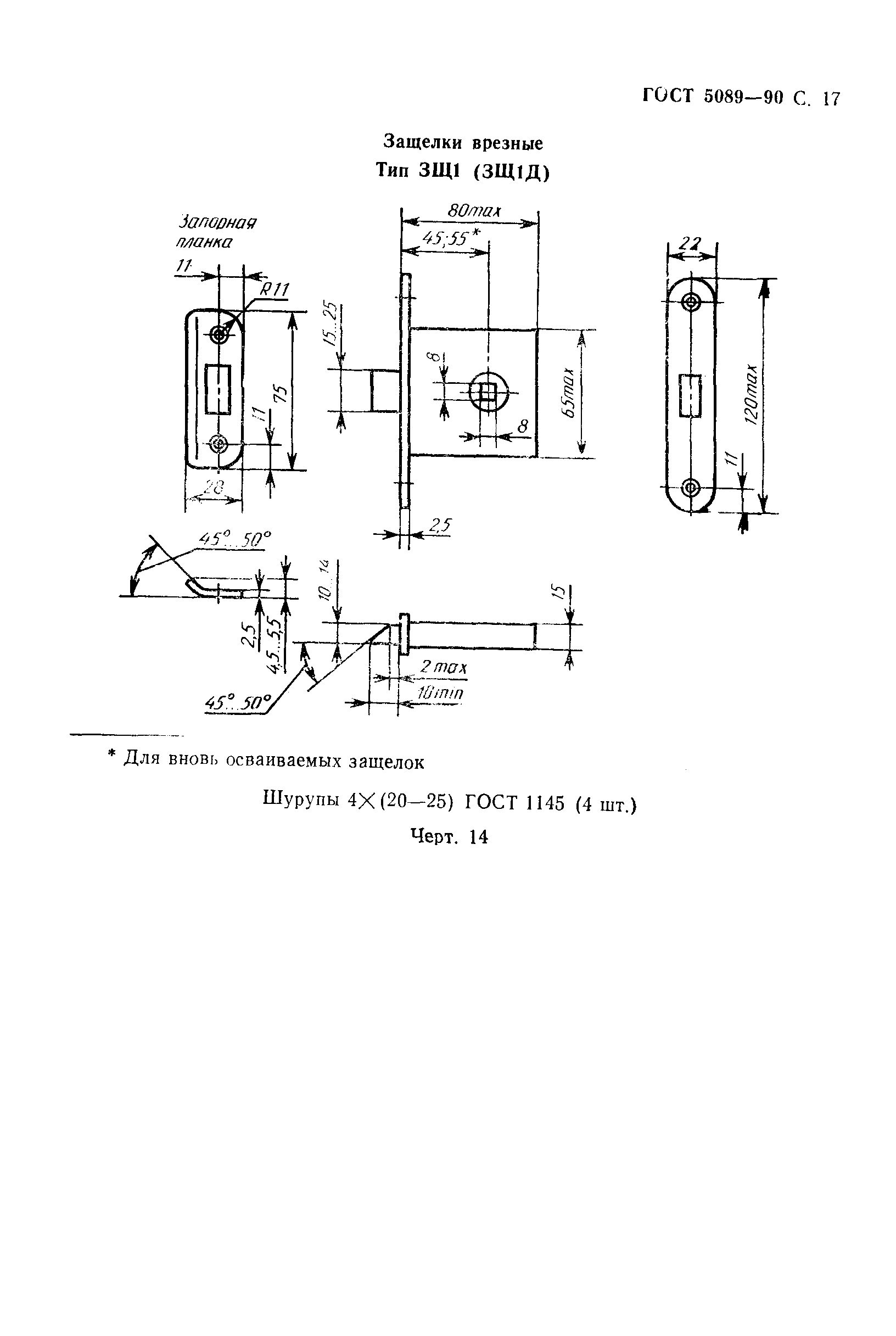
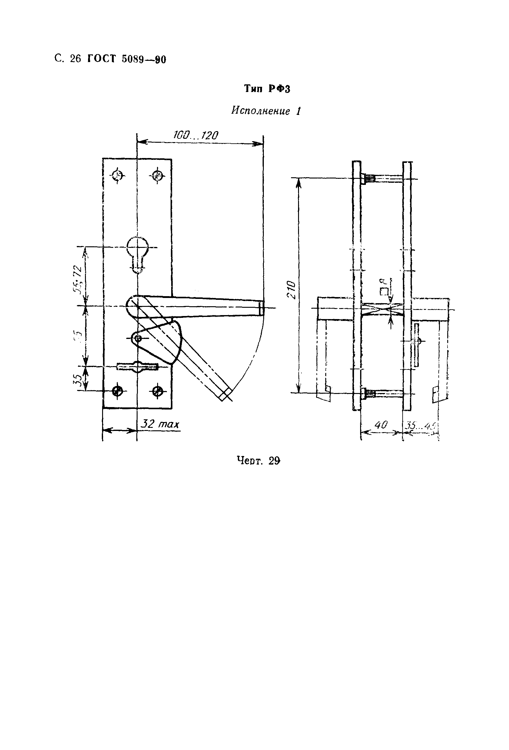
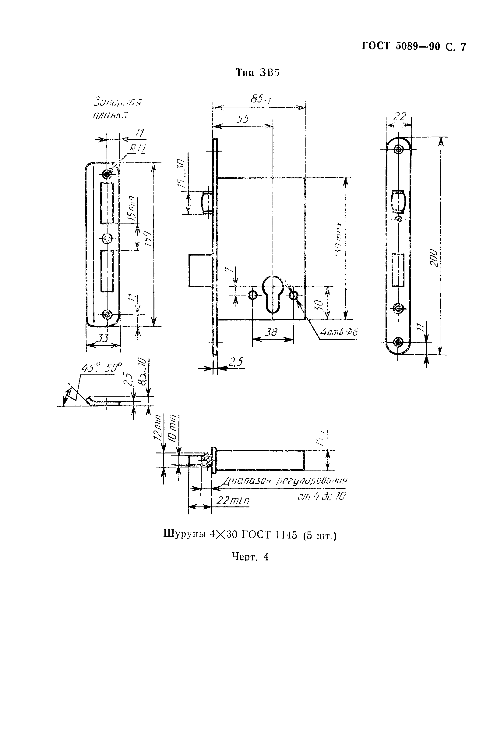
| Область применения: | Настоящий стандарт распространяется на замки и защелки для деревянных дверей по ГОСТ 6629 и ГОСТ 24698, применяемых в жилых и общественных зданиях |
|