| Обозначение: |  ГОСТ 6433.3-71 |
| Статус: | действующий |
| Название рус.: | Материалы электроизоляционные твердые. Методы определения электрической прочности при переменном (частоты 50 Гц) и постоянном напряжении |
| Название англ.: | Solid electrical insulating materials. Methods for evaluation of electrical strength at a. c. voltage at power (50 Hz) frequency and d. c. voltage |
| Дата актуализации текста: | 06.04.2015 |
| Дата актуализации описания: | 01.07.2023 |
| Дата издания: | 01.03.1994 |
| Дата введения: | 01.07.1972 |
| Код ОКП: | 349000 |
| Взамен в части: | ГОСТ 6433-65 в части определения электрической прочности |
| Содержит требования: | СТ СЭВ 3165-81 |
| Нормативные ссылки: | IEC 243(1967) |
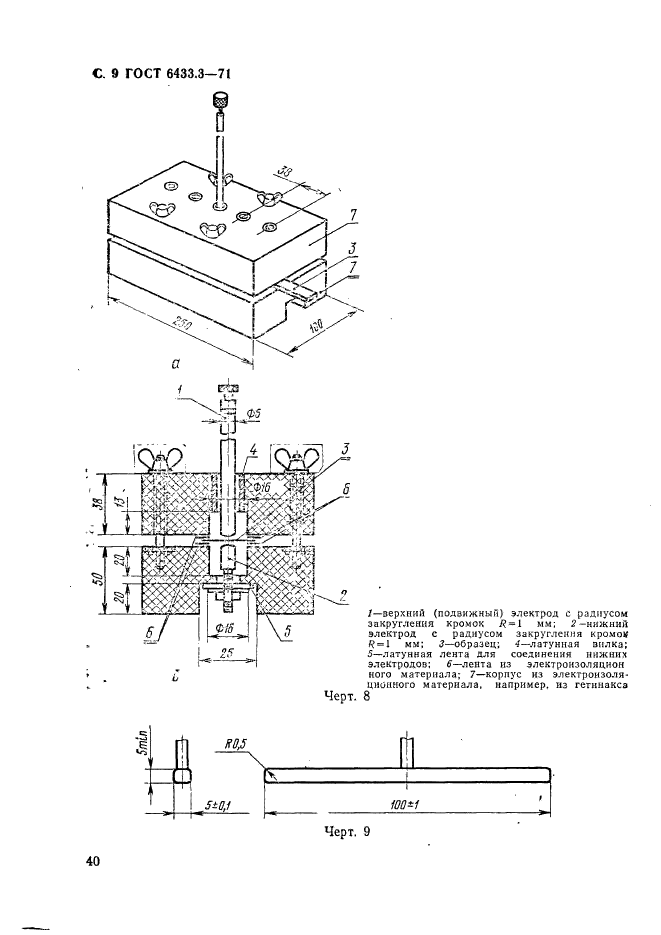
| Область применения: | Настоящий стандарт распространяется на твердые электроизоляционные материалы, включая пленки из высокомолекулярных соединений и электроизоляционные бумаги, и устанавливает для этих материалов методы определения электрической прочности (Епр) при переменном (частоты 50 Гц) и постоянном напряжении. Методы, приведенные в настоящем стандарте, применимы в диапазоне температур от минус 60 до плюс 250 град.С |
| Список изменений: | №0 от 28.05.1987 (рег. 27.05.1987) «Срок действия продлен» №1 от 01.01.1983 (рег. 16.02.1982) «Срок действия продлен» |
|