| Обозначение: |  ГОСТ 15069-75 |
| Статус: | действующий |
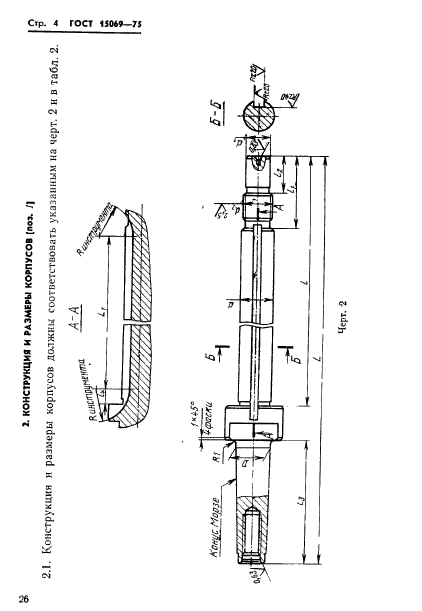
| Название рус.: | Оправки с цилиндрической цапфой и хвостовиком конус Морзе для горизонтально-фрезерных станков. Конструкция и размеры |
| Название англ.: | Tool holders with straight guide and Morse taper shank for horicontal milling machines. Design and dimensions |
| Дата актуализации текста: | 06.04.2015 |
| Дата актуализации описания: | 01.07.2023 |
| Дата издания: | 21.01.1976 |
| Дата введения: | 01.01.1977 |
| Код ОКП: | 396100 |
| Взамен: | ГОСТ 15069-69 |
| Нормативные ссылки: | ГОСТ 15071-75; ГОСТ 15074-75; ГОСТ 23360-78; ГОСТ 15073-75; ГОСТ 15072-75; ГОСТ 24644-81; ГОСТ 9472-70; ГОСТ 2847-67; ГОСТ 24705-81; ГОСТ 16093-81; ГОСТ 10549-80; ГОСТ 8820-69; ГОСТ 2789-73; ГОСТ 14034-74; ГОСТ 17166-71 |
| Область применения: | Настоящий стандарт устанавливает конструкцию и размеры оправок с цилиндрической цапфой и хвостовиком конус Морзе для горизонтально-фрезерных станков |
| Список изменений: | №1 от 01.07.1982 (рег. 26.02.1982) «Срок действия продлен» |
|