| Обозначение: |  ГОСТ 2013-75 |
| Статус: | действующий |
| Название рус.: | Угли каменные. Ускоренный метод определения спекаемости |
| Название англ.: | Hard coals. Accelerated method for the determination of clinkering |
| Дата актуализации текста: | 06.04.2015 |
| Дата актуализации описания: | 01.07.2023 |
| Дата издания: | 26.03.1975 |
| Дата введения: | 01.01.1976 |
| Код ОКП: | 032031 |
| Взамен: | ГОСТ 2013-49 |
| Нормативные ссылки: | ГОСТ 10742-71; ГОСТ 7324-68; ГОСТ 6616-74; ГОСТ 3584-73; ГОСТ 1770-64; ГОСТ 1186-69 |
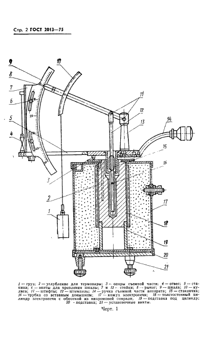
| Область применения: | Настоящий стандарт распространяется на каменные угли и устанавливает ускоренный метод определения спекаемости. Сущность метода заключается в нагревании смеси угля с песком при температуре 500-500 град.С и определении спекающей способности угля по степени его размягчения |
|