Скачать ГОСТ Р 41.44-2005 Единообразные предписания, касающиеся удерживающих устройств для детей, находящихся в механических транспортных средствахДата актуализации: 01.06.2025 ГОСТ Р 41.44-2005
Единообразные предписания, касающиеся удерживающих устройств для детей, находящихся в механических транспортных средствах
| Обозначение: |  ГОСТ Р 41.44-2005 |
| Статус: | отменён |
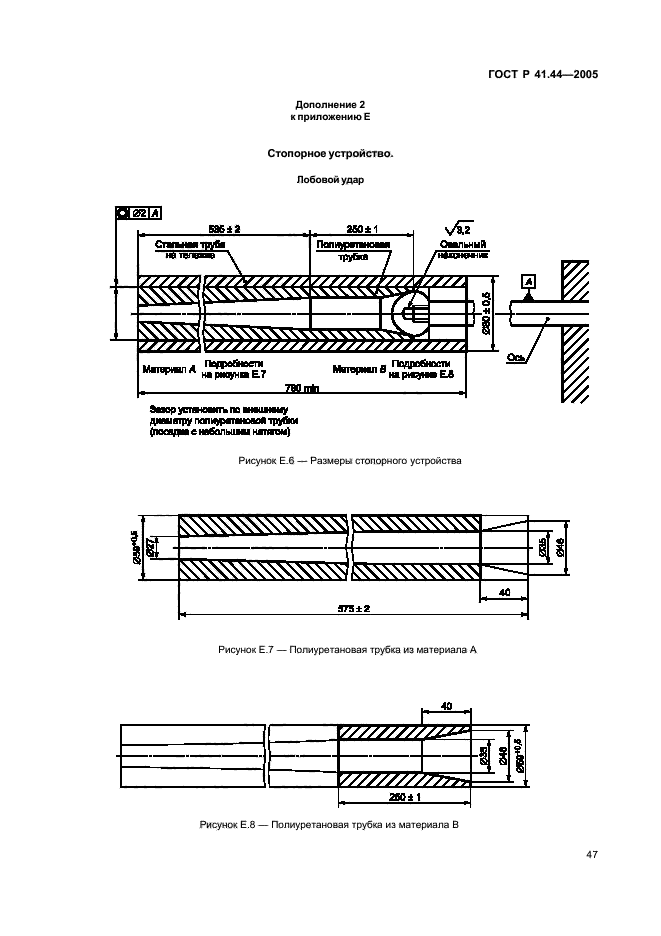
| Название рус.: | Единообразные предписания, касающиеся удерживающих устройств для детей, находящихся в механических транспортных средствах | | Название англ.: | Uniform provisions concerning the type approval of restraining devices for child occupants of power-driven vehicles | | Дата актуализации текста: | 06.04.2015 | | Дата актуализации описания: | 01.07.2023 | | Дата издания: | 13.07.2005 | | Дата введения: | 01.01.2007 | | Дата окончания срока действия: | 01.09.2018 | | Код ОКП: | 459142 | | Содержит требования: | Правила EEC UN № 44 | | Нормативные ссылки: | ГОСТ Р 41.12-2001; ГОСТ Р 41.14-2003; ГОСТ Р 41.17-2001; ГОСТ Р 41.21-99; ГОСТ Р 41.24-2003; ГОСТ Р 41.80-99 | | Область применения: | Настоящий стандарт распространяется на удерживающие устройства для детей, которые можно устанавливать на механических транспортных средствах, имеющих три колеса и более и удовлетворяющих предписаниям ГОСТ Р 41.14 и ГОСТ Р 41.17, и не предназначенные для использования ни на откидных (складных), ни на боковых сиденьях, ни на сиденьях, обращенных назад | | Список изменений: | №0 от 31.08.2018 (рег. 18.07.2018) «Текстовое изменение; Изменено заглавие» | |
                                                                                      
|