| Обозначение: |  ГОСТ Р 52290-2004 |
| Статус: | действующий |
| Название рус.: | Технические средства организации дорожного движения. Знаки дорожные. Общие технические требования |
| Название англ.: | Traffic control devices. Traffic signs. General technical requirements |
| Дата актуализации текста: | 01.07.2023 |
| Дата актуализации описания: | 01.01.2025 |
| Дата издания: | 01.02.2006 |
| Дата введения: | 01.01.2006 |
| Дата окончания срока действия: | 01.01.2026 |
| Код ОКП: | 521000 |
| Заменяющий: | ГОСТ Р 52290-2024 |
| Нормативные ссылки: | ГОСТ 9.403-80; ГОСТ 515-77; ГОСТ 2930-62; ГОСТ 5959-80; ГОСТ 7721-89; ГОСТ 8273-75; ГОСТ 10434-82; ГОСТ 12082-82; ГОСТ 14192-96; ГОСТ 15140-78; ГОСТ 15150-69; ГОСТ 17557-88; ГОСТ Р 52289-2004;ГОСТ IEC 60061-2-2017; ГОСТ 32865-2014; ГОСТ 32945-2014; ГОСТ 32946-2014; ГОСТ 8.332-2013; ГОСТ 9.401-2018 |
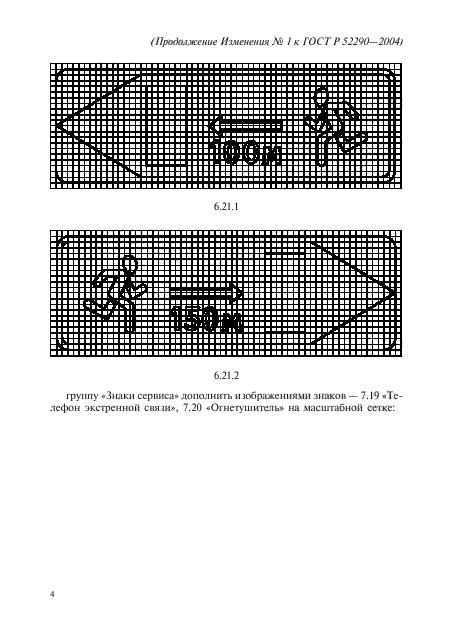
| Область применения: | Настоящий стандарт устанавливает группы, изображения, размеры дорожных знаков, предназначенных для установки на улицах и дорогах с целью информирования участников дорожного движения об условиях и режимах движения, а также технические требования к знакам и применяемым для их изготовления материалам, методам испытаний. Стандарт также устанавливает требования к световозвращающим материалам для знаков |
| Список изменений: | №0 от 18.01.2006 (рег. 18.01.2006) «Дата введения перенесена» №0 от 21.04.2011 (рег. 21.04.2011) «Дата введения перенесена» №0 от 08.12.2014 (рег. 08.12.2014) «Дата введения перенесена» №1 от 20.11.2010 (рег. 12.11.2010) «Срок действия продлен» №2 от 28.02.2014 (рег. 09.12.2013) «Срок действия продлен» |
| Приложение №1: | Изменение №1 к ГОСТ Р 52290-2004 |
| Приложение №2: | Изменение №2 к ГОСТ Р 52290-2004 |
| Приложение №3: | Изменение №3 к ГОСТ Р 52290-2004 |
| Приложение №4: | Поправка к ГОСТ Р 52290-2004 |
| Приложение №5: | Поправка к ГОСТ Р 52290-2004 |
| Приложение №6: | Поправка к ГОСТ Р 52290-2004 |
| Приложение №7: | Поправка к ГОСТ Р 52290-2004 |
| Приложение №8: | Поправка к ГОСТ Р 52290-2004 |
|