| Обозначение: |  ГОСТ 10117.2-2001 |
| Статус: | действующий |
| Название рус.: | Бутылки стеклянные для пищевых жидкостей. Типы, параметры и основные размеры |
| Название англ.: | Glass bottles for food liquids. Types, parameters and main dimensions |
| Дата актуализации текста: | 06.04.2015 |
| Дата актуализации описания: | 01.12.2024 |
| Дата регистрации: | 01.11.2001 |
| Дата издания: | 01.11.2006 |
| Дата введения: | 01.01.2003 |
| Код ОКП: | 598700 |
| Взамен в части: | ГОСТ 10117-91 в части разд. 1; ГОСТ 26586-85 в части разд. 1 |
| Отменен в части: | утратил силу на территории РФ в части венчика типа КПМ-30 (рисунок 46), с 01.01.2011 пользоваться ГОСТ Р 53846.1-2010 |
| На территории РФ пользоваться: | ГОСТ Р 53846.1-2010 |
| Нормативные ссылки: | ГОСТ 10117.1-2001; ГОСТ 17527-2003; ГОСТ 30288-95 |
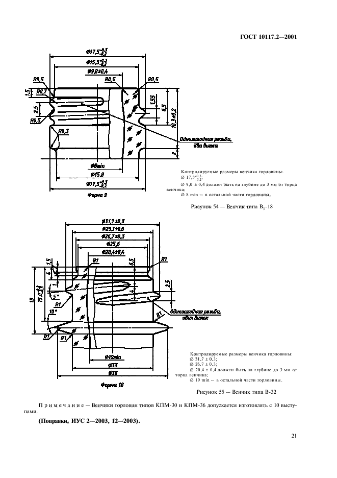
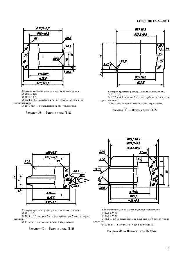
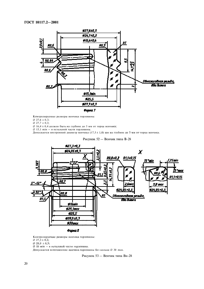
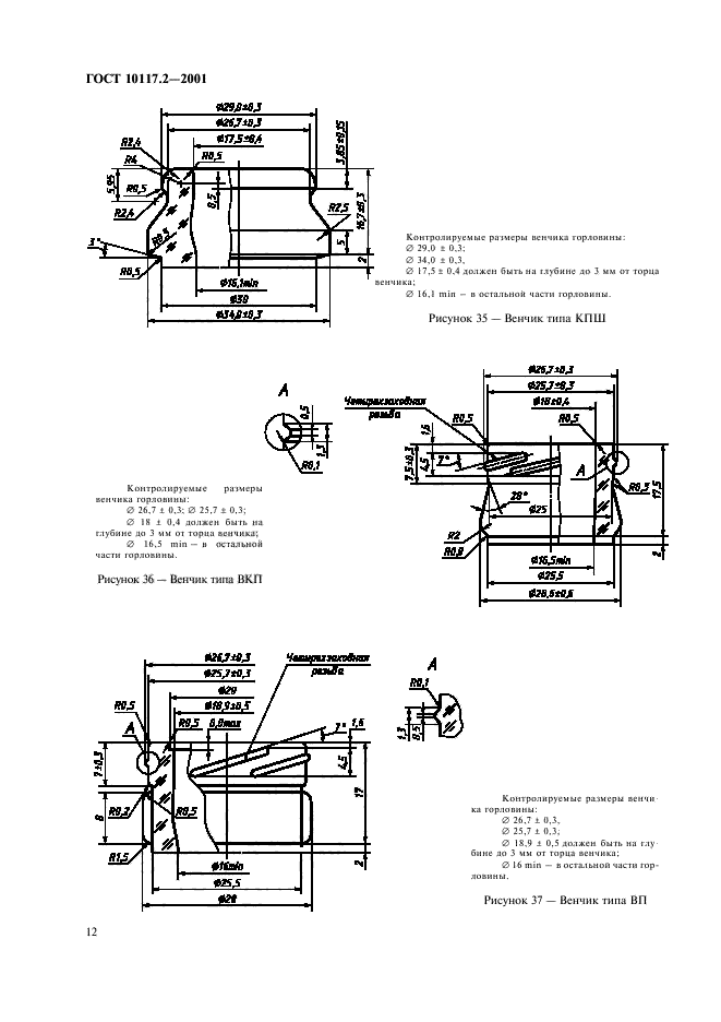
| Область применения: | Настоящий стандарт распространяется на стеклянные бутылки круглой формы, предназначенные для пищевых жидкостей, и устанавливает их типы, параметры и основные размеры |
| Список изменений: | №0 от 20.11.2002 (рег. 20.11.2002) «Дата введения перенесена» №0 от 23.09.2003 (рег. 23.09.2003) «Дата введения перенесена» №0 от 01.01.2004 (рег. 01.01.2004) «Дата введения перенесена» №0 от 01.01.2011 (рег. 13.07.2010) «Поправка к изменению» |
| Приложение №1: | Поправка к ГОСТ 10117.2-2001 |
| Приложение №2: | Поправка к ГОСТ 10117.2-2001 |
| Приложение №3: | Поправка к ГОСТ 10117.2-2001 |
|