| Обозначение: |  ГОСТ 12593-93 |
| Статус: | действующий |
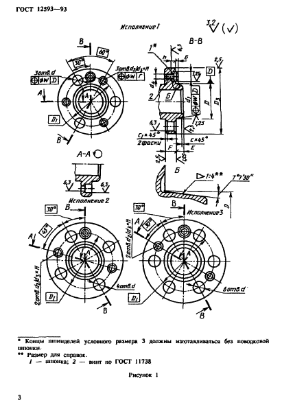
| Название рус.: | Станки металлорежущие. Концы шпинделей фланцевые под поворотную шайбу и фланцы зажимных устройств. Основные и присоединительные размеры |
| Название англ.: | Metal cutting machine tools. Flanged spindle noses with swireluashers and flanges of fixtures. Basic and coupling dimensions |
| Дата актуализации текста: | 06.04.2015 |
| Дата актуализации описания: | 01.07.2023 |
| Дата издания: | 25.09.1995 |
| Дата введения: | 01.07.1996 |
| Код ОКП: | 387300;396100 |
| Взамен: | ГОСТ 12593-72 |
| Содержит требования: | ISO 702-3:1975 |
| Область применения: | Настоящий стандарт распространяется на фланцевые концы шпинделей с коротким конусом и поворотной шайбой для токарных станков и на фланцы зажимных устройств, устанавливаемых на концы шпинделей |
|