| Обозначение: |  ГОСТ 25557-2006 |
| Статус: | заменён |
| Название рус.: | Конусы инструментальные. Основные размеры |
| Название англ.: | Machine tools tapers. Basic dimensions |
| Дата актуализации текста: | 06.04.2015 |
| Дата актуализации описания: | 01.07.2023 |
| Дата регистрации: | 24.06.2006 |
| Дата издания: | 17.12.2007 |
| Дата введения: | 01.01.2008 |
| Дата окончания срока действия: | 01.01.2018 |
| Код ОКП: | 390000 |
| Взамен: | ГОСТ 25557-82 |
| Заменяющий: | ГОСТ 25557-2016 |
| Содержит требования: | ISO 296:1991 |
| Нормативные ссылки: | ГОСТ 2848-75; ГОСТ 14034-74 |
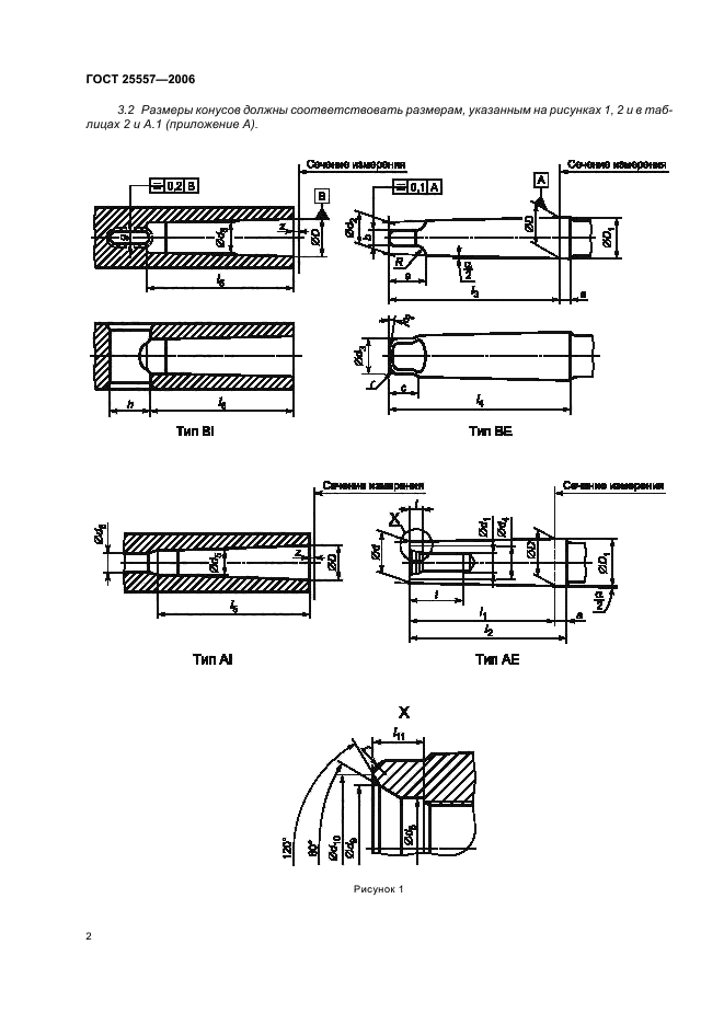
| Область применения: | Настоящий стандарт устанавливает размеры наружных и внутренних конусов инструментальных хвостовиков трех категорий: общего применения; малые; большие. Настоящий стандарт также определяет размеры пазов канавок и отверстий, необходимых для конструирования конусов, в случае подачи смазочно-охлаждающей жидкости через инструмент |
| Список изменений: | №0 от 01.05.2008 (рег. 01.05.2008) «Дата введения перенесена» |
| Приложение №1: | Поправка к ГОСТ 25557-2006 |
|