Скачать ГОСТ 9581-80 Наконечники кабельные алюминиевые и медно-алюминиевые, закрепляемые опрессовкой. Конструкция и размерыДата актуализации: 01.06.2025
| ||||||||||||||||||||||||||||||||||
| Обозначение: | ![]() ГОСТ 9581-80 |
| Статус: | действующий |
| Название рус.: | Наконечники кабельные алюминиевые и медно-алюминиевые, закрепляемые опрессовкой. Конструкция и размеры |
| Название англ.: | Aluminium and copper-aluminium pressfastened thimbles. Construction and sizes |
| Дата актуализации текста: | 06.04.2015 |
| Дата актуализации описания: | 01.07.2023 |
| Дата издания: | 01.07.2003 |
| Дата введения: | 01.01.1983 |
| Код ОКП: | 344985 |
| Взамен: | ГОСТ 9581-68 |
| Нормативные ссылки: | ГОСТ 495-92; ГОСТ 859-2001; ГОСТ 8908-81; ГОСТ 15150-69; ГОСТ 18475-82; ГОСТ 21488-97; ГОСТ 22483-77; ГОСТ 23981-80; ГОСТ 25346-89 |
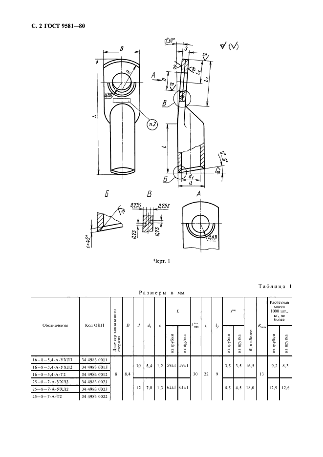
| Область применения: | Настоящий стандарт распространяется на алюминиевые и медно-алюминиевые кабельные наконечники, закрепляемые опрессовкой и предназначенные для оконцевания проводов и кабелей с алюминиевыми жилами сечением от 16 до 300 мм кв. на напряжение до 35 кВ |
| Список изменений: | №1 от 01.02.1984 (рег. 30.08.1983) «Срок действия продлен» №2 от 01.01.1988 (рег. 15.06.1987) «Срок действия продлен» №3 от 01.06.1997 (рег. 20.02.1997) «Срок действия продлен» №4 от 31.07.2002 (рег. 14.02.2002) «Текстовое изменение; Изменены ссылочные НД» |
| Приложение №1: | Изменение №4 к ГОСТ 9581-80 |











| Обозначение: | Изменение №4 к ГОСТ 9581-80 |
| Дата введения: | 01.08.2002 |
