Министерство транспорта Российской Федерации
Утверждаю
Первый заместитель Министра
транспорта Российской Федерации
В. Л. Быков
21 мая 1997 года
НОРМЫ
ТЕХНОЛОГИЧЕСКОГО ПРОЕКТИРОВАНИЯ
МОРСКИХ ПОРТОВ
РД 31.3.05-97
Москва
1998 год
1. РАЗРАБОТАНЫ Государственным проектно-изыскательским и научно-исследовательским институтом морского транспорта группой специалистов под руководством доктора транспорта, академика Академии транспорта России Ф. Г. Аракелова.
СОГЛАСОВАНЫ Главгосэкспертизой Госстроя России 13.01.97 № 24-4-1/5-92-П, Минприроды России 28.07.96 № 02-12/32-1925, Главгоспротивопожарной службой МВД России 15.02.96 № 20/2.2/353, Госсанэпиднадзором России 10.01.96 № 09РУ/11, ЦК профсоюза работников водного транспорта Российской Федерации 29.05.95 № 3.06/14.
ВНЕСЕНЫ Департаментом судоходной политики и развития морского транспорта Минтранса России.
2. УТВЕРЖДЕНЫ И ВВЕДЕНЫ В ДЕЙСТВИЕ Первым заместителем Министра транспорта Российской Федерации В. Л. Быковым 21.05.97.
3. С введением в действие РД 31.3.05-97 утрачивают силу «Нормы технологического проектирования морских портов», РД 31.31.37-78, утвержденные Минморфлотом 30.12.77 и 25.10.78.
Нормы технологического проектирования морских портов разработаны институтом «Союзморниипроект» по заданию Департамента морского транспорта Министерства транспорта Российской Федерации на основе пересмотра действовавших ранее аналогичных норм 1978 г.
Нормы составлены на основании изучения и обобщения отечественного и зарубежного опыта проектирования морских портов, тенденций развития транспортного флота, прогрессивных технологий морских перевозок и выполнения погрузочно-разгрузочных работ в портах.
В частности, в них учтены современные специализированные комплексы обработки судов контейнеровозной и лихтеровозной систем, накатных и наливных судов, морских паромных переправ.
Настоящими нормами не учтены требования по проектированию систем радиолокационного управления движением судов (СУДС) на акватории порта и подходах к нему, пунктов пограничного контроля (таможенного и других), бункеровочных нефтебаз и ряда других портовых объектов, нормы и правила проектирования которых определены отдельными нормативными документами.
СОДЕРЖАНИЕ
РД 31.3.05-97
ВЕДОМСТВЕННЫЕ СТРОИТЕЛЬНЫЕ НОРМЫ
|
НОРМЫ
ТЕХНОЛОГИЧЕСКОГО ПРОЕКТИРОВАНИЯ |
Дата введения 1997-06-01
1.1. Настоящий нормативный документ содержит требования и нормативы по технологическому проектированию морских портов и устанавливает взаимосвязь и соотношения между параметрами главных элементов морских портов (перегрузочные комплексы, причалы, акватория, территория, перегрузочные машины и оборудование, склады и другие объекты и сооружения).
При проектировании морских портов следует учитывать требования нормативных документов, действующих на территории Российской Федерации.
1.2. Настоящие нормы технологического проектирования морских портов распространяются на проектирование новых, реконструкцию и модернизацию действующих морских торговых портов, перегрузочных комплексов и отдельных объектов.
1.3. Положения настоящего документа подлежат применению расположенными на территории Российской Федерации предприятиями и объединениями предприятий, в том числе союзами, ассоциациями, концернами, акционерными обществами, межотраслевыми, региональными и другими объединениями независимо от форм собственности и подчинения.
Нормативные акты и руководящие документы, на которые даны ссылки в тексте настоящего нормативного документа, а также другие основные документы, требования которых следует учитывать при разработке проектной документации, приведены в приложении А.
Принятые в настоящих нормах технологического проектирования морских портов сокращения, обозначения и определения приведены в приложении Б.
3.1. Главная задача технологического проектирования морского порта - получение оптимального решения порта как единого комплекса, удовлетворяющего требованиям безопасного приема, быстрейшей загрузки-разгрузки и комплексного обслуживания современных и перспективных транспортных судов и отвечающего условиям прогрессивных способов перевозок на морском и смежных видах транспорта.
При этом должны быть обеспечены: заданная пропускная способность порта или грузооборот на расчетный год, возможность развития порта за пределами расчетного периода на отдаленную перспективу, экологическая безопасность и экономическая целесообразность принятых решений.
3.2. Основными элементами технологической структуры проектируемого порта являются перегрузочные комплексы (ПК), представляющие совокупность технических средств (сооружений, зданий, оборудования, обустройств, транспортных и инженерных коммуникаций), необходимых для приема, загрузки-разгрузки и комплексного обслуживания транспортных морских судов, а также приема (передачи) грузов с железнодорожного, речного, автомобильного, трубопроводного и других смежных видов транспорта.
3.3. В соответствии с современными и перспективными методами перевозки и перегрузки грузов морской торговый порт в зависимости от структуры грузооборота может иметь в своем составе перегрузочные комплексы для:
- контейнеров;
- накатных грузов;
- генеральных грузов (тарно-штучных грузов открытого и закрытого хранения, пакетированных и не пакетированных, металлогрузов);
- скоропортящихся грузов;
- тяжеловесных и крупногабаритных грузов;
- лесных грузов (пиломатериалы, круглый лес, щепа);
- навалочных грузов (уголь, руда, химические грузы, минерально-строительные грузы, сахар-сырец и др.);
- зерновых и зернофуражных грузов;
- нефтеналивных грузов;
- химических наливных грузов;
- сжиженных газов;
- пищевых наливных грузов;
- морских паромных переправ;
- обработки судов лихтеровозной системы;
- опасных разрядных грузов.
Для сжиженных газов, наливных опасных грузов, скоропортящихся грузов (при наличии портового холодильника), зерновых грузов (при наличии портового элеватора), опасных разрядных грузов (взрывчатых и отравляющих) и других, требующих специальных условий перевозки, перегрузки и хранения, создаются специализированные ПК независимо от объема грузооборота.
3.4. До начала проектирования перегрузочного комплекса должно быть выполнено обоснование инвестиций, в котором определяется экономическая эффективность его создания, объем перевозок и другие исходные данные для проектирования, включая обоснование типов транспортных судов.
3.5. На начальных стадиях проектирования должны рассматриваться, как правило, не менее двух конкурентоспособных вариантов технологического процесса и компоновки генерального плана перегрузочного комплекса.
3.6. Расчетные показатели технического уровня производства и строительных решений, полученные при проектировании новых, реконструкции и модернизации действующих морских портов, перегрузочных комплексов и отдельных объектов должны быть не ниже нормативных или аналогичных прогрессивных показателей.
3.7. На основе количественных и качественных показателей, полученных при разработке соответствующих разделов проекта, выполняются расчеты эффективности инвестиций.
Примерный перечень технико-экономических показателей приведен в СНиП 11-01-95.
Расчеты эффективности инвестиций выполняются в соответствии с Методическими рекомендациями по оценке эффективности инвестиционных проектов и их отбору для финансирования, утвержденными Госстроем России, Минэкономики России, Минфином России, Госкомпромом России (№ 7-12/47 от 31.03.94).
Результаты расчетов основных экономических и финансовых показателей рекомендуется сводить в таблицы, формы которых приведены в СНиП 11-01-95.
3.8. Принимаемые технологические решения должны обеспечивать безопасную организацию основных и вспомогательных работ при строительстве и эксплуатации морских портов в соответствии с РД 31.82.01-95, а также требований взрывопожарной и пожарной безопасности по ГОСТ 12.1.004-91, СНиП 2.04.09-84, СНиП 21.01-97, СНиП 2.09.02-85, ВСН 12 -87, РД 31.31.54-92, СНиП 2.11.03-93.
3.9. Основные размеры и количество портовых сооружений и устройств, а также количество технологических линий и технологического оборудования устанавливают на расчетный год и заданный грузооборот за исключением указанных ниже элементов порта, параметры которых определяют с учетом прогнозируемых изменений размерений судов на перспективу, перспективного грузооборота и судооборота: перспективные глубины портовой акватории; перспективные глубины и длины причальных сооружений; размеры общей акватории порта, внутренних рейдов, бассейнов и входных ворот.
3.10. Инженерно-технические мероприятия гражданской обороны и мероприятия по предупреждению чрезвычайных ситуаций разрабатываются в соответствии с нормами и правилами в области гражданской обороны, защиты населения и территорий от чрезвычайных ситуаций.
3.11. Расчет численности и профессионально-квалификационного состава портовых рабочих на погрузочно-разгрузочных работах производят согласно РД 31.3.01.01-93.
3.12. Проектирование объектов комплексного обслуживания транспортного флота выполняют согласно РД 31.31.37.50-87.
3.13. Требования к составу и содержанию разделов «Оценка воздействия на окружающую среду» и «Охрана окружающей среды» в предпроектной и проектной документации следует принимать в соответствии с природоохранительным законодательством, нормативными документами Минприроды России и другими нормативными актами, регулирующими природоохранную деятельность, перечень которых приведен в приложении А.
3.14. Технические решения и технологические схемы очистки различных вод: загрязненных нефтью и нефтеостатками, льяльных вод, после моечных операций агрессивных и ядовитых веществ, загрязненных опасными химическими грузами, а также порядок утилизации и захоронения отходов следует разрабатывать в соответствии с требованиями МАРПОЛ 73/78, РД 31.04.16-82, РД 31.04.23-86, РД 31.15.01-89, РД 31.04.01-90, СанПиН 4630-88, СанПиН 4631-88, Правил охраны поверхностных вод, Методики расчета предельно допустимых сбросов (ПДС) веществ в водные объекты со сточными водами, Временных рекомендаций по проектированию сооружений для очистки поверхностного стока с территорий промышленных предприятий и расчету условий выпуска его в водные объекты.
3.15. Промышленные отходы (нефтешламы, шламы химводоочистки и т. п.) следует обеззараживать и утилизировать. Выбор технического решения следует принимать с учетом местных условий и количества отходов. Захоронению подлежат отходы, на которые отсутствуют технологии их переработки.
Качественную характеристику отходов, образующихся от зачистки резервуаров, следует принимать в соответствии с ВНТП 5-95.
3.16. В проектах следует предусматривать мероприятия (обвалование, водонепроницаемые покрытия, планировка и т. п.) для сбора нефтепродуктов в случае их разлива, аварии технологических сооружений и трубопроводов. Утечка нефтепродуктов при авариях в производственную канализацию не допускается.
3.17. Технологические схемы и мероприятия по сбору, удалению и обезвреживанию мусора морских портов и судов должны соответствовать требованиям МАРПОЛ 73/78, РД 31 06.01-79, РД 31.04.23-86.
4.1.1. Генеральный план морского порта компонуется с учетом требований СНиП 11-01-95 и РД 31.3.01.01-93.
На генеральном плане наносятся существующие и проектируемые (реконструируемые) и подлежащие сносу здания и сооружения, объекты охраны окружающей среды и благоустройства, озеленения территории и принципиальные решения по расположению внутриплощадочных инженерных сетей и транспортных коммуникаций, планировочные отметки территории. Выделяются объекты, сети и транспортные коммуникации, входящие в пусковые комплексы.
4.1.2. В состав морского порта, как правило, входят следующие территориальные зоны:
- операционные зоны перегрузочных комплексов;
- производственные зоны технологических районов порта;
- зоны общепортовых объектов;
- зоны пассажирских операций;
- предпортовая зона.
Операционные зоны, производственные зоны технологических районов порта и зоны общепортовых объектов входят в состав режимной (огражденной) территории порта.
4.1.3. Операционные зоны ПК включают основные производственные сооружения, непосредственно реализующие перегрузочный процесс: причальные сооружения, склады, перегрузочное оборудование, грузовые фронты железнодорожного и автомобильного транспорта.
4.1.4. Производственные зоны технологических районов располагают, как правило, смежно с операционными зонами ПК, за их пределами и предназначены для размещения объектов общерайонного назначения.
4.1.5. Зоны общепортовых объектов предназначены для размещения объектов и служб, деятельность которых связана с портом в целом и комплексным обслуживанием судов транспортного флота: базы портового флота, центральные мастерские, центральный материальный склад, другие вспомогательные здания и помещения общепортового назначения, объекты комплексного обслуживания транспортного флота, бункеровочные нефтебазы. Зоны общепортовых объектов могут состоять из отдельных территориально удаленных участков.
4.1.6. Зона пассажирских операций включает пассажирские причалы с примыкающей территорией, пассажирский вокзал и привокзальную площадь, вспомогательные здания и объекты, предназначенные для посадки- высадки и обслуживания пассажиров.
4.1.7. Предпортовые зоны, на которые не распространяется контрольно-пропускной режим, предназначаются для размещения тех объектов общепортового назначения и комплексного обслуживания судов, которые нецелесообразно располагать в зонах общепортовых объектов на режимной территории, однако нахождение которых вблизи порта необходимо (администрация порта, узел связи порта, служба «Трансфлот», портовая таможня, инспекция морского Регистра, стоянки индивидуальных автомобилей и т. п.).
4.1.8. При компоновке территории порта с целью устранения отрицательного воздействия одних грузов на другие, а также на портовый персонал и пассажиров, должны быть предусмотрены разрывы между районами ПК различного назначения.
Величины этих разрывов, а также требования по размещению порта относительно ближайших населенных пунктов и промышленных объектов, определению размеров зон воздействия объектов порта на окружающую среду, организации санитарно-защитной зоны порта следует принимать согласно СанПиН 4962-89 и РД 31.3.01.01-93.
Конфигурацию причальной линии по начертанию в плане отдельных ПК сводят к одному из следующих видов:
- фронтальному - вдоль береговой полосы;
- пирсовому - с выносом причального фронта в акваторию;
- ковшовому - с врезкой причального фронта в территорию.
Конфигурация причальной линии может приобретать смешанный вид, например, пирсово-ковшовый, фронтально-пирсовый и т. п. Отбор вариантов конфигурации причалов ПК различного назначения проводят в соответствии с рекомендациями, приведенными в РД 31.3.01.01-93.
4.3.1. При компоновке ПК необходимо использовать следующие исходные данные:
- ситуационный план;
- план существующего порта (при его расширении или реконструкции);
- состав грузооборота и транспортные характеристики груза;
- расчетные типы и характеристики судов, железнодорожных вагонов и автотранспорта, включая перспективные;
- типы, количество и размеры объектов комплекса;
- вместимость складов.
4.3.2. Проектирование наиболее оптимальных вариантов компоновки морского порта как единого транспортно-промышленного объекта, состоящего из многих отдельных перегрузочных комплексов, рекомендуется производить на основе применения машинных систем и программ по оптимизации проектирования перегрузочных комплексов.
4.3.3. Компоновочные решения ПК должны быть представлены на генеральном плане района (порта) и технологической схеме ПК (план и разрезы).
Компоновку универсальных и специализированных ПК, а также размещение портовых зданий и помещений по территориальным зонам проводят в соответствии с рекомендациями, приведенными в РД 31.3.01.01-93.
4.3.4. Для хранения противопожарного оборудования и инвентаря следует предусматривать отдельное помещение. В тех случаях, когда расстояние от ближайшей пожарной части до порта превышает расстояния, определенные СНиП 2.09.04-87, на территории порта следует предусматривать наличие помещений для хранения выездной пожарной техники и команды.
4.3.5. Параметры прикордонной полосы для движения безрельсового транспорта определяют на основании технических характеристик транспортных средств и интенсивности движения (маневрирования).
Полоса для безрельсового транспорта слагается из полосы для движения и стоянки автомашин и полосы для погрузчиков тягачей с прицепами.
Общую ширину полосы для безрельсового транспорта устанавливают в зависимости от назначения, расположения и ширины двух ее составляющих (А и Б) по данным таблицы 4.1.
4.3.6. На предпроектных стадиях разработок при обосновании специализации перегрузочных комплексов рекомендуется руководствоваться значениями установленной мощности, приведенными в таблице 4.2.
Таблица 4.1
В метрах
|
А. Полоса для движения и стоянки автомашин |
Б. Полоса для движения погрузчиков или тягачей с прицепами |
А + Б |
|||
|
Расположение |
Ширина |
Расположение |
Ширина |
||
|
Интенсивная обработка судов с участием автотранспорта при установке автомашин вдоль линии кордона |
За прикордонными крановыми и железнодорожными путями или за первой линией открытых складов |
7,7 |
Рядом с полосой А |
4,0 |
11,7 |
|
Интенсивная обработка судов с участием автотранспорта при установке автомашин перпендикулярно к линии кордона |
То же |
16,0 |
Совмещается с полосой А |
- |
16,0 |
|
Обработка судов с участием автотранспорта в незначительном объеме |
То же |
6,0 |
Рядом с полосой А |
4,0 |
10,0 |
Таблица 4.2
|
Установленная мощность ПК, тыс. т/г |
|||||||
|
глубина у причала, м |
|||||||
|
6,5 |
8,25 |
9,75 |
11,5 |
13,0 |
15,0 |
20,0 |
|
|
Специализированные и многоцелевые ПК |
|||||||
|
Специализир. ПК для контейнеров, |
- |
- |
550 |
700 |
950 |
1200 |
- |
|
накатных судов, |
- |
- |
- |
670 |
- |
- |
- |
|
судов-лихтеровозов, |
- |
- |
- |
- |
2300 |
2600 |
- |
|
морских паромных переправ: |
|||||||
|
- однопалубный паром, |
2952 |
- |
- |
- |
- |
- |
- |
|
- двухпалубный паром, |
7238 |
- |
- |
- |
- |
||
|
тяжеловесных грузов, |
- |
- |
300 |
400 |
430 |
- |
- |
|
скоропортящихся грузов, |
- |
- |
160 |
180 |
200 |
- |
- |
|
угля, |
- |
- |
2500 |
- |
- |
4500 |
6500 |
|
железной руды, |
- |
- |
- |
- |
- |
4500 |
6500 |
|
химических навалочных грузов, |
- |
- |
- |
- |
1500 |
2000 |
- |
|
зерновых грузов |
- |
- |
- |
- |
- |
2000 |
3500 |
|
Многоцелевые ПК для генеральных грузов крытого хранения, |
150 |
190 |
220 |
260 |
- |
- |
- |
|
генеральных грузов открытого хранения, |
200 |
250 |
300 |
360 |
- |
- |
- |
|
навалочных грузов: |
|||||||
|
- уголь |
|
|
|
|
- |
- |
- |
|
- руда |
|
|
|
|
- |
- |
- |
|
- минерально-строительные материалы |
|
|
|
|
- |
- |
- |
|
лесных грузов |
100 |
150 |
200 |
320 |
- |
- |
- |
Примечания.
1. Данные по ПК для контейнеров приведены исходя из средней загрузки 20-футового контейнера - 10 т.
2. Данные по ПК для накатных судов приведены из условия следующей структуры грузов - контейнеры - 36 %, ролл-трейлеры - 50 %, автотехника - 10 %, прочие грузы - 4 %.
3. Для многоцелевого ПК, перегружающего навалочные грузы, в числителе указана мощность при погрузке, в знаменателе - при выгрузке.
4. Целесообразность специализации ПК применительно к глубинам, не указанным в таблице, определяется путем сопоставления с вариантом перегрузки аналогичных грузов на универсальном ПК.
5.1.1. При проектировании необходимо предусматривать достаточные размеры основных элементов акватории порта, к которым относятся:
- подходной канал к порту или фарватер;
- входной рейд;
- операционная акватория;
- разворотное место;
- внутренние судовые ходы;
- рейды для отстоя транспортных судов в ожидании постановки к причалам и по другим причинам;
- рейды для производства погрузочно-разгрузочных операций на акватории;
- акватория, необходимая для постановки стационарных или оперативных боновых заграждений с целью локализации возможных разливов нефтепродуктов.
Указанные основные элементы акватории рекомендуется компоновать без взаимного совмещения, имея в виду создание условий для их нормального функционирования.
5.1.2. Подходные каналы следует проектировать согласно РД 31.31.47-88.
Угол между осью входа в порт и общим направлением береговой линии на подходе к порту должен быть не менее 30°. Направление оси входа должно составлять с направлением господствующих ветров угол не более 45°.
При разработке генерального плана порта должны быть решены вопросы защищенности акваторий от волнения, льда и заносимости.
5.2.1. Входной рейд должен иметь размеры и очертание в плане, которые дают возможность при сильном ветре осуществлять любые маневры, требующиеся при входе или выходе судна из порта, в частности:
- возможность гашения инерции входящего судна;
- возможность разворота судна собственными средствами на требуемый угол по дуге циркуляции;
- возможность отдачи якоря и временной аварийной стоянки.
Указанные требования соблюдаются при условии:
если на площади входного рейда может быть вписана окружность диаметром, равным не менее D = 3,5Lc, где Lc - длина расчетного судна (рисунок 5.1).
Минимальное расстояние прямолинейного участка по оси входа в конкретных случаях может быть увеличено до 4,5Lc с учетом маневренных характеристик расчетных судов, а также гидрометеорологических условий (ледовый режим, течения, ветер) проектируемого порта.
5.2.2. В случае если предусматривается осуществление операций ввода-вывода судов из порта посредством буксиров, площадь входного рейда должна быть такой, чтобы в нее можно было вписать окружность диаметром не менее D = 2Lc (рисунок 5.1).
5.2.3. Для обеспечения безопасности плавания границы площади, предназначенной для маневрирования, должны быть расположены на расстоянии не менее чем две ширины расчетного судна от оградительных и других сооружений.
5.3.1. Размеры операционной акватории определяются условиями обеспечения безопасности и удобства подхода и отхода при швартовных операциях и обслуживании судов расчетных типов с учетом возможного ее развития для приема судов перспективных типов.
На размеры операционной акватории существенное влияние оказывает конфигурация причального фронта (рисунок 5.2).
5.3.2. Ширина акватории B в метрах, прилегающей к фронтально расположенным причалам, должна быть не менее
В = 4Вс + Lб, (5.1)
где В - ширина акватории;
Вс - ширина расчетного судна, м;
Lб - суммарная длина буксира-кантовщика и проекции длины буксирного троса на горизонтальную плоскость, м (таблица 5.1).

Рисунок 5.1. Определение площади входного рейда
Рисунок 5.2. Начертание причального фронта:
а - фронтальное; б, в - ковшовое; г, д - пирсовое
Таблица 5.1
|
Суммарная длина буксира и проекции буксирного троса на горизонтальную плоскость, Lб, м |
|
|
до 5 |
45 |
|
Св. 5 до 10 |
50 |
|
Св. 10 до 30 |
60 |
|
Св. 30 до 60 |
70 |
|
Св. 60 |
85 |
5.3.3. Допустимую наименьшую ширину узких бассейнов определяют в зависимости от длины бассейна, размерений судна и от расположения причалов (одностороннее или двустороннее) по таблице 5.2.
Таблица 5.2
|
Бассейны с односторонним расположением причалов |
Бассейны с двусторонним расположение причалов |
|
|
Один |
2Вс + Lб |
3Вс + Lб |
|
Два-три |
4Вс + Lб |
5Вс + Lб |
5.3.4. Требуемую ширину бассейнов, в которых предусматривается возможность разворота судов, определяют по формулам:
- при одностороннем расположении причалов
В = 2Lc + Вс, (5.2)
- при двустороннем расположении причалов
В = 2Lc + 2Вс, (5.3)
Примечание. Приведенные формулы для определения ширины бассейнов относятся к случаю разворота судов с помощью буксиров.
5.4.1. Размеры акватории, необходимой для отстоя судов на рейде, определяют в зависимости от принятого способа постановки согласно РД 31.3.01.01-93.
5.4.2. В портах с приливными явлениями для производства перегрузочных операций и отстоя судов на рейде предусматривают специальные котлованы, глубина которых больше, чем на остальной акватории. Ширина таких котлованов должна быть равной 3Вс, длина 1,25Lc.
5.5.1. Отсчетный уровень для портовых акваторий (включая устьевые порты) в приливных и неприливных морях принимают по таблице 5.3.
Таблица 5.3
|
Н 50% - Hmin, м |
Обеспеченность % |
|
|
Для морей без приливов |
Для морей с приливами |
|
|
До 1,05 |
До 1,80 |
98 |
|
1,25 |
2,60 |
99 |
|
1,40 и более |
3,00 и более |
99,5 |
|
Примечания. 1. Графики обеспеченности ежедневных уровней воды строятся для портов без приливов по суточным, а для морей с приливами - по ежечасным наблюдениям, на основании соответственно не менее чем десяти- и трехлетних наблюдений за колебанием уровня воды. 2. За минимальный уровень Hmin принимается минимальный годовой уровень повторяемостью один раз в 25 лет. |
||
5.5.2. Во всех проектных материалах, содержащих сведения о глубинах акватории, положение отсчетного уровня указывают относительно принятого в проекте нуля высотной системы, а также относительно нуля глубин, принятого на гидрографических картах данного бассейна.
5.5.3. При разработке проекта портовой, акватории определяют:
Навигационную глубину Нн в метрах, необходимую для безопасного передвижения расчетного судна с заданной скоростью при самых неблагоприятных расчетных условиях, по формуле
(5.4)
где Т - осадка расчетного судна, м;
Zб - минимальный навигационный запас (обеспечивающий безопасность и управляемость судна при движении), м;
Zв - волновой запас (на погружение оконечности судна при волнении), м;
Zс - скоростной запас (на изменение посадки судна на ходу по сравнению с посадкой судна на стоянке при спокойной воде), м;
Zо - запас на крен и дифферент судна вследствие неправильной его загрузки, перемещения груза, а также при циркуляции судна, м.
Проектную глубину Но в метрах по формуле
(5.5)
где Zз - запас на заносимость, м.
5.5.4. В качестве расчетного принимают судно (на прием которого проектируется данный участок акватории), имеющее наибольшую из всех судов осадку по основную летнюю грузовую марку «Л» с поправкой на изменение плотности (солености) воды «Т» по таблице 5.4.
Таблица 5.4
|
Соленость, % |
Т, м |
|
|
1,025 |
32 |
0,000 Т |
|
1,020 |
26 |
+ 0,004 Т |
|
1,015 |
20 |
+ 0,008 Т |
|
1,010 |
13 |
+ 0,012 Т |
|
1,005 |
7 |
+ 0,016 Т |
|
1,000 |
0 |
+ 0,020 Т |
5.5.5. Минимальный навигационный запас Zб определяют по таблице 5.5 в зависимости от осадки судна «Т» и характера грунта.
5.5.6. Волновой запас Zв определяют по таблице 5.6 в зависимости от длины расчетного судна, курса судна относительно направления волнения и высоты волны, повторяемостью один раз в 25 лет по графику распределения высот волн 3 %-ной обеспеченности в системе для открытого со стороны моря сектора.
Таблица 5.5
|
Величина запаса, м |
||
|
на входе в порт и на входном и внешнем рейдах |
на всех прочих участках внутренней акватории |
|
|
Ил |
0,04 Т |
0,03 Т |
|
Наносный грунт (песок заиленный, ракушка, гравий) |
0,05 Т |
0,04 Т |
|
Слежавшийся грунт (плотный песок, глина) |
0,06 Т |
0,05 Т |
|
Скальный грунт (валуны, сцементировавшиеся породы - песчаники, известняки, мел и др.) |
0,07 Т |
0,06 Т |
|
Примечания. 1. Значения навигационного запаса принимаются при толщине слоя указанного грунта ниже навигационной глубины Нн не менее 0,5 м; при меньшей толщине слоя значения Zб должны приниматься в соответствии с подстилающими слой грунтами, если последние более плотные, чем верхние грунты. 2. При неоднородных грунтах в интервале между Нн и (Нн + 0,5), в расчет принимается наиболее плотный грунт. 3. При плотном слежавшемся грунте, грунте с включением валунов и сцементированными породами дноуглубительные работы должны заканчиваться проверкой глубины гидрографическим тралением, о чем необходимо указывать в проектно-сметной документации. 4. У причальных сооружений, под основаниями которых постели из камня выступают от линии кордона на 2 м и более, значение Zб принимается как для скальных грунтов. |
||
Таблица 5.6
В метрах
|
Высота волны |
||||||||
|
0,5 |
1,0 |
1,5 |
2,0 |
2,5 |
3,0 |
3,5 |
4,0 |
|
|
Величина волнового запаса глубины |
||||||||
|
75 |
0,10 |
0,17 |
0,34 |
0,58 |
0,76 |
1,02 |
1,30 |
1,58 |
|
100 |
0,05 |
0,14 |
0,28 |
0,46 |
0,65 |
0,87 |
1,12 |
1,36 |
|
150 |
0,00 |
0,09 |
0,20 |
0,34 |
0,51 |
0,69 |
0,87 |
1,08 |
|
200 |
0,00 |
0,05 |
0,15 |
0,26 |
0,40 |
0,57 |
0,72 |
0,92 |
|
250 |
0,00 |
0,03 |
0,10 |
0,21 |
0,33 |
0,48 |
0,63 |
0,80 |
|
300 |
0,00 |
0,00 |
0,07 |
0,16 |
0,25 |
0,39 |
0,56 |
0,68 |
|
400 |
0,00 |
0,00 |
0,04 |
0,11 |
0,18 |
0,31 |
0,51 |
0,58 |
|
Примечания. 1. График распределения высот волн для акваторий строится с учетом образования проектных глубин, а также рефракции и дифракции волн при построенных сооружениях. 2. Если угол между направлением расчетной волны и диаметральной плоскостью двигающегося (стоящего на якоре) судна составляет 35°, в значения таблицы вводится коэффициент - 1,4; а при угле 90° - 1,7. При углах от 15 до 35° величину коэффициента определяют по интерполяции между 1,0 и 1,4, а при углах от 35 до 90° - интерполяцией между 1,4 и 1,7. 3. Запас для промежуточных значений длины судна принимают по интерполяции. 4. Приведенные значения волнового запаса глубины даны для случаев попутного (встречного) волнения. |
||||||||
5.5.7. Скоростной запас Zc определяют по таблице 5.7.
Таблица 5.7
|
Величина запаса, м |
|
|
3 (1,6) |
0,15 |
|
4 (2,1) |
0,20 |
|
5 (2,6) |
0,25 |
|
6 (3,1) |
0,30 |
|
Примечание. Скоростной запас учитывается для участков акватории, на которых суда передвигаются своим ходом. |
|
5.5.8. Запас на крен и дифферент судна Zo определяют по таблице 5.8.
Таблица 5.8
|
Величина запаса в долях ширины судна, м |
|
|
Танкеры |
0,017 В |
|
Сухогрузные и комбинированные |
0,026 В |
|
Лесовозы |
0,044 В |
5.5.9. Запас Zз на заносимость и засорение внутренней портовой акватории следует принимать в зависимости от ожидаемой интенсивности отложения наносов в период между ремонтными дноуглубительными работами (с учетом засорения акватории сыпучими грузами), но не менее величины, обеспечивающей производительную работу земснаряда, принимаемой равной - 0,4 м.
6.1. ПК универсального назначения с крановой схемой механизации проектируют для перегрузки генеральных грузов крытого и открытого хранения, включая скоропортящиеся, а также лесных, тяжеловесных и навалочных грузов.
6.2. Основными технологическими элементами ПК универсального назначения являются: морской грузовой фронт; грузовые фронты загрузки (разгрузки) подвижного состава смежных видов транспорта; склады.
6.3. Перегрузочное оборудование и число технологических линий данного профиля ПК определяют в соответствии с параметрами, приведенными на схемах механизации (рисунки 6.1 - 6.6).
6.4. На основе выбранных схем механизации ПК разрабатывают технологию перегрузки грузов проектной номенклатуры с установлением по каждому из этих грузов основных нормативных показателей:
комплексная норма выработки докеров, выполняющих работу по конкретной технологической схеме (одной технологической линии), т/смену;
норма выработки одного рабочего комплексной бригады (звена), выполняющего работу по конкретной технологической схеме, т/чел-смену.
6.5. Основные технико-эксплуатационные показатели технологических линий определяют в зависимости от класса груза и схемы механизации согласно РД 31.3.01.01-93, а показатели технического уровня производства и строительных решений - по РД 31.31.48-88.
6.6. Определение параметров ПК производят применительно к каждому перегружаемому роду груза.
6.7. За расчетную единицу морского (речного) грузового фронта принимают причал для приема под обработку одного судна.
6.8. За расчетную единицу железнодорожного фронта принимают железнодорожную грузовую оперативную площадку, предназначенную для приема под обработку одной подачи железнодорожных вагонов.
Железнодорожная грузовая оперативная площадка включает: грузовые пути для размещения железнодорожных вагонов, проходной (маневровый) путь, подъемно-транспортное оборудование, проезды, подкрановые пути, инженерные коммуникации и другие обустройства, необходимые для приема и обработки вагонов.
Величину одной железнодорожной подачи определяют отношением длины грузовых путей к длине вагона или по узловому соглашению с предпортовой станцией. Длину грузовых путей определяют:
длиной крытого склада для грузов, хранимых в крытых складах;
длиной причала (за вычетом стрелочных переводов и противопожарных проездов) для грузов, хранимых на открытых площадках.
6.9. В состав автомобильного грузового фронта входят грузовые оперативные площадки для стоянки и маневрирования автомобилей под погрузкой и разгрузкой, место стоянки автомобилей в ожидании погрузочно-разгрузочных работ, контрольно-пропускной пункт, оснащенный при необходимости весовыми устройствами.
6.10. Проектирование складов ведется в соответствии с разделом 17.
6.11. При проектировании систем пожаротушения и пожарной сигнализации зданий и сооружений, а также в целом ПК универсального назначения необходимо соблюдать СНиП 2.04.09-84. Открытые грузовые оперативные площадки должны быть оборудованы пожарной сигнализацией с установкой ручных извещателей.
Для целей наружного и внутреннего пожаротушения зданий и сооружений комплекса устанавливают систему водоснабжения, в том числе и противопожарного водопровода в соответствии СНиП 2.04.02-84 и СНиП 2.04.01-85.
Обеспечение противопожарной защиты объектов комплекса - по ГОСТ 12.1.004-91 и РД 31.31.54-92.
6.12. Электрооборудование ПК должно удовлетворять требованиям устройства электроустановок и безопасной эксплуатации грузоподъемных кранов.
6.13. Для целей наружного и внутреннего пожаротушения зданий и сооружений комплекса устанавливают систему водоснабжения, в том числе и противопожарного водопровода согласно СНиП 2.04.02-84 и СНиП 2. 04.01-85.
6.14. Проектирование объектов комплексного обслуживания транспортного флота выполняют согласно РД 31.31.37.50-87.
Рисунок 6.1 - СХЕМА МЕХАНИЗАЦИИ № 1.
Перегрузочные комплексы универсального назначения с крановой схемой механизации для генеральных (смешанных) грузов крытого хранения. Применяется при краткосрочном хранении грузов.

Рисунок 6.2 - СХЕМА МЕХАНИЗАЦИИ № 2.
Перегрузочные комплексы универсального назначения с крановой схемой механизации для генеральных (смешанных) грузов преимущественно крытого хранения. Применяется при недостаточной глубине территории ПК и необходимости большой емкости прикордонного склада.

Рисунок 6.3 - СХЕМА МЕХАНИЗАЦИИ N 3.
Перегрузочные комплексы универсального назначения с крановой схемой механизации для грузов открытого хранения металлогрузов, оборудования включая тяжеловесы и т. п.

Рисунок 6.4 - СХЕМА МЕХАНИЗАЦИИ № 4.
Перегрузочные комплексы универсального назначения с крановой схемой механизации дли круглого леса.

Рисунок 6.5 - СХЕМА МЕХАНИЗАЦИИ № 5.
Специализированные перегрузочные комплексы для экспортных пиломатериалов, подлежащих крытому хранению, при переработке в пакетах.

Рисунок 6.6 - СХЕМА МЕХАНИЗАЦИИ № 6.
Перегрузочные комплексы универсального назначения с крановой схемой механизации для навалочных грузов открытого хранения: угля, руды и т. п., поступающих в порт водным транспортом судами дедвейтом до 25000 т и отгружаемых на железную дорогу, при грузообороте до 1200 - 1400 тыс. т в год.
7.1. Основными технологическими элементами ПК являются: морской грузовой фронт-причал с береговой галереей и судоразгрузочными либо судопогрузочными машинами в зависимости от специализации ПК; железнодорожный грузовой фронт со станцией погрузки или разгрузки вагонов; железнодорожные пути с устройствами для подачи и уборки вагонов; размораживающее или другое устройство для восстановления сыпучести груза; узел загрузки/разгрузки автотранспорта; склад для накопления и краткосрочного хранения груза; центральный пульт управления; блок служебно-бытовых помещений.
7.2. Основные схемы механизации и типы оборудования, используемые на причальном и тыловом фронтах ПК для навалочных грузов, приведены на рисунках 7.1 - 7.3.
В проекте должна быть показана целесообразность использования в данных конкретных условиях одной из рекомендуемых схем либо разработаны иные схемы.
7.3. Транспортные характеристики навалочных грузов, влияющие на выбор технологического оборудования ПК, а также требования к основному и вспомогательному оборудованию, системам управления и сигнализации приведены в РД 31.3.01.01-93.
7.4. Технический уровень принятых в проекте решений должен определяться в соответствии с РД 31.31.48-88.
7.5. Расчеты основных параметров ПК должны выполняться с использованием результатов решения задач оптимизации технологических процессов.
Оптимизация основных параметров ПК производится с целью определения производительности технологических линий, вместимости склада и выбора схемы механизации.
7.6. На предпроектных стадиях и для предварительных расчетов величину интенсивности погрузочно-разгрузочных работ определяют в зависимости от выбранной схемы механизации как произведение средневзвешенной производительности на число технологических линий. Расчетная величина интенсивности грузовых работ не должна быть меньше соответствующей величины, указанной в РД 31.31.48-88.
7.7. Вместимость склада является одним из оптимизируемых параметров. В качестве критерия используют величину простоя судов у причала в ожидании обработки.
Рисунок 7.1 - СХЕМА МЕХАНИЗАЦИИ № 1.
Специализированные перегрузочные комплексы для выгрузки навалочных грузов открытого хранения угля, руды и т. п. при грузообороте от 3,0 до 10,0 млн. т/г.

Рисунок 7.2 - СХЕМА МЕХАНИЗАЦИИ № 2.
Специализированные перегрузочные комплексы для выгрузки навалочных грузов крытого хранения химических грузов, концентратов и т. п., грузооборот от 1,2 до 3,0 млн. т/г.

Рисунок 7.3 - СХЕМА МЕХАНИЗАЦИИ № 3.
Специализированные комплексы для зерна, поступающего в порт водным и отправляемого железнодорожным транспортом, грузооборот 2,0 млн. т/г.
8.1.1. Наиболее распространенные схемы механизации и типы оборудования, используемые на причальном и тыловых фронтах и сортировочной площади приведены на рисунках 8.1 - 8.8.
8.1.2. В зависимости от объема контейнеров с опасными химическими грузами на комплексе следует предусмотреть специальные площадки с обеспечением очистки, промывки контейнеров, утилизации россыпи, фумигации грузов в контейнерах.
Площадки для мойки контейнеров должны быть оборудованы средствами водоснабжения и канализации. Устройство водоснабжения и канализации на территории комплекса следует производить в соответствии с требованиями безопасности труда по РД 31.82.01-95 и санитарными нормами - по СанПиН 4962-89.
8.2.1. Количество причалов в зависимости от величины грузооборота и типа судна-контейнеровоза следует принимать по таблице 8.1.
Таблица 8.1
|
Тип судна - максимальное средневзвешенное |
||||||||
|
|
|
|
||||||
|
Годовой грузооборот, тыс. конт./г |
20-40 |
40-80 |
30-70 |
70-160 |
160-230 |
40-100 |
100-190 |
190-300 |
|
Количество причалов, ед. |
1 |
2 |
1 |
2 |
3 |
1 |
2 |
3-4 |
8.2.2. Время обработки расчетного судна Тгр.м в часах определяют по формуле
(8.1)
где Д - контейнеровместимость судна, ед;
Ким - коэффициент использования вместимости судна-контейнеровоза, принимают равным 0,85;
Мм - интенсивность грузовых работ (чистая) в контейнерах в час, определяют по формуле
Мм = Рлм · Nлм, (8.2).
где Рлм - эксплуатационная производительность технологической линии, конт./ч;
Nлм - среднее расчетное число линий, принимают по таблице 8.2.
Таблица 8.2
|
Среднее число линий, Nлм |
|
|
СК-300-400 |
1,4 |
|
СК-700 |
1,8 |
|
СК-1200-1400 |
1,9 |
|
СК-1800-2500 |
2,5-2,7 |
8.2.3. Среднее расчетное время занятости грузового причала под производственными стоянками расчетного судна принимают по таблице 8.3.
Таблица 8.3
|
Дедвейт судна, т |
Весенне-летний период |
Осенне-зимний период |
|||
|
погрузка, ч |
выгрузка, ч |
погрузка, ч |
выгрузка, ч |
||
|
Загранплавание и большой каботаж |
До 1500 |
4,0 |
1,5 |
4,5 |
2,5 |
|
1501-3000 |
4,0 |
1,5 |
4,5 |
2,5 |
|
|
3001-5000 |
4,5 |
1,5 |
4,5 |
2,5 |
|
|
5001-8000 |
5,0 |
2,0 |
5,0 |
3,0 |
|
|
8001-12000 |
5,0 |
2,0 |
5,5 |
3,5 |
|
|
12001-16000 |
6,0 |
2,5 |
6,0 |
2,5 |
|
|
Более 16000 |
6,0 |
3,0 |
6,5 |
4,5 |
|
|
Малый каботаж |
До 1500 |
3,0 |
1,0 |
3,5 |
1,5 |
|
1501-3000 |
3,0 |
1,0 |
3,5 |
1,5 |
|
|
3001-5000 |
3,0 |
1,0 |
3,5 |
1,5 |
|
|
5001-8000 |
3,5 |
1,5 |
4,0 |
1,5 |
|
|
8001-12000 |
3,5 |
1,5 |
4,0 |
1,5 |
|
|
Более 12000 |
3,5 |
1,5 |
4,0 |
2,0 |
|
8.2.4. Техническую производительность технологической линии «причальный фронт - сортировочная площадь» принимают по паспортным данным конкретных перегрузочных машин либо по рекомендуемым значениям:
- причальный контейнерный перегружатель для судов
вместимостью до 400 контейнеров - 25 - 30 конт./ч;
- причальный контейнерный перегружатель для судов
вместимостью до 1400 контейнеров - 28 - 32 конт./ч;
- причальный контейнерный перегружатель для судов
вместимостью до 2500 контейнеров - 30 - 50 конт./ч.
При использовании сложного цикла (перенос груза в двух направлениях за один цикл работы причального контейнерного перегружателя) для погрузки-разгрузки трюмов техническая производительность линии возрастает на 10 %.
8.2.5. Техническая производительность портальных контейнерных погрузчиков и портовых тягачей с полуприцепами в зависимости от мощности комплекса для судов-контейнеровозов вместимостью от 300 до 2500 контейнеров для одного причала приведена в таблице 8.4.
Таблица 8.4
|
Техническая производительность машин, конт./ч |
||||
|
вместимость судов, конт. ДФЭ |
||||
|
300-400 |
700 |
1200 - 1400 |
1800 - 2500 |
|
|
Портальный контейнерный погрузчик |
15 |
14 |
12 |
11 |
|
Портовый тягач с полуприцепом |
13 |
12 |
11 |
10 |
8.2.6. При трех и более причалах число машин, определенное в проекте, умножают на коэффициент смежности, равный 0,7 - 0,8.
8.3.1. Количество машин технологической линии «тыловой фронт - сортировочная площадь» для погрузки-разгрузки автомобилей-контейнеровозов, складских и транспортных работ от сортировочной площади и обратно определяют при проектировании исходя из необходимости обеспечения бесперебойной обработки автомобилей-контейнеровозов и складских работ на сортировочной площади.
8.3.2. Погрузку-разгрузку автомобилей-контейнеровозов производят подъемно-транспортными машинами из числа используемых для складских работ на сортировочной площади.
При использовании на сортировочной площади козловых контейнерных (пневмоколесных) кранов и козловых контейнерных перегружателей обработку автомобилей-контейнеровозов производят на любых оперативных площадках сортировочной площади.
В случае применения портальных контейнерных погрузчиков, при погрузке-разгрузке автомобилей-контейнеровозов должна быть предусмотрена площадка при въезде на комплекс.
8.3.3. Прием, осмотр и взвешивание контейнеров, прибывающих автомобильным транспортом, производят на контрольно-пропускном пункте, оборудованном весами, при въезде на комплекс.
8.3.4. В расчетах пропускную способность весов следует принимать равной 25 конт./ч.
Время на оформление приемки-передачи контейнера следует принимать равным 3 мин.
8.3.5. При расчете эксплуатационной производительности линии необходимо учитывать коэффициент снижения производительности из-за взвешивания на весах, равный 0,9.
8.3.6. Длину грузовой площадки для обработки одного автомобиля-контейнеровоза принимают равной 16 м, ширину - 4м.
8.3.7. Количество грузовых площадок определяют в зависимости от грузооборота тылового автомобильного фронта, исходя из суточной интенсивности одной площадки, принимаемой равной 70 конт./сут. Число технологических линий принимают равным количеству грузовых площадок.
8.4.1. Компоновку ПК выполняют с привязкой к конкретным условиям комплекса и с использованием рекомендуемых схем механизации:
- схема механизации № 1 - с портальными погрузчиками (рисунки 8.1 - 8.4);
- схема механизации № 2 - с пневмоколесными кранами (рисунки 8.5 - 8.6);
- схема механизации № 3 - с козловыми перегружателями на рельсовом ходу (рисунки 8.7 - 8.8).
8.4.2. На комплексе должна быть выполнена разметка территории:
- полосы и направления движения автотранспорта и подъемно-транспортных машин, участвующих в технологическом процессе, а также места их стоянки;
- места установки контейнеров;
- пешеходные дорожки.
8.4.3. Для решения задач автоматизации погрузочно-разгрузочных работ на судах-контейнеровозах ячеистой конструкции на комплексе должен быть предусмотрен информационно-вычислительный центр (ИВЦ).
ИВЦ может быть размещен в блоке служебных помещений либо других, расположенных вблизи ПК, зданиях.
Проектирование ИВЦ комплекса - по РД 31.30.09-90.
8.4.4. На сортировочной площади под одной из консолей козлового контейнерного перегружателя предусматривают двухрядный проезд для тягачей с полуприцепами. Один из рядов используют только для проезда, а второй - для грузовых работ.
Допускается располагать грузовую полосу и рабочий проезд тягачей с полуприцепами под консолями козлового контейнерного перегружателя либо под порталом.
8.4.5. При проектировании специализированных комплексов для контейнеров должны быть соблюдены противопожарные требования - по СНиП 21.01-97, СНиП 2.09.02-85 и по РД 31.31.54 -92.
Противопожарные разрывы между зданиями, размещаемыми на территории комплекса, следует принимать по СНиП 11-89-80. На территорию комплекса должно быть не менее двух въездов.
Открытые контейнерные площадки должны быть оборудованы установками пожарной сигнализации с ручными пожарными извещателями, имеющими вывод тревожного сигнала в диспетчерскую комплекса. Размещение ручных пожарных извещателей - по СНиП 2.04.09-84.
Для целей наружного пожаротушения на комплексе необходимо предусмотреть систему водоснабжения по СНиП 2.04.02-84.
Расход воды на наружное пожаротушение открытых площадок хранения контейнеров с грузами при количестве контейнеров свыше 1000 единиц принимают не менее 50 л/с.
Водопроводные сети на этих площадках должны быть кольцевые. Пожарные гидранты располагают вдоль автомобильных проездов, трасс движения портальных погрузчиков, тягачей с полуприцепами на расстоянии не более 2,5 м от проезжей части, но не ближе 5 м от стен зданий.
Рисунок 8.1 - Схема механизации № 1 с портальными погрузчиками и размещением контейнеров перпендикулярно линии кордона. План.

Рисунок 8.2 - Схема механизации № 1 с портальными погрузчиками и размещением контейнеров перпендикулярно линии кордона. Разрезы.

Рисунок 8.3 - Схема механизации № 1 с портальными погрузчиками и размещением контейнеров параллельно линии кордона. План.

Рисунок 8.4 - Схема механизации № 1 с портальными погрузчиками и размещением контейнеров параллельно линии кордона. Разрезы.
Рисунок 8.5 - Схема механизации № 2 с пневмоколесными кранами План.

Рисунок 8.6 - Схема механизации № 2 с пневмоколесными кранами. Разрезы.
Рисунок 8.7 - Схема механизации № 3 с козловыми перегружателями на рельсовом ходу. План.

Рисунок 8.8 - Схема механизации № 3 с козловыми перегружателями на рельсовом ходу. Разрезы.
9.1.1. В зависимости от групп грузов, перегружаемых на комплексе, а также от способа обработки судна (горизонтальный или горизонтально-вертикальный) на грузовых фронтах используются схемы механизации, приведенные на рисунках 9.1 - 9.6.
9.1.2. Расчетную интенсивность погрузочно-разгрузочных работ определяют согласно РД 31.3.01.01-93, она должна быть не менее 8,8 тыс. т/ сутки (РД 31.31.48-88).
9.2.1. Для комплекса, рассчитанного на обработку судна с прямой аппарелью, длину причального фронта Lм в метрах определяют по формуле
Lм = Lпр + Lмп, (9.1)
где Lпр - длина причала, м;
Lмп - длина площадки для приема и обработки судна с прямой аппарелью, м
(9.2)
Lтп - длина магистрального тягача с полуприцепом, равная 15,3 м;
Lo - длина участка опирания аппарели на площадку (определяется в зависимости от расчетного типа судна), м.
Для судна с угловой аппарелью Lм = Lпр.
9.2.2. Для судов с угловой аппарелью ширина причального фронта Вм = Впр, где Впр - ширина причала, м.
Для судов с прямой аппарелью ширину причального фронта определяют по формуле
Вм = Впр + Вмп, (9.3)
где Вмп - ширина площадки для приема и обработки судна с прямой аппарелью, м.
(9.4)
где Вс - ширина судна, м;
DС - расстояние между бортом судна и причалом, принимают равным 1 - 1,5 м.
9.2.3. Среднее время занятости причала производственными стоянками для расчетного судна в часах определяют по таблице 9.1.
Таблица 9.1
|
Дедвейт судна, т |
Весенне-летний период |
Осенне-зимний период |
|||
|
погрузка |
выгрузка |
погрузка |
выгрузка |
||
|
Заграничное и большой каботаж |
до 1500 |
4,0 |
1,5 |
4,5 |
2,5 |
|
1501 - 3000 |
4,0 |
1,5 |
4,5 |
2,5 |
|
|
3001 - 5000 |
4,5 |
1,5 |
4,5 |
2,5 |
|
|
5001 - 8000 |
5,0 |
2,0 |
5,0 |
3,0 |
|
|
8001 - 12000 |
5,0 |
2,0 |
5,5 |
3,5 |
|
|
12001 - 16000 |
6,0 |
2,5 |
6,0 |
4,0 |
|
|
более 16000 |
6,0 |
3,0 |
6,5 |
4,5 |
|
|
Малый каботаж |
до 1500 |
3,0 |
1,0 |
3,5 |
1,5 |
|
1501 - 3000 |
3,0 |
1,0 |
3,5 |
1,5 |
|
|
3001 - 5000 |
3,0 |
1,0 |
3,5 |
1,5 |
|
|
5001 - 8000 |
3,5 |
1,5 |
4,0 |
1,5 |
|
|
8001 - 12000 |
3,5 |
1,5 |
4,0 |
1,5 |
|
|
более 12000 |
3,5 |
1,5 |
4,0 |
2,0 |
|
|
Примечание. В нормы таблицы включена продолжительность операций, которые не могут быть совмещены со временем грузовых работ или другими операциями: швартовка с маневрами, отшвартовка с маневрами, перестановка от причала к причалу, оформление прихода, отхода, оформление грузовых документов. |
|||||
9.3.1. Прием, осмотр и взвешивание самоходных шасси с УГЕ, проходящих через порт транзитом, а также магистральных автомобилей с контейнерами производится на оборудованном весами контрольно-пропускном пункте при въезде на ПК.
9.3.2. В расчетах пропускную способность весов принимают равной 25 ед/ч. Время на оформление приемки-передачи контейнеров и УГЕ принимают равным 3 мин.
9.4.1. Сортировочная площадь может состоять из нескольких типов площадок:
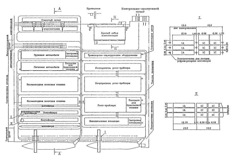
- тип I - для складирования контейнеров IA, IC (устанавливаемых в штабель до 3-х ярусов портальными погрузчиками);
- тип II - для складирования контейнеров с помощью козлового крана;
- тип III - для складирования контейнеров IC, устанавливаемых в штабель фронтальными погрузчиками, ярусность определяется в проекте в зависимости от характеристики выбранного фронтального погрузчика (не более 5 ярусов);
- тип IV - для складирования магистральных полуприцепов IA, IC с тягачами;
- тип V - для складирования самоходных автомобилей и несамоходной колесной техники шириной до 2,75 м;
- тип VI - для складирования низкорамных полуприцепов (ролл-трейлеров).
9.4.2. Площадь удельной территории Fт, занимаемая одной УГЕ на сортировочной площади, определяется с учетом типа штабеля, числа ярусов укладки, типа УГЕ, длины ряда и применяемых машин.
кв. м (9.5)
ед, (9.6)
где: Lбш., Вбш - длина и ширина брутто штабеля (с прилегающими проездами), м;
Nш - количество УГЕ в штабеле, ед;
m - количество УГЕ, уложенных по ширине штабеля, ед;
n - количество УГЕ, уложенных по длине штабеля, ед;
р - среднее число ярусов УГЕ в штабеле, ед.
l, b, D, s - длина, ширина УГЕ, торцевые и боковые зазоры;
Врп - ширина рабочего проезда, м;
Вмп - ширина магистрального проезда, прилегающего к штабелю, м (расчетные значения перечисленных величин приведены в табл. 9.2).
9.4.3. Вместимость площадок для каждого i-го груза сортировочной площади Ei определяется по формуле
ед (9.7)
где Ai - доля i-го груза, загруженного на судно;
Дi - средневзвешенная загрузка расчетного судна, ед;
t - расчетное время хранения груза,
сут. (9.8)
Ти - интервал между подходами расчетных типов судов, сут.
(9.9)
где Дм - средневзвешенная загрузка расчетного судна, т;
Qмес - расчетный грузооборот комплекса в месяц наибольшей работы (т/мес).
Общая вместимость складских площадок Е, специализированных на i-ом типе УГЕ, определяется по формуле
(9.10)
где Ei - вместимость площадок комплекса для i-го груза ед;
Aj - доля судов j-го типа.
9.4.4. Параметры штабеля (площадки) представлены в таблице 9.2.
Таблица 9.2
|
Параметры штабеля, м |
Тип складской машины |
||||||||
|
длина УГЕ, l |
ширина УГЕ b |
зазоры |
ширина проезда |
длина штабеля Lбш |
ширина штабеля Вбш |
||||
|
торцевые D |
боковые s |
Впр |
Вмп |
||||||
|
Штабель типа I |
|||||||||
|
п1 = 4/8* |
Портальный погрузчик |
||||||||
|
Контейнеры |
6,06 |
2,44 |
0,33 |
1,40 - 1,60 |
19,00 |
26,00 |
25,24/50,48* |
3,84·ml |
|
|
Штабель типа II |
Тягач специальный портовый |
||||||||
|
Контейнеры |
6,06 |
2,44 |
0,30 - 0,54 |
0,36 - 0,56 |
17,00 |
14,00 |
-** |
-** |
|
|
Штабель типа III |
Фронтальный погрузчик |
||||||||
|
Контейнеры, п3 = 2/4* |
6,06 |
2,44 |
0,30-0,54 |
0,36-0,54 |
14,00 |
22,00 |
5,38/10,76 |
6,36·m3 |
|
|
Штабель типа IV |
|||||||||
|
п4 = 2/4* |
Тягач магистральный |
||||||||
|
Полуприцепы магистральные с тягачами |
15,30 |
2,60 |
0,30 |
0,70 |
22,00 |
14,00 |
32,14/64,28 |
3,30·m4 |
|
|
Штабель типа V |
|||||||||
|
п5 = 14 |
|||||||||
|
Легковые автомобили «Жигули», «Москвич» |
4,16 |
1,55 |
0,30 |
0,70-0,80 |
8,00 |
8,00 |
62,00 |
2,15 |
Своим ходом |
|
Грузовые автомобили |
6,67 |
2,50 |
0,30 |
0,80 |
12,00 |
12,00 |
62,00 |
3,20·m5 |
Тягач специальный |
|
ЗИЛ-130 |
6,67 |
2,50 |
0,30 |
0,80 |
16,00 |
12,00 |
62,00 |
3,20·m5 |
|
|
Несамоходная колесная техника |
3,81--3,93 |
До 2,75 |
0,2-0,3 |
0,70-0,80 |
18,00 |
12,00 |
62,00 |
3,20·m5 |
Тягач с буксиром |
|
Штабель типа VI |
|||||||||
|
п6 = 4/8 |
|||||||||
|
Полуприцепы магистральные (ролл-трейлеры) |
6,15 |
2,60 |
0,30 |
0,70 |
19,00 |
14,00 |
25,6/51,2 |
3,20·m5 |
Тягач магистральный |
|
* В числителе приведено количество грузовых единиц, уложенных по длине штабеля, следующих с моря; в знаменателе - подлежащих отправке на море. ** Размеры штабеля определяются в проекте в зависимости от параметров козлового крана. |
|||||||||
9.4.5. Площадки для складирования самоходной колесной техники (легковые, грузовые автомобили, дорожная техника) ограждают по периметру и оборудуют охранной сигнализацией, а в отдельных случаях - аппаратами промышленного телевидения с передачей изображения на экраны мониторов, устанавливаемых в помещениях караульной службы либо в диспетчерской.
9.4.6. Аппараты промышленного телевидения устанавливают в случае размещения на складе свыше 250 единиц колесной техники и протяженности ограждения свыше 200 метров в одном направлении.
9.5.1. Фронт неукрупненных грузов открытого хранения содержит в своем составе:
- железнодорожную площадку;
- автомобильную площадку;
- площадку комплектации и раскомплектации УГЕ;
- открытый склад.
9.5.2. Общую ширину фронта Вног в метрах, в случае применения козловых кранов, определяют по формуле
(9.11)
где dт - полоса для установки автомобилей под обработку, равная 10 м;
Dа - габариты приближения автотранспорта к оси подкранового рельса, равные 2 м;
Кк - колея крана (определяется при проектировании), м;
d - полоса для комплектации и раскомплектации УГЕ, равная 13 м;
bа - ширина проезда на автомобильной площадке, равная 21,0 м;
bк - ширина проезда на площадке комплектации, равная 19,0 м.
Ширину открытого склада комплектации в метрах определяют по формуле
(9.12)
где Вж - ширина железнодорожной площадки, зависящая от количества железнодорожных путей, м;
Dг - габарит приближения штабеля груза к оси подкранового рельса, равный 2 м.
9.5.3. В случае применения на фронте НОГ портальных кранов в две линии общую ширину фронта Вног в метрах определяют по формуле
(9.13)
Ширину открытого склада комплектации Воc в метрах в этом случае определяют по формуле
(9.14)
где Rmax - максимальный вылет стрелы портального крана, м.
9.5.4. Общая длина фронта НОГ включает длину железнодорожной площадки, а также ширину двух боковых проездов.
9.5.5. Вместимость открытого склада комплектации определяют в зависимости от грузооборота, проходящего через склад, согласно РД 31.3.01.01-93.
9.5.6. Площадь открытого склада комплектации Пос в квадратных метрах определяют по формуле
(9.15)
где Еос - вместимость открытого склада, т;
q - техническая нагрузка от складируемого груза, 4,0 тс/кв. м;
Ки - коэффициент использования площади открытых складов: в зоне действия портальных кранов и перегружателей - 0,8; вне зоны действия портальных кранов и перегружателей - 0,7.
9.5.7. Количество технологических линий для обработки вагонов, автомобилей (nожа) и УГЕ (nок) принимают в зависимости от объема груза, проходящего через фронт НОГ, по таблице 9.3.
Таблица 9.3
|
Объем груза, проходящего через фронт НОГ, тыс. т/г |
|||||||||
|
до 159 |
160-229 |
230-309 |
310-389 |
390-459 |
460-539 |
540-619 |
620-699 |
700-780 |
|
|
noжа |
1 |
2 |
2 |
3 |
4 |
4 |
5 |
5 |
6 |
|
noк |
2 |
2 |
3 |
3 |
4 |
5 |
5 |
6 |
6 |
9.5.8. Количество портальных и козловых кранов Ппо в единицах на фронте НОГ по каждой площадке (железнодорожно-автомобильной, комплектации и раскомплектации) и открытому складу определяют по формуле
(9.16)
где По - количество технологических линий на одной площадке фронта НОГ, ед;
Пк - количество кранов в технологической линии на одной площадке фронта НОГ, ед;
Квп - коэффициент, учитывающий затраты времени на ремонт, 1,15;
Кто - коэффициент, учитывающий необходимость подготовки кранов к перегрузке различных грузов, 1,1;
Ксм - коэффициент сменности, учитывающий снижение потребности в кранах, работающих на одном и том же грузовом фронте, 0,8.
9.5.9. Количество машин Ппо, занятых на транспортировке УГЕ от площадки комплектации и раскомплектации до сортировочной площади и обратно, определяют по формуле
ед. (9.17)
где Плок - число линий комплектации и раскомплектации УГЕ на площадке комплектации-раскомплектации, ед;
Рк - эксплуатационная производительность портального крана (козлового крана) на площадке комплектации-раскомплектации, т/ч;
Рт - эксплуатационная производительность тягачей, т/ч.
9.6.1. Компоновку ПК следует выполнять с привязкой к конкретным условиям комплекса с использованием трех рекомендуемых схем механизации:
- схема механизации № 1 - с использованием тягачей с полуприцепами (рисунки 9.1 - 9.2);
- схема механизации № 2 - с фронтальными погрузчиками (рисунки 9.3 - 9.4);
- схема механизации № 3 - с портальными погрузчиками (рисунки 9.5 - 9.6).
9.6.2. Открытый склад, как правило, располагают за причальным фронтом и предназначают для складирования контейнеров и подвижной техники.
Контейнеры и подвижную технику устанавливают в штабели прямоугольной формы параллельно линии кордона.
На складе необходимо предусмотреть накопительную площадку для подготовки подвижной техники к погрузке на судно, а также площадку для хранения бракованной техники и смотровую площадку.
9.6.3. Для целей наружного пожаротушения на комплексе следует предусмотреть систему пожарного водоснабжения - по СНиП 2.04.02-84
9.6.4. Характер грузов и погрузочно-разгрузочных работ не требуют разработки мероприятий по охране окружающей среды, кроме определения ПДВ в атмосферу от работающих на комплексе погрузчиков и тягачей.
Примечание. Требования к тыловому железнодорожному фронту для контейнеров и подвижной техники приведены в разделе 16.
Рисунок 9.1 - Схема механизации № 1 с использованием тягачей с полуприцепами. План.

Рисунок 9.2 - Схема механизации № 1 с использованием тягачей с полуприцепами Разрезы.
Рисунок 9.3 - Схема механизации № 2 с использованием фронтальных погрузчиков. План.

Рисунок 9.4 - Схема механизации № 2 с использованием фронтальных погрузчиков. Разрезы.
Рисунок 9.5 - Схема механизации № 3 с использованием портальных погрузчиков.

Рисунок 9.6 - Схема механизации № 3 с использованием портальных погрузчиков. Разрезы.
10.1.1. Для осуществления операций с нефтью и нефтепродуктами на ПК должны быть предусмотрены следующие системы и обустройства:
- система грузовых трубопроводов;
- система трубопроводов для приема с судов балластных вод и передачи их на береговые очистные сооружения (станции очистки балластных вод - СОБВ);
- система бункеровочных трубопроводов и раздаточные устройства для выдачи на суда бункеровочного топлива, масел, пресной воды;
- устройства для соединения береговых и судовых трубопроводов;
- запорная арматура (задвижки, обратные клапаны, вентили);
- контрольно-измерительные приборы, в том числе автоматические пробоотборники;
- система автоматизированного управления технологическим процессом с операторским пунктом;
- устройства телефонной связи с судном и взаимодействующими береговыми объектами;
- устройства для сбора и удаления пролитого груза и загрязненных нефтью вод;
- устройства для швартовных операций, подачи на суда предметов материально-технического снабжения и других вспомогательных операций;
- устройства пожаротушения и пожарной сигнализации в соответствие с требованиями ВСН 12-87;
- устройства для снятия статического электричества.
10.1.2. В составе ПК могут предусматриваться сооружения для налива плавбункеровщиков и приема судов-сборщиков льяльных и фекальных вод.
10.1.3. Компоновку систем и обустройств следует выполнять таким образом, чтобы все операции по наливу или сливу нефтяных грузов, а также по приему балластных и льяльных вод и снабжению танкера осуществлялись без его перестановки.
10.1.4. Система грузовых, бункеровочных и балластных трубопроводов должна максимально обеспечивать взаимозаменяемости причалов и трубопроводов с учетом раздельного слива и налива нефтяных грузов при сохранности их качества в соответствии с требованиями ВНТП 5-95.
10.1.5. На оперативных площадках нефтяных причалов наземную укладку трубопроводов следует выполнять в один ряд по высоте, в соответствии с СН 527-80.
В районе задвижек необходимо устраивать площадки для их обслуживания.
При соответствующем обосновании укладка трубопроводов до подхода к оперативным площадкам нефтяных причалов может быть подземной (в том числе в потернах) и наземной.
Укладку грузовых и бункеровочных трубопроводов допускается производить непосредственно по балкам (ригелям) верхнего строения причала без устройства сплошных плит, за исключением мест расположения осевых компенсаторов и разъемных стыков с применением уплотнений (сальников, прокладок и др.).
При подземной прокладке выход трубопроводов на поверхность, а при наземной прокладке спуск трубопроводов в наземную однорядовую прокладку на причале следует выполнять в районе оперативной площадки нефтяного причала с таким расчетом, чтобы между линией присоединительных устройств и началом наземной однорядной укладки иметь возможность разместить всю арматуру, соединения трубопроводов (обвязку), контрольно-измерительные приборы и другие обустройства.
10.1.6. При устройстве общей магистрали балластной воды, объединяющей группу причалов и связывающей их со станцией очистки балластных вод, пропускная способность ее должна обеспечить выкачку балластной воды, сливаемой одновременно с нескольких танкеров, без снижения интенсивности выкачки.
При этом в случае одновременного слива балласта с нескольких танкеров насосными установками разных характеристик должны быть предусмотрены меры, исключающие возможность перелива балластной воды из одного танкера в другой.
10.1.7. Для соединения береговых и судовых трубопроводов применяют автоматизированные системы обработки наливных судов (стендеры).
Количество стендеров назначают в соответствии с ассортиментом наливных грузов, пропускной способностью стендеров и судо-часовыми нормами налива-слива с учетом совмещения операций.
Основные совмещаемые операции:
а) слив балласта, налив нефтяных грузов (двух-трех видов, допускаемых к одновременной перевозке на танкерах), бункеровка;
б) слив нефтяных грузов, бункеровка.
10.1.8. Специализацию и взаимное расположение стендеров, а также их размещение (расстояние от кордона, расстояние между соседними стендерами) необходимо определять при соблюдении требований обработки танкера без дополнительной его передвижки (рисунок 10.1).
Размещение стендеров на причале должно обеспечивать удобство их эксплуатации, монтажа и демонтажа, а также исключать возможность их повреждения при навале обрабатываемого судна.
Примечания.
1. Размер «А» (рисунок 10.1) - расстояние стендера от линии кордона должно быть не менее 3 м для стендеров АС-250 и не менее 4 м для стендеров АС-350.
2. Размер «В» (рисунок 10.1) - расстояние между стендерами.
Для стендеров типа АС-250 и АС-350 максимальные углы поворота в горизонтальной плоскости в зависимости от расстояния между ними показаны соответственно в таблицах 10.1 и 10.2.
Таблица 10.1
|
2,0 |
2,5 |
3,0 |
3,5 |
4,0 |
|
|
угол поворота, град |
33 |
43 |
50 |
55 |
59 |
|
угол поворота, град |
38 |
46 |
56 |
58 |
63 |
Таблица 10.2
|
Расстояние В между стендерами, м |
3,0 |
3,5 |
4,0 |
4,5 |
5,0 |
|
угол поворота, град |
46 |
54 |
59 |
58 |
58 |
|
угол поворота, град |
43 |
44 |
50 |
54 |
56 |
10.1.9. Конструкция стендеров и система трубопроводов, связывающих их (манифольд), должны предусматривать возможность их опорожнения, промывки и передачи загрязненных нефтью вод на береговые очистные сооружения.
Рисунок 10.1 - Схема совмещения зон обслуживания стендеров с зоной расположения судовых приемно-отливных патрубков.
10.1.10. В составе контрольно-измерительных приборов должны быть предусмотрены счетчики, обеспечивающие учет количества наливаемого (сливаемого) груза и бункеровочного топлива на каждое судно.
10.1.11. Система автоматизированного управления производственными процессами, включая операцию дебалластировки, должна быть предусмотрена во взаимодействии с соответствующими судовыми системами.
Для приема на берег производственных сигналов и команд (предупредительных, разрешающих, аварийных и др.) с оборудованных соответствующими устройствами судов необходимо предусмотреть единую контрольную цепь «судно-берег» с разъемными устройствами.
Во всех случаях следует предусмотреть:
- блокирующие устройства, автоматически прекращающие перегрузку нефтяных грузов при разрыве соединения стендера или в других аварийных случаях;
- дублирующее местное управление электрифицированным оборудованием.
10.1.12. На причалах должна быть предусмотрена производственно-дождевая канализация с устройством сборника для последующей передачи загрязненных вод на СОБВ либо другие очистные сооружения. Емкость сборника следует определять в проекте исходя из возможного объема пролива нефтяного груза, определяемого из условия ручного управления отсекающими задвижками.
Верхнее покрытие нефтяного причала должно быть устроено с учетом стока пролитых нефтепродуктов и атмосферных осадков в колодцы производственно-дождевой канализации.
10.1.13. Все оборудование, устанавливаемое на причалах, должно предусматриваться во взрыво- и пожаробезопасном исполнении.
Причалы должны быть оборудованы специальными приспособлениями, обеспечивающими надежное заземление всех трубопроводов и стоящих у причалов танкеров в соответствии с действующими нормами и правилами.
10.1.14. На причалах должен быть свободный проход и доступ ко всему оборудованию, приборам и устройствам, а также устроен пожарный подъезд, который совмещают с проездом для транспорта, доставляющего к танкерам грузы материально-технического и продовольственного снабжения.
10.1.15. При проектировании ПК для нефти и нефтепродуктов необходимо предусмотреть систему автоматической противопожарной защиты (САПЗ) по ВСН 12-87.
Пожарные автоматические извещатели размещаются на технологической площади на расстоянии не более 6 м, а извещатели ручного действия устанавливаются по периметру причального сооружения с интервалом не более 100 м. Сеть пожарного водопровода должна обеспечить расход воды на наружное и внутреннее пожаротушение сооружений комплекса не менее 50 л/с и подачу воды на водяную завесу, превышающую не менее чем на 3 м грузовую палубу расчетного танкера в начале налива. На технологической площадке причала предусматривают установку стационарных пеногенераторов для подачи пены на всю площадь технологической площадки, но не менее, на 500 кв. м. Расчетное время работы установки по тушению пожара следует принимать равным 10 мин., а запас пенообразователя и воды на приготовление раствора пенообразователя - из условия обеспечения трехкратного расхода раствора.
В соответствии с требованиями СНиП 2.11.03-93 и «Правил перевозки нефти и нефтепродуктов танкерами морского флота» на перегрузочном комплексе должны быть предусмотрены проезды для пожарных автомобилей шириной 4,5 м, а также площадки для их разворота 12×12 м, в том числе для размещения на них не менее двух пожарных автомобилей для забора морской воды из акватории порта и подачи ее к месту очага пожара.
Комплекс должен быть обеспечен пожарным катером для оперативного дежурства с установками пожаротушения с целью своевременной локализации возможного возгорания как на танкере, так и на причале.
10.1.16. Мероприятия по охране окружающей природной среды на ПК для нефти и нефтепродуктов должны разрабатываться в соответствии с ВНТП 5-95.
10.1.17. Противоаварийные мероприятия по ликвидации аварийных разливов нефти разрабатывают в соответствии с РД 31.04.01-90 и Правилами охраны поверхностных вод.
10.2.1. При компоновке наливного причала, включая подходные и соединительные эстакады, для перегрузки агрессивных или ядовитых жидких продуктов, прокладку грузовых трубопроводов следует производить с учетом максимально возможной температурной самокомпенсации. Применение сальниковых компенсаторов для таких грузов не допускается. Грузовые трубопроводы оборудуют системой защиты от превышения давления.
Причалы, у которых производят обработку судов с агрессивными наливными грузами (кислоты, щелочи и др.), должны быть оборудованы фонтанчиками или кранами с пресной водой, размещенными вблизи проведения работ. Непосредственно на технологической площадке следует оборудовать душевые, должно быть выделено место для хранения необходимого количества нейтрализующих веществ, готовых к немедленному применению на случай разлива груза на причале.
10.2.2. Причалы, через которые производят перегрузку легкоиспаряющихся наливных грузов, пары которых представляют ценный продукт или опасность для окружающей среды, должны быть оборудованы системой трубопроводов и насосными установками (газодувками) для отбора паров из танков загружаемого судна и подачи их на береговые обустройства с целью конденсации (сжижения). Перечень таких грузов устанавливается специализированной проектной организацией, разрабатывающей технологическую часть проекта. Прокладку трубопроводов газоотводной системы следует производить вместе с грузовыми трубопроводами соответствующего продукта.
10.2.3. Загрязненные воды после моечных операций на судне необходимо перекачивать на береговые специализированные очистные сооружения. Для перекачки этих вод необходимо предусмотреть трубопроводы, количество которых определяют номенклатурой перегружаемых наливных химических грузов и возможностью последовательной перекачки разных загрязненных вод по общим трубопроводам.
10.2.4. Технические решения и мероприятия по предупреждению аварийных ситуаций и ликвидации их последствий при разливе опасных наливных химических грузов следует разрабатывать в соответствии с РД 31.04.16-82, РД 31.15.01-89, МАРПОЛ 73/78 и Правилами охраны поверхностных вод.
Таблица 10.3
|
Перегрузка химических наливных грузов через береговые емкости-хранилища |
||||
|
Наименование груза |
Партионность, т |
Судо-часовая норма, т/с-ч |
||
|
Отправление |
Прибытие |
Налив |
Слив |
|
|
1. Суперфосфорная кислота |
- |
до 5000 |
700 |
|
|
5000-10000 |
1000 |
|||
|
25000-45000 |
2000 |
|||
|
2. Метанол |
1500 |
- |
250 |
- |
|
10000 |
- |
1000 |
- |
|
|
18000 |
- |
1500 |
- |
|
|
3. Дихлорэтан |
2500-4500 |
- |
500 |
- |
|
4. Скипидар |
1000-1500 |
- |
180 |
- |
|
5. Бутанол |
- |
750 |
- |
120 |
|
6. Изобутанол |
- |
750 |
- |
120 |
|
7. Бутилацетат |
- |
750 |
- |
140 |
|
8. Стирол |
1000 |
- |
120 |
- |
|
9. Ксилол (разный), ортоксилол, параксилол |
1500 |
- |
160 |
- |
|
10.Изопропилбензол |
1000 |
- |
120 |
- |
|
11.Серная кислота |
3000 |
- |
220 |
- |
|
12.Жирные кислоты |
1500 |
- |
150 |
- |
|
13.Формалин |
750-1500 |
150 |
||
|
14.Масло каменноугольное |
1500-5000 |
500 |
||
|
15.Нитрил акриловой кислоты |
1000-1500 |
- |
150 |
- |
|
2000-5000 |
- |
250 |
- |
|
|
Примечание. Системы и устройства для перегрузки химических грузов наливом по прямому варианту «судно - ж. д. цистерна» или «ж. д. цистерна - судно» с учетом пятидесяти-шестидесятитонных ж. д. цистерн, должны обеспечивать судо-часовые нормы не ниже 100 т /ч. |
||||
10.2.5. Время грузовых работ по наливу-сливу судов с химическими наливными грузами определяют по судо-часовым нормам, приведенным в таблице 10.3.
10.3.1. Время грузовых работ по наливу-сливу судов с пищевыми наливными грузами определяют по проектным судо-часовым нормам, приведенным в таблицах 10.4 и 10.5.
Таблица 10.4
|
Перегрузка пищевых наливных грузов через береговые емкости-хранилища |
||||
|
Наименование груза |
Партионность, т |
Судо-часовая норма, т/с-ч |
||
|
Отправление |
Прибытие |
Налив |
Слив |
|
|
1. Растительные масла: |
||||
|
1.1. Подсолнечное масло |
10000-12000 |
до 10000 |
500 |
500 |
|
10001-12000 |
700 |
|||
|
12001-25000 |
1200 |
|||
|
1.2. Хлопковое масло |
3000-3800 |
3000-3800 |
240 |
500 |
|
1.3. Патока |
10000 |
- |
700 |
- |
|
1.4. Льняное, арахисовое, соевое, оливковое и др. |
- |
5000 |
||
|
10000 |
- |
500 |
||
|
10001-12000 |
- |
700 |
||
|
12001-25000 |
- |
1200 |
||
|
2. Жир животный |
- |
10000 |
||
|
15000 |
- |
500 |
||
|
3. Спирт этиловый (сырец) |
- |
10000 |
- |
450 |
|
4. Вино |
- |
1200 |
||
|
1500 |
- |
100 |
||
|
2400 |
||||
|
4500 |
- |
200 |
||
Таблица 10.5
|
Перегрузка пищевых наливных грузов по прямому варианту (ж. д. цистерна - судно; судно - ж. д. цистерна) |
||||
|
Наименование груза |
Партионность, т |
Судо-часовая норма, т/с-ч |
||
|
Отправление |
Прибытие |
Налив |
Слив |
|
|
1. Растительные масла: |
||||
|
а) с наличием «нулевого» резервуара |
- |
- |
- |
400 |
|
б) без «нулевого» резервуара |
- |
- |
180 |
180 |
|
2. Коньячный спирт |
100 |
|||
|
3. Этиловый спирт |
100 |
|||
10.3.2. Загрязненные воды после моечных операций на судне при перегрузке жидких пищевых грузов необходимо перекачивать на береговые специализированные очистные сооружения.
11.1.1. Причальные устройства, предназначенные для приема и обработки судов-лихтеровозов, предпочтительно устраивать на акваториях внешнего или внутреннего рейдов.
11.1.2. Площадь акватории рейдового причального устройства, для лихтеровозов делится условно на две зоны: I - операционная зона лихтеровоза; II - операционная зона для работы буксиров с лихтерами.
Размеры акватории зоны I определяют в соответствии с РД 31.3.01.01-93. Размеры акватории зоны II определяют в зависимости от длины счаленного состава буксир - лихтер, исходя из условия, что на площади акватории зоны II должна быть возможность вписать окружность диаметром не менее 2 длины состава буксир - лихтер.
11.1.3. Время занятости причала выполнением грузовых операций определяют как отношение числа лихтеров, выгружаемых и погружаемых на лихтеровоз за один судозаход на проектируемом комплексе, к эксплуатационной производительности технологической линии.
Время занятости причала выполнением вспомогательных операций при обработке судна-лихтеровоза принимают по таблице 11.1.
Таблица 11.1
|
Время занятости причального устройства выполнением вспомогательных операций при обработке судна-лихтеровоза, ч |
||||
|
весенне-летний период |
осенне-зимний период |
|||
|
при выгрузке |
при погрузке |
при выгрузке |
при погрузке |
|
|
Магистральные |
||||
|
ЛЭШ |
8,5 |
8,0 |
9,0 |
8,5 |
|
Сиби |
6,5 |
7,0 |
7,0 |
7,5 |
|
Фидерные |
||||
|
ЛЭШ |
7,5 |
7,0 |
8,0 |
7,5 |
|
Сиби (докового типа) |
12,0 |
13,0 |
12,5 |
13,5 |
11.1.4 Эксплуатационную производительность технологической линии «лихтеровоз - накопительно-отстойный бассейн» Рлр в единицах в минуту определяют по формуле
(11.1)
где qл - число лихтеров, выгружаемых или погружаемых за один цикл перегрузочного оборудования судна-лихтеровоза,
qл = 1 - для судов типа ЛЭШ и докового типа;
qл = 2 - для судов типа Сиби.
tм - продолжительность цикла перегрузочного оборудования судна-лихтеровоза (по паспортным данным), мин;
k - коэффициент, учитывающий переход от технической к эксплуатационной производительности технологической линии, при обработке судов-лихтеровозов типа ЛЭШ - 0,75, при обработке судов-лихтеровозов типа Сиби и докового типа - 0,9.
11.1.5. Глубину акватории у причального устройства для лихтеровозов следует устанавливать по наибольшей осадке кормы во время проведения погрузочно-разгрузочных работ.
11.2.1. При проектировании накопительно-отстойного бассейна расчету подлежат следующие параметры: расчетная вместимость бассейна, определяемая количеством лихтеров; количество и основные размеры причальных устройств для лихтеров; размеры акватории бассейна.
Расчеты количества и основных размеров лихтеров и размеров акватории бассейна выполняют в соответствии с РД 31.3.01.01-93 и РД 31.03.01-90.
11.2.2. Расчетную вместимость бассейна (количество лихтеров, подлежащих единовременному размещению в бассейне) Nлб в единицах определяют по формуле
(11.2)
где nлi - количество лихтеров, выгружаемых и погружаемых в проектируемом комплексе с расчетного судна-лихтеровоза, принимаемого на i-том причале комплекса, ед.;
nзсi - запас на возможное совпадение подходов двух судов-лихтеровозов к i-тому причалу, принимают равным количеству выгружаемых с лихтеровоза лихтеров, ед.;
nзлi - запас, предусматриваемый при обслуживании лихтеровозом двух или нескольких линий на i-том причале, принимают равным количеству лихтеров, погружаемых (выгружаемых) на лихтеровоз, ед.;
N - количество причалов для обработки судов-лихтеровозов на проектируемом комплексе.
Рисунок 11.1 - Схема механизации № 1 разгрузки-загрузки лихтеров мостовыми кранами.

Рисунок 11.2 - Схема механизации № 2 разгрузки- загрузки лихтеров портальными кранами.

Рисунок 11.3 - Схема механизации № 2 разгрузки-загрузки лихтеров стреловыми передвижными кранами.
Таблица 11.2
Расчетная производительность одной технологической линии, численность и нормы выработки портовых рабочих.
|
Способ перевозки |
Вариант работы |
Расчетная производительность технологической линии, т/смену |
Количество рабочих комплексной бригады, чел. |
Нормы выработки одного рабочего комплексной бригады, т/чел-смена |
|
|
Схема механизации № 1 |
|||||
|
Генеральные грузы |
пакетно |
лихтер - вагон и обратно |
210 |
7 |
30,0 |
|
лихтер - склад и обратно |
230 |
6 |
38,3 |
||
|
поштучно |
лихтер - вагон и обратно |
176 |
11 |
16,0 |
|
|
лихтер-склад и обратно |
192 |
8 |
24,0 |
||
|
Металлогрузы оборудование |
пакетно |
лихтер - вагон и обратно |
230 |
5 |
46,0 |
|
лихтер - склад и обратно |
250 |
5 |
50,0 |
||
|
Схема механизации № 2 |
|||||
|
Генеральные грузы |
пакетно |
лихтер - вагон и обратно |
290 |
8 |
36,3 |
|
лихтер - склад и обратно |
350 |
7 |
50,0 |
||
|
поштучно |
лихтер - вагон и обратно |
176 |
11 |
16,0 |
|
|
лихтер - склад и обратно |
195 |
10 |
19,5 |
||
|
Металлогрузы оборудование |
пакетно |
лихтер - вагон и обратно |
285 |
7 |
40,7 |
|
лихтер - склад и обратно |
375 |
8 |
46,8 |
||
|
Схема механизации № 3 |
|||||
|
Генеральные грузы |
пакетно |
лихтер - вагон и обратно |
128 |
6 |
21,3 |
|
лихтер - склад и обратно |
130 |
6 |
21,7 |
||
11.3.1. Схемы механизации разгрузки-загрузки лихтеров приведены на рисунках 11.1 - 11.3, расчетная производительность одной технологической линии, численность и нормы выработки портовых рабочих для соответствующих схем механизации приведены в таблице 11.2.
11.3.2. Время занятости причала выполнением грузовых операций при разгрузке-загрузке лихтера определяют как отношение расчетной загрузки лихтера расчетного типа к производительности технологической линии. Время занятости причала выполнением вспомогательных операций принимают по таблице 11.3.
Таблица 11.3
|
Время занятости лихтерного причала выполнением вспомогательных операций, ч |
||||
|
весенне-летний период |
осенне-зимний период |
|||
|
при выгрузке |
при погрузке |
при выгрузке |
при погрузке |
|
|
ЛЭШ |
1,5 |
2,0 |
2,5 |
3,0 |
|
Сиби (ДМ) |
2,5 |
3,0 |
3,5 |
4,0 |
11.4.1. Количество портовых буксиров, необходимых для обработки судов-лихтеровозов Nб в единицах, следует определять по формуле
(11.3)
где tб - время работы одного буксира по буксировке лихтеров, перегружаемых за один цикл перегрузочного оборудования лихтеровоза, мин.;
tц - среднее время цикла работы перегрузочного оборудования лихтеровоза, мин.;
kц - коэффициент, учитывающий разность между средним и минимальным временем цикла работы перегрузочного оборудования, принимать для судов лихтеровозного типа Сиби и докового типа - 0,7; типа ЛЭШ - 0,4.
11.4.2. Время работы буксира tб в минутах по буксировке лихтеров, перегружаемых за один цикл перегрузочного оборудования лихтеровоза, определяют по формуле
(11.4)
где tзах - время захвата лихтера (лихтеров) у лихтеровоза при выгрузке (или в накопительно-отстойном бассейне при погрузке), принимают равным 10 мин.;
tход - ходовое время буксира, мин., определяют отношением расстояния буксировки и скорости буксира;
tшв - время швартовки лихтера (лихтеров) в накопительно-отстойном бассейне при выгрузке (или время завода их на платформу синхролифта лихтеровоза типа Сиби, в кормовой лацпорт лихтеровозов докового типа или под захват козлового крана лихтеровозов типа ЛЭШ и отшвартовка при погрузке лихтеров), принимают равным 10 мин.
12.1.1. Компоновку генерального плана паромных комплексов рекомендуется разрабатывать в зависимости от структуры и объема перевозок, типов паромов, характера перевозок (международные или каботажные), рода перевозок (грузовые или грузопассажирские), структуры перевозимых транспортных средств (железнодорожные, автомобильные, самоходная техника, накатные грузы). Компоновку генерального плана железнодорожных паромных переправ рекомендуется производить также в соответствии с требованиями РД 31.3.01.01-93.
12.1.2. Площадь входного рейда должна иметь, как правило, размеры, позволяющие вписать в нее окружность диаметром не менее 2,5 наибольшей длины парома в метрах.
12.1.3. Причальные сооружения паромных переправ следует располагать на акватории при расчетной высоте волны не более 1 м.
12.1.4. На паромном комплексе, как правило, должна быть предусмотрена возможность работы в автоматизированном режиме управления, систему которой разрабатывают в соответствии с РД 31.30.09-90.
12.1.5. Проектирование помещений медицинского назначения (медпунктов, амбулаторий), санитарно-бытовых и санитарно-гигиенических помещений выполняют в соответствии с требованиями СанПиН 4962-89. Технологические мероприятия по защите здоровья работников комплекса от вредных производственных факторов (шума, вибрации, токсичных газов, аэрозолей и пыли) выполняют в соответствии с требованиями раздела 24.
12.2.1. Перегрузочные комплексы морских паромных переправ должны включать береговые сооружения в двух (и более) пунктах побережья.
12.2.2. Технология работы морских паромных переправ зависит в первую очередь от типа судов-паромов. По назначению различают паромы: железнодорожные; железнодорожные с автомобильной палубой и пассажирскими помещениями; автомобильные с пассажирскими помещениями; автомобильно-грузовые (без пассажирских помещений).
На первом этапе инвестиционного процесса технико-экономические показатели паромов определяются при разработке ходатайства (декларации) о намерениях. Технико-экономические характеристики железнодорожных паромов рекомендуется принимать согласно РД 31.03.01-90.
12.2.3. В состав береговых сооружений морской паромной переправы, как правило, включают:
- гидротехнические сооружения (п. 12.2.4);
- подъездные железные и автомобильные дороги;
- предпаромную сортировочную станцию;
- выставочный железнодорожный парк;
- центральный пост управления;
- блок мастерских со складом;
- блок служебных помещений;
- вокзал для пассажиров (для грузопассажирских паромов);
- сооружения связи, централизации и блокировки движения вагонов;
- помещения для таможенного и пограничного контрольно-пропускного поста для международных линий;
- складские площадки для колесной техники;
- накопительные площадки автотранспорта с мастерскими, пунктом заправки топливом и др.;
- участок перестановки колесных пар (если это предусмотрено заданием) на одной из сторон переправы;
- гостиницу для пассажиров и водителей автопоездов.
Примечания.
1. При конкретном проектировании из данного состава могут быть исключены некоторые из перечисленных сооружений или включены в этот состав другие необходимые сооружения в зависимости от типа парома и местных условий.
2. Состав, габариты и конструктивные характеристики сооружений железнодорожных паромных переправ, принятых в качестве аналогов, для однопалубных и двухпалубных паромов приведены в РД 31.31.48-88.
12.2.4. К гидротехническим сооружениям морской паромной переправы относят:
- причалы;
- въезд на причал;
- ложе парома;
- подъемно-переходной мост;
- пролетные строения;
- опоры и устои;
- направляющие выступы.
12.2.5. Гидротехнические сооружения проектируют в соответствии с конструктивными требованиями СНиП 2.01.07-85, СНиП 2.02.02-85, СНиП 2.06.01-86, СНиП 2.06.04-82.
Для обеспечения паромного причала и ложа парома соответственно отбойными и амортизационными устройствами, а также защитой от размыва дна у причала движителями парома эти сооружения надлежит проектировать в соответствии с требованиями РД 31.31.45-87.
12.2.6. Причальные сооружения паромного комплекса выполняют в виде:
- причала фронтального расположения;
- пирса с односторонним расположением причала;
- пирса с двусторонним расположением причалов.
12.2.7. Длину, ширину, глубину у причала, возвышение кордона и нормативные эксплуатационные нагрузки причалов определяют в соответствии с разделом 13.
Кроме того, при проектировании причальных сооружений морских паромных переправ необходимо дополнительно учитывать нагрузки от подвижного железнодорожного состава и от парома, возникающие при швартовке парома и производстве погрузочно-разгрузочных работ, согласно РД 31.31.45-87.
12.2.8. Потребное количество причалов морских паромных переправ Nпр определяют по формуле
(12.1)
где Nзах - частота захода паромов в порт в сутки (или число обработок паромов в сутки), принимаемая на основании задания на проектирование или рассчитываемая по формуле
(12.2)
где Qнаиб - расчетный годовой грузооборот паромного комплекса по наибольшему направлению (экспорту или импорту), т/г;
Тнав - продолжительность навигационного периода, сут.;
В - паспортная вместимость парома в транспортных единицах;
Кив - коэффициент использования вместимости парома, равный 0,95 - 0,98;
Qте - средняя загрузка одной транспортной единицы, т;
Тст - стояночное время парома в порту с учетом маневровых операций, ч;
Кмет - коэффициент использования бюджета рабочего времени по метеопричинам, равный 0,85;
Кзан - коэффициент занятости причала обработкой парома, равный 0,55;
Крем - коэффициент, учитывающий профилактический ремонт, осмотр причала и выдвижение упоров, равный 0,85.
12.2.9. Стояночное время в порту с учетом маневровых операций определяется при конкретном проектировании в зависимости от типа парома и принятой технологии обработки паромов.
12.2.10. Стояночное время железнодорожного парома определяют по совмещенному графику с учетом следующих условий:
- подача в выставочный парк вагонов, подлежащих отправке, за один час до начала разгрузки парома;
- заблаговременный (до подхода парома) пограничный и таможенный досмотр вагонов, подлежащих отправке;
- совмещение раскрепления вагонов на нижней палубе с выгрузкой вагонов с верхней палубы;
- совмещение крепления вагонов на нижней палубе с загрузкой верхней палубы.
12.2.11. При определении стояночного времени железнодорожного парома в порту, как правило, включают следующие операции технологического процесса:
- досмотр вагонов, подлежащих к отгрузке (до прибытия парома);
- стыковка верхнего яруса моста и выдвижение упоров;
- оформление прибытия, санитарный и таможенный досмотр и раскрепление вагонов на В. П.;
- выкатка вагонов с В. П.;
- перестановка двух плетей в выставочный парк;
- раскрепление вагонов на Н. П.;
- расстыковка моста с В. П., стыковка моста с Н. П., уборка и выдвижение упоров;
- подача локомотивов с выставочного парка до моста;
- выкатка вагонов с Н. П.;
- перестановка двух плетей в выставочный парк;
- пограничный досмотр вагонов, выгруженных с В. П.;
- заезд двух локомотивов в выставочный парк и подача двух плетей экспорта в надвижную зону;
- загрузка Н. П.;
- выезд обоих локомотивов к сигналам у выхода с надвижных путей;
- расстыковка моста с Н. П., стыковка моста с В. П., уборка и выдвижение упоров;
- заезд двух локомотивов в выставочный парк и подача двух плетей экспорта в надвижную зону;
- загрузка В. П.;
- выезд обоих локомотивов к сигналам у выхода с надвижных путей;
- пограничный досмотр вагонов, отгруженных с Н. П.;
- крепление вагонов на Н. П.;
- крепление вагонов на В. П., оформление отхода.
12.2.12. Норму времени на раскрепление и закрепление вагонов, как правило, принимают соответственно 5,3 и 10 минут на один вагон.
12.2.13. Допустимая скорость накатки и выкатки вагонов - 3 км/ч.
12.2.14. Годовую установленную мощность железнодорожных паромных переправ Ргод в 4-х осных вагонах рассчитывают по формуле
(12.3)
где
(12.4)
где 2 - число грузовых операций (разгрузка и загрузка парома);
Nмес - число месяцев навигации;
Кмес - коэффициент месячной неравномерности (по навигации), равный 1,05;
Кустр - коэффициент, учитывающий число причалов и число их железнодорожных устройств, принимают в соответствии с РД 31.31.48-88;
для однопалубного парома и для однопролетного и двухпролетного моста:
- один причал с ж. д. устройством - 1,0;
- два причала с одним ж. д. устройством - 1,1;
- два причала с ж.д. устройствами - 2,0;
для двухпалубного парома:
- один причал с ж.д. устройством - 1,0;
- два причала с одним ж.д. устройством - 1,15;
- два причала с ж.д. устройствами - 2,0.
12.2.15. Потребное количество железнодорожных паромов Nп определяют по формуле
(12.5)
где Qваг - общее количество перевозимых вагонов между корреспондирующими портами;
Ткруг - время кругового рейса, сут;
Тэп - годовой эксплуатационный период работы парома в сутках, принимаемый по РД 31.03.01- 90.
12.2.16. При расчете времени кругового рейса, как правило, включают следующие операции:
- отшвартовка и переход от причала до приемного буя в порту А;
- морской переход от буя в порту А до буя в порту Б;
- переход от буя до причала и швартовка в порту Б;
- отшвартовка и переход от причала до буя в порту Б;
- морской переход от буя в порту Б до буя в порту А;
- переход от буя до причала и швартовка в порту А;
- стояночное время в обоих портах;
- резерв времени в количестве 10 - 15 %.
12.3.1. Подъемно-переходной мост включает пролетные строения и опоры, противовесы, подъемные механизмы, сопрягающие узлы, устройства поперечного и продольного перемещения паромного судна.
В зависимости от количества пролетов он может быть однопролетным, двухпролетным, многопролетным, одноярусным, двухъярусным.
Другие виды сопрягающего устройства настоящими нормами не рассматриваются.
Опоры моста устраивают на береговом (неподвижные опоры), промежуточных и морских (подвижные опоры) устоях.
12.3.3. Подъем и опускание подвижных опор производят подъемными механизмами при отсутствии подвижного состава на мосту.
12.3.4. Морское оконцевание морского пролета при производстве погрузочно-разгрузочных работ, будучи заранее наложенным (с помощью подъемных механизмов) на корму парома, непрерывно следует ее перемещениям (колебаниям). Для этого морской пролет моста в средней части снабжен специальным «клювом», входящим при опускании моста в предусмотренное в корме парома «гнездо», для предотвращения случайного разъема системы «мост - паром» в горизонтальном направлении, либо имеет для этой цели специальные захватные устройства.
12.3.5. Параметры, прочность и устойчивость подъемно-переходного моста и его элементов следует рассчитывать в соответствии с требованиями РД 31.31.45-87.
12.3.6. В зависимости от схемы опирания и типа подъемных механизмов принципиальные конструктивные решения подъемно-переходного моста и его элементов принимают в процессе конкретного проектирования.
12.4.1. Железнодорожные устройства паромных переправ состоят из предпаромной сортировочной станции, выставочного парка и подходов к подъемно-переходному мосту.
Предпаромная сортировочная станция, как правило, строится только для обслуживания паромной переправы и на ней производят подборку плетей вагонов на паром.
Количество путей на предпаромной сортировочной станции определяют по методическим указаниям и нормам МПС.
12.4.2. В выставочном парке производят пограничный и таможенный досмотр вагонов перед подачей подготовленных плетей на паром и после выкатки плетей с парома.
Число путей в выставочном парке Nвп определяют по формуле
(12.6)
где Nнад - число путей для выставки плетей вагонов, надвигаемых на паром, принимаемое равным числу путей на пароме, а при соединении нескольких плетей в одну - числу надвигаемых соединенных плетей;
Nвык - число путей для выкатки вагонов с парома, принимаемое равным числу путей на пароме, либо числу соединенных плетей, если их соединение предусмотрено технологией работы;
Nход - число ходовых путей для маневровых локомотивов, принимаемое равным 2, поскольку обработку парома осуществляют одновременно 2 локомотива.
12.4.3. Длину путей в выставочном парке принимают по длине наибольшей выставляемой плети (одиночной или соединенной) с учетом длины локомотива и вагонов прикрытия.
12.5.1. На паромном причале предусматривают прокладку водопровода, установку колонок для подключения электрического кабеля и кабеля связи в соответствии с требованиями раздела 19.
12.5.2. Бункеровку топливом, как правило, производят плавбункеровщиком производительностью до 300 т/ч.
12.5.3. Паром оборудуется средствами биологической очистки фекальных вод и сжигания твердых остатков. На перегрузочном комплексе морских паромных переправ должна быть предусмотрена фекальная канализация на случай аварийных ситуаций.
Для сбора льяльных вод паромный комплекс, как правило, должен иметь специальный плавсборщик.
12.5.4. Техническое обслуживание и межрейсовый ремонт, как правило, выполняют базы технического обслуживания или механические мастерские. Технологическая часть базы технического обслуживания паромов разрабатывается на этапе обоснований инвестиций в соответствии с требованиями раздела 21.
13.1.1. Потребность в грузовых причалах Nпр определяют по формуле
(13.1)
где Qмес - расчетный грузооборот причального фронта в месяц наибольшей работы, т/мес;
Рсут - интенсивность погрузочно-разгрузочных работ, т/сут;
Кмет - коэффициент использования бюджета рабочего времени причала по метеорологическим причинам в месяц наибольшей работы (п. 13.1.3);
Кзан - коэффициент занятости причалов обработкой судов в течение месяца (п. 13.1.6).
13.1.2. Интенсивность погрузочно-разгрузочных работ Рсут в тоннах в сутки определяют исходя из продолжительности грузовых работ и производственных стоянок при обработке расчетных судов как средневзвешенную величину по формуле
(13.2)
где m - количество типов расчетных судов;
Aj - доля расчетных судов типа j в общем объеме расчетного грузооборота,
tгpj - время занятости причала выполнением грузовых работ при обработке судна типа j , ч;
tп.cj - среднее время занятости причала под производственными стоянками судна типа j , ч;
Dj - расчетная загрузка судна типа j , т.
В случае отсутствия в указанном РД численных значений Кмет для проектируемого порта их следует определять по формуле
(13.3)
где tмет - продолжительность действия метеорологических факторов в течение месяца наибольшей работы, при которых нельзя производить погрузочно-разгрузочные операции, связанные с обработкой судов у причала, ч.
13.1.4. Годовую установленную мощность причала Ргод в тоннах рассчитывают по формуле
(13.4)
где Кмес - коэффициент месячной неравномерности (по навигации);
Nм - число месяцев навигации.
13.1.5. Среднее расчетное время занятости грузового причала производственными стоянками, не совмещаемыми с грузовыми работами, в часах для расчетного судна принимают:
- для сухогрузных судов в загранплавании и большом каботаже - по таблице 13.1;
- для сухогрузных судов в малом каботаже - по таблице 13.2.
13.1.6. Продолжительность ожидания судном начала грузовой обработки для сухогрузных судов, работающих не по расписанию, принимается в пределах до 4 ч на судо-заход и прибавляется ко времени, определенному в таблицах 13.1 и 13.2.
13.1.7. Для расчетов потребности в грузовых причалах коэффициент занятости причалов обработкой судов рекомендуется принимать равным для технологических перегрузочных комплексов универсального назначения - 0,6 - 0,7.
13.2.1. Устанавливается расчетное значение проектной глубины причала как сумма осадки расчетного судна и запасов глубины.
Осадка расчетного судна назначается согласно принятому назначению (специализации) причала и характеристикам подлежащих обслуживанию судов с учетом перспективы развития.
Таблица 13.1
Время производственных стоянок для судов загранплавания в часах
|
Дедвейт судна, т |
Весенне-летний период |
Осенне-зимний период |
|||
|
погрузка |
выгрузка |
погрузка |
выгрузка |
||
|
Генеральные |
До 1500 |
5,0 |
3,5 |
6,5 |
6,0 |
|
1501 - 3000 |
5,5 |
4,0 |
7,0 |
6,0 |
|
|
3001 - 5000 |
7,0 |
5,0 |
7,5 |
6,5 |
|
|
5001 - 8000 |
8,0 |
5,5 |
9,0 |
7,5 |
|
|
8001 - 12000 |
8,5 |
6,0 |
9,5 |
8,0 |
|
|
12001 - 16000 |
9,5 |
6,5 |
10,0 |
8,5 |
|
|
Более 16000 |
10,5 |
7,5 |
11,0 |
9,5 |
|
|
Генеральные (суда-контейнеровозы с горизонтальной и вертикальной погрузкой) |
До 1500 |
4,0 |
1,5 |
4,5 |
2,5 |
|
1501 - 3000 |
4,0 |
1,5 |
4,5 |
2,5 |
|
|
3001 - 5000 |
4,5 |
1,5 |
4,5 |
2,5 |
|
|
5001 - 8000 |
5,0 |
2,0 |
5,0 |
3,0 |
|
|
8001 - 12000 |
5,0 |
2,0 |
5,5 |
3,5 |
|
|
12001 - 16000 |
6,0 |
2,5 |
6,0 |
4,0 |
|
|
Более 16000 |
6,0 |
3,0 |
6,5 |
4,5 |
|
|
Лесные |
До 1500 |
9,0 |
5,0 |
10,5 |
7,0 |
|
1501 - 3000 |
9,0 |
5,5 |
10,5 |
7,5 |
|
|
3001 - 5000 |
11,5 |
6,5 |
12,0 |
8,0 |
|
|
5001 - 8000 |
13,5 |
7,5 |
14,5 |
9,5 |
|
|
8001 - 12000 |
14,0 |
7,5 |
14,5 |
10,0 |
|
|
12001 - 16000 |
14,5 |
8,5 |
15,5 |
10,5 |
|
|
Более 16000 |
15,5 |
9,0 |
16,0 |
11,5 |
|
|
Зерновые |
До 1500 |
7,0 |
6,0 |
8,0 |
8,0 |
|
1501 - 3000 |
7,5 |
6,5 |
9,0 |
9,0 |
|
|
3001 - 5000 |
9,0 |
7,5 |
10,0 |
9,5 |
|
|
5001 - 8000 |
10,5 |
8,5 |
11,5 |
10,5 |
|
|
8001 - 12000 |
11,5 |
9,0 |
12,0 |
11,0 |
|
|
12001 - 16000 |
12,5 |
10,0 |
13,0 |
12,0 |
|
|
16001 - 30000 |
13,0 |
10,5 |
14,0 |
13,0 |
|
|
30001 - 50000 |
14,0 |
11,0 |
14,5 |
13,5 |
|
|
Более 50000 |
14,5 |
11,5 |
15,0 |
14,0 |
|
|
Навалочные |
До 1500 |
3,5 |
2,5 |
5,0 |
5,0 |
|
1501 - 3000 |
3,5 |
3,0 |
5,0 |
5,0 |
|
|
3001 - 5000 |
4,5 |
3,5 |
5,5 |
5,5 |
|
|
5001 - 8000 |
5,0 |
4,5 |
6,0 |
6,5 |
|
|
8001 - 12000 |
5,5 |
4,5 |
6,5 |
7,0 |
|
|
12001 - 16000 |
6,0 |
5,5 |
7,0 |
8,0 |
|
|
16001 - 30000 |
7,0 |
6,5 |
7,5 |
8,5 |
|
|
30001 - 50000 |
7,5 |
7,0 |
8,5 |
9,5 |
|
|
Более 50000 |
8,5 |
7,5 |
9,0 |
10,0 |
|
Запас глубины под судном устанавливается в соответствии с 5.5 без учета скоростного запаса.
На основании расчетного значения проектной глубины у причала из сетки унифицированных значений глубин (таблица 13.3) выбирают глубину у данного причала.
По выбранному унифицированному значению окончательно устанавливается проектная глубина у причала
13.3.1. Проектную длину причала определяют как сумму унифицированной длины расчетного судна и запаса свободной длины причала, необходимого для безопасной стоянки и отшвартовки судна. Унифицированную длину расчетного судна определяют по таблице 13.4.
13.3.2. Запас свободной длины причала определяют по таблице 13.5:
- для причалов, расположенных внутри прямолинейного участка причальной линии, как среднеарифметическая величина от нормативов расстояний между расчетными судами проектируемого и смежных с ним причалов;
- для причалов, расположенных на конце прямолинейного участка причальной линии, как сумма половины норматива расстояния между расчетными судами проектируемого и смежного с ним причала и норматива расстояния от расчетного судна проектируемого причала до конца данного участка;
- для одиночно расположенных причалов - как сумма нормативов расстояний от расчетного судна до конца участка.
13.3.3. Ширину причального фронта определяют расстоянием от линии кордона до внешней линии проезда штабеля сортировочной площади.
Расстояние от линии кордона до оси ближайшего подкранового рельса причального контейнерного перегружателя принимают 2,75 или 4 м.
13.4.1. Проектное значение возвышения кордона причала на защищенных от волнения акваториях устанавливают сравнительным расчетом по основной и поверочной нормам, который проводится на основании нормативов минимального возвышения кордона причалов (таблица 13.6) над соответствующими исходными уровнями воды, определяемыми по РД 31.3.01.01-93.
Таблица 13.2
Время производственных стоянок для каботажных судов в часах
|
Дедвейт судна, т |
Весенне-летний период |
Осенне-зимний период |
|||
|
погрузка |
выгрузка |
погрузка |
выгрузка |
||
|
Генеральные |
До 1500 |
3,0 |
2,0 |
4,0 |
3,5 |
|
1501 - 3000 |
3,0 |
2,5 |
4,5 |
3,5 |
|
|
3001 - 5000 |
4,5 |
3,0 |
5,0 |
4,0 |
|
|
5001 - 8000 |
5,5 |
4,0 |
6,0 |
4,5 |
|
|
8001 - 12000 |
5,5 |
4,0 |
6,0 |
5,0 |
|
|
Более 12000 |
6,0 |
4,5 |
7,0 |
5,5 |
|
|
Генеральные (суда-контейнеровозы с горизонтальной и вертикальной погрузкой) |
До 1500 |
3,0 |
1,0 |
3,5 |
1,5 |
|
1501 - 3000 |
3,0 |
1,0 |
3,5 |
1,5 |
|
|
3001 - 5000 |
3,0 |
l,0 |
3,5 |
1,5 |
|
|
5001 - 8000 |
3,5 |
1,5 |
4,0 |
1,5 |
|
|
8001 - 12000 |
3,5 |
1,5 |
4,0 |
1,5 |
|
|
Более 12000 |
3,5 |
1,5 |
4,0 |
2,0 |
|
|
Лесные |
До 1500 |
7,0 |
3,0 |
8,0 |
4,5 |
|
1501 - 3000 |
7,0 |
3,5 |
8,0 |
5,0 |
|
|
3001 - 5000 |
9,0 |
4,5 |
9,5 |
5,5 |
|
|
5001 - 8000 |
11,0 |
5,5 |
11,5 |
6,5 |
|
|
8001 - 12000 |
11,0 |
5,5 |
11,5 |
6,5 |
|
|
Более 12000 |
11,5 |
6,0 |
12,0 |
7,0 |
|
|
Зерновые |
До 1500 |
4,5 |
4,5 |
6,0 |
6,0 |
|
1501 - 3000 |
5,5 |
5,0 |
6,5 |
6,5 |
|
|
3001 - 5000 |
6,5 |
6,0 |
7,5 |
7,0 |
|
|
5001 - 8000 |
8,0 |
7,0 |
8,5 |
8,0 |
|
|
8001 - 12000 |
8,5 |
7,0 |
9,0 |
8,0 |
|
|
Более 12000 |
9,0 |
8,0 |
10,0 |
9,0 |
|
|
Навалочные |
До 1500 |
1,5 |
2,0 |
2,5 |
3,5 |
|
1501 - 3000 |
2,0 |
2,0 |
2,5 |
3,5 |
|
|
3001 - 5000 |
2,0 |
3,0 |
2,5 |
4,0 |
|
|
5001 - 8000 |
2,5 |
3,5 |
3,0 |
4,5 |
|
|
8001 - 12000 |
2,5 |
3,5 |
3,0 |
4,5 |
|
|
Более 12000 |
3,0 |
4,0 |
3,0 |
5,5 |
|
|
Примечания. В таблицы 13.1 и 13.2 включена продолжительность тех операций и в таком размере, которые не могут быть совмещены со временем грузовых работ или с другими операциями и которые нельзя либо нецелесообразно выполнять у береговых вспомогательных причалов или на рейде: швартовка с маневрами, отшвартовка с маневрами, перестановка от одного причала и к другому причалу; открытие, перекрытие, закрытие трюмов; оформление прихода, оформление грузовых документов, осмотр карантинной инспекцией, оформление отхода; зачистка трюмов, подготовка трюмов, укрепление и раскрепление поверхности зерна, крепление и раскрепление грузов на палубах судов. |
|||||
Таблица 13.3
|
Унифицированная (проектная) глубина у причала, м |
||||||||||||
|
Перегрузочный комплекс для |
||||||||||||
|
контейнеров |
генеральных и лесных грузов, в т.ч. для накатных судов |
навалочных грузов |
сырой нефти |
нефтепродуктов и прочих наливных грузов |
грузов в судах смешанного и внутреннего плавания |
лихтеровозных сообщений |
морских паромных переправ |
пассажирского комплекса |
портового флота |
|||
|
лихтеровозов |
лихтеров |
|||||||||||
|
Океанское |
11,50 |
9,75 |
13,00 |
15,00 |
9,75 |
- |
9,75 |
5,00 |
- |
8,25 |
- |
|
|
13,00 |
11,50 |
15,00 |
16,50 |
11,50 |
- |
11,50 |
5,00 |
- |
9,75 |
- |
||
|
15,00 |
13,00 |
16,50 |
18,00 |
13,00 |
- |
13,00 |
5,00 |
- |
11,50 |
- |
||
|
- |
- |
18,00 |
20,00 |
15,00 |
- |
- |
- |
- |
- |
- |
||
|
- |
- |
20,00 |
22,00 |
16,50 |
- |
- |
- |
- |
- |
- |
||
|
- |
- |
- |
24,00 |
- |
- |
- |
- |
- |
- |
- |
||
|
Внутрибассейновое |
8,25 |
6,50 |
8,25 |
11,50 |
8,25 |
5,00 |
8,25 |
5,00 |
5,00 |
6,50 |
- |
|
|
9,75 |
8,25 |
9,75 |
13,00 |
9,75 |
6,50 |
9,75 |
5,00 |
6,50 |
8,25 |
- |
||
|
11,50 |
9,75 |
11,50 |
15,00 |
11,50 |
- |
11,50 |
5,00 |
8,25 |
9,75 |
- |
||
|
- |
11,50 |
13,00 |
- |
- |
- |
- |
- |
9,75 |
- |
- |
||
|
- |
- |
15,00 |
- |
- |
- |
- |
- |
- |
- |
- |
||
|
Местное |
6,50 |
5,00 |
5,00 |
- |
5,00 |
5,00 |
- |
5,00 |
5,00 |
5,00 |
5,00 |
|
|
- |
6,50 |
6,50 |
- |
6,50 |
6,50 |
- |
- |
- |
6,50 |
6,50 |
||
Таблица 13.4
|
Унифицированные длины расчетных судов, м |
|||||||
|
контейнеровозов |
накатных судов |
универсальных для генеральных грузов |
лесовозов |
балкеров и нефтерудовозов |
танкеров для нефтеналивных грузов |
пассажирских |
|
|
22 |
- |
- |
- |
- |
- |
360 |
- |
|
21 |
- |
- |
- |
- |
- |
350 |
- |
|
20 |
- |
- |
- |
- |
- |
340 |
- |
|
19 |
- |
- |
- |
- |
- |
330 |
- |
|
18 |
- |
- |
- |
- |
290 |
320 |
- |
|
17 |
- |
- |
- |
- |
280 |
300 |
- |
|
16 |
- |
- |
- |
- |
270 |
280 |
- |
|
15 |
- |
- |
- |
- |
260 |
270 |
- |
|
14 |
300 |
- |
- |
- |
250 |
250 |
- |
|
13 |
290 |
- |
- |
- |
240 |
240 |
- |
|
12 |
270 |
- |
- |
- |
220 |
230 |
- |
|
11 |
250 |
250 |
200 |
230 |
200 |
210 |
- |
|
10 |
225 |
230 |
180 |
200 |
180 |
190 |
290 |
|
9 |
200 |
200 |
160 |
170 |
160 |
170 |
230 |
|
8 |
170 |
180 |
140 |
150 |
140 |
150 |
200 |
|
7 |
140 |
160 |
120 |
125 |
130 |
130 |
180 |
|
6 |
120 |
140 |
100 |
100 |
110 |
110 |
160 |
|
5 |
100 |
120 |
90 |
80 |
90 |
90 |
130 |
|
4 |
- |
100 |
80 |
70 |
70 |
70 |
100 |
Примечание. При определении длины накатного судна включается судовая рампа, установленная в рабочее положение.
Таблица 13.5
|
Запас свободной длины причалов при наибольшей длине расчетного судна, м |
|||||
|
более 300 |
300-201 |
200-151 |
150-100 |
менее 100 |
|
|
1. Расстояние между судами |
30 |
25 |
20 |
15 |
10 |
|
|
|||||
|
2. Расстояние между судном и концом прямолинейного участка причального фронта в зависимости от расположения причального фронта |
|||||
|
|
30 |
25 |
20 |
10 |
5 |
|
|
45/40 |
30 |
25 |
20 |
15 |
|
|
30/25 |
20 |
15 |
15 |
10 |
|
|
-/60 |
50 |
40 |
30 |
20 |
|
|
30 |
20 |
15 |
15 |
10 |
|
|
20 |
15 |
15 |
10 |
10 |
|
Условные обозначения: d - расстояние между двумя стоящими у смежных причалов судами внутри прямолинейного участка; е - расстояние между судном и концом данного участка. Примечание. Для судов длиной 300 м в знаменателе указаны нормативы, относящиеся к схемам с берегоукреплением. |
|||||
Таблица 13.6
|
Основная норма |
Поверочная норма |
|||
|
Исходный уровень |
Норматив минимального возвышения кордона причала над исходным уровнем, м |
Исходный уровень |
Норматив минимального возвышения кордона причала над исходным уровнем, м |
|
|
Неприливные моря |
Средний многолетний |
2,0/1,2 |
Наивысший годовой обеспеченностью в многолетнем ряду 2 % (один раз в 50 лет) |
1,0/0,0 |
|
Приливные моря |
50 % обеспеченности |
2,1/1,0 |
1 % обеспеченности |
1,0/0,0 |
|
Примечания. 1. К приливным морям относятся моря с величиной прилива более 0,5 м. 2. В числителе указаны нормативы минимального возвышения кордона грузовых и пассажирских причалов, а в знаменателе - вспомогательных причалов, причалов местного сообщения и портового флота. |
||||
13.4.2. Проектное значение возвышения кордона причалов устьевых портов устанавливается в зависимости от характера колебаний уровня воды (в зависимости от преобладающего воздействия моря или реки):
- в случае преобладающего влияния моря оно рассчитывается в соответствии с п. 13.4.1;
- в случае преобладающего влияния реки - по СНиП 2.06.01-86.
13.5.1. В зависимости от назначения проектируемого причала с учетом перспективы развития порта по таблице 13.7 устанавливают категорию нагрузок на причальные сооружения.
Таблица 13.7
|
Категория нормативных нагрузок |
|
|
Для навалочных и насыпных грузов, перерабатываемых на специализированных технологических перегрузочных комплексах: |
|
|
- при складе, расположенном вне зоны непосредственного воздействия нагрузок от складируемых грузов на причальные сооружения; |
0-б |
|
- при прикордонном расположении склада |
0-с |
|
Для навалочных грузов, металлов и оборудования и других грузов массой грузового места 10 и более тонн, перерабатываемых на ПК с крановой схемой механизации: |
|
|
- причалы глубиной 11,5 м и более |
0 |
|
- остальные причалы |
0 (I) |
|
Для крупнотоннажных контейнеров и накатных грузов |
0-к |
|
Для генгрузов |
I (II) |
|
Для зерновых грузов |
III (II) |
|
Для лесных грузов |
I (0) |
|
Для грузо-пассажирских операций |
III (II) |
|
Для наливных грузов |
III |
|
Служебно-вспомогательные |
III |
13.5.2. Нормативные нагрузки на причальные сооружения, кроме узких пирсов, принимают по таблице 13.8 и в соответствии со СНиП 2.06.01-86
Таблица 13.8
|
Нагрузки от перегрузочных машин и транспортных средств/категория |
Нагрузки от складируемых грузов, (кН/кв. м (тс/кв. м)) |
||||||
|
Прикордонные краны и перегружатели |
ж.-д. транспорт кН/м пути (тс/м пути) |
Безрельсовый транспорт |
в прикордонной зоне |
в переходной зоне |
в тыловой зоне |
||
|
А |
Б |
В |
Г |
||||
|
0-с |
К-35 |
137,2 (14) |
Н-30 |
19,6 (2,0) |
39,2 (4,0) |
117,6 (12,0) |
196 (20,0) |
|
0-б |
К-35 |
137,2 (14) |
Н-30 |
7,35 (0,75) |
14,7 (1,5) |
19,6 (2,0) |
19,6 (2,0) |
|
0-к |
КП |
- |
КВ-70 |
19,6 (2,0) |
39,2 (4,0) |
58,8 (6,0) |
98 (10) |
|
(КВ-35) |
39,2 (4,0) |
||||||
|
0 |
К-35 |
137,2 (14) |
Н-30 |
19,6 (2,0) |
39,2 (4,0) |
117,6 (12,0) |
196 (20,0) |
|
I |
К-35 |
137,2 (14) |
Н-30 |
19,6 (2,0) |
39,2 (4,0) |
58,8 (6,0) |
98 (10,0) |
|
II |
К-25 |
137,2 (14) |
Н-30 |
14,7 (1,5) |
29,4 (3,0) |
39,2 (4,0) |
58,8 (6,0) |
|
III |
- |
- |
Н-10 |
7,35 (0,75) |
14,7 (1,5) |
19,6 (2,0) |
19,6 (2,0) |
13.5.3. Нормативные нагрузки на узкие пирсы принимают по таблице 13.9.
Таблица 13.9
|
Узкие пирсы для нефти, нефтепродуктов, химических, пищевых и прочих наливных грузов |
Узкие пирсы в составе специализированных технологических перегрузочных комплексов для навалочных и на сыпных (в том числе зерновых) грузов |
||||
|
Береговая эстакада |
Технологическая |
Головная эстакада |
Пал |
По всей длине пирса |
|
|
от технологического оборудования |
определяется расчетом |
определяется расчетом |
|||
|
от безрельсового транспорта |
Н-10 |
Н-10 |
- |
- |
Н-30 |
|
от складируемых грузов, (тс/кв. м) |
9,8/1,0 |
9,8/1,0 |
3,0/0,4 |
- |
9,8/1 |
|
от людей (тс/кв. м) |
3,0/0,4 |
- |
- |
- |
- |
Примечания.
1. В нормативных нагрузках от складируемых грузов указаны в числителе - нагрузка на проезжую часть, в знаменателе - нагрузка на тротуар.
2. Указанные в таблице 13.9 нормативные нагрузки от безрельсового транспорта учитывают нагрузки от пожарных машин и автокранов грузоподъемностью до 5 т.
13.5.4. Схемы нормативных нагрузок на причальные сооружения даны на рисунке 13.1. Обозначение зон А, Б, В и Г приведено в таблице 13.8.
Рисунок 13.1.
Причалы, предназначенные для перегрузки крупнотоннажных контейнеров, блок-пакетов и других тяжеловесных грузов, в том числе для накатных судов, должны рассчитываться на нагрузку по схеме «а» (рисунок 13.1) с учетом того, что в зонах Б, В и Г допускается сочетание воздействия нагрузок от складируемых грузов и от безрельсового транспорта.
Причалы специализированных комплексов для перегрузки навалочных и насыпных грузов могут рассчитываться на нагрузку по схеме «а» или «в». При строительстве причалов с прикордонными конвейерными галереями в зонах А и Б должны учитываться нагрузки только от железнодорожного подвижного состава и безрельсового транспорта, а нагрузки в зонах В и Г от складируемых грузов следует принимать соответственно категории нормативных нагрузок 0-с или 0-б по таблице 13.8.
Для причалов, рассчитанных по 0, I или II категориям нормативных нагрузок, каждая зона по ширине причала (А, Б, В и Г) может быть загружена одной из нагрузок, приведенных на схемах «а», «б» и «в».
Для причалов, рассчитываемых по III категории нормативных нагрузок, каждая зона причала может быть загружена по схеме «б» по всей ширине причала - нагрузкой от безрельсового транспорта либо произвольным (возможным в производственных условиях) сочетанием этих нагрузок.
13.5.5. Для II категории нормативных нагрузок, как правило, допускается крановая нагрузка по схеме К-35.
13.5.6. Нормативы нагрузок на причальные сооружения от навалов судов и рывков швартовов под действием ветра и волн принимают согласно СНиП 2.06.04-82.
14.1. Потребность порта во вспомогательных причалах определяется суммой определенных раздельно друг от друга расчетных потребностей во вспомогательных причалах для грузовых и пассажирских судов.
14.2. Расчетную потребность во вспомогательных причалах для грузовых судов М определяют суммой расчетных потребностей в них всех перегрузочных комплексов порта
(14.1)
где mi - удельная нормативная потребность во вспомогательных причалах, приходящаяся на один причал перегрузочного комплекса i-ой специализации (i = 1, 2,..., s);
Ni - расчетное или фактическое количество причалов перегрузочных комплексов i-ой специализации, ед.
Значение mi принимают по таблице 14.1.
Таблица 14.1
|
Значение mi |
||
|
загранплавание и большой каботаж |
малый каботаж |
|
|
Генеральных грузов: |
||
|
причалы с крановой схемой механизации; |
0,10 |
0,05 |
|
причалы специализированных комплексов для контейнеровозов, накатных судов, паромов; |
0,05 |
0,05 |
|
Лесных грузов |
0,05 |
0,05 |
|
Зерновых грузов |
0,05 |
0,05 |
|
Навалочных и насыпных грузов: |
||
|
причалы с крановой схемой механизации; |
0,15 |
0,20 |
|
причалы специализированных комплексов; |
0,10 |
0,20 |
|
Наливных грузов |
0,25 |
0,20 |
14.3. При постановке судна кормой к причалу или оградительному сооружению длина участка, используемого под вспомогательный причал, должна удовлетворять следующему требованию:
(14.2)
где Bс - ширина наибольшего из рассматриваемых расчетных типов транспортных судов, м;
bс - ширина судна портового флота, используемого для выполнения вспомогательных операций, м.
14.4. Расчетная потребность во вспомогательных причалах для пассажирских судов слагается из определяемых раздельно расчетных потребностей в них для:
- водоизмещающих судов, работающих на внутренних линиях;
- надповерхностных судов (СПК, СВП и т. п.), работающих на линиях, движение на которых происходит независимо от времени суток;
- ночного отстоя надповерхностных судов, работающих на линиях с движением только в светлое время суток.
14.5. Расчетные потребности во вспомогательных причалах для пассажирских водоизмещающих и надповерхностных судов, работающих в круглосуточном режиме, следует определять только для портов приписки этого флота.
14.6. Расчетные потребности во вспомогательных причалах для пассажирских водоизмещающих и надповерхностных судов, работающих в круглосуточном режиме, определяют суммой расчетных потребностей в них соответствующих пассажирских судов данного порта приписки, обслуживающих все соответствующие пассажирские линии, проходящие через данный порт, в месяц наибольшей нагрузки.
(14.3)
где Pj - удельная нормативная потребность во вспомогательных причалах для пассажирских судов, приходящаяся на один судо-заход на j-ой линии в месяц наибольшей загрузки (j = 1, 2,..., k);
Sj - расчетное число судо-заходов на j-ой линии в месяц наибольшей нагрузки.
Значения Pj принимаются по таблице 14.2.
Таблица 14.2
|
Надповерхностные суда |
|||
|
Протяженность линии, мили |
Pj |
Протяженность линии, мили |
Pj |
|
110 - 250 |
0,002 |
30 - 70 |
0,0003 |
|
251 - 390 |
0,004 |
71 - 110 |
0,0005 |
|
391 - 560 |
0,007 |
111 - 150 |
0,0008 |
|
591 - 720 |
0,009 |
151 - 180 |
0,0011 |
|
721 - 960 |
0,011 |
181 - 220 |
0,0014 |
|
961 - 1150 |
0,013 |
221 - 270 |
0,0017 |
|
1151 - 1350 |
0,016 |
271 - 320 |
0,0020 |
|
Свыше 1350 |
0,018 |
Свыше 320 |
0,0023 |
14.7. Вспомогательные причалы должны быть обеспечены зданиями, сооружениями, оборудованием и средствами механизации в соответствии с РД 31.31.37.50-87.
14.8. Вспомогательный причал, специализированный для бункеровки, зачистки, мойки танков нефтеналивных судов и удаления остатков жидких грузов, следует располагать в составе перегрузочного комплекса для нефтеналивных грузов либо смежно с ним.
14.8.1. Бункеровочные причалы представляют собой совокупность гидротехнических сооружений, перегрузочного оборудования, обустройства, транспортных и инженерных коммуникаций, необходимых для швартовки плавбункеровщиков, нефтеналивных барж, танкеров-снабженцев для проведения сливо-наливных операций.
14.8.2. Трубопроводы и раздаточные устройства для бункеровки судов топливом и маслами на причалах должны обеспечивать отпуск в процессе грузовых операций без перестановки судна не менее пяти видов топлива: дизельного, моторного двух марок, мазута двух марок и других, а также до шести видов масел. Присоединительные устройства должны давать возможность бункеровки судна одновременно двумя сортами топлива и маслами.
Производительность бункеровки должна обеспечивать подачу танкеру всего потребного количества топлива за период продолжительности грузовых операций.
Количество видов топлива и масел, отпускаемых судам, уточняют при проектировании исходя из состава судооборота всего порта (в том числе сухогрузного и т. п.) и потребляемых ими видов топлива и масел.
С учетом рациональной организации бункеровки на обслуживаемых судоходных линиях при надлежащем обосновании в проектах может быть принята сокращенная номенклатура видов топлива и масел, отпускаемых в данном порту. Бункеровочные трубопроводы прокладываются на грузовых нефтяных причалах отдельно независимо от наличия односортного грузового трубопровода.
14.8.3. Все требования, изложенные в разделе 10.1, распространяются на проектирование бункеровочных причалов.
14.8.4. На бункеровочных причалах должны быть установлены счетчики-расходомеры для определения количества нефтепродуктов, отгруженных на плавбункеровщики или бункеруемые суда - по РД 31.27.05-84.
14.8.5. Весь комплекс берегового оборудования бункеровочных причалов должен обеспечить производство операций налива плавбункеровщиков, слива загрязненных нефтью вод и нефтеостатков на каждом причале по судочасовым нормам не ниже приведенных в таблице 14.3.
Таблица 14.3
|
Судочасовые нормы не менее т/ч |
|
|
Налив плавбункеровщиков DWT от 1000 до 1600 т. всеми сортами топлива |
300 |
|
Налив плавбункеровщиков DWT от 3000 до 4000 т. всеми сортами топлива |
700 |
|
Слив с нефтемусоросборщиков: |
|
|
льяльных вод |
100 |
|
нефтеостатков |
20 |
Примечание. Норма налива вязких топлив и масел при температуре воздуха ниже 0 °С снижается на 15 %.
Причалы для пассажирских судов транспортного флота специализируют:
- для водоизмещающих пассажирских судов (катеров);
- для водоизмещающих грузопассажирских судов (паромов);
- для судов с динамическими принципами движения (суда на подводных крыльях - СПК; суда на воздушной подушке - СВП и др.).
15.2.1. Потребное число причалов для водоизмещающих пассажирских судов транспортного флота, обслуживающих регулярное линейное судоходство, определяют для каждой из линий как частное от деления проектного количества судо-заходов в месяц наибольшей работы на норматив месячной пропускной способности причала в судо-заходах с округлением до ближайшего целого числа (таблица 15.1)
Таблица 15.1
|
Норматив месячной пропускной способности одного причала по линейному судоходству, судо-заходы |
||||
|
Конечный пункт захода |
Промежуточные пункты захода |
|||
|
промышленный, транспортный и курортный центр |
город, имеющий курортное значение |
прочий |
||
|
Международная |
20 |
30 |
30 |
- |
|
Каботажная: |
||||
|
экспрессная |
30 |
60 |
90 |
120 |
|
туристская |
30 |
30 |
60 |
120 |
15.2.2. Если на линии (или группе линий) работают одно-два судна, то независимо от проектного числа судо-заходов за месяц по данной линии (или группе линий) принимают не более одного причала.
15.2.3. Потребное число причалов для водоизмещающих пассажирских судов транспортного флота, совершающих круизные рейсы, определяют раздельно для рейсов с российскими и иностранными туристами как частное от деления проектного количества судо-заходов в месяц наибольшей работы на норматив месячной пропускной способности причала (в судо-заходах), принимаемый по таблице 15.2.
Таблица 15.2
|
Норматив месячной пропускной способности одного причала при круизно-экскурсионной форме организации пассажирских перевозок, судо-заход |
||
|
Конечный пункт захода, город, имеющий туристическое значение |
Прочие пункты |
|
|
С российскими туристами |
15 |
30 |
|
С иностранными туристами |
12 |
20 |
15.2.4. Потребное число причалов Nпск для судов скоростных линий (СПК, СПВ) определяют по формуле
(15.1)
где Tcni - продолжительность стоянки судов i-той линии в данном порту, ч, (i = 1, 2,..., n). Значение устанавливают согласно 15.2.5;
Ji - расчетный интервал прибытия в порт судов i-той линии по данным технического задания на проектирование, ч.
15.2.5. Продолжительность стоянки судов i-той линии, включающая как продолжительность пассажирских операций, так и продолжительность швартовки и связанных с ними маневровых операций, принимают в зависимости от положения, занимаемого данным портом в i-той линии:
- для конечных портов 1,0 ч;
- для промежуточных портов 0,5 ч.
15.2.6. Потребное число причалов для пассажирских судов портового флота Nпп, осуществляющих морские прогулки, рейдовое обслуживание экипажей грузовых судов или рейдовую обработку пассажирских судов транспортного флота, определяют раздельно для каждого из этих видов работ по формуле
Nпп = Ест - Ncn, (15.2)
где Ест - наибольшая доля судов, одновременно находящихся у причала в процессе выполнения ими одной из форм нерегулярных перевозок, от общего количества судов n, занятых в этой форме работы;
Ncn - общее количество судов, выделенных для выполнения определенного вида работ.
15.2.7. Наибольшую долю судов, одновременно находящихся у причалов в процессе выполнения нерегулярных перевозок, принимают в следующих пределах:
- двухчасовые прогулки - от 0,10 до 0,15;
- одночасовые прогулки - от 0,20 до 0,25;
- рейдовая обработка пассажирских транспортных судов и (или) перевозка экипажей грузовых судов, стоящих на рейде - от 0,25 до 0,35. При этом меньшие значения принимают:
- для каждого из видов морских прогулок, если в данном порту (портопункте) предусматривается выполнение нескольких видов из вышеназванных работ (например, одно- и двухчасовые прогулки или прогулки и рейдовая обработка пассажирских транспортных судов и т. п.);
- для рейдовой обработки пассажирских транспортных судов, если стоянка последних удалена от берега на расстояние более 0,5 мили.
В остальных случаях следует принимать большие значения Ест.
15.2.8. Посадочные площадки причалов для обслуживания местных и пригородных пассажирских сообщений должны иметь ограждения (перила) по линии кордона высотой 1,2 м.
При проектировании помещений по обслуживанию пассажиров заграничных линий и круизных рейсов, связанных с оформлением необходимых документов и проведением досмотровых операций, следует руководствоваться «Рекомендациями по проектированию зданий и сооружений транспортного назначения» (раздел «Вокзалы водного транспорта»), а также требованиями Раздела 23.
Для таможенного досмотра багажа пассажиров на морском вокзале должен быть предусмотрен обособленный комплекс помещений, изолированных от других помещений вокзала, включающий: досмотровый зал, зал накопления, склад сортировки ручного багажа, рабочие комнаты таможенных работников и работников контрольно-пропускного пункта, пункт валютных операций, медицинский и ветеринарный пункты, торговые киоски, бар, туалетные комнаты и др.
16.1.1. Количество прикордонных железнодорожных путей на участке причальной линии, обслуживаемом одним самостоятельным подходом, определяют по таблице 16.1 в зависимости от числа ПК (причалов), входящих в этот участок, их специализации (рода груза), количества судов, обрабатываемых по прямому варианту на этом участке, расчетного количества технологических линий, которыми одновременно обрабатывают эти суда по прямому варианту.
16.1.2. Минимальное расстояние от оси ближайшего железнодорожного пути, расположенного вне портала кранов и перегружателей, до подкранового рельса должно быть не менее 3,5 м, а на участках ПК, перерабатывающих смешанные генеральные грузы (крытого и открытого хранения) и участках, где между подкрановым рельсом и железнодорожным путем вне портала располагаются электроколонки и могут устанавливаться погрузочные столы, это расстояние должно быть не менее 5,3 м (рисунок 16.1).
16.1.3. На участках ПК, перерабатывающих генеральные грузы крытого хранения и имеющих стационарные рампы (в том числе смонтированные из сборных элементов) за тыловой ниткой подкранового пути, расстояние В от него до оси железнодорожного пути:
- при расположении железнодорожного пути с тыловой стороны рампы определяют по формуле
В = Вн + Вр + Вг, (16.1)
где Вн - расстояние от тыловой нитки подкранового пути до рампы, зависящее от ширины полосы, требуемой для укладки инженерных сетей за подкрановым рельсом. При этом Вн должно быть не менее 2 м;
Вр - ширина рампы, принимаемая не менее 4,1 м;
Вг - расстояние от рампы до оси железнодорожного пути принимается согласно ГОСТ 9238-83;
- при расположении железнодорожных путей с двух сторон рампы определяют по формуле
В = Вск + Вр + 2Вг, (16.2)
где Вск - расстояние до оси ближайшего пути - 3,5 или 5,3 м.
Таблица 16.1
|
Специализация ПК (причалов) |
Полезная нагрузка вагона, т |
Расчетное количество технологических линий |
Длина ПК (причала), м |
||||||||||||
|
200-225 |
200 |
175 |
150 |
||||||||||||
|
Количество ПК (причалов) на участке |
|||||||||||||||
|
2 |
3 - 4 |
2 |
3 - 4 |
2 |
3 - 4 |
2 |
3 - 4 |
||||||||
|
Количество судов, одновременно обрабатываемых по прямому варианту |
|||||||||||||||
|
2 |
2 |
3 |
2 |
2 |
3 |
2 |
2 |
3 |
2 |
2 |
3 |
||||
|
Количество железнодорожных путей |
|||||||||||||||
|
1 - 2 |
Генеральные грузы крытого хранения |
35-45 |
3 |
- |
- |
- |
- |
- |
- |
3 |
4 |
4 |
3 |
4 |
4 |
|
4 |
3 |
4 |
4 |
3 |
4 |
4 |
3 |
4 |
4 |
- |
- |
- |
|||
|
5 |
3 |
4 |
4 |
3 |
4 |
4 |
- |
- |
- |
- |
- |
- |
|||
|
3, 4, 5 |
Смешанные генеральные грузы (крытого и открытого хранения); генеральные грузы открытого хранения лесные грузы |
до 50 |
3 |
- |
- |
- |
- |
- |
- |
2 |
2 |
3 |
2 |
2 |
3 |
|
4 |
2 |
2 |
3 |
2 |
2 |
3 |
2 |
2 |
3 |
- |
- |
- |
|||
|
5 |
3 |
4 |
4 |
3 |
4 |
4 |
- |
- |
- |
- |
- |
- |
|||
|
6 |
Навалочные грузы открытого хранения |
до 120 |
3 |
- |
- |
2 |
2 |
4 |
2 |
2 |
3 |
2 |
2 |
2 |
|
|
4 |
- |
- |
- |
3 |
3 |
4 |
3 |
3 |
4 |
- |
- |
- |
|||
|
5 |
3 |
3 |
4 |
3 |
3 |
4 |
- |
- |
- |
- |
- |
- |
|||
|
7 |
Зерновые грузы |
до 73 |
3 |
- |
- |
- |
2 |
2 |
4 |
2 |
2 |
3 |
2 |
2 |
2 |
|
4 |
- |
- |
- |
3 |
3 |
4 |
3 |
3 |
4 |
- |
- |
- |
|||
|
.5 |
3 |
3 |
4 |
3 |
3 |
4 |
- |
- |
- |
- |
- |
- |
|||
Рисунок 16.1. Схемы расположения рампы у железнодорожных путей.
16.1.4. На участках (ПК), перерабатывающих генеральные грузы крытого хранения и имеющих склад с рампой с береговой стороны, находящейся в зоне действия прикордонных перегрузочных машин, расстояние от подкранового рельса до оси прирампового железнодорожного пути (рисунок 16.1в) B в метрах рассчитывают по формуле
(16.3)
где L - вылет крана, м;
К - колея крана, м;
Врк - минимально необходимая оперативная зона (по ширине) рампы, обслуживаемая краном, равная 3,5 м.
16.1.5. При проектировании железнодорожных путей на ПК необходимо учитывать, что по условиям безопасности труда:
- головки рельс железнодорожных путей на территории комплекса должны быть расположены не выше уровня покрытия комплекса;
- во избежание сброса состава в воду, а также схода его с рельс на тупиковых маневровых и грузовых железнодорожных путях должны устраиваться тупиковые упоры.
16.2.1. Количество путей тылового железнодорожного фронта выбирают таким образом, чтобы количество подач, на которое делится маршрут, было не более четырех. Количество путей для установки одной подачи принимают не менее двух. Помимо погрузочно-разгрузочных путей на железнодорожном грузовом фронте должен быть предусмотрен подъездной путь.
16.2.2. Длину железнодорожного фронта определяют количеством железнодорожных платформ, обрабатываемых на одном пути, с учетом коэффициента использования полезной длины грузовых путей, равного 0,95.
16.2.3. При объемах грузооборота грузов открытого хранения до 70 тыс. т, проходящего через железнодорожный фронт и открытый склад комплектации, эти фронты компонуют совмещенными.
16.2.4. Количество технологических линий и среднее их число принимают в зависимости от грузооборота железнодорожного фронта по таблице 16.2.
Таблица 16.2
|
Грузы проходящие через железнодорожный фронт в год |
||||||||
|
контейнеры (тыс. конт.) |
||||||||
|
18 - 36 |
37 - 72 |
73 - 108 |
109 - 150 |
151 - 200 |
||||
|
Максимальное |
1 |
2 |
2 - 3 |
3 - 4 |
4-5 |
|||
|
Среднее |
1 |
1,8 |
1,8 - 2,6 |
2,7 - 3,4 |
3,4 - 4,2 |
|||
|
легковые автомобили (тыс. ед. своим ходом) |
||||||||
|
до 50 |
51 - 90 |
91 - 140 |
141 - 180 |
|||||
|
Максимальное |
1 |
2 |
2 - 3 |
3 - 4 |
||||
|
Среднее |
1 |
1,8 |
2 - 2,6 |
2,7 - 3,4 |
||||
|
грузовые автомобили (тыс. ед. своим ходом) |
||||||||
|
до 27 |
28 - 50 |
51 - 75 |
76 - 100 |
|||||
|
Максимальное |
1 |
2 |
2 - 3 |
3 - 4 |
||||
|
Среднее |
1 |
1,8 |
2 - 2,6 |
2,7 - 3,2 |
||||
|
грузы открытого хранения (тыс. т) |
||||||||
|
до 300 |
301 - 450 |
451 - 64.0 |
641 - 970 |
971-1300 |
||||
|
Максимальное |
1 |
2 |
3 |
4 - 5 |
6 |
|||
|
Среднее |
1 |
1,9 |
2,7 |
2,8 - 4 |
5,3 |
|||
|
самоходная техника, грузовые автомобили, другая специальная техника, выгружаемая вертикальным способом (тыс. ед.) |
||||||||
|
до 83 |
84 - 140 |
141 - 200 |
201 - 250 |
|||||
|
Максимальное |
1 |
2 |
3 |
4 - 5 |
||||
|
Среднее |
1 |
1,8 |
2,7 |
2,7 - 4,1 |
||||
16.2.5. Техническая производительность технологической линии «железнодорожный фронт - сортировочная площадь» в зависимости от группы груза и схемы механизации приведена в таблице 16.3.
Таблица 16.3
|
Тип машины, по которой определяют техническую производительность технологической линии |
Техническая производительность технологической линии ед/ч |
|
|
Контейнеры |
Козловой контейнерный кран на сортировочной площади |
14 |
|
Козловой контейнерный (рельсовый) кран на железнодорожном фронте |
16 |
|
|
Легковые автомобили |
Своим ходом |
23 |
|
Грузовая и специальная самоходная техника |
Козловой рельсовый кран на железнодорожном фронте |
14 |
|
Портальный кран на железнодорожном фронте |
12 |
|
|
Своим ходом |
18 |
|
|
Несамоходная техника |
Козловой рельсовый кран на железнодорожном фронте |
14 |
|
Портальный кран на железнодорожном фронте |
12 |
16.2.6. На тыловом железнодорожном фронте для самоходной техники должна быть предусмотрена смотровая площадка для дополнительного осмотра автомобилей.
16.3.1. На ПК, на которых по технологии перегрузки грузов предусмотрена транспортировка грузов портовыми транспортными средствами с пересечением этими средствами крановых путей, необходимо предусматривать строительство этих путей с рельсами, утопленными в канавках.
Габариты канавки для путей портальных кранов следует принимать: ширина - 380 мм (по 190 мм с каждой стороны от оси кранового рельса), глубины (от уровней головки рельса) - 70 мм.
16.3.2. Расстояние от кордона до оси ближайшего подкранового рельса принимают при установке на причалах: - причальных контейнерных перегружателей грузоподъемностью до 40 т - 2,75 или 4 м; портальных кранов - 2,75 или 3,2 м. Условия выбора расстояния 2,75 или 3,2 м при установке портальных кранов приведены в таблице 16. 4.
Таблица 16.4
|
Группа швартовных тумб |
Расположение электроколонок |
Расстояние, м |
|
|
До 6 |
1 и 2 |
На кордоне |
2,75 |
|
6 |
3 |
То же |
3,20 |
|
6 - 40 |
1 и 2 |
За подкрановыми путями |
2,75 |
|
6 - 40 |
1 |
На кордоне |
3,20 |
Колею подкрановых путей причальных контейнерных перегружателей принимают 16,8 м. При грузоподъемности причальных контейнерных перегружателей не более 35 т колею подкрановых путей принимают 15,3 м. Для облегченных перегружателей допускается колея 10,5 м. При этом должна быть обеспечена безопасность движения технологического и вспомогательного транспорта в пределах колеи.
Полосу для укладки люковых крышек принимают не менее ширины люковой крышки расчетных судов. Ширину рабочего прохода у люковой крышки принимают не менее 1,5 м.
Примечания.
1. При необходимости должен быть предусмотрен обогрев прирельсовой канавки с целью исключения обледенения.
2. На путях для причальных перегружателей не допускаются криволинейные участки.
3. При проектировании подкрановых путей для установки тяжелых перегрузочных машин (контейнерные перегружатели и др.) необходимо предусмотреть устройство на определенных участках рельсового пути стационарного фундамента под домкраты для подъема ходовых тележек при ремонте и замене ходовых частей, а также противоугонные устройства.
17.1.1. Потребную площадь крытых и открытых складов П в квадратных метрах определяют по формуле
(17.1)
где: Е - расчетная вместимость складов, определяют по 17.1.2;
q - технологическая нагрузка от складируемого груза, принимают согласно 17.1.3;
Ки - коэффициент использования площади складов для непосредственного хранения грузов, принимают по таблице 17.4.
17.1.2. При определении потребной площади склада необходимо учитывать требования СНиП 2.11.01-85 «Складские здания».
17.1.3. Расчетную вместимость склада в тоннах определяют по формуле
Е = k · D + ез, (17.2)
где k - коэффициент сложности исходящего грузопотока (принимают равным 1,0 - 1,3 - для однородных грузов; 1,3 - 1,6 - для смешанных);
D - чистая грузоподъемность расчетного судна, т;
ез - запас вместимости, т.
Запас вместимости определяют по формуле
ез = Р · n, (17.3)
где Р - интенсивность грузовых работ на причале по наибольшему расчетному судну, т/сут;
n - нормативный запас времени. При равномерной работе железнодорожного транспорта, не зависящей от режима подхода судов, нормативный запас принимают равным 2 сут., а при нерегулярном судоходстве - 4 сут.
Во всех случаях вместимость прикордонного склада на одном причале должна быть в пределах
1,3D < Е < 2,5D (17.4)
17.1.4. Технологическую нагрузку при хранении в крытых складах смешанных генеральных грузов принимают по таблице 17.1.
Таблица 17.1
|
Нормативная эксплуатационная нагрузка на пол склада, кПа (тс/кв. м) |
Технологическая нагрузка q, кПа (тс/кв. м) |
||
|
экспорт, импорт |
малый каботаж |
||
|
Одноэтажный |
60 (6) |
25 (2,5) |
17,5 (1/75) |
|
Многоэтажный: |
|||
|
первый этаж |
40 (4) |
21 (2,1) |
17,5 (1,75) |
|
остальные этажи |
20 (2) |
13,5 (1,35) |
17,5 (1,75) |
Технологическая нагрузка при хранении грузов на открытых складах принимается по таблице 17.2.
Таблица 17.2
|
Технологическая нагрузка q, кПа (тс/кв. м) |
|
|
Сборный металлогруз |
40,0 (4,0) |
|
Оборудование сборное (включая металлоконструкции) |
12,5 (1,25) |
Технологическая нагрузка для однородных генеральных грузов в крытых складах (или при наличии в составе грузооборота преобладающего груза) принимается по таблице 17.3.
Таблица 17.3
|
Способ складирования |
Технологическая нагрузка, кПа (тс/кв. м) |
|||
|
при нормативной эксплуатационной нагрузке на пол склада, кПа (тс/кв. м) |
||||
|
60 (6) |
40 (4) |
20 (2) |
||
|
В мешках: |
||||
|
сахар-песок |
на поддонах |
25,5 (2,55) |
2,25 (2,25) |
12,5 (1,25) |
|
шрот |
- » - |
19,5 (1,95) |
17,0 (1,70) |
12,5 (1,25) |
|
мука |
- » - |
17,0 (1,70) |
17,0 (1,70) |
11,0 (1,10) |
|
рис |
- » - |
22,0 (2,20) |
22,0 (2,20) |
12,5 (1,25) |
|
химические |
- » - |
41,5 (4,15) |
31,0 (3,10) |
17,5 (1,75) |
|
цемент |
- » - |
41,0 (4,10) |
29,5 (2,95) |
15,5 (1,55) |
|
В кипах: мешковина |
без средств пакетирования |
37,5 (3,75) |
34,0 (3,40) |
17,0 (1,70) |
|
целлюлоза |
- » - |
27,0 (2,70) |
27,0 (2,70) |
16,0 (1,60) |
|
хлопок |
- » - |
21,0 (2,10) |
19,5 (1,95) |
17,5 (1,75) |
|
джут |
- » - |
17,5 (1,75) |
16,5 (1,65) |
14,0 (1,40) |
|
В рулонах: |
||||
|
бумага |
- » - |
33,5 (3,35) |
25,5 (2,55) |
14,0 (1,40) |
|
В ящиках: |
||||
|
консервы |
- » - |
29,0 (2,90) |
28,0 (2,80) |
16,5 (1,65) |
|
метизы |
- » - |
52,5 (5,25) |
24,0 (2,40) |
15,5 (1,55) |
17.1.5. Коэффициент использования площади крытых складов для хранения смешанных генеральных грузов принимают по таблице 17.4.
Таблица 17.4
|
Коэффициент использования Ки |
||
|
при однородных (крупнопартионных) грузах |
при смешанных (мелкопартионных) грузах |
|
|
Одноэтажные, шириной, м: |
||
|
менее 24 |
0,65 |
0,55 |
|
от 24 до 30 |
0,70 |
0,60 |
|
более 30 |
0,75 |
0,60 |
|
Многоэтажные, шириной, м: |
||
|
менее 36 |
0,60 |
0,50 |
|
от 36 до 48 |
0,65 |
0,55 |
|
более 48 |
0,70 |
0,60 |
Коэффициент использования площади открытых складов для хранения металлов и оборудования следует принимать:
- в зоне действия портальных кранов и перегружателей - 0,80;
- вне зоны действия портальных кранов и перегружателей - 0,70.
17.2.1. Полезную высоту складов (от пола до низа несущих конструкций покрытия или междуэтажного перекрытия) следует принимать:
в одноэтажных складах 7,8 м
в многоэтажных складах
первого этажа 6,0 м
остальных этажей не менее 4,8 м.
17.2.2. Категории складов и класс зоны по взрывопожарной и пожарной опасности хранящихся в них грузов определяют по РД 31.31.54-92.
17.2.3. Размеры проемов ворот должны соответствовать указанным в таблице 17.5.
Таблица 17.5
|
Размеры проемов, м |
||
|
высота |
ширина |
|
|
Одноэтажные и многоэтажные (первый этаж) |
5,4 |
4,8 |
|
Многоэтажные (кроме первого этажа) |
4,2 |
4,2 |
|
Примечания. 1. При реконструкции существующих складов в случаях, когда не могут быть выполнены нормы, приведенные в таблице 17.5, допускается пониженная высота проемов, но не менее 4,2 м в одноэтажных складах и на первом этаже многоэтажных складов и не менее 3,6 м на верхних этажах многоэтажных складов. 2. При необходимости въезда в склад железнодорожных вагонов высота проемов в торцевых стенах должна быть не менее 5,5 м, а ширина не менее 4,9 м. |
||
17.2.4. Одноэтажные склады и первые этажи многоэтажных складов должны иметь погрузочно-разгрузочные рампы.
В зависимости от назначения рампы должны оборудоваться мостиками для возможности въезда средств механизации в вагоны, на автотранспорт, в контейнеры и т. д.
17.2.5. Ширину погрузочно-разгрузочных рамп складов следует принимать не менее 7 м.
17.2.6. Высоту погрузочно-разгрузочных рамп крытых складов в зависимости от назначения рамп следует принимать
- прирельсовых для обработки универсальных крытых вагонов в соответствии со СНиП 2.11.01-85;
- прирельсовых для обработки как универсальных, так и рефрижераторных вагонов, в соответствии со СНиП 2.11.02-87;
- для обработки автотранспорта и контейнеров, установленных на полуприцепах и прицепах (трейлерах), - 1200 мм от уровня покрытия территории;
- для обработки ролл-трейлеров и контейнеров, установленных на ролл-трейлерах, - 700 мм от уровня покрытия территории.
17.2.7. Погрузочно-разгрузочные рампы, не обслуживаемые портальными кранами, должны иметь навесы.
Высоту от покрытия рампы до низа выступающих конструкций навеса (в плоскости передней грани навеса) следует принимать для складов, где работают вилочные погрузчики - 4,5 м, а при других средствах механизации (подвесные и мостовые краны, погрузчики со стрелой и др.) - с учетом габаритов этих средств в рабочем состоянии, размеров грузовых единиц и технологии перегрузки грузов.
Примечание. Расстояние от головки рельсов железнодорожных путей, расположенных у рампы, до низа выступающих частей навеса принимают по ГОСТ 9238-83.
17.2.8. Навес должен перекрывать:
- рампу и не менее 0,6 ширины вагона при обработке железнодорожных вагонов вилочными погрузчиками;
- рампу и вагон по всей его ширине при обработке вагонов другими перегрузочными машинами;
- рампу, часть автомашины или контейнера в месте их загрузки (разгрузки) длиной не менее 1,5 м при обработке крытого автотранспорта и контейнеров.
17.2.9. Верхние этажи многоэтажных складов, находящихся в зоне действия портальных кранов, должны иметь в зависимости от этажности и конструкции складов грузовые балконы или террасы.
17.2.10. Ширина грузовых балконов или террас верхних этажей многоэтажных складов должна быть не менее 3,5 м (размеры от внутренней грани ограждения до наружной стены склада).
17.2.11. Возвышение грузового балкона либо террасы верхнего этажа многоэтажного склада не должно превышать высоту подъема груза портальными кранами с учетом безопасного проноса груза над ограждением.
17.2.12. Хранение химических грузов в таре, обладающих агрессивностью по отношению к другим грузам, к конструкциям и оборудованию складов, следует предусматривать в особых крытых складах либо в отдельных секциях общих (обычных) складов, специально предназначенных к такому хранению.
17.2.13. Склады для хранения химических грузов должны быть одноэтажными, хорошо защищенными от проникновения атмосферных осадков и солнечных лучей, хорошо вентилироваться, иметь освещение в безопасном исполнении.
17.2.14. Полы складов, предназначенные для хранения химических грузов, активно взаимодействующих с водой, должны быть приподняты над уровнем прилегающей территории не менее чем на 200 мм.
Полы должны иметь стоки для вывода вод, загрязненных химическими грузами, в специальные очистные сооружения.
17.2.15. В складах, предназначенных для хранения химических грузов, которые при взаимодействии с водой могут вызвать взрыв или пожар, не допускается устройства водопровода, водяного и парового отопления, а также водяных средств автоматического пожаротушения.
17.2.16. Выбор типа склада для каждого вида продовольственных грузов производят согласно таблице 17.6. Совместимость хранения различных видов скоропортящихся грузов принимают по РД 31.3.01.01-93.
17.2.17. Для складов-холодильников погрузочно-разгрузочные рампы и приемно-отправочные фронты проектируют по СНиП 2.11.02-87.
17.2.18. Крытые склады комплектации грузов проектируют с учетом требований РД 31.3.01.01-93.
17.3.1. При планировке открытых складов расстояние от торца штабеля со стороны путей и автодорог либо подпорной стенки должно приниматься:
- до оси ближайшего железнодорожного пути при высоте груза (стенки) до 1200 мм - 2,75 м, более 1200 мм - 3,25 м;
- до оси рельса подкраного пути - 2,0.м;
- до кромки проезжей части автодороги - 1,5 м.
Примечание. Расстояние от штабелей круглого леса (поштучно при объеме штабелей до 10 тыс. м3) до оси железнодорожного пути должно принимается 5 м.
17.3.2. Ширину стационарных и сборных отдельно стоящих рамп принимают по таблице 17.7.
Таблица 17.6
|
Характеристика складов |
||||
|
Склады с регулируемым режимом |
Склады отапливаемые и вентилир. |
Склады вентилируемые |
Холодильники |
|
|
СКОРОПОРТЯЩИЕСЯ |
||||
|
1. Плодоовощные: |
||||
|
картофель, овощи |
+ |
|||
|
яблоки, груши, сливы |
+ |
|||
|
абрикосы, персики, виноград |
+ |
|||
|
апельсины, мандарины |
+ |
+ |
||
|
лимоны, грейпфруты, бананы, |
||||
|
ананасы |
+ |
|||
|
томаты |
+ |
+ |
||
|
2. Мясные |
+ |
|||
|
3. Рыбные: |
||||
|
рыба охлажденная и мороженая |
+ |
+ |
||
|
соленая, вяленая, сушеная |
+ |
|||
|
копченая |
+ |
|||
|
икра в бочках |
+ |
|||
|
4. Молочные: |
||||
|
сыр |
+ |
+ |
+ |
|
|
масло сливочное, топленое |
+ |
|||
|
5. Консервы |
+ |
+ |
||
|
6. Прочие скоропортящиеся: |
||||
|
вино |
+ |
+ |
||
|
пиво |
+ |
|||
|
жиры свиной, говяжий |
+ |
|||
|
маргарин, маргагуселин, комбижир и др. |
+ |
|||
|
дрожжи |
+ |
|||
|
шоколад, шоколадные конфеты и др. |
+ |
|||
|
НЕСКОРОПОРТЯЩИЕСЯ |
||||
|
7. Зерновые: |
||||
|
пшеница, рожь, кукуруза и др. |
+ |
|||
|
бобовые: фасоль, горох и др. |
+ |
|||
|
кофе, какао-бобы |
+ |
|||
|
семена хлопка, подсолнечника |
+ |
|||
|
крупа, мука, крахмал |
+ |
|||
|
8. Овощи и фрукты сушеные |
||||
|
чернослив, курага, изюм и др. |
+ |
|||
|
9. Соль |
+ |
|||
|
10. Сахар |
||||
|
сахар-сырец, песок, рафинад |
+ |
|||
|
11. Кормовые |
||||
|
жмых, комбикорма и др. |
+ |
|||
|
12. Прочие нескоропортящиеся: |
||||
|
орехи, чай, пряности |
+ |
|||
|
табак и табачные изделия |
+ |
|||
|
Знак «+» означает возможность хранения этого вида груза на складе с данной характеристикой. * - Перечень продовольственных грузов составлен на основе РД 31.11.25.00-87 |
||||
Таблица 17.7
|
Ширина рампы, м |
|
|
Под порталом крана с колеёй 10,5 м у одного из двух ж. д. путей (на месте второго пути) |
4,1 |
|
Под порталом крана с колеей 15,3 м: |
|
|
на месте одного из крайних путей |
4,1 |
|
на месте среднего ж. д. пути |
5,6 |
|
Примечание. Ширина рамп, располагаемых вне колеи портальных кранов, должна быть не менее 4,1 м. |
|
17.3.3. Хранение лесных грузов в складах должно быть предусмотрено в штабелях отдельно для каждого вида и сорта груза.
17.3.4. Для каждой марки и класса навалочных грузов следует устраивать отдельные штабели. Склад должен обеспечивать отвод из штабеля атмосферных осадков и не допускать стока воды под соседние штабели.
На складах навалочных грузов устраивают подпорные (ограждающие) стенки со стороны подкрановых и железнодорожных путей, автодорог, а также между штабелями.
Стенки не устраивают в местах въезда на склады средств механизации и автотранспорта.
17.3.5. Высоту штабелей при хранении угля I группы и железной руды определяет возможностью перегрузочных машин и нормативной эксплуатационной нагрузкой на основание склада и на причал.
Высоту штабелей при хранении угля II, III и IV групп следует принимать по таблице 17.8.
Таблица 17.8
|
Высота штабеля, м |
|
|
II |
до 10 |
|
III |
до 6 |
|
IV |
до 5 |
17.3.6. Проходы между смежными штабелями угля и руды в пределах одного комплекса (причала) должны быть шириной не менее 3 м. Расстояние между штабелями на смежных перегрузочных комплексах определяют из условий, определяемых противопожарными требованиями и безопасными условиями труда.
17.3.7. Склады для угля II, III и IV групп должны иметь резервные площадки не менее 5 % полезной площади для охлаждения разогревшегося угля ворошением и освежения угля длительного хранения.
18.1. Все внутрипортовые грузовые оперативные площадки, проезды, дороги и подъезды должны иметь усовершенствованные постоянные покрытия, тип и вид которых устанавливают в зависимости от их технологического назначения по таблице 18.1.
Таблица 18.1
|
Нормативная эксплуатационная нагрузка |
Вид покрытия |
||||||
|
Схема |
От безрельсового транспорта |
Равномерно распределенная кПа (тс/кв. м) |
|||||
|
на колесо кН (тс) |
давление в пневматиках кПа (кгс/кв. см) |
||||||
|
Складские площадки для хранения крупнотоннажных контейнеров, блок-пакетов и других тяжеловесных грузов, проездов в зонах указанных площадок, контейнерных перегружателей |
|||||||
|
КВ-70 (КВ-35) |
350 (35) 175 (17,5) |
0,85 (8,5) |
100 (10,0) |
Монолитные цементобетонные |
|||
|
Сборные железобетонные плиты |
|||||||
|
Складские площадки для металлов и оборудования |
Н-30 |
60(6,0) |
0,59 (5,9) |
200 (20,0) |
Тот же |
||
|
Складские площадки для навалочных грузов и минеральных стройматериалов |
Н-30 |
60 (6,0) |
0,59 (5,9) |
200 (20,0) |
Монолитные цементобетонные, из скального грунта |
||
|
Складские площадки для сборных тарно-штучных грузов |
Н-30 |
60 (6,0) |
0,59 (5,9) |
100 (10,0) |
Монолитные цементобетонные, асфальтобетонные |
||
|
Складские площадки для лесных грузов |
Н-30 |
60 (6,0) |
0,59 (5,9) |
100 (10,0) |
Тот же |
||
|
Территория причалов нефтепродуктов, бункеровочных и прочих наливных грузов |
Н-10 |
35 (3,5) |
0,55 (5,5) |
20 (2,0) |
Монолитные цементобетонные сборные железобетонные плиты, асфальтобетонные |
||
|
Складские площадки для химических тарноштучных, санитарноопасных грузов |
Н-30 |
60(6,0) |
0,59 (5,9) |
60 (6,0) |
Монолитные цементобетонные, асфальтобетонные |
||
|
Площадки портовых мастерских, гаражей, заправочных мест, стоянок авто- и электропогрузчиков |
Н-10 |
35 (3,5) |
0,55 (5,5) |
20 (2,0) |
Тот же |
||
|
Площадки зерновых, пассажирских и служебно-вспомогательных причалов, а также площадки и проезды общепортового назначения |
Н-10 |
35 (3,5) |
0,55 (5,5) |
20 (2,0) |
Тот же |
||
|
Междупутье железнодорожных путей, железнодорожные переезды и полосы над магистральными инженерными сетями (кроме сетей ливневой канализации) |
Соответственно нормативной нагрузке, назначению площадке |
Сборные железобетонные плиты, асфальтобетонные |
|||||
|
Междупутье подкрановых путей |
Соответственно нормативной нагрузке, назначению площадки |
Сборные железобетонные плиты, монолитные цементобетонные, асфальтобетонные |
|||||
|
Тротуары для пешеходов и площадки благоустройства |
По соответствующим строительным нормам и правилам |
||||||
|
Примечания. 1. Выбор расчетной схемы нагрузки КВ-70 или КВ-35 для площадок производится при конкретном проектировании с учетом влияния складируемых грузов (контейнеров) на покрытие в зоне работы машин безрельсового транспорта. 2. При отсутствии скального грунта покрытия площадок навалочных грузов в тех случаях, когда не применяется грейферное оборудование, допускается (при соответствующем обосновании в проекте) выполнять из спланированного укаткой естественного грунта 3. Под скальным грунтом понимается разрыхленная взрывным способом прочная скала (горная масса) без включения мягких пород (вскрыша и т.п.). 4. Для площадок при использовании грейферного оборудования и необходимости устройства временных покрытий последние устанавливаются из сборных железобетонных плит либо (при достаточно плотных грунтах) заменяются спланированным и уплотненным (укаткой) естественным грунтом. 5. Для площадок химических грузов, агрессивных к бетону и асфальту, виды покрытия устанавливаются при проектировании. 6. Для площадок портовых механических мастерских равномерно распределенная нагрузка принимается равной 40 кПа (4,0 тс/кв. м). |
|||||||
18.2. Конструкции покрытий должны удовлетворять следующим требованиям:
- иметь прочность, обеспечивающую надежную и долговечную эксплуатацию при принятых расчетных (подвижных, статических) нагрузках;
- противостоять пластическим деформациям;
- быть морозо- и трещиностойкими;
- иметь ровную поверхность, обеспечивающую организованный водоотвод;
- обладать антикоррозийными, свойствами (на причалах химических, санитарноопасных и тому подобных грузов).
Конструирование жестких покрытий - по РД 31.31.46-88.
18.3. Грунты, применяемые для отсыпки насыпей в надводной части территории, и грунты основания, устраиваемые из песка (крупного, среднего и мелкого), щебня и гравия - по СНиП 2.05.02-85
18.4. Толщину постоянных покрытий принимают не менее для верхнего слоя покрытия (по СНиП 2.05.02-85):
- цементобетонного монолитного - 16 см;
- из сборных железобетонных плит - 14 см;
- из асфальтобетона - двухслойного - 9 см;
для основания:
- укрепленного вяжущими - 15 см;
- не укрепленного вяжущими - 20 см.
18.5. При машинном способе укладки и вибрирования цементобетона толщина верхнего слоя покрытия, как правило, не должна превышать 30 см.
18.6. На насыпных грунтах высотой более 3 м в монолитное цементобетонное покрытие закладывают арматурную сетку из стержней диаметром 5 - 10 мм на глубину 1/3 толщины цементобетонного покрытия от поверхности. Смежные ряды сеток должны перекрываться не менее чем на 100 мм.
18.7. Для обеспечения отвода дождевых, вод поверхность территории причалов с усовершенствованными покрытиями и поверхность складских площадок всех типов должны иметь уклоны:
- для контейнеров, блок-пакетов и тяжеловесов, а также для навалочных грузов - до 0,010;
- для генеральных и лесных грузов - 0,010 - 0,020;
- на площадках у механических мастерских, гаражей, заправочных и на стоянках автомашин и погрузчиков - 0,015 - 0,020.
18.8. На специализированных ПК дождеприемные колодцы следует размещать вне зоны интенсивных погрузочно-разгрузочных работ, при этом они должны быть усиленного типа, выдерживающими давление от расчетных типов машин.
Устройство дождеприемников - по ГОСТ 26008-83.
Размещение дождеприемных колодцев под штабелем навалочных грузов не допускается.
19.1.1. При проектировании сетей должен составляться совместный план с целью увязки различных коммуникаций между собой.
19.1.2. Инженерные сети следует прокладывать в местах, доступных в процессе эксплуатации для ревизии и ремонта, предпочтительно вдоль тыловых автомобильных дорог с учетом красных линий и других мест, где невозможна последующая застройка. На широких пирсах полосу для прокладки магистральных сетей, как правило, предусматривают в средней части пирса.
19.1.3. Для прокладки инженерных сетей, связывающих магистральные сети с сетями прикордонной зоны, перпендикулярно причальной линии через каждые 1 - 2 причала, как правило, отводят полосы с покрытием сборными плитами.
19.1.4. При разработке проектов инженерных сетей следует учитывать положения РД 31.82.01-95.
19.2.1. При разработке проекта электроснабжения наряду с настоящими Нормами следует руководствоваться Правилами устройства электроустановок (ПУЭ-85).
19.2.2. Высоковольтные кабели, как правило, прокладывают в траншее. Эти кабели преимущественно должны прокладывать в полосе инженерных сетей.
19.2.3. При прокладке электрокабелей параллельно с другими сетями нормы сближения принимаются по ПУЭ-85. При прокладке кабелей в траншее параллельно внутрипортовым железнодорожным путям, расстояние от кабеля до оси пути железной дороги может быть принято 2,5 м.
Расстояние от кабеля до подкранового рельса, уложенного на шпальном основании, должно быть не менее 1,5 м.
Расстояние от кабеля до подкранового рельса, уложенного на бетонной балке, не нормируют.
19.2.4. На открытых складских площадках и других участках территории порта с монолитным бетонным покрытием в нем следует оставлять полосы для прокладки электрических сетей с покрытием сборными плитами. В тех случаях, когда устройство разборного покрытия неприемлемо, кабели (независимо от их числа) следует прокладывать в канализации из асбестоцементных труб или бетонных блоков.
В портах с высоким уровнем грунтовых вод допускается снижение высоты кабельных колодцев до 1,5 м (вместо 1,8 м по ПУЭ).
Крышки люков кабельных приямков и колодцев следует располагать с учетом открытия их в сторону крановых путей по соображениям безопасности обслуживания.
19.2.5. Электрокабели в местах пересечения с железными и автомобильными дорогами, подкрановыми путями и другими инженерными сооружениями следует прокладывать в трубах.
На пересечениях с железнодорожными и подкрановыми путями, где возможна осадка грунта, следует применять стальные трубы.
19.2.6. На ПК, специализированных для контейнеров и обработки судов с горизонтальным способом погрузки, прокладку кабелей к прожекторным мачтам, перегрузочным машинам и пунктам подключения рефрижераторных контейнеров производят только в трубной канализации с устройством кабельных колодцев. Допускается траншейная прокладка с легкосъемной полосой покрытия.
19.2.7. Освещение территории порта проектируют по нормам, приведенным в СНиП 23-05-95, РД 31.82.01-95, РД 31.82.03-95.
19.2.8. Прожекторные мачты на площадках складирования контейнеров размещают, как правило, в проездах между штабелями.
Отдельно стоящие трансформаторные подстанции следует размещать по периметру складской площадки. В исключительных случаях, когда требуется установка подстанции внутри площадки, ее не должны размещать в пределах штабеля и технологических проездов.
19.2.9. Электроколонки располагают вне подкрановых путей со стороны линий кордона причала. Расстояние между электроколонками принимают не более 40 м.
Привязку электроколонок питания кранов в поперечном направлении производят с учетом габарита приближения, установленного «Правилами устройства и безопасной эксплуатации грузоподъемных кранов» Госгортехнадзора: расстояние в свету между колонкой и выступающими частями крана должно быть не менее 700 мм.
Присоединение крановых электроколонок к питающим фидерным линиям от распределительных щитов подстанций, как правило, выполняют по схеме «через одну», с целью обеспечения большей надежности электропитания кранов.
19.2.10. На всех строящихся и реконструируемых причалах следует устанавливать электроколонки для подключения судов к береговой сети, которые располагают у кордона и устанавливают в одну линию с крановыми электроколонками. На одном причале следует предусматривать две электроколонки, располагая их вдоль причала примерно через две крановые колонки.
Присоединение колонок электроснабжения судов к сети питания кранов не допускается из-за неустойчивого напряжения.
19.2.11. Контейнерные и другие перегружатели, работающие от сети напряжением 6 - 10 кВ, должны подключаться индивидуально к распределительному устройству 6 - 10 кВ ближайшей подстанции. Линии питания таких перегружателей должны быть (помимо максимальной защиты) оборудованы защитой от замыкания на землю с действием на отключение.
Соединение шлангового кабеля 6 - 10 кВ с кабелем стационарным производят в прикордонном туннеле или кабельном колодце с помощью специальной кабельной муфты.
19.2.12. Высоковольтные шланговые кабели перегружателей при сматывании с кабельного барабана укладывают в лотки или канавки, которые следует предусматривать в бетонном покрытии. Из канавок делают водоотвод и принимают меры против вмерзания кабеля.
19.3.1. Номенклатуру и состав сетей связи и сигнализации в морских портах проектируют в соответствии с РД 31.30.11.01-84, ВСН 12-87.
19.3.2. Устройства связи (телефонной, радиотелефонной, громкоговорящей) должны обеспечивать связь причалов с находящимися под обработкой танкерами, операторским пунктом, диспетчерской ПК, перевалочной и бункеровочной нефтебазами, станцией очистки балластных вод и с другими хозяйствами и службами, связанными с эксплуатацией ПК.
На причалах морских портов должна быть предусмотрена возможность связи судов с абонентами береговой телефонной сети и с погранслужбой (отдельная сеть) и службой передачи данных в ИВЦ порта, для чего на причалах оборудуют телефонные коробки.
Расстояние между пунктами подключения должно быть не более 75 м.
Кроме того, должна быть предусмотрена возможность громкоговорящего оповещения.
Громкоговорители устанавливают на прожекторных мачтах на высоте 5 - 10 м. Допускается установка громкоговорителей на стенах зданий и сооружений.
Пункты подключения и конструкцию коробок телефонной сети проектируют в соответствии с принятой конструкцией причальной стенки.
19.3.3 Габариты сближения сетей связи с другими подземными сетями принимают:
- при параллельном следовании кабеля связи, прокладываемого в траншее с высоковольтным кабелем напряжением до 10 кВ, не менее 500 мм, а при условии прокладки кабеля связи в трубе или разделении кабелей от силовых перегородкой из железобетонных плит это расстояние может быть сокращено до 250 мм;
- при параллельном следовании кабеля связи в земле с внутрипортовыми железнодорожными путями расстояние между кабелем и осью железнодорожного пути должно быть не менее 3,5 м.
19.4.1. Тепловые сети по территории порта прокладывают подземными в железобетонных непроходных каналах, а также надземными, как на низких, так и на высоких опорах, с учетом габаритов проезда железнодорожного и автомобильного транспорта.
19.4.2. При пересечении внутрипортовых автодорог при подземной прокладке теплотрассы трубопроводы прокладывают, как правило, в гильзах из металлических труб.
19.4.3. На местах складирования грузов и контейнеров тепловые сети, как правило, не прокладывают.
19.4.4. Для трубопроводов тепловых сетей следует предусматривать стальные электросварные трубы.
19.4.5. При осуществлении теплоснабжения порта от внешнего источника на вводе теплосети в порт устраивают пункт учета потребляемой портом тепловой энергии.
19.4.6. При выборе способов и конструкции прокладки тепловых сетей учитывают особые условия строительства: сейсмичность 8 баллов и более, распространение вечномерзлых грунтов, а также наличие торфяных и илистых грунтов. Дополнительные требования к тепловым сетям в особых условиях строительства принимают по СНиП 2.04.07-86.
19.5.1. Внутрипортовые сети хозяйственно-противопожарного водопровода прокладывают по кольцевой схеме. Тупиковые линии этого водопровода не должны превышать 200 м.
На водопроводных вводах в порт предусматривают установку водомеров в отдельно стоящем теплом помещении или в помещении, совмещенном с проходной порта.
Установку водомеров следует предусматривать на вводах во всех производственных и бытовых зданиях порта.
19.5.3. Сеть хозяйственно-противопожарного водопровода причалов при длине их более 200 м подключают к кольцевой водопроводной сети порта двумя вводами с разделительной задвижкой между ними.
19.5.4. Снабжение судов водой производят, как правило, от раздаточных колодцев на причалах и совмещают по времени с грузовыми операциями. Раздаточные колодцы устанавливают вдоль причалов в их конструкции на расстоянии 50 - 80 м друг от друга.
Для учета количества воды, отпускаемой на суда, следует предусматривать установку переносных или стационарных водомеров. Переносные водомеры устанавливают в раздаточных колодцах на время бункеровки судов. Стационарные водомеры устанавливают в помещениях узлов управления.
19.5.5. Участок водопровода между смотровыми и раздаточными колодцами, как правило, следует прокладывать в стальном кожухе из труб на глубине 0,7 м от поверхности земли до верха кожуха с учетом его опорожнения в период отрицательных температур. Диаметр подводящей водопроводной линии к раздаточному колодцу следует принимать не менее 75 - 80 мм.
19.5.6. Опорожнение участков водопровода между смотровыми и раздаточными колодцами предусматривают, как правило, в сторону смотрового колодца с отводом воды через «мокрый» колодец в ближайшую сеть дождевой канализации.
19.5.7. Прикордонную водопроводную линию прокладывают между подкрановыми или железнодорожными путями на расстоянии 3,0 м от оси трубы до подкранового рельса на шпальном основании и не менее 2,4 м от оси трубы до оси железнодорожного пути.
19.5.8. На прикордонной водопроводной сети следует устанавливать пожарные гидранты.
19.5.9. Минимальный свободный напор в сети водопровода на причале для обеспечения бункеровки судов должен быть не менее 0,2 МПа.
19.5.10. Для пожаротушения на судах, как резервный источник, используют противопожарные глубоководные колодцы на расстоянии 250 - 300 м друг от друга из расчета подачи воды из них автонасосами по шлангам длиной до 150 м., устанавливаемые на выпусках дождевой канализации или специально сооружаемые вдоль линии причалов, соединенные с акваторией самотечной трубой диаметром не менее 300 мм.
19.5.11. На открытых грузовых площадках противопожарные водозаборные колодцы устанавливают у проезда к причалам.
Примечание. Противопожарный колодец может быть заменен специальным подъездом для забора воды непосредственно из акватории.
19.5.12. Выпуски дождевой канализации в причальной стенке в местах пожарных подъездов следует устраивать, как правило, затопленного типа с учетом использования их в качестве противопожарных совместно с береговым колодцем. При этом выбор отметок и конструкция выпуска дождевой канализации и колодца должны отвечать требованиям СНиП 2.04.02-84 на противопожарные водозаборы.
19.5.13. На грузовых площадках и причалах дождеприемные решетки устанавливают, как правило, на смотровых колодцах.
19.5.14. Вместо дождеприемных колодцев на территории районов перегрузки сыпучих грузов следует предусматривать фильтрующие траншеи с дренажными коллекторами.
19.5.15. Прикордонный самотечный коллектор канализации для отвода дождевых вод с причалов прокладывают с тыловой стороны железнодорожных и подкрановых путей за анкерной стенкой причала.
19.5.16. На перегрузочных комплексах, специализированных для контейнеров и накатных судов, в местах прокладки водопровода предусматривают устройство покрытий из сборных плит. Над трубопроводами дождевой канализации допускается применение монолитного покрытия.
20.1. Общие положения
20.1.1. Гаражи погрузчиков предназначаются для хранения, планово-предупредительного ремонта и технического обслуживания авто- и электропогрузчиков.
Во всех случаях, когда это представляется возможным, гаражи погрузчиков следует размещать в одном блоке с районными ремонтно-механическими мастерскими.
20.1.2. В зависимости от численности парка закрепленных за гаражом погрузчиков проект его разрабатывают, на одну из унифицированных вместимостей: 10, 25, 50, 100, 150, 200, 250 и 300 единиц.
20.1.3. В состав гаража погрузчиков входят:
стоянки для авто- и электропогрузчиков;
зоны ремонта и технического обслуживания погрузчиков;
участки: ремонта агрегатов, двигателей, электрооборудования, топливной аппаратуры и слесарно-механический;
участки: кузнечный, сварочный, жестяницкий, медницкий и термический;
шиномонтажный участок;
столярный и обойный участки;
окрасочный;
заправочные и зарядные станции;
складские помещения для хранения: запчастей, агрегатов, шин, смазочных материалов, лакокрасочных материалов, химикатов;
вспомогательные помещения (санитарно-бытовые, для приема пищи, служебные).
В каждом конкретном случае состав помещений гаража определяется в соответствии с парком обслуживаемых машин и уточняется заданием на проектирование.
20.1.4. При проектировании гаража погрузчиков необходимо осуществлять максимально возможное блокирование его зданий.
Проектирование отдельно стоящих зданий допускается как исключение в следующих случаях:
при реконструкции гаражей, когда расширение существующего здания по условиям площадки объекта невозможно;
при строительстве гаража, когда посадка единого здания расчетных размеров вследствие конфигурации участка и его рельефа является невозможной.
Примечание. В гаражах, где предусматривается более 10 постов обслуживания и ремонта или стоянка более 100 погрузчиков, допускается для мойки машин проектировать отдельное здание.
20.1.5. Основные параметры помещений, навесов и открытых площадок гаражей погрузчиков определяют в проекте в соответствии с их категорией. С этой целью все погрузчики в зависимости от их габаритных размеров разделяют на категории, приведенные в таблице 20.1.
Таблица 20.1
|
Параметры погрузчиков, м |
|||
|
длина |
ширина |
высота |
|
|
I |
до 4,7 |
до 2,0 |
до 3,1 |
|
II |
более 4,7 до 6,0 |
более 2,0 до 2,5 |
более 3,1 до 3,4 |
|
III |
более 6,0 до 8,0 |
более 2,5 до 2,8 |
более 3,4 до 4,0 |
|
IV |
более 8,0 до 10,0 |
более 2,8 до 3,5 |
более 4,0 до 5,0 |
20.1.6. В портах, где средняя температура самого холодного месяца ниже нуля, стоянки электропогрузчиков должны быть расположены только в отапливаемых помещениях.
При средней отрицательной температуре самого холодного месяца выше - 15 °С количество мест стоянок автопогрузчиков, подлежащих обязательному размещению в отапливаемых помещениях, определяют по таблице 20.2.
Таблица 20.2
|
Количество автопогрузчиков, размещаемых в отапливаемых помещениях, % от общего количества |
|
|
Северный и Дальневосточный (выше 50° с. ш.) |
60 - 80 |
|
Балтийский и Дальневосточный (Приморье и Южный Сахалин) |
50 - 60 |
|
Черноморский и Каспийский |
30 - 50 |
20.1.7. Расстояние между погрузчиками, а также между погрузчиками и элементами здания при их расстановке в помещении для отстоя принимают по таблице 20.3.
Таблица 20.3
|
Погрузчики и конструкции здания, между которыми устанавливается расстояние |
Расстояние в зависимости от категории погрузчика, м |
|||
|
I |
II |
III |
IV |
|
|
Между боковыми сторонами погрузчиков, а также между стеной и погрузчиком, установленным параллельно стене. |
0,5 |
0,6 |
0,6 |
0,8 |
|
Между боковой стороной погрузчика и колонной или пилястрой. |
0,3 |
0,3 |
0,4 |
0,5 |
|
Между передней стороной погрузчика и стеной или воротами. |
0,5 |
0,5 |
0,5 |
0,5 |
|
Между задней стороной погрузчика и стеной или воротами. |
0,7 |
0,7 |
0,7 |
0,7 |
|
Между погрузчиками, стоящими один за другим. |
0,4 |
0,5 |
0,6 |
0,6 |
20.1.8. Ширину проездов на стоянках определяют в соответствии с параметрами (длина, ширина) погрузчиков и их маневренными характеристиками.
Габариты приближения маневрирующего погрузчика следует принимать:
- до соседних к месту установки погрузчиков или до элементов здания - не менее 0,3 м;
- до погрузчиков или элементов здания, находящихся по другую сторону от проезда - не менее 0,7 м.
20.1.9. Высота помещений или навесов для стоянки погрузчиков от пола до выступающих элементов покрытия или перекрытия должна быть принята по категориям погрузчиков: I - не менее 3,3 м; II -не менее 3,6 м; III - не менее 4,2 м; IV - не менее 5,2 м.
20.1.10. Помещения для стоянок погрузчиков должны быть оборудованы колесоотбойными устройствами от стен и колонн здания.
20.1.11. Помещения для стоянки погрузчиков не должны непосредственно сообщаться:
- с помещениями вулканизационных, сварочных, ацетилено-газопламенных, кузнечных, термических, медницких, столярных, обойных и малярных работ, ремонта и зарядки аккумуляторных батарей;
- со складскими помещениями для хранения масел и легковоспламеняющихся жидкостей и другими складскими помещениями;
- с помещениями котельной.
20.2. Обслуживание и ремонт погрузчиков
20.2.1. Расстояния между погрузчиками, а также между погрузчиками и элементами здания или стационарным технологическим оборудованием в помещениях для технического обслуживания и ремонта погрузчиков принимают по таблице 20.4.
Таблица 20.4
|
Погрузчики и элементы здания, между которыми устанавливается расстояние |
Расстояние в зависимости от категории погрузчика, м |
||
|
I |
II, III |
IV |
|
|
Погрузчики на постах технического обслуживания и ремонта и элементы здания: |
|||
|
боковая сторона погрузчика и стена; |
1,5 |
1,8 |
2,5 |
|
то же на постах ежесменного обслуживания и ТО-1; |
1,2 |
1,6 |
2,0 |
|
торцевая сторона погрузчика и стена; |
1,2 |
1,5 |
2,0 |
|
погрузчик и колонна (пилястра); |
0,7 |
1,0 |
1,0 |
|
погрузчик и наружные ворота, расположенные напротив поста. |
1,5 |
1,5 |
1,5 |
|
Погрузчики на постах технического обслуживания и ремонта: |
|||
|
боковые стороны погрузчиков; |
2,2 |
2,5 |
4,0 |
|
то же на постах ежемесячного обслуживания и ТО-1; |
1,6 |
2,0 |
2,5 |
|
торцевые стороны погрузчиков. |
1,2 |
1,5 |
2,0 |
20.2.2. В гараже вместимостью до 200 погрузчиков допускается размещать в одном помещении с постами ремонта и технического обслуживания участки: слесарно-механические, электроремонтные, по ремонту двигателей, агрегатов, топливной аппаратуры.
20.2.3. В помещениях сварочно-жестяницких или столярных участков допускается размещать посты для выполнения соответствующих работ непосредственно на погрузчике.
20.2.4. Посты для мойки погрузчиков допускается размещать в помещениях постов технического обслуживания и ремонта.
20.2.5. Рекомендуемые величины отношений площадей помещений к суммарной площади установленного в них оборудования приведены в таблице 20.5.
Таблица 20.5
|
Отношение площадей |
|
|
Помещение участков (работ) слесарно-механических, электроремонтных, ремонта топливной аппаратуры, ремонта и зарядки аккумуляторных батарей, медницких. |
4,5 |
|
Помещения участков ремонта агрегатов, двигателей, шиноремонтных, шиномонтажных и окрасочных участков. |
5,0 |
|
Помещения участков (работ) сварочных, термических, кузнечных, жестяницких, столярных и обойных. |
5,5 |
|
Склады (кладовые) запчастей, агрегатов, инструмента, резины, смазочных и обтирочных материалов |
3,0 |
20.2.6. Рекомендуемые размеры пролетов, высота зданий и грузоподъемность подъемно-транспортных средств для гаражей в зависимости от категории обслуживаемых ими погрузчиков приведены в таблице 20.6.
Таблица 20.6
|
Максимальная масса узлов и деталей ремонтируемых погрузчиков, т |
Ширина пролета, м |
Шаг колонн, м |
Высота, м |
Подъемно-транспортные средства |
|||
|
до низа строительных конструкций |
от пола до пола |
грузоподъемность, т |
конструкция |
||||
|
Одноэтажные здания |
|||||||
|
I |
До 2 |
12 |
6; 12 |
6 |
- |
2 |
- |
|
II |
До 3,2 |
12; 18 |
6; 12 |
6; 7,2 |
3,2 |
однобалочные краны |
|
|
III, IV |
До 5 |
18 |
6; 12 |
7,2 |
5 |
мостовые, подвесные краны |
|
|
Многоэтажные здания |
|||||||
|
I |
До 2 |
6; 9 верхний этаж |
6 |
4,8 |
2 |
тали с электроприводом |
|
|
9; 12 |
6,0 |
||||||
20.3. Зарядные станции
20.3.1. Тяговые и стартерные аккумуляторные батареи должны заряжаться в специально выделенных для этого помещениях зарядных станций, выполненных в соответствии с требованиями «Указаний по проектированию зарядных станций тяговых и стартерных батарей».
20.3.2. Тяговые аккумуляторные батареи при количестве их не более шести разрешается заряжать в производственных помещениях категории Д под местными вытяжными устройствами при условии установки в одном месте не более двух батарей.
При этом категория производства в отношении взрывопожарной безопасности не изменяется. Зарядка батарей должна производиться у наружных стен с оконными проемами.
20.3.3. Для обслуживания стартерных аккумуляторных батарей автопогрузчиков проектируют два раздельных помещения: для ремонта аккумуляторов и для их зарядки.
20.4. Требования взрывопожарной и пожарной безопасности
20.4.1. При проектировании гаражей должны соблюдаться противопожарные требования СНиП 2.09.02-85 и РД 31.31.54-92.
20.4.2. Степень огнестойкости зданий, гаражей, площади этажей между противопожарными стенами и количество этажей над ними, а также необходимость установок систем автоматического пожаротушения или автоматической пожарной сигнализации принимают согласно ВСН 01- 89.
21.1. По характеру выполняемых работ в состав ремонтной базы порта входят:
- центральные ремонтно-механические мастерские;
- районные ремонтно-механические мастерские;
- судоремонтные мастерские;
- ремонтно-строительные мастерские;
- мастерские по ремонту контейнеров;
- пункт технического освидетельствования контейнеров.
21.2. Все цехи, отделения и участки ремонтных мастерских должны располагаться (блокироваться) в одном здании. Исключение составляют только те производства, которые по соображениям взрывопожарной опасности и санитарных требований рекомендуется располагать в отдельно стоящих зданиях.
21.3. Нормативы трудоемкости ремонта и технического обслуживания перегрузочных машин, коэффициентов цикличности, распределение трудоемкости по специальностям и продолжительности ремонта принимаются по РД 31.3.01.01-93.
21.4. Объем работ по ремонту и изготовлению технологической оснастки, ремонту инженерных сетей и прочим общепортовым нуждам принимают в размере 15 - 20 % от загрузки мастерских по ремонту перегрузочных машин, оборудования и портового флота и 5 - 8 % от общей загрузки.
21.5. Расход основных материальных ресурсов на программу мастерских определяют по укрупненным показателям (таблица 21.1).
Нормативы расчетного годового фонда времени работы оборудования и коэффициенты его загрузки принимают по данным таблиц 21.2 и 21.3.
Нормативы удельной площади подразделений ремонтно-механических мастерских, состав минимального комплекта технологического оборудования, рекомендации по размещению отделений и участков принимаются по РД 31.3.01.01-93.
21.6. Требования взрывопожарной и пожарной безопасности устанавливают по СНиП. 21-01-97, ГОСТ 12.1.004-91.
21.7. Судоремонтные работы, как правило, выполняют центральные ремонтно-механические мастерские. Проектирование судоподъемных устройств вертикального типа и стапельных площадок производят по отдельному заданию.
Таблица 21.1
Расход основных материалов на 100 тыс. чел-ч. трудоемкости
|
Расчетная потребность |
|
|
Сталь листовая, т |
86 |
|
Сталь профильная и сортовая, т |
92 |
|
Трубы черные, т |
10,4 |
|
Трубы цветные, т |
1,2 |
|
Литье чугунное, т |
7,6 |
|
Литье стальное, т |
5,6 |
|
Литье цветное, т |
5,2 |
|
Поковки, т |
7,6 |
|
Прокат цветной, т |
2,4 |
|
Электроды и электродная проволока, т |
9,6 |
|
Канат стальной, т |
6,0 |
|
Кабель, км |
4,0 |
|
Олово, баббит, припой, т |
0,16 |
|
Пиломатериалы, м |
188 |
|
Краски, т |
10,8 |
|
Кислород, м |
4400 |
|
Ацетилен, м |
1100 |
|
Электроизоляционные материалы (гетинакс, миканит, и др.), т |
0,8 |
|
Резинотехнические изделия, т |
6,0 |
|
Строительные материалы, т |
2,4 |
|
Прочие материалы, т |
13,2 |
|
Примечание. Приведенные показатели расхода основных материалов следует применять при проектировании ЦРММ и РРММ. Для судоремонтных мастерских надлежит пользоваться нормативными документами, упомянутыми в РД 31.3.01-01-93, п.9.3.6; для контейнерных мастерских - согласно технологическому расчету. |
|
Таблица 21.2
Расчетный годовой фонд времени работы оборудования
|
Расчетный годовой фонд времени, ч |
||
|
при одной смене |
при двух сменах |
|
|
Металлорежущее и деревообрабатывающее, заготовительное (ножницы вальцы и т.д.) |
2020 |
4015 |
|
Кузнечно-прессовое |
1985 |
3955 |
|
Печи термические сушильные, электрические (с периодическим циклом работы, немеханизированные) |
2010 |
3975 |
|
Сварочные |
2010 |
3955 |
|
Стенды сборочно-разборочные, сборочно-сварочные и подобные |
2070 |
4140 |
|
Стенды испытательные и диагностические для вспомогательных ДВС, насосов, компрессоров, электромашин, приборов - гидравлические и др. |
2020 |
4015 |
Таблица 21.3
Средний коэффициент загрузки технологического оборудования
|
Оборудование |
Средний коэффициент загрузки |
|
Металлорежущие станки: |
|
|
при трудоемкости станочных работ до 70 тыс. чел. ч |
0,7 |
|
свыше 70 тыс. чел. ч |
0,75 |
|
Станки котельно-корпусных отделений: |
|
|
при годовом выпуске обработанной стали до 500 т |
0,5 |
|
до 1000 т |
0,6 |
|
до 2000 т |
0,7 |
|
Оборудование трубопроводных отделений |
0,6 |
|
Оборудование деревообрабатывающих отделений |
0,5 |
22.1. Расчетное число судов данного типа, Nэi, единиц определяют по формуле
(22.1)
где: Qci - объем работы судов данного i-го типа в месяц наибольшей загрузки, судо-ч;
Fi - бюджет рабочего времени судов i-того типа за месяц, ч, учитывает потери времени на навигационный ремонт, прием топлива и грузов материально-технического снабжения, простои по метеорологическим причинам и принимается:
- для самоходных судов - 625 ч в месяц;
- для несамоходных судов - 660 ч в месяц;
Kбi - коэффициент использования бюджета рабочего времени (таблица 22.1).
Таблица 22.1
|
Значение Kбi |
|
|
Портовые буксиры-кантовщики |
0,65 |
|
Портовые бункеровщики жидким топливом и водой |
0,65 |
|
Суда, предназначенные для устранения загрязнения акватории |
0,65 |
|
Лоцманские суда и катера |
0,40 |
|
Малотоннажные грузовые суда: |
|
|
несамоходные |
0,75 |
|
самоходные |
0,85 |
|
Буксиры морские |
0,85 |
|
Пассажирские суда для пригородных сообщений |
0,50 |
|
Пожарные суда |
0,65 |
|
Аварийно-спасательные |
0,65 |
|
Ледоколы для проводки судов |
0,30 |
22.2. Портовые буксиры-кантовщики
22.2.1. Объем работы портовых буксиров-кантовщиков в месяц наибольшей работы на маневровых операциях Qбi в судо-часах определяют как сумму потребности в буксирах данного типа для каждой из групп транспортных судов по формуле
(22.2)
где Ncj - расчетное количество заходов j-ой группы судов, для обслуживания которых используют буксиры i-того типа;
t1i - занятость буксиров i-того типа на операции «ввод и швартовка» с судами j-той группы (таблица 22.2);
t2i - занятость буксиров i-того типа на операции «отшвартовка и вывод» с судами данной j-той группы (таблица 22.2);
t3i - занятость всех буксиров i-того типа на операции «перестановка» с судами данного типа, буксиро-ч (таблица 22.2);
а - количество перестановок, приходящихся на 1 судозаход судов j-той группы.
22.2.2. Занятость буксиров на выполнении маневровых операций с одним транспортным судном определяют по таблице 22.2.
Нормы занятости буксиров определены для дальности проводки буксирами при вводе и выводе - 2 мили, при перестановке - 1 миля. При дальности проводки в проектируемом порту более указанных на каждую дополнительную милю норму занятости увеличивают для судов
I - IV групп на 0,4 буксиро-часа;
V - VII групп на 0,5 буксиро-часа;
VIII - IX групп на 0,66 буксиро-часа.
Группу транспортных судов устанавливают согласно РД 31.03.01-90.
22.2.3. Нормы занятости буксиров определены при обслуживании транспортных судов, не имеющих подруливающих устройств. При наличии у обслуживаемых судов подруливающих устройств нормы занятости, указанные в таблице 22.2 принимают с коэффициентом 0,75.
22.3. Портовые бункеровщики жидким топливом и водой
22.3.1. Объем работ портовых бункеровщиков Qci в судо-часах в месяц наибольшей работы определяют по формуле
(22.3)
где Qм - объем бункера, подлежащего отпуску на суда плавбункеровщиками в месяц наибольшей загрузки, т;
Ррасч - производительность бункеровщика за цикл непрерывной работы, т/ч.
Таблица 22.2
Нормы занятости буксиров-кантовщиков на маневровых операциях с одним судном в буксиро-часах
|
Расчетная мощность одного буксира л. с. |
Ввод и швартовка |
Отшвартовка и вывод |
Перестановка |
||||
|
Количество буксиров |
Буксиро-часы, t |
Количество буксиров |
Буксиро-часы, t |
Количество буксиров |
Буксиро-часы, t |
||
|
I |
600 (360) |
2 |
2,3 |
2 |
2,2 |
2 |
3,0 |
|
II |
600 |
2 |
2,8 |
2 |
2,6 |
2 |
3,5 |
|
III |
1200 (900) |
2 |
3,8 |
2 |
3,3 |
2 |
4,2 |
|
IV |
1200 |
2 |
4,8 |
2 |
4,2 |
2 |
5,2 |
|
V |
1800 |
2 |
5,8 |
2 |
4,8 |
2 |
6,5 |
|
VI осн. |
2300 |
2 |
6,8 |
2 |
5,8 |
2 |
7,3 |
|
VI доп. |
1200 |
1 |
1,8 |
- |
- |
1 |
1,8 |
|
Итого по гр. VI |
3 |
8,6 |
2 |
5,8 |
3 |
9,1 |
|
|
VII осн. |
3000 |
2 |
7,5 |
2 |
6,5 |
2 |
8,2 |
|
VII доп. |
1200 |
2 |
3,8 |
1 |
1,8 |
2 |
4,3 |
|
Итого по гр. VII |
4 |
11,3 |
3 |
8,3 |
4 |
12,5 |
|
|
VIII осн. |
4000 |
2 |
8,0 |
2 |
7,0 |
2 |
8,8 |
|
VIII доп. |
1800 |
2 |
4,7 |
1. |
2,3 |
2 |
6,3 |
|
Итого по гр. VIII |
4 |
12,7 |
3 |
9,3 |
4 |
15,1 |
|
|
IX осн. |
5000 |
2 |
8,5 |
2 |
7,5 |
2 |
9,5 |
|
IX доп. |
2300 |
2 |
5,5 |
1 |
2,8 |
2 |
7,0 |
|
Итого по гр. IX |
4 |
14,0 |
3. |
10,3 |
4 |
16,5 |
|
|
Примечания. 1. В таблице учтена занятность буксиров от момента прибытия к объекту работы до прекращения надобности в буксире (включая технологические перерывы в процессе маневровых операций, а также время на пробеги от места стоянки и обратно). 2. Нормы таблицы относятся к портам со средними планировочными условиями и могут быть приняты с увеличением на 10 - 15 % в случае, если порт характеризуется особо стесненными условиями маневровых операций. 3. В графе «расчетная мощность» в скобках показана мощность, достаточная для маневровых операций с судами данной тоннажной группы. |
|||||||
22.3.2. Расчетную часовую производительность в тоннах за 1 цикл непрерывной работы, который включает одну операцию по приему груза, переход от пункта налива к бункеруемым судам, перекачку топлива или воды в бункеруемые суда, переходы к бункеруемым судам и возвращение в пункт налива, определяют по формуле
(22.4)
где Qц - количество топлива или воды в тоннах, доставленное бункеруемому судну за 1 цикл;
Тц - продолжительность цикла, ч.
22.3.3. В портах, где бункеровку судов производят плавсредствами, должно быть не менее двух бункеровочных судов. В портах, где бункеровку судов производят по трубопроводам, может быть одно бункеровочное судно.
22.4. Суда, предназначенные для предотвращения загрязнения моря
Во всех категорийных портах должны быть предусмотрены нефтемусоросборщики. Их количество определяют при конкретном проектировании и принимают от 1 до 4.
22.5. Лоцманские суда и катера
В портах, где предусматривается лоцманская проводка транспортных судов, количество этих судов определяется по согласованию с морской администрацией порта.
22.6. Пожарные суда
В крупных портах (с числом причалов 20 и более), а также во всех портах имеющих нефтегавани, должно быть предусмотрено пожарное судно.
22.7. Аварийно-спасательные суда
В крупных портах рекомендуется предусматривать аварийно-спасательное судно.
22.8. Ледоколы
В портах, где требуется ледокольная проводка судов на подходах к порту, следует предусмотреть условия применения ледоколов.
Приписка ледокола к проектируемому порту должна быть экономически обоснована.
23.1.1. Система режимно-охранного обеспечения морского порта включает следующие службы: пропускной контроль, пограничный контроль, таможенный контроль, иммиграционный контроль, санитарно-эпидемиологический контроль, ветеринарный и фитосанитарный контроль.
23.1.2. Здания и сооружения объектов контроля размещают в операционных, производственных зонах, а также в зоне общепортовых объектов, зоне пассажирских операций и предпортовой зоне.
23.1.3. Проектирование объектов контроля производится с учетом действующих РД, строительных норм и правил, государственных стандартов: РД 31.30.11.01-84, СНиП 2.04.01-85, СНиП 2.04.05-91, СНиП 2.04.07-86, СНиП 23-05-95, ГОСТ 9238-83; СНиП 21-01-97, РД 31.82.01-95.
23.1.4. В целях недопущения проникновения посторонних лиц и обеспечения сохранности грузов от хищения территорию морского порта по периметру оборудуют охранным ограждением с контрольно-пропускными пунктами для пропуска людей, проезда автомобильного и железнодорожного транспорта.
23.1.5. Контрольно-пропускной пункт состоит из кабины 1800×1500×2200 мм, перегородки с обзорным зеркалом и турникета.
23.1.6. Территория пропускного пункта оборудуется сигнальным ограждением, шлагбаумом и механизированными воротами.
23.1.7. Контрольно-пропускной пункт оснащается досмотровой техникой, смотровыми площадками (ямами), средствами пожаротушения, связи, тревожной и охранной сигнализацией.
23.1.8. По согласованию с заказчиком проектирование обеспечения пограничного режима в морских портах может производиться на основе «Норм и технических требований по проектированию объектов таможенного, пограничного, иммиграционного контроля в речных и морских портах», разрабатываемых АО Гипроречтранс и Союзморниипроектом по заданию Минтранса Российской Федерации.
24.1. Основные технологические требования
24.1.1. В данном разделе приведены основные требования по защите работников от вредного воздействия производственных факторов - шума, вибрации (в соответствии с ГОСТ 12.1.003-83, ГОСТ 12.1.012-90), а также от токсичных газов, аэрозолей и пыли при погрузочно-разгрузочных работах.
24.1.2. Допустимые уровни звукового давления, создаваемые перегрузочными механизмами (перегружателями, бульдозерами, экскаваторами, сортировочными и дробильными установками, ленточными конвейерами и автотранспортом), определяют в соответствии с нормативными документами, действующими на территории России.
Меры защиты от шума и вибрации следует определять в соответствии с ГОСТ 12.1.029-80, ГОСТ 12.4.012-83 и СНиП 11-12-77.
24.1.3. При разработке мероприятий по снижению шума на первом месте должно быть использование прогрессивных технологий и применение подъемно-транспортных машин и оборудования со сниженными шумовыми характеристиками в соответствии с требованиями ГОСТ 12.1.028-80.
24.1.4. Допустимое содержание вредных веществ в воздухе рабочей зоны не должно превышать предельно допустимые концентрации (ГОСТ 12.1.005-88). Меры защиты от загрязненного атмосферного воздуха следует принимать в соответствии с РД 31.06.05-85.
24.1.5. В складских помещениях запрещается работа автомашин и автопогрузчиков с двигателями внутреннего сгорания, не оборудованными нейтрализаторами, и без достаточной вентиляции, исключающей возможность скопления в складе окиси углерода и других отработанных газов.
24.1.6. Налив и слив нефтепродуктов и других химических грузов осуществляется в соответствии с ВНТП 5-95, РД 31.04.16-82, ВСН 12-87. Хранение нефти и нефтепродуктов производится на складах в соответствии с СНиП 2.11.03-93, РД 31.27.05-84.
24.1.7. Для защиты органов дыхания работающих от поступления вредных веществ необходимо использовать средства индивидуальной защиты органов дыхания (СИЗОД) в соответствии с ГОСТ 12.4.034-85 и ГОСТ 12.4.041-89.
24.1.8. За каждым работающим на погрузочно-разгрузочных работах должен быть закреплен комплект индивидуальных средств защиты (спецодежда, спецобувь, респиратор, противогаз, защитные очки) в соответствии с ГОСТ 12.4.016-83 и ГОСТ 12.4.024-76.
24.2. Медицинские помещения
24.2.1. Для оказания медицинской помощи работающим в портах необходимо предусмотреть помещения медицинского назначения (медпункты) в соответствии с нормами Минздравмедпрома России в зависимости от численности работников.
24.2.2. Медпункты необходимо размещать вблизи перегрузочных участков порта в отдалении от объектов повышенной шумности. Медпункты можно размещать в блоках бытовых помещений.
Расстояние от рабочих мест до медпункта не должно превышать 800 м.
24.2.3. Во всех подразделениях порта вблизи мест производства погрузочно-разгрузочных работ должны находиться аптечки с набором необходимых медикаментов и средств оказания первой помощи.
24.2.4. В портах с числом работающих менее 300 человек медпункт устраивают при условии отдаленности порта от ближайшего лечебно-медицинского учреждения более чем на 2 км.
24.2.5. Каждый порт со списочным составом работающих от 300 до 4000 человек должен иметь общепортовый здравпункт.
24.2.6. Состав помещений медицинского назначения определяют (в зависимости от численности работников) согласно таблице 24.1.
Таблица 24.1
24.2.7. При численности работников свыше 4000 человек помещения медицинского назначения определяются действующими штатными нормативами больниц, поликлиник (амбулаторий). Набор помещений устанавливается по согласованию с органами здравоохранения.
24.3. Санитарно-бытовые и санитарно-гигиенические помещения
24.3.1. Санитарно-бытовые помещения порта должны обслуживать рабочих, занятых выполнением погрузочно-разгрузочных работ, складских работников (приемо-сдатчиков, весовщиков, зав. складом и др.), береговых матросов, служб капитана порта (портофлота) и сменных бригад.
24.3.2. Блоки санитарно-бытовых помещений должны быть размещены на расстоянии не более 500 м от места производства погрузочно-разгрузочных работ. Расстояние до 800 м допускается по согласованию с органами охраны труда.
24.3.3. Для участка переработки вредных грузов указанное расстояние подлежит сокращению в соответствии с требованиями Госкомсанэпиднадзора России.
24.3.4. Состав санитарно-бытовых помещений должен назначаться в зависимости от санитарной характеристики погрузочно-разгрузочных процессов, таблица 24.2 (СанПиН 4962-89).
24.3.5. Каждый перегрузочный комплекс должен иметь столовую или буфет. Столовая предусматривается при количестве работающих на комплексе в наиболее многочисленную смену 150 человек и более.
Расстояние от наиболее удаленных мест производства работ до столовой не должно превышать 800 м.
24.3.6. Состав и площади помещений столовых и буфетов проектируются согласно требований СНиП 2.09.04-87.
Таблица 24.2
Состав бытовых помещений в зависимости от санитарной характеристики погрузочно-разгрузочных работ
|
Перечень перерабатываемых грузов |
Состав бытовых помещений |
||
|
Общие |
Специальные |
||
|
Погрузочно-разгруз. процессы с грузами, оказывающими вредное влияние на людей, связанное с напряженной физической работой либо вызывающее загрязнение (I группа процессов). |
Штучные грузы, металлогрузы, оборудование, лесные грузы |
Гардеробная, умывальная, душевая, помещение для обогрева |
Оборудование для сушки рабочей одежды |
|
Погрузочно-разгруз. процессы, протекающие при неблагоприятных метеорологических условиях или с грузами, оказывающими вредное влияние на людей: |
|||
|
а) связанные со значительным пылевыделением |
Навалочные грузы, цемент, зерновые |
Гардеробная, умывальная, душевая, помещение для обогрева |
Оборудование для сушки и обеспыливания рабочей одежды |
|
б) связанные с выделением резких запахов или загрязнением одежды, тела и рук |
Наливные грузы (нефть и нефтепродукты, китовый жир, масло раст. нефтепродукты в таре) |
Гардеробная, умывальная, душевая, помещение для обогрева |
Оборудование для сушки рабочей одежды |
|
в) связанные с применением или значительным выделением воды или резким колебанием воздуха на рабочих местах (II группа процессов) |
Выгрузка песка и гравия, добытых в море. Обработка рефрижераторных судов, вагонов; работы на складах для скоропортящихся грузов (холодильники) |
Гардеробная, умывальная, душевая, помещение для обогрева |
Оборудование для сушки рабочей одежды |
|
Погрузочно-разгруз. процессы с резко выраженными вредными условиями труда: |
|||
|
а) связанные с выделением ядовитых веществ или токсической сильно раздражающей пыли |
Пек, апатитовая руда, концентрат, ферромарганец, сульфат, грузы, относящиеся к категории «ядовитых» и «едких» веществ |
Гардеробная, умывальная, душевая, помещение для обогрева |
Оборудование для сушки и обеспыливания рабочей одежды |
|
б) связанные с переработкой инфицирующих грузов (III группа процессов) |
Уголь, животное сырье или его продукты (кожа, шерсть и др.) |
Пропускник с гардеробной, умывальными и душевыми, помещение для обогрева |
Камера для дезинфекции рабочей одежды, оборудование для сушки рабочей одежды |
Ниже приведены нормативные и руководящие документы, требования и условия которых необходимо учитывать при разработке проектной документации для строительства морского порта.
СНиП 2.01.07-85. Нагрузки и воздействия.
СНиП 2.02.02-85. Основания гидротехнических сооружений.
СНиП 2.03.13-88. Полы.
СНиП 2.04.01-85. Внутренний водопровод и канализация.
СНиП 2.04.02-84. Водоснабжение. Наружные сети и сооружения.
СНиП 2.04.05-91. Отопление, вентиляция и кондиционирование.
СНиП 2.04.07-86. Тепловые сети.
СНиП 2.04.09-84. Пожарная автоматика зданий и сооружений.
СНиП 2.05.02-85. Автомобильные дороги.
СНиП 2.05.07-91. Промышленный транспорт.
СНиП 2.06.01-86. Гидротехнические сооружения. Основные положения проектирования.
СНиП 2.06.04-82. Нагрузки и воздействия на гидротехнические сооружения (волновые, ледовые и от судов).
СНиП 2.07.01-89. Градостроительство. Планировка и застройка городских и сельских населенных пунктов.
СНиП 2.09.02-85. Производственные здания.
СНиП 2.09.04-87. Административные и бытовые здания.
СНиП 2.11.01-85. Складские здания.
СНиП 2.11.02-87. Холодильники.
СНиП 2.11.03-93. Склады нефти и нефтепродуктов. Противопожарные нормы.
СНиП II-12-77. Защита от шума.
СНиП II-23-81. Стальные конструкции.
СНиП II-89-80. Генеральные планы промышленных предприятий.
СНиП 11-01-95. Инструкция о порядке разработки, согласования, утверждения и составе проектной документации на строительство предприятий, зданий и сооружений.
СНиП 21-01-97. Пожарная безопасность зданий и сооружений.
СНиП 23-05-95. Естественное и искусственное освещение.
СНиП 32-01-95. Железные дороги колеи 1520 мм.
СН 527-80. Инструкция по проектированию технологических стальных трубопроводов с условным давлением до 10 МПа.
ВСН 12-87 ММФ. Причальные комплексы для перегрузки нефти и нефтепродуктов. Противопожарная защита.
ВНТП 5-95. Минтопэнерго. Нормы технологического проектирования предприятий по обеспечению нефтепродуктами (нефтебазы).
ВСН 01-89 Минавтотранс. Предприятия по обслуживанию автомобилей
ПБ-10-14-92 Госгортехнадзор. Правила устройств и безопасной эксплуатации грузоподъемных кранов.
НПБ 105-95 МВД РФ. Определение категорий помещений и зданий по взрывопожарной и пожарной опасности.
НПБ 110-96 МВД РФ. Перечень зданий, сооружений, помещений и оборудования, подлежащих защите автоматическими установками тушения и обнаружения пожара.
СанПиН 4630-88. Санитарные правила и нормы охраны поверхностных вод от загрязнения.
СанПиН 4631-88. Санитарные правила и нормы охраны прибрежных вод морей от загрязнения» в местах водопользования населения.
СанПиН 4962-89. Санитарные правила для морских и речных портов.
ОНД-90 Госкомгидромет. Руководство по контролю источников загрязнения атмосферы.
ПУЭ-85. Правила устройства электроустановок.
Водный Кодекс Российской Федерации, введен в действие 23.11.95.
Таможенный Кодекс Российской Федерации, введен в действие 18.06.91.
Федеральный закон «О континентальном шельфе Российской Федерации», введен в действие 07.12.95.
Федеральный закон «О Государственной границе Российской Федерации», введен в действие 01.04-93.
Федеральный закон «Об охране окружающей природной среды», введен в действие 03.03.92.
ГОСТ 12.1.003-83. Шум. Общие требования безопасности.
ГОСТ 12.1.004-91. Пожарная безопасность. Общие требования.
ГОСТ 12.1.012-90. Вибрационная безопасность. Общие требования.
ГОСТ 12.1.029-80. Средства и методы защиты от шума. Классификация.
ГОСТ 12.3.009-76. Работы погрузочно-разгрузочные. Общие требования безопасности.
ГОСТ 12.4.011-89. Средства защиты работающих. Общие требования и классификация.
ГОСТ 9238-83. Габариты приближения строений и подвижного состава железных дорог колеи 1520 (1524) мм.
ГОСТ 26008-83. Дождеприемники чугунные для колодцев. Технические условия.
РД 31.03.01-90. Технико-экономические характеристики судов морского флота.
РД 31.3.01.01-93. Руководство по технологическому проектированию морских портов, ч. I и II.
РД 31.04.01-90. Правила ведения работ по очистке загрязненных акваторий портов.
РД 31.04.16-82. Предотвращение загрязнения морской среды опасными химическими грузами в результате судоходства. Порядок и условия смывок и остатков химических грузов, перевозимых наливом на танкерах. Требования к технологическому оборудованию.
РД 31.04.23-86. Наставление по предотвращению загрязнения с судов.
РД 31.06.01-79. Инструкция по сбору, удалению и обезвреживанию мусора морских портов.
РД 31.06.05-85. Методика определения выбросов пыли в атмосферу при перегрузке сыпучих грузов.
РД 31.06.06-86. Методика расчета выбросов вредных веществ в атмосферу в морских портах.
РД 31.15.01-89. Правила морской перевозки опасных грузов.
РД 31.27.05-84. Инструкция по приему, хранению, отпуску на суда и контролю качества топлива и смазочных материалов на нефтебазах и складах Минморфлота и Минрыбхоза.
РД 31.30.09-90. Методические рекомендации по разработке раздела АСУ проекта морского порта.
РД 31.30.11.01-84. Руководство по технологическому проектированию связи и сигнализации в морских портах и на судоремонтных предприятиях. Проводные средства связи.
РД 31.30.11.02-83. Руководство по технологическому проектированию связи и сигнализации в морских портах и на судоремонтных предприятиях. Пожарная и охранная сигнализация.
РД 31.31.37.50-87. Руководство по проектированию объектов комплексного обслуживания транспортного флота.
РД 31.31.45-87. Инструкция по проектированию гидротехнических сооружений морских паромных переправ.
РД 31.31.46-88. Методика расчета и конструирования жестких покрытий территории морских портов.
РД 31.31.47-88. Нормы проектирования морских каналов.
РД 31.31.48-88. Прогрессивные показатели технического уровня и строительных решений в проектах строительства морских портов.
РД 31.31.54-92. Перечень зданий, помещений и сооружений морского транспорта с указанием категорий взрывопожарной и пожарной опасности и класса зон.
РД 31.31.55-93. Инструкция по проектированию морских причальных и берегоукрепительных сооружений.
РД 31.33.03-81. Руководство по определению влияния ветра и волн на условия обработки судов при проектировании морских портов.
РД 31.82.01-95. Требования безопасности труда, которые должны учитываться при проектировании новых, реконструкции и модернизации действующих морских портов, перегрузочных комплексов и отдельных объектов.
РД 31.82.03-95. Правила безопасности труда в морских портах.
Указания по проектированию зарядных станций тяговых и стартерных аккумуляторных батарей, Тяжпромэлектропроект, 1976.
Рекомендации по проектированию зданий и сооружений транспортного назначения (железнодорожные вокзалы, вокзалы водного транспорта, аэровокзалы, автовокзалы, комплексы метрополитена), Минстрой России, ЦППМП, 1994.
Инструкция по экологическому обоснованию хозяйственной и иной деятельности, Минприроды, 1995.
Инструкция по нормированию выбросов (сбросов) загрязняющих веществ в атмосферу и в водные объекты, Госкомприроды, 1989.
Методика расчета предельно допустимых сбросов (ПДС) веществ в водные объекты со сточными водами, Госкомприроды, 1990.
Правила охраны от загрязнения прибрежных вод морей, 1987.
В настоящих нормах технологического проектирования применены следующие термины:
1. Внутренние судовые ходы - служат для транзитного движения судов в порту и соединения отдельных бассейнов.
2. Входной рейд - часть внутренней акватории, примыкающая к входным воротам, предназначенная для маневрирования судов при следовании в заданный район порта или при выходе из него.
3. Выставочный парк - комплекс железнодорожных путей для подготовки и формирования плетей железнодорожных вагонов перед накаткой на паром, приема и сбора выгруженных вагонов и комплектования составов к отправке в железнодорожную сеть страны.
4. Интенсивность погрузочно-разгрузочных работ - количество груза, погружаемое либо выгружаемое с судна за сутки.
5. Многоцелевой перегрузочный комплекс (ПК) - универсальный ПК для генеральных и лесных грузов открытого и крытого хранения, угля, руды, минстройматериалов и др. грузов.
6. Операционная акватория - часть акватории порта, предназначенная для постановки судов к причалам и выполнения маневров, связанных со швартовкой и перестановкой судов, а также для постановки различных плавсредств у борта транспортных судов.
7. Паром - морское судно, предназначенное для перевозки наземных транспортных средств, пассажиров, а также укрупненных грузовых мест, перегружаемых способом наката на грузовую палубу судна.
8. Перегрузочный комплекс - совокупность технических средств, необходимых для приема, загрузки-погрузки и комплексного обслуживания транспортных морских судов, а также приема-передачи грузов с железнодорожного, речного, автомобильного, трубопроводного и других смежных видов транспорта.
9. Плеть - группа железнодорожных вагонов для одновременной накатки на грузовую палубу парома.
10. Причал - технологический элемент ПК, включающий причальное сооружение, подъемно-транспортное оборудование и территорию, ограниченную кордоном причала, а с тыловой стороны - границей зоны действия прикордонного крана.
11. Проектная глубина у причала - принятая на перспективу глубина от отсчетного уровня.
12. Проектная длина причала - расстояние между границами причала, измеряемое по линии кордона и определяемое как сумма унифицированной длины расчетного судна и запаса свободной длины причала, необходимого для безопасной швартовки, стоянки и отшвартовки судна.
13. Подъемно-переходной мост - устройство мостового типа, обеспечивающее сопряжение грузовой палубы парома с причалом при изменении ее положения в процессе накатки- выкатки грузовых мест и вагонов.
14. Разворотное место - элемент акватории, предназначенный для разворота судов при следовании к причалам и в обратном направлении.
15. Расчетное судно - при расчете глубины у причала принимается одно из заданных к приему и обработке у данного причала судов, имеющее наибольшую осадку по основную летнюю марку («Л»).
16. Технологическая линия - цепочка взаимодействующих специализированных машин и докеров-механизаторов, осуществляющих погрузочно-разгрузочные работы (ПРР) по определенной технологической схеме.
17. Установленная мощность - объем погрузочно-разгрузочных работ, устанавливаемый для комплекса на годовой период (365 суток).
18. Унифицированная (проектная) глубина у причала - численные значения глубин, которые должны приниматься в проектах для данного типа причалов.
19. Унифицированная длина судна - численные значения габаритной длины судна, по которой в проектах округляется расчетная длина судна.
20. Прямая аппарель - судовое устройство в корме судна, которое при переводе из вертикального положения в горизонтальное, образует ворота и мост для загрузки всех палуб судна накатными грузами. Прямая аппарель увеличивает длину и ширину причала и для ее опоры требуется выступ (площадка), длина и ширина которого определяется длиной и шириной аппарели, потребной площадью для разворота перегрузочной техники и величиной зазора между судном и причалом.
21. Угловая аппарель - судовое устройство в борту судна, которое при переводе из вертикального положения в горизонтальное опирается на причал под углом 45 градусов и образует ворота и мост для загрузки всех палуб судна накатными грузами.
22. Льяльные воды - это загрязненные воды с транспортных судов, которые образуются в результате конденсата, охлаждения двигателей и агрегатов, мойки трюмов.
23. Годовой эксплуатационный период порта - количество дней в году в течение которых порт официально открыт для навигации; годовой эксплуатационный период судна - установленное нормами количество дней работы судна в году.
Сокращения:
Н. П - нижняя палуба;
В. П - верхняя палуба;
Ж. д. устройства - железнодорожные устройства;
ИВЦ - информационно-вычислительный центр;
Н. Г. П - нижняя главная палуба;
НКГ - неконтейнеризированный груз;
НОГ - неукрупненные грузы открытого хранения;
ПДВ - предельно допустимый выброс (в атмосферу);
ПУЭ - правила устройства электроустановок;
САПЗ - система автоматической противопожарной защиты;
СВП - суда на воздушной подушке;
СОБВ - станция очистки балластных вод;
СПК - суда на подводных крыльях;
ТЭО - технико-экономическое обоснование;
УГЕ - укрупненная грузовая единица.