ЦЕНТРАЛЬНЫЙ НАУЧНО-ИССЛЕДОВАТЕЛЬСКИЙ И ПРОЕКТНО-ЭКСПЕРИМЕНТАЛЬНЫЙ ИНСТИТУТ ОРГАНИЗАЦИИ, МЕХАНИЗАЦИИ И ТЕХНИЧЕСКОЙ ПОМОЩИ СТРОИТЕЛЬСТВУ
АОЗТ ЦНИИОМТП
ТЕХНОЛОГИЧЕСКАЯ КАРТА
НА УСТРОЙСТВО
СТОЛБЧАТЫХ МОНОЛИТНЫХ ФУНДАМЕНТОВ С ИСПОЛЬЗОВАНИЕМ МЕЛКОЩИТОВОЙ ОПАЛУБКИ
Москва
2002
В технологической карте рассмотрено устройство столбчатых монолитных фундаментов под железобетонные колонны с использованием металлической опалубки.
Приведены организация и технология строительных процессов, указаны основные правила техники безопасности. Представлены конструктивные схемы по организации и технологии работ.
Технологическая карта разработана АОЗТ ЦНИИОМТП (Б.В. Жадановский зав. отделом, канд. техн. наук, О.В. Баранов, Л.В. Жабина при участии зав. сектором компьютерных и информационных технологий Ягудаева Л.М.).
Рекомендовано к распространению решением Научно-технического совета ЦНИИОМТП.
1.1. Технологическая карта разработана на устройство столбчатых монолитных фундаментов под каркас гражданских и промышленных зданий с использованием мелкощитовой опалубки.
1.2. Технологической картой предусматривается устройство монолитных фундаментов с применением мелкощитовой опалубки, разработанной АОЗТ ЦНИИОМТП (проект 794В-2.00.000).
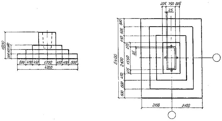
1.3. В качестве эталона при разработке карты принят фундамент серии 1-412 объемом 14,7 м3.
1.4. В технологической карте рассмотрены варианты подачи бетонной смеси в конструкции:
автомобильным краном в бункерах;
автобетононасосом СБ-170-1.
1.5. Транспортирование бетонной смеси предусматривается автобетоносмесителем СБ-159Б-2.
1.6. Работы выполняются в летний период в две смены.
2.1. До начала устройства фундаментов должны быть выполнены следующие работы:
организован отвод поверхностных вод от площадки;
устроены подъездные пути и автодороги;
обозначены пути движения механизмов, места складирования, укрупнения арматурных сеток и опалубки, подготовлена монтажная оснастка и приспособления;
завезены арматурные сетки, каркасы и комплекты опалубки в необходимом количестве;
выполнена необходимая подготовка под фундаменты;
произведена геодезическая разбивка осей и разметка положения фундаментов в соответствии с проектом;
на поверхность бетонной подготовки краской нанесены риски, фиксирующие положение рабочей плоскости щитов опалубки.
2.2. Подготовленное основание под фундаменты должно быть принято по акту комиссией с участием заказчика, подрядчика и представителя проектной организации. В акте должно быть отражено соответствие расположения, отметок дна котлована, фактического напластования и природных свойств грунтов данным проекта, а также возможность заложения фундаментов на проектной отметке, отсутствие нарушений природных свойств грунтов основания или качества их уплотнения в соответствии с проектными решениями.
2.3. На устройство подготовки под фундаменты должны быть составлены акты на скрытые работы.
2.4. Перед установкой опалубки и арматуры железобетонных фундаментов производитель работ (прораб, мастер) должен проверить правильность устройства бетонной подготовки и разметки положения осей и отметок основания фундаментов.
2.5. Опалубка на строительную площадку должна поступать комплектно, пригодной к монтажу и эксплуатации, без доделок и исправлений.
2.6. Поступившие на строительную площадку элементы опалубки размещают в зоне действия монтажного крана. Все элементы опалубки должны храниться в положении, соответствующем транспортному, рассортированные по маркам и типоразмерам. Хранить элементы опалубки необходимо под навесом в условиях, исключающих их порчу. Щиты укладывают в штабели высотой не более 1 - 1,2 м на деревянных прокладках; схватки по 5 - 10 ярусов общей высотой не более 1 м с установкой деревянных прокладок между ними; остальные элементы в зависимости от габаритов и массы укладывают в ящики.
2.7. Мелкощитовая опалубка состоит из следующих составных частей:
линейные щиты выполнены из гнутого профиля (швеллер), палуба в щитах выполнена из ламинированной фанеры толщиной 12 мм;
несущие элементы - схватки предназначены для восприятия нагрузок, действующих на опалубку, а также для объединения отдельных щитов в панели или блоки. Они изготовлены из гнутого профиля (швеллера);
щиты угловые - служат для объединения плоских щитов в замкнутые контуры;
уголок монтажный - служит для соединения щитов и панелей в замкнутые опалубочные контуры;
крюк натяжной - применяют для крепления схваток к щитам;
кронштейн - служит основанием для рабочего настила.
2.8. Монтаж и демонтаж опалубки ведут при помощи автомобильного крана КС-35715 или КС-45719, КС-4572А.
2.9. До начала монтажа опалубки производят укрупнительную сборку щитов в панели в следующей последовательности:
на площадке складирования собирают короб из схваток;
на схватки навешивают щиты;
на ребро щитов панели наносят краской риски, обозначающие положение осей.
2.10. Устройство опалубки фундаментов производят в следующем порядке:
устанавливают и закрепляют укрупненные панели опалубки нижней ступени башмака;
устанавливают собранный короб строго по осям и закрепляют опалубку нижней ступени металлическими штырями к основанию;
наносят на ребра укрупненных панелей короба риски, фиксирующие положение короба второй ступени фундамента;
отступив от рисок на расстояние, равное толщине щитов, устанавливают предварительно собранный короб второй ступени;
окончательно устанавливают короб второй ступени;
в той же последовательности устанавливают короб третьей ступени;
наносят на ребра укрупненных панелей верхнего короба риски, фиксирующие положение короба подколонника;
устанавливают короб подколонника;
устанавливают и закрепляют опалубку вкладышей.
Смонтированная опалубка принимается по акту мастером или прорабом.
2.11. За состоянием опалубки должно вестись непрерывное наблюдение в процессе бетонирования. В случае непредвиденных деформаций отдельных элементов опалубки или недопустимого раскрытия щелей следует установить дополнительные крепления и исправлять деформированные места.
2.12. Демонтаж опалубки разрешается производить только после достижения бетоном требуемой согласно СНиП 3.03.01-87 прочности и с разрешения производителя работ.
2.13. В процессе отрыва опалубки поверхность бетонной конструкции не должна повреждаться. Демонтаж опалубки производится в порядке, обратном монтажу.
2.14. После снятия опалубки необходимо:
произвести визуальный осмотр опалубки;
очистить от налипшего бетона все элементы опалубки;
произвести смазку палуб, проверить и нанести смазку на винтовые соединения.
2.15. Схемы производства опалубочных работ даны на рис. 1 - 5.
2.16. Арматурные сетки подколонников доставляют на строительную площадку и разгружают на площадке укрупнительной сборки, сетки башмаков - на площадке для складирования.
2.17. Сборка армокаркасов подколонника ведется на стенде сборки с помощью кондуктора, путем прихватки арматурных сеток между собой электродуговой сваркой или вязкой.
2.18. Армокаркасы и сетки башмаков массой свыше 50 кг устанавливают автомобильным краном в следующем порядке:
укладывают арматурные сетки башмака на фиксаторы, обеспечивающие защитный слой по проекту.
2.19. Арматурные работы выполняют в следующем порядке:
устанавливают арматурные сетки башмака на фиксаторы, обеспечивающие защитный слой бетона по проекту;
после устройства опалубки башмака устанавливают арматурные подколонники с креплением его к нижней сетке вязальной проволокой.
2.20. Арматурные работы должны выполняться в соответствии со СНиП 3.03.01-81 «Несущие и ограждающие конструкции».
2.21. Приемка смонтированной арматуры осуществляется до установки опалубки и оформляется актом освидетельствования скрытых работ. В акте приемки смонтированных армоконструкции должны быть указаны номера рабочих чертежей, отступления от чертежей, оценка качества смонтированной арматуры.
После установки опалубки дают разрешение на бетонирование.
2.22. Схемы производства арматурных работ даны на рис. 6 и 7.
2.23. До начала укладки бетонной смеси должны быть выполнены следующие работы:
проверена правильность установленных арматуры и опалубки;
устранены все дефекты опалубки;
Фундамент Ф-1 под железобетонные колонны
Рис. 1
Схема раскладки щитов опалубки
Поз. см. на рис. 3.
Рис. 2
Спецификация элементов опалубки
|
Поз. |
Наименование |
Марка |
Количество на фундамент Ф-1, шт. |
Площадь щитов, м2 |
Масса, кг |
||
|
одного щита |
на фундамент Ф-1 |
единицы |
на фундамент Ф-1 |
||||
|
1 |
Щит |
ЩМ1,8´0,3 |
10 |
0,54 |
5,40 |
29,6 |
296,0 |
|
2 |
Щит |
ЩМ1,5´0,3 |
12 |
0,45 |
5,40 |
24,6 |
295,2 |
|
3 |
Щит |
ЩМ1,2´0,3 |
2 |
0,36 |
0,72 |
20,0 |
40,0 |
|
4 |
Щит |
ЩМ0,9´0,6 |
10 |
0,54 |
5,40 |
24,9 |
249,0 |
|
5 |
Щит |
ЩМ0,9´0,3 |
8 |
0,27 |
2,16 |
15,3 |
122,4 |
|
Итого |
42 |
- |
19,8 |
- |
1002,5 |
||
|
6 |
Схватка |
Сх-3,6 |
4 |
- |
- |
26,2 |
104,8 |
|
7 |
Схватка |
Сх-3,0 |
10 |
- |
- |
22,2 |
222,0 |
|
8 |
Схватка |
Сх-2,4 |
10 |
- |
- |
18,2 |
182,0 |
|
9 |
Схватка |
Сх-1,8 |
4 |
- |
- |
14,3 |
57,2 |
|
10 |
Схватка |
Сх-1,2 |
2 |
- |
- |
10,5 |
21,0 |
|
Итого |
30 |
- |
- |
- |
587,0 |
||
|
11 |
Уголок монтажный |
УМ0,6´0,3 |
4 |
- |
- |
1,5 |
6,0 |
|
12 |
Уголок монтажный |
УМ0,3´0,3 |
16 |
- |
- |
0,8 |
12,8 |
|
Итого |
20 |
- |
- |
- |
18,8 |
||
|
13 |
Крюк натяжной |
102 |
- |
- |
0,21 |
21,4 |
|
|
14 |
Клин |
L = 125 мм |
102 |
- |
- |
0,25 |
25,5 |
|
15 |
Клин |
L = 80 мм |
34 |
- |
- |
0,06 |
2,0 |
|
16 |
Палец |
L = 123 мм |
34 |
- |
- |
0,95 |
32,3 |
|
17 |
Стяжка |
- |
30 м |
- |
- |
0,4 |
12,0 |
|
18 |
Замок стяжки |
- |
12 |
- |
- |
0,64 |
7,7 |
|
19 |
Стакан |
- |
1 |
- |
- |
81,0 |
81,0 |
|
20 |
Кронштейн с настилом и навесной лестницей |
- |
1 |
- |
- |
96,5 |
96,5 |
|
Всего |
- |
- |
19,1 |
- |
1886,8 |
||
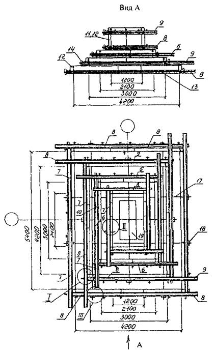
1. Раскладку щитов опалубки см. на рис. 2.
2. Кронштейн поз. 20 условно не показан.
Рис. 3

Поз. см. на рис. 3.
Рис. 4
Схема производства опалубочных работ
1 - кран автомобильный КС-35715; 2 - площадка складирования; 3 - щиты опалубки; 4 - схватки; 5 - уголки монтажные; 6 - укрупненные панели опалубки; 7 - арматурный каркас; 8 - строп; 9 - бетонная подготовка
Рис. 5
Схема армирования фундамента Ф-1

Схема раскладки сеток подошвы

Спецификация арматурных сеток
|
Условная марка |
Количество, шт. |
Масса, кг |
|
|
одного элемента |
общая |
||
|
Ф-1 |
|||
|
С1 |
2 |
165,1 |
330,2 |
|
С2 |
2 |
45,1 |
90,2 |
|
С3 |
1 |
121,7 |
121,7 |
|
С4 |
2 |
10,5 |
21,0 |
|
С5 |
6 |
11,5 |
69,0 |
|
С6 |
2 |
10,9 |
21,8 |
|
Итого |
- |
- |
653,9 |
Рис. 6
Схема производства арматурных работ


1 - кран автомобильный КС-35715; 2 - площадка складирования; 3 - опалубка фундамента; 4 - уложенные арматурные сетки; 5 - устанавливаемый арматурный каркас; 6 - строп; 7 - инвентарный щит (изготавливается по месту); 8 - фиксатор защитного слоя бетона
Рис. 7
проверено наличие фиксаторов, обеспечивающих требуемую толщину защитного слоя бетона;
приняты по акту все конструкции и их элементы, доступ к которым с целью проверки правильности установки после бетонирования невозможен;
очищены от мусора, грязи и ржавчины опалубка и арматура;
проверена работа всех механизмов, исправность приспособлений оснастки и инструментов.
2.24. Доставка на объект бетонной смеси предусматривается автобетоносмесителями СБ-92В-2 или СБ-159Б-2.
2.25. Подача бетонной смеси к месту укладки рассмотрена в двух вариантах:
автомобильным краном в поворотных бункерах вместимостью 1,6 м3 смеси конструкции АОЗТ ЦНИИОМТП;
при помощи автомбетононасоса.
2.26. В состав работ по бетонированию фундаментов входят:
прием и подача бетонной смеси;
укладка и уплотнение бетонной смеси;
уход за бетоном.
2.27. Бетонирование фундаментов осуществляется в два этапа:
на первом этапе бетонируют башмак фундамента и подколонник до отметки низа вкладыша;
на втором этапе бетонируют верхнюю часть подколонника после установки вкладыша.
2.28. Для загрузки бетонной смесью поворотные бункеры не требуют перегрузочных эстакад, а подаются к месту загрузки бетонной смесью автомобильным краном, который устанавливает бункеры в горизонтальное положение.
Автобетоносмеситель задним ходом подъезжает к бункеру и разгружается. Затем автомобильный кран поднимает бадью и в вертикальном положении подает ее к месту выгрузки. В зоне действия автомобильного крана обычно размещают несколько бункеров вплотную один к другому с расчетом, чтобы суммарная вместимость их равнялась вместимости автобетоносмесителя. В этом случае загружаются бетонной смесью одновременно все подготовленные бункеры-бадьи и затем кран поочередно подает их к месту выгрузки.
2.29. При бетонировании монолитных фундаментов автобетононасосом радиус действия распределительной стрелы позволяет производить укладку бетонной смеси в несколько фундаментов. Нормальная эксплуатация автобетононасосов обеспечивается в том случае, если по бетоноводу перекачивают бетонную смесь подвижностью 4 - 22 см, что способствует транспортированию бетона на предельные расстояния без расслоения и образования пробок.
2.30. Схемы производства бетонных работ даны на рис. 8 и 9.
2.31. Бетонную смесь укладывают горизонтальными слоями толщиной 0,3 - 0,5 м.
Каждый слой бетона тщательно уплотняют глубинными вибраторами. При уплотнении бетонной смеси конец рабочей части вибратора должен погружаться в ранее уложенный слой бетона на 5 - 10 см. Шаг перестановки вибратора не должен превышать 1,5 радиуса его действия. В углах и у стенок опалубки бетонную смесь дополнительно уплотняют вибраторами или штыкованием ручными шуровками. Касание вибратора во время работы к арматуре не допускается. Вибрирование на одной позиции заканчивается при прекращении оседания и появления цементного молока на поверхности бетона. Извлекать вибратор при перестановке следует медленно, не выключая, чтобы пустота под наконечником равномерно заполнялась бетонной смесью.
Перерыв между этапами бетонирования (или укладкой слоев бетонной смеси) должен быть не менее 40 минут, но не более 2 часов.
2.32. После укладки бетонной смеси в опалубку необходимо создать благоприятные температурно-влажностные условия для твердения бетона. Горизонтальные поверхности забетонированного фундамента укрывают влажной мешковиной, брезентом, опилками, листовыми, рулонными материалами на срок, зависящий от климатических условий, в соответствии с указаниями строительной лаборатории.
2.33. Работы по устройству монолитных бетонных фундаментов выполняют следующие звенья:
разгрузку и сортировку арматурных сеток и элементов опалубки, погрузку и разгрузку армокаркасов, собранных на стенде, монтаж армокаркасов подколонников, монтаж и демонтаж вкладышей - звено № 1:
машинист 5 разр. - 1 человек,
монтажник (такелажник) 4 разр. - 1 человек,
2 разр. - 2 человека.
опалубочные работы - установку элементов опалубки фундаментов, разборку опалубки с очисткой поверхности, смазку щитов эмульсией - звено № 2:
слесари строительные 4 разр. - 2 человека,
3 разр. - 1 человек,
2 разр. - 1 человек;
Схема производства бетонных работ при подаче бетонной смеси краном в бункерах
1 - кран автомобильный КС-35715; 2 - автобетоносмеситель СБ-92В-2; 3 - бункер поворотный БПВ-1,6; 4 - строп; 5 - кронштейн; 6 - ограждение; 7 - щиты опалубки; 8 - бетонируемый фундамент; 9 - площадка складирования
Рис. 8
Схема производства бетонных работ при подаче бетонной смеси автобетононасосом
1 - автобетононасос СБ-170-1; 2 - автобетоносмеситель СБ-92В-2; 3 - щиты опалубки; 4 - бетонируемый фундамент
Рис. 9
арматурные работы - установку арматурных сеток башмаков, укрупнительную сборку арматурных сеток подколонников на кондукторе, сварочные работы - звено № 3:
арматурщики 3 разр. - 1 человек,
2 разр. - 2 человека,
электросварщик 3 разр. - 1 человек;
бетонные работы (при подаче бетонной смеси краном) - прием бетонной смеси из автобетоносмесителя, подачу бетонной смеси краном, укладку бетонной смеси с уплотнением вибраторами, уход за бетоном - звено № 4:
бетонщики 4 разр. - 1 человек,
3 разр. - 1 человек,
2 разр. - 2 человека;
бетонные работы (при подаче бетонной смеси автобетононасосом) - укладку бетонной смеси автобетононасосом с уплотнением вибраторами, очистку бетоновода, уход за бетоном - звено № 5:
машинист 5 разр. - 1 человек;
оператор 5 разр. - 1 человек,
бетонщики 3 разр. - 1 человек,
2 разр. - 1 человек.
2.34. Производство бетонных работ при отрицательных температурах воздуха.
При производстве бетонных работ в зимнее время следует руководствоваться правилами СНиП 3.03.01-87 «Несущие и ограждающие конструкции» и СНиП III-4-80* «Техника безопасности в строительстве».
Зимние условия бетонирования считаются при среднесуточной температуре наружного воздуха не выше 5 °С или минимальной температуре в течение суток ниже 0 °С.
В зимних условиях выбор добавок и расчет их количества осуществляется так же, как в летнее время.
Возведение монолитных железобетонных конструкций может быть осуществлено, как правило, с использованием нескольких способов зимнего бетонирования. Выбор способа следует производить, исходя из требований минимальных величин трудоемкости и энергоемкости, стоимости и продолжительности работ, а также с учетом местных условий (температуры наружного воздуха, объемов работ, наличия специального оборудования, электрических мощностей и т.п.).
Перспективными являются комбинированные способы зимнего бетонирования, которые представляют собой сочетание двух или более традиционных способов, например, термос + применение бетонов с противоморозными добавками, электропрогрев или обогрев в греющей опалубке бетонов, содержащих противоморозные добавки, электрообработка бетона в тепляках и др.
Способ термоса
Сущность способа заключается в нагревании бетона за счет подогрева заполнителей и воды и использовании тепла, выделяющегося при твердении цемента, для приобретения бетоном заданной прочности в процессе его медленного остывания в утепленной опалубке.
Применение бетонов с противоморозными добавками
Сущность способа заключается во введении в бетонную смесь при ее приготовлении добавок, понижающих температуру замерзания воды, обеспечивающих протекание реакции гидротации цемента и твердения бетона при температуре ниже 0 °С.
Добавки вводят в бетонную смесь в виде водных растворов рабочей концентрации, которые получают смешиванием концентрированных растворов добавок с водой затворения и подают в бетоносмеситель через дозатор воды.
Предварительный электроразогрев бетонной смеси
Сущность способа заключается в быстром разогреве бетонной смеси вне опалубки путем пропускания через нее электрического тока, укладке смеси в утепленную опалубку, при этом бетон достигает заданной прочности в процессе медленного остывания.
Предварительный электроразогрев бетонной смеси производят в кузовах самосвалов с помощью оборудования поста для разогрева смеси.
При доставке бетонной смеси автобетоносмесителями производят предварительный разогрев смеси на посте разогрева с последующей загрузкой автобетоносмесителя разогретой смесью.
Во избежание чрезмерного загустения горючей бетонной смеси продолжительность ее разогрева не должна превышать 15 минут, а продолжительность транспортирования и укладки - 20 минут.
Для предварительного разогрева бетонной смеси может применяться экзотерический способ. При смешивании смеси с алюминиевой пудрой происходит экзотермическая (с выделением тепла) реакция.
Электропрогрев бетона
Сущность электропрогрева бетона заключается в пропускании через него, как через омическое сопротивление, переменного тока, в результате чего в бетоне выделяется тепло.
Для подведения напряжения к бетону применяются стальные электроды.
Для питания электроподогрева и других способов электротермообработки допускается, как правило, применять понижающие трансформаторы.
Обогрев бетона в термоактивной опалубке
Метод обогрева целесообразен при использовании инвентарных опалубок со стальной или фанерной палубой при бетонировании стен, перекрытий и т.п.
Особенно эффективен он при возведении конструкций и сооружений, бетонирование которых должно вестись без перерывов, а также конструкций, насыщенных арматурой. Метод обогрева экономически и технологически целесообразен не только при использовании разборно-переставных, но и блочных, объемно-переставных, катучих и скользящих опалубок.
Применение термоактивной опалубки не вызывает дополнительных требований к составу бетонной смеси и не ограничивает применение пластифицирующих добавок. Обогрев бетона в греющей опалубке может быть совмещен с электроразогревом бетонной смеси, с применением противоморозных химических добавок или ускорителей твердения.
Обогрев бетона конструкций производят после опалубочной формы для бетонирования. Те части конструкции, которые не перекрыты термоактивной опалубкой, утепляют гибкими покрытиями (одеялами) из стеклоткани и стекловаты.
Технология бетонирования в термоактивной опалубке практически не отличается от технологии работ в летний период. Для предотвращения тепловых потерь с горизонтальных поверхностей при перерывах в укладке бетонной смеси и температуре наружного воздуха ниже минус 20 °С бетонируемую конструкцию укрывают брезентом или пленочным материалом.
Обогрев бетона с применением греющих проводов
Сущность способа обогрева бетона с применением греющих проводов заключается в обогреве бетона с помощью проводов, находящихся в бетоне, которые нагреваются при пропускании электрического тока. Провода закрепляют на арматурных стержнях сеток и каркасов перед укладкой бетонной смеси.
Обогрев бетона горячим воздухом
Применение для обогрева бетона горячего воздуха приводит к большим потерям теплоты. Поэтому данный метод целесообразно использовать при небольшой отрицательной температуре наружного воздуха и достаточно надежной и герметичной тепловой изоляции. Горячий воздух получают в электрокалориферах или огневых калориферах, работающих на жидком топливе.
2.35. Перечень машин и оборудования приведен в таблице 1.
2.36. Перечень технологической оснастки, инструмента, инвентаря и приспособлений приведен в таблице 2.
Таблица 1
|
Наименование машин, механизмов и оборудования |
Тип, марка |
Техническая характеристика |
Назначение |
Количество на звено (бригаду), шт. |
|
|
1 |
2 |
3 |
4 |
5 |
6 |
|
1 |
Кран автомобильный |
КС-35715 |
Длина телескопической стрелы 8 - 18 м. Грузоподъемность 16 т |
Подача арматуры, опалубки, бетонной смеси |
1 |
|
2 |
Автобетононасос |
СБ-170-1 (СБ-170-1А) |
Дальность подачи распределительной стрелы - 19 м. Производительность до 65 м3/ч |
Подача бетонной смеси |
1 |
|
3 |
Автобетоносмеситель |
СБ-92В-2 |
Геометрический объем барабана - 6,1 м3. Выход готовой смеси не менее 4,5 м3 |
Транспортирование бетонной смеси |
1 |
|
4 |
Трансформатор сварочный |
ТД-500 4-V-2 |
Напряжение питающей сети 200/380 В. Номинальная мощность 32 кВт. Масса 210 кг |
Сварочные работы |
1 |
|
5 |
Компрессор |
СО-45Б |
Подача сжатого воздуха |
1 |
Таблица 2
|
Наименование оснастки, инструмента, инвентаря и приспособлений |
Марка, ГОСТ, ТУ или организация-разработчик, номер рабочего чертежа |
Техническая характеристика |
Назначение |
Количество на звено (бригаду), шт. |
|
|
1 |
2 |
3 |
4 |
5 |
6 |
|
1 |
Бункер поворотный |
БПВ-1,6 ГОСТ 21807-76 |
Вместимость 1,6 м3 |
Подача бетонной смеси |
2 |
|
2 |
Бак красконагревательный |
СО-12А |
Емкость - 20 л, масса - 20 кг |
Смазка щитов опалубки |
1 |
|
3 |
Краскораспылитель ручной пневматический |
СО-71 |
Масса - 0,66 кг |
Смазка щитов опалубки |
1 |
|
4 |
Устройство для вязки арматурных стержней |
Оргтехстрой |
Сборка укрупнительных каркасов |
1 |
|
|
5 |
Фиксатор для временного крепления арматурных сеток |
АОЗТ ЦНИИОМТП |
Арматурные работы |
1 |
|
|
6 |
Фиксатор для временного крепления арматурных каркасов |
Мосоргпромстрой |
Арматурные работы |
1 |
|
|
7 |
Конструктор для сборки арматурных каркасов |
Гипрооргсельстрой |
Арматурные работы |
1 |
|
|
8 |
Закрутчик |
ТУ 67-399-82 |
Арматурные работы |
1 |
|
|
9 |
Дрель универсальная |
ИЭ-1039Э |
Диаметр сверла до 13 мм, масса 2 кг |
Сверление отверстий |
1 |
|
10 |
Электродержатель |
Сварочные работы |
1 |
||
|
11 |
Вибратор глубинный |
ИВ-102А |
Длина вибронаконечника 440 мм, масса 15 кг |
Уплотнение бетонной смеси |
2 |
|
12 |
Строп шестиветвевой универсальный |
АОЗТ ЦНИИОМТП Р. Ч. 907-300.000 |
Строповка конструкций |
1 |
|
|
13 |
Лом монтажный |
ЛМ-24 ГОСТ 1405-83 |
Масса 4,4 кг |
Рихтовка элементов |
1 |
|
14 |
Зубило слесарное |
ГОСТ 1211-86*Е |
Масса 0,2 кг |
Очистка мест сварки |
1 |
|
15 |
Молоток слесарный |
ГОСТ 2310-77*Е |
Масса 0,8 кг |
Очистка мест сварки |
1 |
|
16 |
Молоток стальной строительный |
МКУ-2 |
Масса 2,2 кг |
Простукивание бетона |
1 |
|
17 |
Кельма |
КБ ГОСТ 9533-81 |
Масса 0,34 кг |
Разравнивание раствора |
1 |
|
18 |
Кувалда кузнечная тупоносая |
ГОСТ 11402-90 |
Масса 4,5 кг |
Подгибание арматурных стержней |
1 |
|
19 |
Лопата растворная |
Масса 2,04 кг |
Подача раствора |
2 |
|
|
20 |
Щетка металлическая |
ТУ 494-61-04-76 |
Масса 0,26 кг |
Очистка арматуры от ржавчины |
2 |
|
21 |
Скребок металлический |
Масса 2,1 кг |
Очистка опалубки от бетона |
2 |
|
|
22 |
Ключи гаечные |
ГОСТ 2838-80Е |
Опалубочные работы |
1 комплект |
|
|
23 |
Ножницы для резки арматуры |
ГОСТ 4210-75Е |
Масса 2,95 кг |
Арматурные работы |
1 |
|
24 |
Плоскогубцы комбинированные |
Р-200 ГОСТ 5547-93 |
Масса 0,2 кг |
Арматурные работы |
1 |
|
25 |
Кусачки торцовые |
ГОСТ 28037-89Е |
Масса 0,22 кг |
Арматурные работы |
1 |
|
26 |
Напильник |
А-400 ГОСТ 1465-80 |
Масса 1,33 кг |
Арматурные работы |
1 |
|
27 |
Рулетка измерительная |
ГОСТ 7520-89* |
Контрольно-измерительные работы |
1 |
|
|
28 |
Отвес стальной строительный |
О-400 ГОСТ 7948-80 |
Масса 0,425 кг |
Контрольно-измерительные работы |
1 |
|
29 |
Уровень строительный |
УС1-300 ГОСТ 9416-83 |
Масса 0,4 кг |
Контрольно-измерительные работы |
1 |
|
30 |
Очки защитные |
ЗП2-84 ГОСТ 12.4.013-85Е |
Масса 0,07 кг |
Техника безопасности |
2 |
|
31 |
Щиток защитный для электросварщика |
ГОСТ |
Масса 0,48 кг |
Техника безопасности |
1 |
|
32 |
Каска строительная |
Техника безопасности |
На все звено |
||
|
33 |
Пояс предохранительный |
ГОСТ 12.4.089-80 |
Техника безопасности |
На все звено |
|
|
34 |
Перчатки резиновые |
ГОСТ 20010-93 |
Бетонные работы |
2 |
|
|
35 |
Сапоги резиновые |
ГОСТ 5375-79* |
Бетонные работы |
2 |
3.1. Требования к качеству поставляемых материалов и изделий, операционный контроль качества и технологические процессы, подлежащие контролю, приведены в таблице 3.
Таблица 3
|
Наименование технологических процессов, подлежащих контролю |
Предмет контроля |
Способ контроля и инструмент |
Время проведения контроля |
Ответственный за контроль |
Технические характеристики оценки качества |
|
|
1 |
2 |
3 |
4 |
5 |
6 |
7 |
|
1 |
Приемка арматуры |
Соответствие арматурных стержней и сеток проекту (по паспорту) |
Визуально |
До начала установки |
Производитель работ |
|
|
2 |
Диаметр и расстояния между рабочими стержнями |
Штангенциркуль, линейка измерительная |
До начала установки сеток |
Мастер |
||
|
3 |
Монтаж арматуры |
Отклонение от проектных размеров толщины защитного слоя |
Линейка измерительная |
В процессе работы |
Мастер |
Допускаемое отклонение при толщине защитного слоя более 15 мм - 5 мм; при толщине защитного слоя 15 мм и менее - 3 мм |
|
4 |
Смещение арматурных стержней при их установке в опалубку, а также при изготовлении арматурных каркасов и сеток |
Линейка измерительная |
В процессе работы |
Мастер |
Допускаемое отклонение не должно превышать 1/5 наибольшего диаметра стержня и 1/4 устанавливаемого стержня |
|
|
5 |
Отклонение от проектных размеров положения осей вертикальных каркасов |
Геодезический инструмент |
В процессе работы |
Мастер |
Допускаемое отклонение 5 мм |
|
|
6 |
Приемка опалубки и сортировка |
Наличие комплектов элементов опалубки. Маркировка элементов |
Визуально |
В процессе работы |
Производитель работ |
|
|
7 |
Монтаж опалубки |
Смещение осей опалубки от проектного положения |
Линейка измерительная |
В процессе монтажа |
Мастер |
Допускаемое отклонение 15 мм |
|
8 |
Отклонение плоскости опалубки от вертикали на всю высоту фундамента |
Отвес, линейка измерительная |
В процессе монтажа |
Мастер |
Допускаемое отклонение 20 мм |
|
|
9 |
Укладка бетонной смеси |
Толщина слоев бетонной смеси |
Визуально |
В процессе работы |
Мастер |
Толщина слоя должна быть не более 1,25 длины рабочей части вибратора |
|
10 |
Уплотнение бетонной смеси, уход за бетоном |
Визуально |
В процессе работы |
Мастер |
Шаг перестановки вибратора не должен быть больше 1,5 радиуса действия вибратора, глубина погружения должна быть несколько больше толщины уложенного слоя бетона. Благоприятные температурно-влажностные условия для твердения бетона должна обеспечиваться предохранением его от воздействия ветра, прямых солнечных лучей и систематическим увлажнением |
|
|
11 |
Подвижность бетонной смеси |
Конус Строй - ЦНИЛ-пресс (ПСУ-500) |
До бетонирования |
Строительная лаборатория |
Подвижность бетонной смеси должна быть 1 - 3 см осадки конуса по СНиП 3.03.01-87 |
|
|
12 |
Состав бетонной смеси при укладке автобетононасосом |
Путем опытного перекачивания |
До бетонирования |
Строительная лаборатория |
Опытное перекачивание автобетононасосом бетонной смеси и испытание бетонных образцов, изготовление из отработанных после перекачивания проб бетонной смеси |
|
|
13 |
Распалубливание конструкций |
Проверка соблюдения сроков распалубливания, отсутствие повреждений бетона при распалубливании |
Визуально |
После набора прочности бетона |
Производитель работ, строительная лаборатория |
Таблица 4
|
Код |
Наименование технологических процессов |
Ед. измерения |
Объем работ |
Обоснование (ЕНиР и другие нормы) |
Нормы времени |
Затраты труда |
||
|
рабочих, чел.-ч |
машинистов, чел.-ч |
рабочих, чел.-ч (маш.-ч) |
машинистов, чел.-ч (маш.-ч) |
|||||
|
1 |
2 |
3 |
4 |
5 |
6 |
7 |
8 |
9 |
|
Монтаж и демонтаж опалубки Вспомогательные работы |
||||||||
|
1 |
Разгрузка элементов опалубки с транспортных средств |
100 т |
0,019 |
ЕНиР 1987 г. § Е1-5 табл. 2 № 1а, б |
22,0 |
11,0 (11,0) |
0,42 |
0,21 |
|
2 |
Сортировка конструкций |
т |
1,89 |
ЕНиР 1987 г. § Е5-1-1 № 3 |
10,0 |
18,9 |
||
|
3 |
Укрупнительная сборка панелей |
м2 |
19,1 |
ЕНиР 1987 г. § Е4-1-40 № 1 |
0,38 |
7,3 |
||
|
Итого: |
26,62 |
0,21 |
||||||
|
Монтаж опалубки |
||||||||
|
4 |
Подача укрупненных панелей к месту монтажа |
100 т |
0,019 |
ЕНиР 1987 г. § Е1-6 табл. 2 № 17а, б |
23,0 |
11,5 (11,5) |
0,44 |
0,22 |
|
5 |
Монтаж укрупнненных панелей |
м2 |
19,1 |
ЕНиР 1987 г. § Е4-1-37 табл. 2 № 1 К = 0,9 (применительно) |
0,35 |
0,17 (0,17) |
6,7 |
3,3 (3,3) |
|
6 |
Установка кронштейнов для подмащивания |
шт. |
1 |
ЕНиР 1987 г. § Е5-1-2 № 4 |
0,27 |
0,14 (0,14) |
0,27 |
0,14 (0,14) |
|
Итого: |
7,14 |
3,66 (3,66) |
||||||
|
Демонтаж опалубки |
||||||||
|
7 |
Демонтаж укрупненных панелей опалубки |
м2 |
19,1 |
ЕНиР 1987 г. § Е4-1-37 табл. 2 К = 9 (применительно) |
0,19 |
0,09 (0,09) |
3,6 |
1,8 1,8 |
|
8 |
Демонтаж кронштейна |
шт. |
1 |
ЕНиР 1987 г. § Е5-1-2 № 4 К = 8 (ПР-2) |
0,22 |
0,11 (0,11) |
0,22 |
0,11 (0,11) |
|
9 |
Подача укрупненных панелей на площадку складирования |
100 т |
0,019 |
ЕНиР 1987 г. § Е1-6 № 17а, б |
23,0 |
11,5 (11,5) |
0,44 |
0,22 (0,22) |
|
Итого: |
4,26 |
2,13 (2,23) |
||||||
|
Установка арматуры |
||||||||
|
10 |
Разгрузка арматурных сеток и каркасов |
100 т |
0,0065 |
ЕНиР 1987 г. § Е1-5 табл. 2, № 1а, б |
22,0 |
11,0 (11,0) |
0,14 |
0,07 (0,07) |
|
11 |
Сортировка арматурных сеток: вручную |
т |
0,202 |
ЕНиР 1987 г. § Е5-1-1 № 3 |
10,0 |
2,02 |
||
|
12 |
краном |
т |
0,425 |
ЕНиР 1987 г. § Е5-1-1 № 3 |
0,65 |
0,32 (0,32) |
0,29 |
0,14 (0,14) |
|
13 |
Подача сеток краном к месту установки |
100 т |
0,0045 |
ЕНиР 1987 г. § Е1-6 табл. 2, № 17а, б |
23,0 |
11,5 (11,5) |
0,10 |
0,05 (0,05) |
|
14 |
Установка арматурных сеток башмака: краном |
1 сетка |
3 |
ЕНиР 1987 г. § Е4-1-44 табл. 1, № 1 а |
0,42 |
0,105 (0,105) |
1,26 |
0,32 (0,32) |
|
15 |
вручную |
1 сетка |
2 |
ЕНиР 1987 г. § Е4-1-44 табл. 1, № 1а |
0,24 |
0,48 |
||
|
16 |
Укрупнительная сборка арматурных каркасов на площадке укрупнительной сборки |
1 элемент/т |
10/0,11 |
ЕНиР 1987 г. § Е5-1-3 табл. 2, № 1к, 2к |
0,18 (0,55) |
1,8 (0,06) |
||
|
17 |
Погрузка арматурных каркасов на автомашины |
100 т |
0,0011 |
ЕНиР 1987 г. § Е1-5, табл. 2, № 1а, б |
22,0 |
11,0 (11,0) |
0,02 |
0,01 (0,01) |
|
18 |
Подача арматурных каркасов к месту установки краном |
100 т |
0,0011 |
ЕНиР 1987 г. § Е1-6, табл. 2, № 17а, б |
23,0 |
11,5 (11,5) |
0,03 |
0,013 (0,013) |
|
19 |
Установка арматурных каркасов краном |
каркас |
1 |
ЕНиР 1987 г. § Е4-1-44 табл. 1, № 2а |
0,79 |
0,20 (0,20) |
0,79 |
0,20 (0,20) |
|
20 |
Сварка арматуры |
10 м шва |
0,51 |
ЕНиР 1987 г. § Е22-1-1 № 26 К = 1,3 (В2-5) |
4,16 |
0,63 |
||
|
Итого: |
7,62 |
0,80 (0,80) |
||||||
|
Бетонные работы Подача бетонной смеси краном |
||||||||
|
1 |
Прием бетонной смеси из автобетоносмесителя в бункеры |
100 м3 |
0,147 |
Расчет 1 |
3,32 (3,32) |
0,49 (0,49) |
||
|
2 |
Подача бетонной смеси к месту укладки в бункерах краном |
м3 |
14,7 |
ЕНиР 1987 г. § Е1-6 табл. 2, № 15, 16 (по экстраполяции) |
0,19 |
0,095 (0,095) |
2,79 |
1,40 (1,40) |
|
3 |
Укладка бетонной смеси в конструкцию объемом до 25 м3 |
м3 |
14,7 |
ЕНиР 1987 г. § Е4-1-49 табл. 1, № 4 |
0,26 |
3,82 |
||
|
Итого: |
6,61 |
1,89 (1,89) |
||||||
|
Подача бетонной смеси автобетононасосом |
||||||||
|
4 |
Прием бетонной смеси из автобетоносмесителя в бункер автобетононасоса |
100 м3 |
0,147 |
Расчет 1 |
3,32 |
0,49 |
||
|
5 |
Подача бетонной смеси к месту укладки автобетононасосом |
100 м3 |
0,147 |
Расчет 2 |
6,4 |
6,4 (6,4) |
0,94 |
0,94 (0,94) |
|
6 |
Укладка бетонной смеси в конструкцию объемом до 25 м3 |
м3 |
14,7 |
ЕНиР 1987 г. § Е4-1-49 табл. 1, № 3, 4 |
0,26 |
3,82 |
||
|
Итого: |
4,76 |
1,43 (1,43) |
||||||
|
Всего при подаче бетонной смеси: |
||||||||
|
краном |
52,52 |
8,69 (8,69) |
||||||
|
автобетононасосом |
50,67 |
8,23 (8,23) |
||||||
6.1. Потребность в материалах, изделиях и конструкциях на фундамент приведена в таблице 6.
Таблица 6
|
Наименование материалов, изделий и конструкций (марка, ГОСТ, ТУ) |
Ед. измерения |
Исходные данные |
Потребность на измеритель конечной продукции |
||||
|
Основные разработки |
Ед. измерения по норме |
Объем работ в нормативных единицах |
Норма расхода |
||||
|
1 |
2 |
3 |
4 |
5 |
6 |
7 |
8 |
|
1 |
Опалубка мелкощитовая металлическая |
м2 |
19,1 |
||||
|
2 |
Арматурные сетки |
т |
0,654 |
||||
|
3 |
Бетонная смесь |
м3 |
СНиП IV-Б4 § Е2 |
м3 |
100 |
101,5 |
14,8 |
|
4 |
Электроды Э-42 |
кг |
3,3 |
||||
|
5 |
Эмульсия для смазки щитов опалубки |
1 м2 опалубки |
3,8 - 6,7 |
||||
7.1. При устройстве монолитных фундаментов необходимо соблюдать требования СНиП III-4-80* «Техника безопасности в строительстве», «Правил пожарной безопасности при производстве строительно-монтажных работ», «Правил устройства и безопасной эксплуатации грузоподъемных кранов».
7.2. Безопасность производства работ должна быть обеспечена: выбором рациональной соответствующей технологической оснастки;
подготовкой и организацией рабочих мест производства работ;
применением средств защиты работающих;
проведением медицинского осмотра лиц, допущенных к работе;
своевременным обучением и проверкой знаний рабочего персонала и ИТР по технике безопасности при производстве строительно-монтажных работ.
Особое внимание необходимо обращать на следующее:
способы строповки элементов конструкций должны обеспечивать их подачу к месту установки в положении, близком проектному;
элементы монтируемых конструкций во время перемещения должны удерживаться от раскачивания и вращения гибкими оттяжками;
не допускать нахождения людей под монтируемыми элементами конструкций до установки их в проектное положение и закрепление;
при перемещении краном грузов расстояние между наружными габаритами проносимых грузов и выступающими частями конструкций и препятствий по ходу перемещения должно быть по горизонтали не менее 1 м, по вертикали не менее 0,5 м; монтаж и демонтаж опалубки может быть начат с разрешения технического руководителя строительства и должен производиться под непосредственным наблюдением специально назначенного лица технического персонала;
перемещение загруженного или порожнего бункера разрешается только при закрытом затворе;
не допускается касание вибратором арматуры и нахождение рабочего в зоне возможного падения бункера;
к управлению автобетононасосами допускаются только лица, имеющие удостоверение на право работы на данном типе машин.
7.4. При работе на высоте более 1,5 м все рабочие обязаны пользоваться предохранительными поясами с карабинами.
7.5. Разборка опалубки допускается после набора бетоном распалубочной прочности и с разрешения производителя работ.
7.6. Отрыв опалубки от бетона производится с помощью домкратов. В процессе отрыва бетонная поверхность не должна повреждаться.
7.7. Рабочие места электросварщиков должны быть ограждены специальными переносными ограждениями. Перед началом сварки необходимо проверить исправность изоляции сварочных проводов и электрододержателей, а также плотность соединения всех контактов. При перерывах в работе электросварочные установки необходимо отключать от сети.
7.8. Погрузочно-разгрузочные работы, складирование и монтаж арматурных каркасов должны выполняться инвентарными грузозахватными устройствами и с соблюдением мер, исключающих возможность падения, скольжения и потери устойчивости грузов.
7.9. Очистку лотка автобетоносмесителя и загрузочного отверстия от остатков бетонной смеси производят только при неподвижном барабане.
7.10. Запрещается: работа автобетононасоса без выносных опор; начинать работу автобетононасоса без предварительной заливки в промывочный резервуар бетонотранспортных цилиндров воды, а в бетонопровод - «пусковой смазки».
Таблица 7
|
Код |
Наименование |
Подача бетонной смеси краном в бункерах |
Подача бетонной смеси автобетононасосом СБ-170-1 |
|
1 |
Нормативные затраты труда рабочих, чел.-день |
7,46 |
7,18 |
|
2 |
Нормативные затраты машинного времени, маш.-смен |
1,06 |
1,00 |
|
3 |
Продолжительность выполнения работ, смен |
1,60 |
1,49 |
|
4 |
Выработка на одного рабочего в смену, м3/чел.-смен |
1,97 |
2,05 |
Расчет 1
Нормы времени на разгрузку автобетоносмесителя СБ-92В-2 в емкости.
Время разгрузки автобетоносмесителя по технической характеристике автобетоносмесителя составляет 8 мин (0133 ч).
Полезная вместимость барабана - 4 м3.
Н. вр. на разгрузку 100 м3 бетонной смеси составит:
(100´0,133)/4´1 = 3,32 маш.-ч.
Расчет 2
Нормы времени на подачу бетонной смеси в конструкцию автобетононасосом СБ-170-1.
Эксплуатационная производительность автобетононасоса определяется по формуле
Пэ = Пт ´ К1 ´ К2,
где Пт - техническая производительность автобетононасоса;
К1 - коэффициент перехода от технической производительности к эксплуатационной, К1 = 0,4;
K2 - коэффициент снижения производительности автобетононасоса, учитывающий непостоянный режим подачи, К2 = 0,65.
Пэ = 60 ´ 0,4 ´ 0,65 = 15,6 м3/ч.
Обслуживает звено из двух человек: машинист бетононасосной установки 4 разр. - 1 чел., бетонщик 2 разр. - 1 чел.
Норма времени на 100 м3 бетонной смеси для рабочих:
(100´1)/15,6 = 6,4 чел.-ч;
для машиниста 100/15,6´1 = 6,4 маш.-ч.
СОДЕРЖАНИЕ