МИНИСТЕРСТВО ЭНЕРГЕТИКИ И ЭЛЕКТРИФИКАЦИИ СССР
ГЛАВЭНЕРГОРЕМОНТ
РУКОВОДСТВО
ПО КАПИТАЛЬНОМУ РЕМОНТУ
МАСЛЯНОГО ВЫКЛЮЧАТЕЛЯ
ВМП-10П/630
РД
34.47.613
(СО 153-34.47.613)

МОСКВА 1975
Составлено Кишиневским отделом ЦКБ Главэнергоремонта
Авторы инженеры С.А. ФРИДМАН, В.И. СМОЛЯК, И.М. ЧЕРНЯХОВСКИЙ, Ю.И. ПОПЕЛЬНИЦКИЙ, техник П.X. БИРМАН
Редактор инж. Л.Ф. ТАФИПОЛЬСКИЙ
СОГЛАСОВАНО: УТВЕРЖДАЮ:
Главный инженер Главный инженер
Ровенского завода Главэнергоремонта
высоковольтной аппаратуры
С. ДРОБОТ В. КУРКОВИЧ
14 ноября 1974 г. 16 декабря 1974 г.
Руководство по ремонту масляного выключателя ВМП-10П предусматривает применение ремонтным персоналом энергопредприятий и других специализированных предприятий рациональных форм организации ремонтных работ и передовых технологических приемов их выполнения.
Руководство разработано на основе чертежей и инструкций заводов-изготовителей и передового опыта работы ряда ремонтных предприятий.
Руководство определяет строгую последовательность и объем ремонтных операций, содержит нормативные материалы по технологии и трудозатратам на ремонт, квалификационному составу ремонтного персонала, а также рекомендации по дефектации деталей. Дается перечень средств (инструмента, приспособлений, крепежа и др.), необходимых для выполнения ремонтных работ.
При определении трудозатрат на отдельные операции ремонта выключателя использованы «Нормы времени на капитальный, текущий ремонты и эксплуатационное обслуживание оборудования подстанций 35 - 500 кВ» (ХОЗУ Минэнерго СССР, 1971).
Суммарные затраты на капитальный ремонт одного выключателя составляют 26,25 чел.-ч, в том числе непосредственно на ремонт 19,25 чел.-ч, на наладку выключателя 7 чел.-ч.
Трудозатраты, указанные в Руководстве, не могут быть использованы для определения сроков и стоимости ремонтных работ, так как в них не учтено время на подготовительные и заключительные работы, простои, перерывы, отдых и т.д., составляющее примерно 8,5 % общего времени на ремонт выключателя.
Настоящее Руководство по капитальному ремонту выключателя ВМП-10П/630 охватывает полный объем ремонта и ревизии всех узлов выключателя и элементов управления. Работы по проверке и наладке релейной защиты и высоковольтным испытаниям производителя персоналом специализированных служб согласно действующим инструкциям и в объем данного Руководства не включены.
Технология ремонта предусматривает замену изношенных или поврежденных деталей запасными. Ремонт деталей, удлиняющий срок простоя выключателя, не рекомендуется.
Руководство предусматривает применение приспособлений и специального инструмента, способствующих повышению производительности труда.
При отсутствии оснастки, рекомендуемой настоящим Руководством, допускается использование имеющейся в наличии при условии, что замена не влечет за собой снижение производительности труда и ухудшение качества ремонта.
Технологическая схема капитального ремонта выключателя (приложение 1, см. вклейку) разработана на основе данного Руководства, принятых трудозатрат, численности и квалификации ремонтного персонала.
Принятая численность, квалификация и суммарные трудозатраты соответствуют «Нормам времени на капитальный, текущий ремонты и эксплуатационное обслуживание оборудования подстанций 35 - 500 кВ» (ХОЗУ Минэнерго СССР, 1971).
Руководство разработано при условии проведения всех работ на месте установки выключателя.
Применение индустриально-заводского метода ремонта (приложение 2, см. вклейку) дает возможность сократить время простоя выключателя в ремонте. По этой схеме ремонт резервных узлов (вала привода с барабаном, подвижной контактной системы полюса с механизмом, дугогасительной камеры и неподвижного розеточного контакта) ведется в условиях мастерских, что дает (с последующей заменой на подстанции) возможность исключить ряд работ на месте (операции 5 - 7, 11 - 13) с суммарными трудозатратами 4,95 чел.-ч и уменьшить время простоя выключателя в ремонте на 1,6 ч.
В процессе производства работ ремонтный персонал обязан строго выполнять правила техники безопасности в соответствии с существующими указаниями и правилами.
Подготовка к капитальному ремонту
1. Не позже чем за сутки до начала ремонта выключателя ремонтное подразделение (руководитель ремонта) обязано:
а) наметить состав ремонтной бригады по квалификации и количеству в соответствии с объемом ремонта;
б) тщательно проработать с персоналом организацию и технологию ремонтных работ;
в) ознакомиться с документацией предыдущего ремонта или монтажа;
г) ознакомиться с режимом работы выключателя за прошедший межремонтный срок и замечаниями эксплуатационного персонала;
д) подать заявку на выведение в ремонт выключателя;
е) согласовать сроки и объемы работ с лабораториями высоковольтных испытаний, релейной защиты и автоматики.
2. В соответствии с запланированным объемом работ согласно перечню (приложения 3 - 6) произвести заготовку запасных частей, инструмента, приспособлений и материалов.
3. Перед началом работ руководитель ремонта (мастер) обязан:
а) проверить готовность бригады к ремонту;
б) провести инструктаж по объему, характеру, особенностям предстоящего ремонта и технике безопасности.
4. Допуск к работе производится в соответствии с правилами техники безопасности и действующими местными инструкциями.
Проведение капитального ремонта
1. Руководство ремонтом осуществляется представителем ремонтного подразделения (руководитель ремонта). Приемка из ремонта осуществляется эксплуатационными службами в соответствии с существующими положениями.
2. При выполнении ряда сложных операций (6, 7, 21) электромонтером 2-го разряда необходим постоянный надзор со стороны электромонтеров 3-го и 4-го разрядов.
3. Сроки ремонта выключателя должны определяться с учетом следующего:
а) состав бригады определяется технологической схемой ремонта, смена состава до окончания работ на отдельных узлах не допускается;
б) обеспечивается непрерывность загрузки бригады, предусмотренной технологической схемой ремонта.
Для обеспечения сроков ремонта рекомендуется выдача нормированных планов-заданий.
4. Окончание ремонта оформляется соответствующим техническим актом (см. приложение 7) и подписывается представителями ремонтного и эксплуатационного подразделений.
Трехполюсный малообъемный масляный выключатель ВМП-10П со встроенным пружинным приводом предназначен для работы в закрытых установках напряжением до 10 кВ.
Выключатели изготовляются для малогабаритных комплектных распределительных устройств (КРУ) с ячейками выкатного типа.
Для работы в нормальных климатических условиях выпускаются выключатели на номинальные значения тока 630, 1000 и 1500 А.
Технические данные выключателя
Номинальное напряжение........................................................................... 10 кВ
Максимальное рабочее напряжение........................................................... 11,5 кВ
Номинальный ток......................................................................................... 630 А
Мощность отключения при напряжении:
3 кВ................................................................................................................. 100 МВ · А
6 кВ................................................................................................................. 200 МВ · А
10 кВ............................................................................................................... 350 МВ · А
Ток отключения, кА, при напряжении:
3 кВ................................................................................................................. 20 кВ
6 кВ................................................................................................................. 20 кВ
10 кВ............................................................................................................... 20 кВ
Ток включения:
симметричный.............................................................................................. 20 кА
амплитудное значение................................................................................. 52 кА
Предельный сквозной ток КЗ:
амплитудное значение................................................................................. 52 кА
эффективное значение................................................................................. 30 кА
Ток термической устойчивости
односекундный............................................................................................. 30 кА
пятисекундный............................................................................................. 20 кА
десятисекундный.......................................................................................... 14 кА
Номинальное напряжение электромагнита заводки рабочих пружин привода:
переменного тока (через выпрямитель)..................................................... 127 В
постоянного тока.......................................................................................... 110 В
Потребляемая мощность электромагнита заводки рабочих пружин
привода, не более.......................................................................................... 1000 В · А
Время включения выключателя, не более................................................. 0,2 с
Время отключения выключателя, не более................................................ 0,1 с
Минимальная пауза тока при АПВ............................................................ 0,5 с
Максимальный включающий момент на валу выключателя.................. 40 кгс · м
Максимальный момент на валу привода................................................... 17,5+3-1 кгс · м
Минимальный удерживающий момент на валу выключателя при ходе подвижных стержней в неподвижных розеточных контактах при отключении 4 кгс · м
Время заводки рабочих пружин при напряжении на зажимах выпрямителя и на зажимах электромагнита заводки, не более:
1,0Uн............................................................................................................... 30 с
0,8Uн............................................................................................................... 60 с
Скорость отключения выключателя:
в момент размыкания контактов................................................................. 3,5 ± 0,3 м/с
максимальная................................................................................................ 5,0 м/с
Скорость включения выключателя:
в момент замыкания контактов, не менее.................................................. 4,5 м/с
максимальная................................................................................................ 6,0 м/с
Масса выключателя без масла..................................................................... 243 ± 25 кг
Масса масла................................................................................................... 4,5 ± 0,5 кг
Примечания: 1. Выключатель не должен подвергаться действию тока, превышающего предельный сквозной ток КЗ.
2. Под временем включения выключателя понимается время от подачи команды на включение (при номинальном напряжении в цепи управления) до замыкания контактов выключателя.
3. Под собственным временем отключения выключателя понимается время от подачи команды на отключение (при номинальном напряжении в цепи управления) до размыкания контактов выключателя.
4. Механические характеристики выключателя соответствуют предварительному натягу рабочих пружин привода при повороте барабана на 105°.
ОПЕРАЦИЯ 01
НАРУЖНЫЙ ОСМОТР ВЫКЛЮЧАТЕЛЯ
Узел 01. Выключатель
Трудозатрат на операцию - 0,6 чел.-ч.
Состав звена - электрослесари 2-го разряда - 1 чел., 3-го разряда - 1 чел., 4-го разряда - 1 чел.
01.1*. Очистить и осмотреть изоляционные тяги 10, изоляционные перегородки 4, опорные изоляторы 9 (рис. 1, см. вклейку) и изоляционные цилиндры 5 (рис. 2, см. вклейку). Проверить, нет ли трещин, сколов, царапин, раковин, расслоений и прожогов у перечисленных выше деталей.
* Первые две цифры до точки - номер операции, цифры после точки - номер перехода.

Рис. 1. Габаритные и установочные размеры выключателей ВМП-10П и ВМП-10ПТ:
1 - рама; 2 - полюс; 3 - крышка; 4 - изоляционная перегородка; 5 и 6 - собачки; 7 и 8 - тяги; 9 - опорный изолятор; 10 - изоляционная тяга; 11 - вал выключателя
Примечания: 1. Угол поворота вала выключателя 65°. 2. Тяги 7 и 8 в комплект выключателя не входят. 3. При начальном ходе тяги 8, равном 5 мм, должно происходить надежное запирание включающих пружин привода собачкой 6. В таком состоянии при дистанционном или ручном включении собачка 5 срабатывает вхолостую и возвращается в исходное положение после окончания команды включения. Общий ход тяги равен 9 мм.
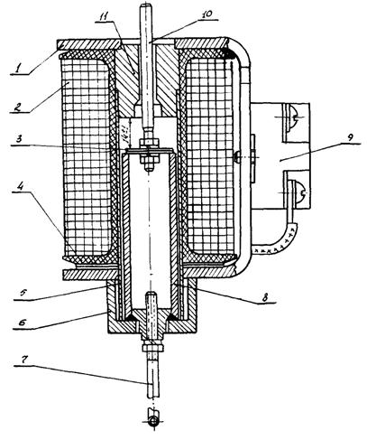
Рис. 2. Полюс выключателя ВМП-10П:
1 - нижний вывод; 2, 8 и 10 - резиновые шайбы; 3 - опорно-дистанционный цилиндр; 4 - дугогасительная камера; 5 - изоляционный цилиндр; 6 - подвижный контакт; 7 - верхний фланец; 9 - верхний вывод; 11 - роликовый токосъем; 12 - колпачок; 13 - направляющая колодка; 14 - маслоуловитель; 15 - верхняя крышка; 16 - пробка; 17 - болт М8; 18 - корпус механизма; 19 - выпрямляющий механизм; 20 - направляющий стержень; 21 - маслоуказатель; 22 - болт М6; 23 - нижний фланец; 24 - неподвижный розеточный контакт; 25 - нижняя крышка; 26 - прокладка; 27 - маслоспускной болт; а - паронитовая прокладка под колпачок (поз. 12), толщина - 1,0 мм; б - паронитовая прокладка под верхнюю крышку (поз. 15), толщина 1,0 мм; в - прокладка (фибра марки ФЗ) под маслоспускной болт (поз. 27); г - шайба резиновая
Не допускаются:
- сколы фарфора у опорных изоляторов более 1,5 см;
- больше трещины, сколы и расслоения у изоляционных тяг и перегородок;
- трещины, сколы и повреждения армировки у изоляционных цилиндров.
Примечание. Небольшие трещины, расслоения, выкрашивания и сколы фарфора до 1,5 см рекомендуется очистить и покрыть бакелитовым лаком.
01.2. Проверить отсутствие течи и подтеков масла на полюсах 2 (см. рис. 1) выключателя.
01.3. Снять наружную крышку 3 (см. рис. 1).
Оснастка: отвертка, гаечный ключ 10×12 мм.
01.4. Включить выключатель два - три раза вручную для проверки работы привода.
Оснастка: рычаг ручного включения.
ОПЕРАЦИЯ 02
ПОДГОТОВКА ПОЛЮСОВ ВЫКЛЮЧАТЕЛЯ К РЕМОНТУ
Узел 02. Полюс выключателя
Трудозатраты на операцию - 0,65 чел.-ч.
Состав звена: электрослесари 2-го разряда - 1 чел., 3-го разряда - 1 чел.
02.1. Отсоединить шины масляного выключателя.
Оснастка: гаечный ключ 17×19 мм.
02.2. Снять изоляционные перегородки 4 (см. рис. 1).
Оснастка: гаечный ключ 10×12 мм.
02.3. Расшплинтовать и отсоединить изоляционные тяги 10 (см. рис. 1).
Оснастка: плоскогубцы, отвертка.
ОПЕРАЦИЯ 03
СЛИВ МАСЛА, ПРОВЕРКА РАБОТЫ И РЕМОНТ МАСЛОУКАЗАТЕЛЕЙ
Узел 02. Полюс выключателя
Трудозатраты - 0,75 чел.-ч.
Состав звена: электрослесарь 3-го разряда - 1 чел.
03.1. Вывинтить маслоспускной болт 27 (см. рис. 2) и слить масло в противень, одновременно проверив работу маслоуказателя 21. В случае течи масла из маслоуказателя или неправильной его работы произвести ремонт маслоуказателя согласно переходам 2 - 8.
Оснастка: торцовый ключ, головка 27 мм, противень.
03.2. Вывинтить болты 22 (см. рис. 2). Снять фланец 3 (рис. 3).
Оснастка: гаечный ключ 10×12 мм.
Рис. 3. Маслоуказатель:
1 - колпачок; 2 - стеклянная трубка; 3 - фланец; 4 - уплотнение; 5 - штуцер; 6 - клапан; 7 - корпус
03.3. Вынуть стеклянную трубку 2 и уплотнение 4 (см. рис. 3).
03.4. Согнуть усики клапана 6.
Оснастка: плоскогубцы.
03.5. Вывинтить штуцер 5.
Оснастка: отвертка.
03.6. Вынуть клапан 6.
03.7. Осмотреть детали маслоуказателя, дефектные детали заменить.
03.8. Прочистить проволокой отверстие в корпусе 7.
03.9. Собрать маслоуказатель согласно переходам 6 - 2.
03.10. Повторить переходы 1 - 9 для двух других фаз.
ОПЕРАЦИЯ 04
РАЗБОРКА ПОЛЮСОВ ВЫКЛЮЧАТЕЛЯ
Узел 02. Полюс выключателя
Трудозатраты - 1,35 чел.-ч.
Состав звена: электрослесари 2-го разряда - 1 чел., 3-го разряда - 1 чел.
04.1. Свинтить гайки, крепящие нижнюю крышку 25 (см. рис. 2) с нижним фланцем 23.
Оснастка: торцовый ключ, головка 24 мм.
04.2. Снять нижнюю крышку с неподвижным розеточным контактом 24.
Оснастка: отвертка.
04.3. Вынуть опорно-дистанционный цилиндр 3 и дугогасительную камеру 4 и положить их на железный противень.
Оснастка: противень.
Примечание. Дугогасительную камеру предохранять от увлажнения, загрязнения и повреждения; длительное хранение камеры целесообразно в чистом «сухом» трансформаторном масле.
04.4. Вывинтить болты 17 и снять верхнюю крышку 15.
Оснастка: гаечный ключ 10×12 мм, отвертка.
04.5. Вынуть маслоуловитель 14.
Оснастка: отвертка В.
04.6. Вывинтить болты, крепящие корпус механизма 18 с верхним фланцем 7.
Оснастка: гаечный ключ 17×19 мм.
04.7. Вывинтить болт, крепящий корпус механизма к верхнему изолятору.
Оснастка: гаечный ключ 17×19 мм.
04.8. Снять корпус механизма.
04.9. Повторить переходы 1 - 8 для двух других фаз.
ОПЕРАЦИЯ 05
ПРОМЫВКА, ОСМОТР И РЕМОНТ ДУГОГАСИТЕЛЬНЫХ КАМЕР
Узел 02. Полюс выключателя
Трудозатраты - 1,2 чел.-ч.
Состав звена: электрослесарь 3-го разряда - 1 чел.
05.1. Протереть дугогасительную камеру и тщательно осмотреть. Если камера не имеет дефектов (трещин, выкрашиваний или расслоений на деталях) и размер отверстия в кольце 15 (рис. 4) не более 29,5 мм, то разбирать камеру не рекомендуется, а необходимо лишь подтянуть гайки 13 и промыть камеру в чистом «сухом» трансформаторном масле. В случае обнаружения дефектов ремонт камеры произвести согласно переходам 2 - 8.
Рис. 4. Дугогасительная камера:
1 - 12 - перегородки; 13 - гайка; 14 - шпилька; 15 - кольцо
05.2. Свинтить гайки 13 и разобрать камеру, сложив перегородки 1 - 12 на противень.
Оснастка: разводной ключ, противень.
05.3. Заменить дефектные детали камеры.
05.4. Зачистить обугленные места деталей камеры.
Оснастка: монтерский нож.
05.5. Собрать камеру в строгой последовательности согласно рис. 4, отрегулировав во время сборки размеры щелей камеры a, b, c изменением толщины пакетов при помощи прокладок из электрокартона ЭМ. Прокладки из электрокартона устанавливать между перегородками соответствующих пакетов.
Оснастка: монтерский нож, штангенциркуль.
05.6. Проверить и отрегулировать высоту A камеры изменением числа перегородок 10 в пакете.
Оснастка: штангенциркуль.
05.7. Затянуть гайки 13 на шпильках 14.
Оснастка: разводной ключ.
05.8. Промыть камеру в чистом «сухом» трансформаторном масле.
05.9. Повторить переходы 1 - 8 для дугогасительных камер двух других фаз.
Примечание. Расслоенные перегородки 1 - 12 рекомендуется отремонтировать проклейкой бакелитовым лаком с запечкой под прессом.
ОПЕРАЦИЯ 06
ОСМОТР И РЕМОНТ НЕПОДВИЖНЫХ РОЗЕТОЧНЫХ КОНТАКТОВ
Узел 02. Полюс выключателя
Трудозатраты - 1,05 чел.-ч.
Состав звена: электрослесари 2-го разряда - 1 чел., 3-го разряда - 1 чел.
06.1. Протереть неподвижный розеточный контакт.
Оснастка: ветошь.
06.2. Осмотреть розеточный контакт. При осмотре обратить внимание на отсутствие повреждений у ламелей 2 (рис. 5), прокладок 3, пружин 4, кольца 5, гибких связей 6, опорного кольца 7, болтов 8, шайб 9 и прокладок 10. Если дефектов у перечисленных выше деталей не обнаружено, металлокерамическая облицовка ламелей обгорела незначительно и переходное сопротивление участка «стержень - розеточный контакт» (рис. 6) не превышает 33 Ом, то неподвижный розеточный контакт разбирать не рекомендуется. Необходимо лишь зачистить металлокерамическую облицовку ламелей напильником и шлифовальной шкуркой, промыть контакт бензином и подтянуть болты.
В случае необходимости ремонт розеточного контакта произвести согласно переходам 3 - 19.
Рис. 5. Неподвижный розеточный контакт:
1 - фиксатор; 2 - ламель; 3 и 10 - прокладки; 4 - пружина; 5 - кольцо; 6 - гибкая связь; 7 - опорное кольцо; 8 - болт М8; 9 - шайба
Рис. 6. Схема замера сопротивления токоведущего контура полюса:
I - участок «стержень - розеточный контакт»; II - полное сопротивление полюса; III - участок роликового токосъема.
06.3. Снять кольцо 5, пружины 4 и прокладки 3 (см. рис. 5).
Оснастка: отвертка.
06.4. Вывинтить болты и снять гибкие связи и ламели.
Оснастка: торцовый ключ, головка 12 мм.
06.5. Осмотреть детали розеточного контакта, при значительном повреждении металлокерамической облицовки ламелей (раковины или сквозные прожоги металлокерамической облицовки) заменить их.
06.6. Зачистить металлокерамическую облицовку ламелей.
Оснастка: полукруглые напильники № 2 и 4, трехгранные напильники № 2 и 4, шлифовальная шкурка.
06.7. Заменить поврежденные детали розеточного контакта.
06.8. Зачистить контактную поверхность ламелей и промыть бензином контактную поверхность гибких связей.
Оснастка: шлифовальная шкурка, ветошь.
06.9. Установить опорное кольцо на нижнюю крышку.
06.10. Присоединить гибкие связи к ламелям, подложив под болты 8 шайбы 9 и прокладки 10.
Оснастка: торцовый ключ, головка 12 мм.
06.11. Прикрепить гибкие связи к нижней крышке, подложив под болты шайбы 9 и прокладки 10.
Оснастка: торцовый ключ, головка 12 мм.
06.12. Затянуть болты 8.
Оснастка: торцовый ключ, головка 12 мм.
06.13. Установить в отверстия ламелей 2 прокладки 3.
Оснастка: отвертка.
06.14. Надеть на ламели 2 кольцо 5 и установить пружины 4.
06.15. Проверить размер a и при необходимости подправить торцы ламелей киянкой.
Оснастка: штангенрейсмас, киянка.
06.16. Надеть собранный розеточный контакт на приспособление П-1 (рис. 7) предварительно смазав контрольный стержень 2 смазкой ЦИАТИМ-203 (221).
06.17. Проверить усилие вытягивания стержня 2 (см. рис. 7) из розеточного контакта, которое должно быть в пределах 9 - 11 кгс.
Оснастка: приспособление П-1.
Рис. 7. Приспособление (П-1) для проверки усилия вытягивания подвижного контакта из неподвижного розеточного контакта:
1 - контрольный груз (P = 8 кгс), габаритные размеры на усмотрение ремонтного персонала; 2 - контрольный стержень; 3 - контрольный груз (P = 2 кгс), габаритные размеры на усмотрение ремонтного персонала
06.18. Отрегулировать усилие вытягивания стержня из розеточного контакта подбором соответствующих пружин 4 (см. рис. 5).
Оснастка: отвертка, приспособление П-1.
06.19. Замерить переходное сопротивление участка «стержень - розеточный контакт» (см. рис. 6), которое не должно превышать 33 мкОм.
Оснастка: прибор М-246.
06.20. Повторить переходы 1 - 19 для розеточных контактов двух других фаз.
Примечания:
1. На металлокерамической облицовке ламелей после опиловки не должно оставаться раковин глубиной более 0,5 мм, размеры ламелей не должны отличаться от первоначальных более чем на 0,5 мм.
2. В собранном розеточном контакте ламели должны находиться в наклонном положении и касаться один другого в верхней части.
ОПЕРАЦИЯ 07
ОСМОТР И РЕМОНТ ПОДВИЖНЫХ КОНТАКТОВ, НАПРАВЛЯЮЩИХ СТЕРЖНЕЙ, РОЛИКОВОГО ТОКОСЪЕМА
Узел 02. Полюс выключателя
Трудозатраты - 1,5 чел.-ч.
Состав звена: электрослесари 2-го разряда - 1 чел., 3-го разряда - 1 чел.
07.1. Осмотреть и протереть токоведущий стержень 3 (рис. 8), направляющие стержни 5 и токосъемные ролики 6. Если эти детали имеют повреждения (большие вмятины или задиры на токоведущем и направляющих стержнях, трещины на токосъемных роликах или пружинах у роликов), их следует заменить. Замену поврежденных деталей произвести согласно переходам 2 - 17. При осмотре обратить внимание на сменный наконечник 2 (рис. 9). Если на металлокерамической облицовке сменного наконечника имеются трещины, раковины и сквозные прожоги, то наконечник заменить согласно переходам 10 - 14. При небольшом обгорании металлокерамической облицовки наконечника необходимо зачистить его напильником и шлифовальной шкуркой, а затем промыть бензином.
07.2. Свинтить гайки 1 (см. рис. 8) и снять шайбы.
Оснастка: гаечный ключ 22×24 мм.
Рис. 8. Механизм полюса:
1 и 13 - гайки М16; 2 - винт М6; 3 - токоведущий стержень; 4 - верхний вывод; 5 - направляющие стержни; 6 - токосъемные ролики; 7 - упор; 8 - винт М5; 9 - планка; 10 - ось; 11 - диск; 12 - корпус механизма
07.3. Вывинтить винты 2 и снять верхний вывод 4.
Оснастка: отвертка.
07.4. Вынуть токосъемные ролики.
07.5. Вывинтить винт 8, снять планку 9 и вынуть ось 10.
Оснастка: отвертка.
07.6. Вынуть токоведущий стержень 3.
07.7. Вынуть направляющие стержни 5 с диском 11.
07.8. Свинтить гайки 13 и снять диск.
Оснастка: гаечный ключ 22×24 мм.
07.9. Заменить поврежденные детали.
07.10. Зажать токоведущий стержень 1 (см. рис. 9) в тиски и вывинтить сменный наконечник 2.
Оснастка: тиски, трубный рычажный ключ.
Рис. 9. Установка сменного наконечника:
1 - токоведущий стержень; 2 - сменный наконечник
07.11. Ввинтить новый наконечник в токоведущий стержень 1 до отказа.
07.12. Обкатать поверхность на стыке сменного наконечника 2 и токоведущего стержня 1 роликов и обжать.
07.13. Закернить стык в четырех местах.
Оснастка: молоток, керн.
07.14. Проточить наконечник по окружности на стыке.
07.15. Промыть бензином и протереть стержни и ролики.
Оснастка: ветошь, напильник.
07.16. Произвести сборку токоведущей части согласно переходам 8 - 2.
07.17. Замерить переходное сопротивление на участке роликового токосъема (см. рис. 6), которое не должно превышать 22 мкОм.
Оснастка: прибор М-246.
07.18. Повторить переходы 1 - 17 для двух других фаз.
Примечания: 1. После опиловки размеры сменного наконечника 2 (см. рис. 9) не должны отличаться от первоначальных более чем на 2 - 3 мм. 2. Переходы 12 и 14 выполняются на токарном станке.
ОПЕРАЦИЯ 08
СБОРКА ПОЛЮСА ВЫКЛЮЧАТЕЛЯ
Узел 02. Полюс выключателя
Трудозатраты - 1,5 чел.-ч.
Состав звена: электрослесарь 3-го разряда - 1 чел.
08.1. Установить опорно-дистанционный цилиндр 3 (см. рис. 2) на нижнюю крышку 25.
08.2. Установить дугогасительную камеру 4 на опорно-дистанционный цилиндр 3.
08.3. Установить резиновую шайбу 2 в паз нижнего фланца 23 (шайба должна плотно входить в паз фланца).
08.4. Вставить нижнюю крышку 25 с дугогасительной камерой 4 и опорно-дистанционным цилиндром 3 в изоляционный цилиндр 5.
08.5. Прикрепить нижнюю крышку 25 к нижнему фланцу 23 на четырех шпильках, подложив под гайки шайбы.
Оснастка: торцовый ключ, головки 24 мм.
08.6. Затянуть гайки на шпильках равномерно по диагонали.
Оснастка: торцовый ключ, головка 24 мм.
08.7. Установить прокладку 26 под маслоспускной болт 27 и затянуть маслоспускной болт.
Оснастка: торцовый ключ, головка 24 мм.
08.8. Установить резиновую шайбу 8 в паз верхнего фланца 7.
08.9. Установить корпус механизма 18 на верхний фланец 7.
08.10. Закрепить корпус механизма 18 на верхнем фланце 7 на четырех болтах, подложив под гайки шайбы.
Оснастка: гаечный ключ 17×19 мм.
08.11. Затянуть гайки равномерно по диагонали.
08.12. Проверить вертикальность установки полюса с помощью отвеса.
Оснастка: отвес.
08.13. Отрегулировать вертикальность установки полюса разворотом и смещением опорных изоляторов.
Оснастка: торцовый ключ, головка 22 мм.
08.14. Закрепить полюс на верхнем изоляторе.
Оснастка: гаечный ключ 17×19 мм.
08.15. Залить полюс чистым «сухим» трансформаторный маслом.
Оснастка: ведро.
08.16. Проверить правильность работы маслоуказателя 21 (уровень масла должен быть между двумя полосками на стекле маслоуказателя).
08.17. Повторить переходы 1 - 16 для двух других фаз.
ОПЕРАЦИЯ 09
РЕГУЛИРОВКА ПОЛЮСА ВЫКЛЮЧАТЕЛЯ
Узел 02. Полюс выключателя
Трудозатраты - 1,0 чел.-ч.
Состав звена: электрослесарь 3-го разряда - 1 чел.
09.1. Ввинтить в торец подвижного контакта 6 (см. рис. 2) приспособление П-2 (рис. 10) - контрольный стержень.
Оснастка: приспособление П-2.
Рис. 10. Приспособление П-2 для регулировки полюсов (контрольный стержень)
09.2. Включить подвижный контакт 6 (см. рис. 2) до конца в неподвижный розеточный контакт 24.
09.3. Вытянуть подвижный контакт 6 из розеточного контакта 24 через динамометр. Втягивающее усилие, замеренное при недоходе до мертвой точки на 10 мм, не должно превышать 20 кгс.
Оснастка: динамометр 5 - 50 кгс, линейка, карандаш.
09.4. Повторить переходы 1 - 3 для двух других фаз.
09.5. Замерить поочередно в фазах недоходы направляющих колодок 13 до верхнего крайнего (мертвого) положения, которые должны быть не менее 4 мм, и соединить в таком положении изоляционные тяги с рычагами фаз осями.
Оснастка: рычаг ручного включения, линейка, карандаш.
09.6. Собрать электрическую схему согласно рис. 11.
Рис. 11. Схема проверки замыкания контактов (трехламповая схема)
09.7. Проверить разброс касания подвижных контактов 6 (см. рис. 2) с розеточными контактами 24, для чего при медленном включении выключателя на контрольных стержнях приспособления П-2 нанести поочередно риски в момент соприкосновения контактов.
Момент соприкосновения контактов определяется по загоранию сигнальных ламп. Замерить расстояние между крайними рисками, которое не должно превышать 5 мм.
Оснастка: рычаг ручного включения, линейка, карандаш.
09.8. Отрегулировать разброс касания контактов изоляционными тягами путем удлинения или укорочения рабочего плеча.
Оснастка: рычаг ручного включения, линейка, карандаш.
09.9. Проверить ход (60+3-5 мм) подвижных контактов 6 (см. рис. 2) в розеточных контактах 24 аналогично переходу 7 (риски на контрольных стержнях наносятся в момент касания подвижными контактами розеточных контактов и при полном включении выключателя).
09.10. Проверить полный ход подвижных контактов 6, который должен быть 245-5 мм, аналогично переходам 7 и 9 (риски на контрольных стержнях наносятся при отключенном и включенном положениях выключателя).
09.11. Отрегулировать ход подвижных контактов 6 в розеточных контактах и полный ход подвижных контактов путем удлинения или укорочения рабочего плеча изоляционных тяг. При необходимости допускается регулировка изменением угла поворота вала выключателя в пределах 65 ± 2°, для чего поднять или опустить масляный буфер по вертикали, изменяя количество шайб под буфером.
Оснастка: рычаг ручного включения, линейка, карандаш.
09.12. Отсоединить изоляционную тягу от рычага фазы и проверить верхний и нижний недоходы подвижного контакта 6 в фазе, которые должны быть не менее 4 мм. Для этого переместить подвижный контакт в верхнее положение и нанести на контрольном стержне риску. Замерить расстояние между рисками отключенного положения выключателя и верхнего положения подвижного контакта. Нижний недоход проверяется аналогично. Замеряется расстояние между рисками включенного положения выключателя и нижнего положения подвижного контакта.
Оснастка: рычаг ручного включения, линейка, карандаш.
09.13. Соединить изоляционную тягу с рычагом фазы осью.
09.14. Повторить переходы 12 и 13 для двух других фаз.
09.15. Установить на оси шайбы и зашплинтовать.
Оснастка: отвертка, плоскогубцы.
09.16. Разобрать трехламповую схему.
09.17. Вывинтить контрольные стержни.
Примечание. В процессе регулировки включение и отключение выключателя производить только вручную.
ОПЕРАЦИЯ 10
ДЕМОНТАЖ ВАЛА ПРИВОДА
Узел 03. Привод выключателя
Трудозатраты - 0,7 чел.-ч.
Состав звена: электрослесари 2-го разряда - 1 чел., 4-го разряда - 1 чел.
10.1. Расшплинтовать и отсоединить тяги сигнальных блок-контактов КСА-8 23 и указателя положения выключателя 21 от вала выключателя 33 (рис. 12, см. вклейку).
Оснастка: плоскогубцы, отвертка.
Рис. 12. Кинематическая схема привода:
1 - релейный вал; 2 - реле минимального напряжения с выдержкой времени; 3 - электромагнит дистанционного отключения; 4 - электромагнит заводки рабочих пружин; 5 - кнопка ручного отключения; 6 - аварийные блок-контакты БКА; 7 - изоляционная тяга; 8 и 38 - ролики; 9 и 18 - возвратные пружины; 10 - прерыватель; 11 - пружинный буфер; 13 - болт; 13 и 34 - кулачки; 14 - обгонная муфта; 15 - внутренняя обойма; 16 - рама; 17 - рычаг ручной заводки; 19 - вал привода; 20 - корпус барабана; 21 - указатель положения выключателя; 22 - рабочая пружина; 23 - сигнальные блок-контакты КСА-8; 24 - масляный буфер; 25 - крышка барабана; 26 - упор крышки; 27 - резиновый буфер; 28 - диск; 29 - ограничитель вала привода; 30 - полубарабан; 31 - указатель положения привода; 32 - блок-контакты положения пружин БКП; 33 - вал выключателя; 35 - запорное устройство включения; 36 - пружина; 37 - рычаг; 39 - рычаг вала выключателя; 40 - запорное устройство отключения; 41 и 42 - механические блокировки; 43 - тяга; 44 - кнопка ручного включения; 45 - блокировочный контакт; 46 - буферная пружина; 47 - отключающая пружина; 48 - электромагнит дистанционного включения
10.2. Отсоединить кронштейны с блок-контактами положения пружин 4 типа БКП (рис. 13, см. вклейку) и 24 типа КСА-8 от рамы и, отсоединив связку проводов, вывести их из рамы.
Примечание. При проведении ремонтных работ предохранять провода от повреждения.
Оснастка: торцовый ключ, головка 10 мм.
Рис. 13. Пружинный привод выключателя:
1 - указатель положения выключателя; 2 - диск; 3 - указатель положения привода; 4 - блок-контакты положения пружин БКП; 5 - буферная пружина; 6 - отключающая пружина; 7 - рама; 8 - релейный вал; 9 - аварийные блок-контакты БКА; 10 - электромагнит заводки рабочих пружин; 11 - прерыватель; 12 - вал выключателя; 13 - пружинный буфер; 14 - вал привода; 15 и 23 - кулачки; 16 - обгонная муфта; 17 - масляный буфер; 18 - возвратная пружина; 19 - конденсатор; 20, 26, 29 и 38 - тяги; 21 - выпрямитель; 22 - электромагнит дистанционного отключения; 24 - сигнальные блок-контакты типа КСА-8; 25 - устройство включения; 27 - устройство отключения; 28 и 31 - защелки; 30, 32 и 35 - собачки; 33 - электромагнит дистанционного включения; 34 - блокировочный контакт; 36 и 37 - механическая блокировка; 39 - рычаг; 40 - болт заземления
10.3. Включить выключатель (после отсоединения изоляционных тяг).
Зафиксировать включенное положение вала выключателя, установив на собачке 32 (см. рис. 13) приспособление П-5 (рис. 14, а), или ввинтить в раму болт М8 (см. рис. 14, б).
Примечание. При включенном положении выключателя ввинтить в отверстие 2 (см. рис. 14) болт М8 до упора в собачку 3. Отверстие 2 просверлить в раме 1 согласно рис. 14 и нарезать резьбу М8.
Оснастка: гаечный ключ 12×14 мм, рычаг ручного включения.
Рис. 14. Приспособление П-5 (а) и установка болта М8 (б) для фиксации включенного положения выключателя:
1 - рама; 2 - отверстие; 3 - собачка; 4 - релейная планка
10.4. Разогнуть стопорные шайбы, вывинтить болты и снять кулачок 13 (см. рис. 12), разворачивая вал привода 19 рычагом ручной заводки 17.
Оснастка: отвертка, гаечный ключ 17×19 мм, рычаг ручного включения.
Примечание. Болты, крепящие кулачок, удалять поочередно через техническое отверстие в торцовой стенке рамы (рис. 15). При подходе ролика рычага 37 (см. рис. 12) к собачке запорного устройства 35 освободить его, отжав собачку 30 (см. рис. 13).
Рис. 15. Крышки подшипника вала привода и вала выключателя на раме (вид справа):
1 - рама; 2 - корпус подшипника; 3 - болт М12 крепления кулачка; 4 - техническое отверстие в раме; 5 - квадрат на конце вала привода для установки рычага ручного включения
10.5. Вывинтить болты 7, крепящие крышку 8 с барабаном 11 (рис. 16, см. вклейку), снять предварительный натяг с рабочих пружин, разворачивая вал привода.
Рис. 16. Вал привода с барабаном:
1 - подшипник № 60106; 2 - вал; 3 - резиновый буфер; 4 - болт М6; 5 - диск; 6 - колонка; 7 - болт М8; 8 - крышка; 9 - подшипник № 60108; 10 - болт М10; 11 - барабан; 12 и 28 - пружины; 13, 14 и 20 - кольца; 15 и 16 - обоймы; 17 и 26 - ролики; 18 - щека; 19 - внутренняя обойма; 21 - подшипник № 60106; 22 - шайба; 23 - стопорная шайба; 24 - гайка М8; 25 - подшипник № 107; 27 - толкатель; 29 - рычаг
Оснастка: торцовый ключ, головка 12 мм.
Примечания: 1. Переход 5 приводить одновременно с переходом 4. 2. При снятии предварительного натяга соблюдать осторожность.
10.6. Снять возвратные пружины 9 и 18 (см. рис. 12) обгонной муфты.
Оснастка: плоскогубцы, отвертка.
10.7. Отсоединить рычаг обгонной муфты 14 вала привода 19 от электромагнита заводки рабочих пружин 4.
Оснастка: плоскогубцы, отвертка.
10.8. Расшплинтовать и снять с оси запорного устройства отключения 40 пружину 36.
Оснастка: плоскогубцы, отвертка.
10.9. Вывинтить болты 5, снять кронштейн 4 и пружину 7 (рис. 17) пружинного буфера 13 (см. рис. 13).
Оснастка: торцовый ключ, головка 10 мм.
Рис. 17. Пружинный демпфер привода:
1 - рама; 2 - буфер; 3 - гайка М12; 4 - кронштейн; 5 - болт М6; 6 - ушко буфера; 7 - пружина
10.10. Свинтить гайки и снять корпус подшипника 2 вала привода (см. рис. 15) со стороны пружинного буфера 13 (см. рис. 13).
Оснастка: торцовый ключ, головка 14 мм, отвертка, гаечный ключ 12×14 мм.
10.11. Свинтить гайку 3 (см. рис. 17) и, подавая вал вправо, снять буфер 2.
Оснастка: торцовый ключ, головка 24 мм.
10.12. Снять вал привода 19 (см. рис. 12) с рамы 16 выключателя.
Оснастка: рычаг ручного включения.
10.13. Снять приспособление П-5 и отключить выключатель.
Оснастка: гаечный ключ 12×14 мм, рычаг ручного включения.
ОПЕРАЦИЯ 11
РАЗБОРКА ВАЛА ПРИВОДА С БАРАБАНОМ
Узел 03. Привод выключателя
Трудозатраты - 0,3 чел.-ч.
Состав звена: электрослесарь 4-го разряда - 1 чел.
11.1. Установить вал привода в приспособление П-7 (рис. 18) и закрепить.
Оснастка: приспособление П-7.
Рис. 18. Приспособление П-7 для сборки вала привода с барабаном:
1 - отверстие
диаметром 12 мм под болт М10; 2 - пруток круглый
; 3 - труба 50×5 - 20 ГОСТ 8734-58-А; 4 - лист
; 5 - уголок равнобокий
; 6 - отверстие диаметром 12 мм под болт М10 для
шарнирного соединения
11.2. Снять подшипник 21 (см. рис. 16).
Оснастка: съемник.
11.3. Свинтить гайки 24 и снять с вала поочередно щеку 18, шайбу 22 и кольцо 20.
Оснастка: торцовый ключ, головка 14 мм.
11.4. Снять поочередно наружные обоймы 16 и 15, ролики 17, толкатели 27 с пружинами 28 (см. рис. 16).
11.5. Снять стопорную шайбу 23.
Оснастка: круглогубцы.
11.6. Ослабить крепление вала в приспособлении П-7 и, поддерживая корпус барабана 11 на весу, выбить подшипник 25 с шейки вала 2.
Оснастка: молоток, выколотка.
11.7. Снять с вала барабан 11 с внутренней обоймой 19 и подшипником 25. Выбить подшипник 25 с обоймой 19.
Оснастка: молоток, выколотка.
11.8. Снять с вала 2 поочередно кольца 14 и 13, пружины 12.
11.9. Снять с подшипника 9 крышку 8 с диском 5. Снять резиновый буфер 3.
Оснастка: молоток, выколотка.
11.10. Снять вал 2 с приспособления П-7.
ОПЕРАЦИЯ 12
ВЫЯВЛЕНИЕ ДЕФЕКТОВ ДЕТАЛЕЙ ВАЛА ПРИВОДА С БАРАБАНОМ
Узел 03. Привод выключателя
Трудозатраты - 0,4 чел.-ч.
Состав звена: электрослесарь 4-го разряда - 1 чел.
12.1. Осмотреть резиновый буфер 3 (см. рис. 16). При наличии трещин, срезов или потере упругости буфер заменить.
12.2. Промыть бензином и осмотреть рабочие пружины 12. При наличии трещин, сколов, надломов заменить.
Оснастка: ветошь.
12.3. Промыть и осмотреть кольца 14 и 13. При наличии задиров и вмятин заменить.
Оснастка: ветошь.
12.4. Протереть и осмотреть крышку 8. Проверить качество сварки и состояние упоров.
Оснастка: ветошь.
12.5. Промыть бензином, протереть и осмотреть барабан 11, собранный с внутренней обоймой 19. Проверить состояние упора и его крепление, подтянуть болты 10.
Проверить состояние рабочей поверхности внутренней обоймы. Наличие коррозии и наклепа не допускается.
Оснастка: гаечный ключ 12×14 мм, ветошь.
12.6. Промыть бензином и осмотреть наружные обоймы 15, 16 и ролики 17. Наличие коррозии, наклепа и изменение овальности не допускается.
Оснастка: ветошь.
12.7. Промыть бензином и осмотреть толкатели 27 с пружинами 28. При обнаружении дефекта заменить.
Оснастка: ветошь.
12.8. Промыть бензином и осмотреть подшипники 21 и 25. Заменить при обнаружении следующих дефектов:
а) отпечатков шариков на дорожках качения;
б) сколов и трещин любых размеров;
в) выкрашивания или шелушения поверхностного слоя дорожек;
г) надломов, сквозных трещин на сепараторе;
д) забоин и вмятин, препятствующих плавному и легкому вращению подшипника.
Оснастка: ветошь.
12.9. Промыть бензином и осмотреть вал 2 с роликом 26 и подшипниками 9 и 1.
Проверить качество приварки рычагов, диска с упором для резинового буфера 3. Проверить состояние рабочей поверхности рычагов и ролика 26; наличие вмятин, задиров и сколов не допускается.
Проверить легкость вращения ролика; заеданий и затираний не допускается.
Проверить состояние подшипников 1 и 9. Определение дефектов произвести согласно переходу 8.
Оснастка: ветошь.
12.10. Зачистить на деталях вала привода места, покрытые ржавчиной, и восстановить окраску.
Оснастка: шлифовальная шкурка, кисть.
Примечание. При подкрашивании следить, чтобы краска не попала на трущиеся поверхности и детали, имеющие гальванические покрытия.
ОПЕРАЦИЯ 13
СБОРКА ВАЛА ПРИВОДА С БАРАБАНОМ
Узел 03. Привод выключателя
Трудозатраты - 0,5 чел.-ч.
Состав звена: электрослесарь 4-го разряда - 1 чел.
13.1. Установить вал 2 (см. рис. 16) в приспособление П-7 (рис. 18) и закрепить.
Оснастка: приспособление П-7.
13.2. Установить на вал буфер 3 (см. рис. 16) и крышку 8 с диском 5, предварительно смазав отверстие крышки тонким слоем смазки ЦИАТИМ-203 (ЦИАТИМ-221).
Обратить внимание на положение буфера 3 между упорами вала и крышки (см. разрез А - А).
Оснастка: молоток, кисть.
13.3. Установить на валу 2 поочередно кольца 14 и 13 и пружины 12.
Примечания: 1. Пружины установить на вал навивом против часовой стрелки. 2. Пружины при сборке смазать смазкой ЦИАТИМ-203 (ЦИАТИМ-221), смешанной с графитом П в отношении 10:1 по весу.
Оснастка: кисть.
13.4. Установить на вал барабан 11 с внутренней обоймой 19.
13.5. Напрессовать на вал подшипник 25 до упора, предварительно смазав шейку вала смазкой ЦИАТИМ-203 (ЦИАТИМ-221).
Оснастка: молоток, выколотка, кисть.
13.6. Надеть на вал стопорную шайбу 23, установить кольцо 20 и шайбу 22.
Оснастка: круглогубцы.
13.7. Смазать наружную (внутреннюю) поверхность обоймы 19 и торцовую поверхность барабана 11 смазкой ЦИАТИМ-203 (ЦИАТИМ-221).
Оснастка: кисть.
13.8. Установить в нижние отверстия внутренней обоймы пружины 28 и толкатели 27 с помощью приспособления П-8 (рис. 19, а), предварительно смазав их смазкой ЦИАТИМ-203 (ЦИАТИМ-221).
Примечание. При установке толкателей первый виток пружин, опирающийся на плоскость диаметром 6 C4, обжать до диаметра 3 C4 (рис. 19, б).
Оснастка: плоскогубцы, кисть.
Рис. 19. Приспособление П-8 для установки толкателя:
а - приспособление П-8; б - толкатель
13.9. Установить на барабан 11 (см. рис. 16) обойму 15 и ролики 17, предварительно смазав торцовые и внутренние поверхности обоймы смазкой ЦИАТИМ-203 (ЦИАТИМ-221).
Примечание. При установке роликов 17 поджать толкатели 27 и провернуть одновременно обойму 15.
Оснастка: приспособление П-8, кисть.
13.10. Установить обойму 16 с толкателями 27, пружинами 28 и роликами 17 аналогично установке обоймы 15 согласно переходам 9 и 10.
13.11. Установить на обойму щеку 18 и затянуть гайки 24.
Оснастка: торцовый ключ, головка 14 мм.
Примечание. Деку ставить шлифованной плоскостью к обоймам.
13.12. Проверить перемещение наружных обойм 15 и 16 одна относительно другой, а также относительно внутренней обоймы 19, которое должно проходить легко, без заеданий.
13.13. Проверить зазор между щекой 18 и обоймой 16, который должен быть равен 0,3 - 0,9 мм.
13.14. Напрессовать на вал 2 подшипник 21 до упора, предварительно смазав шейку вала смазкой ЦИАТИМ-203 (ЦИАТИМ-221).
Оснастка; молоток, выколотка.
13.15. Смазать подшипники 1 и 21 смазкой ЦИАТИМ-203 (ЦИАТИМ-221).
Оснастка: кисть.
13.16. Снять вал привода с приспособления.
ОПЕРАЦИЯ 14
РЕМОНТ ОТКЛЮЧАЮЩИХ ПРУЖИН
Узел 03. Привод выключателя
Трудозатраты - 0,4 чел.-ч.
Состав звена: электрослесарь 2-го разряда - 1 чел.
14.1. Свинтить гайки 1 (рис. 20) и снять предварительный натяг отключающих пружин.
Рис. 20. Отключающие пружины:
1 и 2 - гайки; 3 - ушки; 4 и 7 - оси; 5 - пружинодержатель; 6 - пружины; 8 - рычаг; 9 - втулка
Оснастка: гаечный ключ 17×19 мм, линейка.
Примечание. При отсутствии заводских бирок с данными о величине предварительного натяга замерить расстояние A между осями 4 и 7.
14.2. Проверить, нет ли повреждений в пружинах 6 (трещины), пружинодержателях 5, ушках 3, гайках 1 и 2 (качество резьбы).
Повреждению детали заменить согласно переходам 4 - 7.
14.3. Очистить пружины 6 от пыли, грязи и старой смазки.
Оснастка: ветошь.
14.4. Расшплинтовать и удалить ось 7, отсоединить пружины с пружинодержателями от рычага вала выключателя.
Оснастка: плоскогубцы, отвертка.
14.5. Расшплинтовать и удалить ось 4, снять ушко 3.
Оснастка: плоскогубцы, отвертка.
14.6. Снять с пружины 6 пружинодержатель 5.
Оснастка: тиски, молоток, зубило.
14.7. Собрать пружины с пружинодержателями и ушком в обратной последовательности согласно переходам 6 и 5.
Примечание. Проверить вращение ушка и пружинодержателя относительно оси 4, затирание не допускается.
14.8. Трущиеся части отключающих пружин смазать смазкой ЦИАТИМ-203 (ЦИАТИМ-221).
Оснастка: кисть.
ОПЕРАЦИЯ 15
РЕМОНТ БУФЕРНОЙ ПРУЖИНЫ
Узел 03. Привод выключателя
Трудозатраты - 0,35 чел.-ч.
Состав звена: электрослесарь 2-го разряда - 1 чел.
15.1. Проверить целостность всех деталей буфера: пружины 5 (рис. 21), планок 7, шайб и шплинтов. Без необходимости буфер не разбирать. Замену поврежденных деталей буфера произвести согласно переходам 4 - 7.
15.2. Замерить свободный ход буферной пружины.
Оснастка: линейка.
15.3. Снять буферную пружину с рамы и вала выключателя.
Оснастка: гаечный ключ 17×19 мм, отвертка, плоскогубцы.
15.4. Установить буферную пружину в приспособление П-6 (см. рис. 21).
Оснастка: приспособление П-6, гаечный ключ 12×14 мм.
Рис. 21. Приспособление П-6 для съема пружины и планок пружинного буфера:
1 - шпилька; 2 - гайка; 3 - ось; 4 - стойка; 5 - пружина; 6 - ось; 7 - планка
15.5. Вынуть шплинты и освободить планку 7, вынув оси 3 и 6.
Оснастка: отвертка, плоскогубцы.
15.6. Свинтить гайку 2, отпустив пружину 5 до полного сжатия.
Оснастка: гаечный ключ 12×14 мм.
Собрать буферную пружину согласно переходам 7 - 4.
15.7. Восстановить свободный ход буферной пружины.
Оснастка: линейка, гаечный ключ 17×19 мм.
Примечание. При разборке и сборке буферной пружины соблюдать осторожность ввиду большого предварительного натяга буферной пружины.
ОПЕРАЦИЯ 16
РЕМОНТ ВАЛА ВЫКЛЮЧАТЕЛЯ
Узел 03. Привод выключателя
Трудозатраты - 0,7 чел.-ч.
Состав звена: электрослесари 2-го разряда - 1 чел., 4-го разряда - 1 чел.
16.1. Расшплинтовать и отсоединить тяги, связывающие вал выключателя с узлами выключателя (механической блокировкой 37 и блок-контактами БКА 9 согласно рис. 13, реле минимального напряжения 2 согласно рис. 12).
Оснастка: плоскогубцы, отвертка.
16.2. Расшплинтовать, удалить ось и отсоединить тягу 26 от защелки 28 кнопки «Вкл.» (см. рис. 13).
Оснастка: плоскогубцы, отвертка.
16.3. Свинтить гайки 2 и снять с правой стороны рамы корпус подшипника 3 (рис. 22)
Оснастка: торцовый ключ, головка 14 мм, гаечный ключ 12×14 мм.
Рис. 22. Вал выключателя:
1 - рама; 2 - гайка; 3 и 5 - подшипники; 4 - вал выключателя; 6 - 8 - ролики
16.4. Снять вал выключателя 4 с рамы 1.
Оснастка: приспособление, молоток.
16.5. Очистить вал от пыли, грязи, ржавчины, старой смазки. Проверить качество приварки рычагов, отсутствие задиров, сколов и вмятин на рабочей поверхности рычагов и роликов; легкость вращения роликов 6, 7 и 8 (заедания и затирания не допускаются).
Обнаруженные дефекты устранить, дефектные детали при необходимости заменить.
16.6. Промыть бензином установленные на концах вала подшипники 5 и определить их дефекты в соответствии с переходом 8 операции 12.
Оснастка: ветошь.
16.7. Зачистить места, покрытые ржавчиной, и восстановить окраску.
Оснастка: шлифовальная шкурка.
16.8. Смазать оси роликов и подшипники смазкой ЦИАТИМ-203 (ЦИАТИМ-221).
Оснастка: кисть.
ОПЕРАЦИЯ 17
РЕМОНТ МАСЛЯНОГО БУФЕРА
Узел 03. Привод выключателя
Трудозатраты - 0,4 чел.-ч.
Состав звена: электрослесарь 2-го разряда - 1 чел.
17.1. Осмотреть масляный буфер. При значительных выплесках масла необходимо заменить уплотнение 2 (рис. 23).
Рис. 23. Масляный буфер:
1 - шток; 2 - уплотнение; 3 - прокладка; 4 - специальная гайка; 5 - стакан; 6 - поршень; 7 - пружина
17.2. Нажать рукой на шток 1 и опустить его вниз. Отпустить шток, под воздействием пружины 7 шток должен возвратиться в исходное положение. Если шток не возвращается в исходное положение, необходимо разобрать буфер согласно переходам 3 - 4.
17.3. Свинтить специальную гайку 4.
Оснастка: гаечный ключ 41 мм.
17.4. Вынуть шток 1, поршень 6, пружину 7, уплотнение 2.
17.5. Осмотреть детали масляного буфера. Дефектные детали заменить.
17.6. Промыть детали буфера в трансформаторном масле.
17.7. Смазать наружную поверхность поршня 6 тонким слоем смазки ЦИАТИМ-203 (ЦИАТИМ-221).
17.8. Установить пружину 7 и поршень 6 в стакан 5.
17.9. Проверить перемещение поршня 6 в стакане 5 (заеданий не должно быть).
17.10. Залить в стакан 5 трансформаторное масло (70 см3).
Оснастка: мерный стакан.
17.11. Установить шток 1 в специальную гайку 4.
17.12. Завернуть специальную гайку 4 со штоком 1 в стакан 5 до отказа.
Оснастка: гаечный ключ 41 мм.
17.13. Проверить работу масляного буфера согласно переходу 2.
ОПЕРАЦИЯ 18
ОСМОТР И РЕМОНТ ЗАПОРНЫХ УСТРОЙСТВ ВКЛЮЧЕНИЯ И ОТКЛЮЧЕНИЯ
Узел 03. Привод выключателя
Трудозатраты - 0,6 чел.-ч
Состав звена: электрослесарь 4-го разряда - 1 чел.
18.1. Расшплинтовать и снять с оси 2 запорного устройства включения (рис. 24) пружину 15 (рис. 25).
Оснастка: плоскогубцы, отвертка.
Рис. 24. Запорное устройство включения:
1 и 13 - ролики; 2, 6 и 19 - оси; 3 и 7 - пружины; 4 - собачка; 5 и 8 - тяги; 9 - рычаг; 10 - скоба; 11, 15, 17 и 20 - шайба; 12, 18 и 21 - шплинты; 14 - гайка М10; 16 - поводок
18.2. Расшплинтовать, удалить ось и отсоединить тягу 29 (см. рис. 13) от защелки 31.
Оснастка: плоскогубцы, отвертка.
18.3. Расшплинтовать и снять с оси 5 узел запорного устройства отключения (см. рис. 25).
Оснастка: плоскогубцы, отвертка.

Рис. 25. Запорное устройство отключения:
1 - тяга; 2 - пластина; 3 и 5 - оси; 4 - скоба; 6 - поводок; 7 - гайка М10; 8 и 12 - шайбы; 9 и 10 - ролики; 11 - шплинт; 13 и 15 - дружины; 14 - собачка
18.4. Расшплинтовать и снять с осей 2 и 19 (рис. 24) узел устройства включения с рычагом 9, тягой 5 и пружиной 7.
Оснастка: отвертка, плоскогубцы.
18.5. Очистить от пыли, грязи и старой смазки узлы запорных устройств включения и отключения.
Оснастка: ветошь.
18.6. Осмотреть детали узлов и проверить, нет ли на собачках 4 (см. рис. 24) и 14 (см. рис. 25) и роликах 13 (см. рис. 24), 9 и 10 (см. рис. 25) задиров, сколов, вмятин и трещин; на пружинах 3 (см. рис. 24), 13 (см. рис. 25) трещин; заеданий и затираний при вращении роликов; перемещения деталей относительно осей.
Обнаруженные дефекты устранить, дефектные детали заменить.
18.7. Проверить состояние (отсутствие задиров) осей 2, 19 (см. рис. 24) и 5 (см. рис. 25), их крепление в раме (подтянуть гайки).
Оснастка: гаечный ключ 22×24 мм, гаечный ключ 30×32 мм, разводной ключ № 1, кисть.
18.8. Надеть на оси 2 и 19 (см. рис. 24) узел запорного устройства включения с рычагом 9 и зашплинтовать, предварительно смазав все трущиеся детали смазкой ЦИАТИМ-203 (ЦИАТИМ-221).
Оснастка: молоток, круглогубцы, отвертка, кисть.
18.9. Надеть на ось 5 (см. рис. 25) узел запорного устройства отключения и зашплинтовать, предварительно смазав все трущиеся детали смазкой ЦИАТИМ-203 (ЦИАТИМ-221).
Оснастка: молоток, плоскогубцы, отвертка, кисть.
18.10. Проверить перемещение узлов запорных устройств отключения и включения относительно осей. Заеданий и затираний не допускается.
18.11. Установить пружину 15 (см. рис. 25) запорного устройства заключения на ось 2 (см. рис. 24) запорного устройства включения и зашплинтовать.
Оснастка: плоскогубцы, отвертка.
18.12. Соединить тягу 29 с защелкой 31 (см. рис. 13) и осью и зашплинтовать, предварительно смазав ось тонким слоем смазки ЦИАТИМ-203 (ЦИАТИМ-221).
Оснастка: плоскогубцы, отвертка, кисть.
ОПЕРАЦИЯ 19
ОСМОТР И РЕМОНТ МЕХАНИЗМОВ КНОПКИ «ВКЛ.» И КНОПКИ «ОТКЛ.»
Узел 03. Привод выключателя
Трудозатраты - 0,4 чел.-ч.
Состав звена: электрослесарь 4-го разряда - 1 чел.
19.1. Очистить от пыли, грязи и старой смазки механизм кнопки «Вкл.» с механической блокировкой 36 и 37 (см. рис. 13) и механизм кнопки «Откл.» с валом 8 (см. рис. 13), на который воздействуют реле.
Оснастка: ветошь.
19.2. Осмотреть механизм и проверить:
- на отсутствие заеданий при движении штоков и тяг;
- действие пружин на кнопках «Вкл.» и «Откл.» и механической блокировки;
- состояние рабочих кромок на собачках 30 и 32 (см. рис. 13) и защелках 28 и 31 (задиры, сколы и вмятины не допускаются) и их легкость вращения относительно осей. Заеданий и затираний не допускается.
Обнаруженные дефекты устранить, дефектные детали заменить.
19.3. Проверить вращение вала 8 в осях. Вал должен вращаться без заеданий и затираний. При необходимости регулировку вращения вала 8 производить ввинчиванием и вывинчиванием винтов-осей.
Примечание. По окончании регулировки винты-оси стопорить гайкой.
Оснастка: отвертка, гаечный ключ 12×14 мм, гаечный ключ 10×12 мм, гаечный ключ 12×14 мм, плоскогубцы.
19.4. Проверить состояние крепежа механизмов.
Оснастка: отвертка.
19.5. Смазать трущиеся поверхности деталей механизмов смазкой ЦИАТИМ-203 (ЦИАТИМ-221).
Оснастка: кисть.
ОПЕРАЦИЯ 20
РЕМОНТ ЭЛЕКТРОМАГНИТОВ ДИСТАНЦИОННОГО ВКЛЮЧЕНИЯ И ОТКЛЮЧЕНИЯ
Узел 03. Привод выключателя
Трудозатраты - 0,4 чел.-ч.
Состав звена: электромонтер 4-го разряда - 1 чел.
20.1. Проверить легкость хода сердечников 8 (рис. 26) и 5 (рис. 27) и штока 10 (см. рис. 26). Заедания не допускаются.
Рис. 26. Электромагнит дистанционного отключения ЭО:
1 - магнитопровод; 2 - катушка; 3 - шайба; 4 - каркас; 5 - гильза; 6 - колодка; 7 - тяга; 8 - сердечник; 9 - контактный ряд; 10 - шток; 11 - контрполюс
Рис. 27. Электромагнит дистанционного включения:
1 - магнитопровод; 2 - обмотка; 3 - контрполюс; 4 - каркас; 5 - сердечник; 6 - колодка; 7 - тяга; 8 - гильза; 9 - контактный ряд
20.2. Проверить величину хода указанных сердечников до контрполюсов 11 (см. рис. 26) и 3 (см. рис. 27).
Обмоточные данные катушки ЭО
|
Род тока |
Номинальное напряжение, В |
Кол-во витков катушки |
Данные провода |
Сопротивление (Ом) при постоянном токе |
|
|
Марка |
Диаметр, мм |
||||
|
Постоянный |
24 |
870 |
ПЭЛ |
0,8 |
3,7 |
|
48 |
850 |
ПЭЛ |
0,35 |
14,9 |
|
|
110 |
1870 |
ПЭЛ |
0,29 |
51,0 |
|
|
220 |
1870 |
ПЭЛ |
0,29 |
51,0 |
|
|
Переменный |
100 |
850 |
ПЭЛ |
0,57 |
7,33 |
|
127 |
1100 |
ПЭЛ |
0,38 |
18,0 |
|
|
220 |
1870 |
ПЭЛ |
0,29 |
51,0 |
|
При несоответствии параметров произвести регулировку согласно переходу 3.
Оснастка: линейка, карандаш.
20.3. Отсоединить тяги 7 (см. рис. 26), ослабить гайки и ввинчиванием или вывинчиванием тяги в сердечнике 8 отрегулировать ход сердечника. После регулировки тяги застопорить гайками. При необходимости (после измерений параметров катушки) замену катушки 2 на электромагните отключения произвести согласно переходам 4 - 5.
Оснастка: плоскогубцы, отвертка, гаечный ключ 7×8 мм, линейка, карандаш.
20.4. Вывинтить винты и снять колодку 6 с сердечником 8 и штоком 10, гильзу 5 и контрполюс 11.
Оснастка: отвертка В.
20.5. Отсоединить концы катушки от контактного ряда 9 и снять катушку с магнитопровода 1. Установку катушки и сборку электромагнита отключения вести в обратной последовательности согласно переходам 5 - 4. Регулировка хода сердечника и замена катушки электромагнита включения производятся аналогично переходам 3 - 5 согласно рис. 27.
Примечания: 1. Вертикальное перемещение катушки ликвидировать путем установки шайб из электрокартона. 2. Зазор между магнитопроводом и контрполюсом недопустим. При необходимости зазор ликвидировать путем установки под гильзу или винты колодки шайб.
ОПЕРАЦИЯ 21
РЕМОНТ ЭЛЕКТРОМАГНИТА ЗАВОДКИ
Узел 03. Привод выключателя
Трудозатраты - 0,3 чел.-ч.
Состав звена: электрослесарь 2-го разряда - 1 чел.
21.1. Разогнуть стопорную планку, свинтить гайки и снять ограничитель хода сердечника 9 и сердечник 10 (рис. 28).
Оснастка: отвертка, гаечный ключ 12×14 мм.
Рис. 28. Электромагнит заводки рабочих пружин:
1 - обмотка; 2 - каркас; 3 - магнитопровод; 4 - контрполюс; 5 - гильза; 6 - рычаг; 7 - упор; 8 - серьга; 9 - ограничитель хода сердечника; 10 - сердечник; 11 - гайка М12; 12 - сланец
21.2. Очистить поверхность сердечника 10 и гильзы 5 от пыли и старой смазки.
Оснастка: ветошь.
21.3. Смазать поверхность сердечника и гильзы тонким слоем смазки ЦИАТИМ-203 (ЦИАТИМ-221), смешанной с графитом П ГОСТ 8295-57 в отношении 10:1 (10 % по весу).
Оснастка: кисть.
21.4. Установить сердечник 10 в гильзу 5 и проверить, нет ли заеданий при движении сердечника.
21.5. Установить на колонки ограничитель хода сердечника 9, стопорную планку и навинтить гайки.
21.6. Затянуть гайки равномерно до сжатия прокладки на ограничителе хода на 0,4 мм по толщине и застопорить планками.
При необходимости по результатам измерений замену катушки произвести согласно переходам 7 - 9.
Оснастка: гаечный ключ 12×14 мм, штангенциркуль, отвертка.
21.7. Свинтить гайки 11, вывинтить болты, крепящие фланец 12 к раме, и снять его.
Оснастка: гаечный ключ 17×19 мм, торцовый ключ, головка 12 мм.
21.8. Отсоединить провода катушки от зажимов 38, 39 (рис. 29, б) и снять ее.
Оснастка: отвертка.
Рис. 29. Принципиальная схема соединений цепей управления и блокировки привода:
а - схема питания ЭЗ от источника постоянного тока; б - схема питания ЭЗ от источника переменного тока; в - схема соединения цепей блокировок и защиты; ЭЗ - электромагнит заводки рабочих пружин; К - конденсатор; П - прерыватель; ЭВ - электромагнит дистанционного включения; ЭО - электромагнит дистанционного отключения; КСА-8 - сигнальные блок-контакты; БКП - блок-контакты положения пружин; БКА - аварийные блок-контакты; БКБ - блокировочный контакт; РТВ - реле максимального тока с выдержкой времени; РТМ - реле максимального тока мгновенного действия; РНВ - реле минимального напряжения с выдержкой времени; ЭОн.л - электромагнит отключения с питанием от независимого источника оперативного тока; ЭОт.т - токовый электромагнит отключения с питанием от быстронасыщающегося трансформатора тока
21.9. Сборку произвести в обратной последовательности согласно переходам 9 - 7.
Примечание. При сборке возможные осевые перемещения катушки ликвидировать путем установки шайб на электрокартоне.
ОПЕРАЦИЯ 22
УСТАНОВКА ВАЛА ВЫКЛЮЧАТЕЛЯ
Узел 03. Привод выключателя
Трудозатраты - 0,6 чел.-ч.
Состав вреда: электрослесари 2-го разряда - 1 чел., 4-го разряда - 1 чел.
22.1. Смазать внутреннюю поверхность корпусов подшипников смазкой ЦИАТИМ-203 (ЦИАТИМ-221).
Оснастка: кисть.
22.2. Установить в раму привода вал выключателя 4 (см. рис. 22).
Оснастка: молоток.
22.3. Подать вал влево до полной посадки подшипника в корпус и установить корпус подшипника 3 (см. рис. 22) с правой стороны.
Оснастка: молоток.
22.4. Совместить отверстия корпуса с отверстиями рамы и прикрепить его к раме.
Оснастка: торцовый ключ, головка 14 мм, гаечный ключ 12×14 мм.
22.5. Проверить вращение вала. Заедания и затирания не допускаются.
ОПЕРАЦИЯ 23
РЕГУЛИРОВКА ОТКЛЮЧЕННОГО ПОЛОЖЕНИЯ ВАЛА ВЫКЛЮЧАТЕЛЯ
Узел 03. Привод выключателя
Трудозатраты - 0,4 чел.-ч.
Состав звена: электрослесари 2-го разряда - 1 чел., 4-го разряда - 1 чел.
23.1. Установить вал выключателя в отключенное положение с помощью шаблона (рис. 30).
Оснастка: приспособление П-4.
Рис. 30. Приспособление П-4 для установки вала выключателя в отключенное положение:
1 - вал выключателя; 2 - ось рычага диаметром 18 мм
23.2. Установить масляный буфер 3 в кронштейн 5 и зафиксировать отключенное положение вала, при этом шток 2 буфера должен быть утоплен роликом 1 вала выключателя до упора (рис. 31).
Рис. 31. Масляный демпфер:
1 - рычаг с роликом; 2 - шток; 3 - масляный буфер; 4 - регулировочные шайбы; 5 - кронштейн
Регулировка отключенного положения вала выключателя производится путем съема или установки регулировочных шайб 4 на масляном буфере.
Оснастка: линейка.
23.3. Замерить ход штока при включенном положении вала, который должен быть равен 21 мм.
Оснастка: линейка.
23.4. Установить на место и зашплинтовать тяги, связывающие вал выключателя с механической блокировкой 37 (см. рис. 13) реле минимального напряжения 2 (см. рис. 12) и тягу 20 (см. рис. 13) связи с блок-контактами БКА 9.
Оснастка: плоскогубцы, отвертка.
23.5. Соединить осью заделку 28 с тягой 26 (см. рис. 13), предварительно смазав ось тонким слоем смазки ЦИАТИМ-203 (ЦИАТИМ-221).
Оснастка; плоскогубцы, отвертка.
Примечание. Ось шплинтовать после окончания регулировки узлов привода.
ОПЕРАЦИЯ 24
УСТАНОВКА БУФЕРНОЙ И ОТКЛЮЧАЮЩИХ ПРУЖИН
Узел 03. Привод выключателя
Трудозатраты - 0,5 чел.-ч.
Состав звена: электрослесарь 4-го разряда - 1 чел.
24.1. Соединить буферную пружину с рычагами вала выключателя с помощью оси 9 (предварительно смазав ее смазкой), установив между рычагами вала и пружинодержателем 8 втулки 10 согласно рис. 32.
Оснастка: ось 12×5, втулки, кисть.
Рис. 32. Пружинный буфер выключателя:
1 и 3 - гайки; 2 - рама; 4 - ушко; 5 - ось ушка; 6 и 8 - пружинодержатели; 7 - пружина; 9 - ось рычага; 10 - втулка
24.2. Надеть на ось с двух сторон шайбы и зашплинтовать. Концы шплинтов обогнуть по периметру.
Оснастка: плоскогубцы, отвертка.
24.3. Соединить отключающие пружины с рычагами 8 вала с помощью оси 7 (предварительно смазав ее смазкой), установив между пружинодержателями пружин втулку 9 согласно рис. 20.
Оснастка: кисть, плоскогубцы, отвертка.
24.4. Надеть на ось 7 с двух сторон шайбы и зашплинтовать. Концы шплинтов обогнуть по оси.
Оснастка: плоскогубцы, молоток.
24.5. Навинтить на ушки отключающих и буферной пружин гайки 2 и 3 (см. рис. 32) и установить ушки в отверстия рамы 2 согласно рис. 20 и 32.
Оснастка: гаечный ключ 17×19 мм.
24.6. Установить на ушки 3 и 4 шайбы и навинтить гайки 1 (см. рис. 20 и 32).
Оснастка: гаечный ключ 17×19 мм.
24.7. Затянуть гайки на ушках 3 (см. рис. 20) отключающих пружин, установив их по предварительному натягу, указанному на бирках, или по ранее сделанным замерам (см. операцию 14).
Оснастка: гаечный ключ 17×19 мм.
24.8. Затянуть гайки на ушке 4 (рис. 32) буфера, обеспечив ход буфера согласно данным на бирке или по ранее сделанным замерам (см. операцию 15).
Оснастка: гаечный ключ 17×19 мм.
ОПЕРАЦИЯ 25
УСТАНОВКА ВАЛА ПРИВОДА С БАРАБАНОМ
Узел 03. Привод выключателя
Трудозатраты - 1,0 чел.-ч.
Состав звена: электрослесари 2-го разряда - 1 чел., 4-го разряда - 1 чел.
25.1. Установить вал выключателя во включенное положение и зафиксировать с помощью приспособления П-5 (см. рис. 14).
Оснастка: рычаг ручного включения, гаечный ключ 12×14 мм, приспособление П-5.
25.2. Установить дал привода в раму, предварительно смазав внутреннюю поверхность корпуса подшипников с левой стороны смазкой ЦИАТИМ-203 (ЦИАТИМ-221).
Оснастка: кисть.
25.3. Установить буфер 2 (см. рис. 17) в отверстие рамы 1, надеть шайбы и навинтить гайку 3. Надеть на ушко буфера 6 пружину 7 и установить кронштейн 4. Прикрепить кронштейн к раме болтами 5. Затянуть гайку 3 до отказа. Трущиеся детали смазать смазкой ЦИАТИМ-203 (ЦИАТИМ-221).
Оснастка: торцовый ключ, головка 10 мм, головка 24 мм, гаечный ключ 22×24 мм, кисть.
25.4. Подать вал привода влево до полной посадки подшипника в корпус и установить корпус с подшипником с правой стороны, предварительно смазав внутреннюю поверхность смазкой ЦИАТИМ-203 (ЦИАТИМ-221). Плотно прижать корпус к стенке рамы и проверить продольное перемещение вала, которое не должно превышать 1 мм. При необходимости люфт ликвидировать установкой прокладки на конце вала с правой стороны.
Оснастка: щуп, кисть.
25.5. Совместить отверстия корпуса с отверстиями рамы и прикрепить его к раме с помощью крепежа.
Оснастка: отвертка; торцовый ключ, головка 14 мм, гаечный ключ 12×14 мм.
25.6. Проверить вращение вала привода. Заедания и затирания не допускаются.
Оснастка: рычаг ручного включения.
25.7. Установить на ось запорного устройства отключения 40 пружину 36 (см. рис. 12) и зашплинтовать.
Оснастка: плоскогубцы, отвертка.
ОПЕРАЦИЯ 26
ВОССТАНОВЛЕНИЕ ПРЕДВАРИТЕЛЬНОГО НАТЯГА РАБОЧИХ ПРУЖИН
Узел 03. Привод выключателя
Трудозатраты - 0,7 чел.-ч.
Состав звена: электрослесари 2-го разряда - 1 чел., 4-го разряда - 1 чел.
26.1. Установить вал привода 19 (см. рис. 12) роликом рычага 37 на собачку запорного механизма включения 35 (см. рис. 13).
Оснастка: рычаг ручного включения.
26.2. Повернуть крышку 8 ограничительной пластиной до упора в резиновый буфер 3 (см. разрез А - А рис. 16).
26.3. Рычагом электромагнитной заводки 29 повернуть барабан 11 на 105 ± 15°.
Примечание. Предварительный натяг регулируется ступенчато через каждые 15° и отсчитывается по совмещению отверстий крыши 8 и барабана 11.
Оснастка: рычаг ручного включения.
26.4. Скрепить барабан 11 с крышкой 8 жестью болтами 7.
Оснастка: торцовый ключ, головка 14 мм; рычаг ручного включения.
26.5. Снять приспособление П-5 и отключить выключатель.
ОПЕРАЦИЯ 27
ОКОНЧАТЕЛЬНАЯ СБОРКА ПРИВОДА
Узел 03. Привод выключателя
Трудозатраты - 0,5 чел.-ч.
Состав звена: электрослесари 2-го разряда - 1 чел., 4-го разряда - 1 чел.
27.1. Установить на валу привода кулачок 13 (см. рис. 12).
Оснастка: гаечный ключ 17×19 мм.
Примечание. Зуб кулачка должен находиться при установке в одной плоскости с роликом рычага 37 (см. рис. 12).
27.2. Установить на раме кронштейн с блок-контактами БКП и КСА-8 (см. рис. 13). Уложить связку проводов на раме и закрепить ее хомутами.
Оснастка: торцовый ключ, головка 10 мм, плоскогубцы, отвертка.
27.3. Соединить рычаг обгонной муфты 14 (см. рис. 12) с электромагнитом заводки рабочих пружин 4, предварительно смазав ось смазкой ЦИАТИМ-203 или ЦИАТИМ-221.
Оснастка: плоскогубцы, отвертка.
27.4. Установить возвратные пружины 9 и 18 (см. рис. 12) наружных обойм обгонной муфты 14.
Оснастка: плоскогубцы, отвертка.
27.5. Соединить тяги блок-контактов КСА-8 и указателя положения выключателя 21 с валом выключателя 33 (см. рис. 12).
Оснастка: плоскогубцы, отвертка.
ОПЕРАЦИЯ 28
РЕГУЛИРОВКА ПРИВОДА
Узел 03. Привод выключателя
Трудозатраты - 3,0 чел.-ч.
Состав звена: электрослесари 2-го разряда - 1 чел., 4-го разряда - 1 чел.
28.1. Отрегулировать тягами 29 и 26 зазор между рабочими кромками заделок 31 и 28 и собачками 32 и 30 (см. рис. 13) при положении роликов запорных устройств на наибольших радиусах профилей рычагов вала привода и вала выключателя (рис. 33).
Оснастка: гаечный ключ 12×14 мм, плоскогубцы, отвертка, рычаг ручного включения, линейка.
Рис. 33. Установка роликов запорных устройств на наибольших радиусах профилей рычагов вала привода:
1 - ролик запорного устройства отключения; 2 - рычаг вала включения; 3 - рычаг вала привода; 4 - ролик запорного устройства включения
28.2. Зазор между рабочими кромками защелок 31 и 28 и собачек 32 и 30 (см. рис. 13) должен быть равным 4+0,5-2,5 мм (рис. 34).
Рис. 34. Установка зазора между рабочими кромками защелок и собачек:
1 - защелка; 2 - собачка; 3 - ось; 4 - тяга
При этом ось заделки должна находиться на нижней кромке паза вилки. После регулировки оси зашплинтовать, тяги застопорить гайками.
В процессе регулировки включение и отключение выключателя производить только вручную.
28.3. Проверить положение диска 28 (см. рис. 12) на валу привода. При угле закручивания рабочих пружин 245 + 5° (без учета предварительного натяга) ролик рычага блок-контактов БКП должен провалиться в вырез диска. При необходимости произвести регулировку.
Оснастка: гаечный ключ 10×12 мм.
28.4. Установить приспособление П-9 для замера моментов (рис. 35) на конец вала привода 5 (см. рис. 15). Проверить и отрегулировать:
а) предварительный момент на валу привода, который должен быть не менее 3,5 кгс · м;
б) максимальный момент на валу привода, который при заведенных рабочих пружинах должен быть равен 17+3-1 кгс · м.
Рис. 35. Приспособление П-9 для замера момента на валу привода
Регулировку предварительного и максимального моментов производить путем изменения угла предварительного натяга рабочих пружин, который должен быть равен 105 + 15° (см. операцию 26).
Примечания: 1. Фиксацию величины измеряемого момента производить по началу отклонения рычага приспособления. 2. Наращивание веса груза производить равномерно.
Оснастка: приспособленка П-9, набор грузов, рычаг ручного включения.
28.5. Установить кулачок 13 (см. рис. 12) так, чтобы его рабочая кромка вошла в зацепление с собачкой буфера 11, после выхода ролика рычага БКП из прорези на наружный профиль диска 28 при повороте вала привода на угол 10 - 15° затянуть болты.
Оснастка: гаечный ключ 17×19 мм.
28.6. При включении ролик не должен садиться на собачку запорного устройства включения 35. При необходимости под пружину буфера 11 подложить шайбы размером 13×20×1 (не более двух).
Оснастка: торцовый ключ, головка 10 мм.
28.7. Проверить зазор между роликами 38 (см. рис. 12) вала выключателя (в отключенном положении) и кулачком 34 вала привода (при застопоренном положении вала привода запорным устройством включения). Зазор должен быть не менее 0,5 мм.
Оснастка: щуп 0,5 мм, рычаг ручного включения.
28.8. Отрегулировать тягой 20 (см. рис. 13) зазор 1 мм между рычагами, связанными с аварийными блок-контактами БКА и электромагнитом дистанционного отключения 27, как это показано на рис. 36.
Оснастка: плоскогубцы, отвертка, линейка.
Рис. 36. Регулировка зазора между рычагами
28.9. Отрегулировать шток 36 и рычаг 37 механической блокировки кнопки «Вкл.» (см. рис. 13) так, чтобы при отключенном вале выключателя и заведенных рабочих пружинах вала привода кнопка «Вкл.» разблокировалась. Регулировку производить поднятием или опусканием блокировки или штока кнопки.
Оснастка: плоскогубцы, отвертка.
28.10. Произвести динамометром захват планки вала 8 (см. рис. 13) на плече 35 мм от оси вала и замерить усилие, которое не должно превышать 0,5 кгс.
Примечание. Захват собачки 32 за защелку 31 должен быть не менее 2,5 мм (регулируется высотой релейной планки).
Оснастка: динамометр, линейка, гаечный ключ 7×8 мм.
28.11. Отжать блокировочной собачкой 35 защелку 28 (см. рис. 13). При этом зазор между рабочими кромками защелки 28 и собачки 30 должен быть не менее 1 мм.
Оснастка: щуп 1 мм.
28.12. Отрегулировать винтом зазор между контактами контактодержателя и контактами прерывателя 10 (см. рис. 12). Зазор должен быть не менее 8 мм. После регулировки винт застопорить гайкой.
Оснастка: линейка, отвертка, гаечный ключ 7×8 мм.
28.13. Блок-контакты КСА-8 (см. рис. 12) отрегулировать тягой так, чтобы их положение соответствовало электрической схеме управления приводом (приложение 8).
Оснастка: плоскогубцы, отвертка.
28.14. Отрегулировать указатель 1 (см. рис. 13) положения выключателя так, чтобы его табличка находилась на одном уровне с табличкой указателя положения привода 3.
Оснастка: плоскогубцы, отвертка.
ОПЕРАЦИЯ 29
РЕГУЛИРОВКА ВЫКЛЮЧАТЕЛЯ И ПОДГОТОВКА ЕГО К ИСПЫТАНИЯМ
Узел 01. Выключатель
Трудозатраты - 3,0 чел.-ч.
Состав звена: электрослесарь 2-го разряда - 1 чел., 3-го разряда - 1 чел., 4-го разряда - 1 чел.
29.1. Замерить переходное сопротивление токоведущего контура каждого из полюсов выключателя (см. рис. 6), которое не должно превышать 55 мкОм.
Оснастка: прибор М-246.
29.2. Замерить скоростные характеристики выключателя согласно приложению 9.
Скорость включения выключателя должна быть:
а) в момент замыкания контактов - не менее 4,5 м/с;
б) максимальная - не более 6 м/с.
Скорость отключения выключателя должна быть:
а) в момент размыкания контактов - 3,5 ± 0,3 м/с;
б) максимальная - не более 5 м/с.
Оснастка: приспособления П-3, П-10, виброграф, линейка, карандаш.
Примечания: 1. Скорости включения и отключения регулировать пружинным буфером, отключающими пружинами, изменением предварительного натяга рабочих пружин вала привода (105 ± 15°). 2. При изменении угла завода рабочих пружин проверить момент на валу привода согласно операции 28.
29.3. Установить на полюсах выключателя маслоуловители 14, прокладки 26 и крышки 15 (см. рис. 2). Прикрепить крышки к корпусам полюсов болтами, подложив шайбы.
Оснастка: торцовый ключ, головка 12 мм.
29.4. Установить и закрепить изоляционные перегородки между полюсами выключателя.
Оснастка: гаечный ключ 10×12 мм.
29.5. Протереть контактные выводы каждого полюса ветошью, смоченной в бензине. Зачистить места контакта на шинах. Присоединить шины к контактным выводам полисов, предварительно смазав места контакта техническим вазелином.
Оснастка: гаечный ключ 17×19 мм.
29.6. Проверить заземление. Протереть и зачистить площадку под болт заземления и смазать техническим вазелином.
Оснастка: ветошь, гаечный ключ 12×14 мм, гаечный ключ 14×17 мм.
29.7. Застопорить болты 12 крепления кулачка 13 (см. рис. 12), загнув края стопорных шайб. Произвести осмотр и проверку крепления узлов и деталей выключателя.
29.8. Произвести несколько раз ручное и дистанционное опробование выключателя включением и отключением с помочью привода.
29.9. Восстановить на отдельных узлах и деталях выключателя окраску.
Оснастка: кисть.
29.10. Протереть выключатель сухой чистой ветошью, особенно тщательно протереть все изоляционные части (изоляторы, тяги, цилиндры, перегородки).
ОПЕРАЦИЯ 30
ПРОВЕРКА И ИСПЫТАНИЕ ЦЕПЕЙ УПРАВЛЕНИЯ, ВТОРИЧНОЙ КОММУТАЦИИ И УСТРОЙСТВ РЗА
Узел 01. Выключатель
Трудозатраты - 1,0 чел.-ч.
Состав звена: электрослесари 2-го разряда - 1 чел., 3-го разряда - 1 чел.
30.1. Осмотреть состояние цепей вторичной коммутации и проверить маркировку проводов в соответствии с электрической схемой (см. приложение 8 и рис. 29).
30.2. Проверить включение и отключение выключателя при подаче на электромагнит отключения и включения напряжения Uн, 0,8Uн, 1,1Uн.
30.3. Замерить напряжение на выходе селенового выпрямителя (при схеме питания на переменном токе), которое должно соответствовать Uн = 110 В или Uн = 220 В.
30.4. Подать на катушку электромагнита заводки рабочих пружин напряжение Uн и 0,8Uн. Проверить работу и время заводки рабочих пружин, которое должно быть при Uн - не более 30 с; при 0,8Uн - не более 60 с.
30.5. Замерить временные характеристики выключателя:
а) собственное время включения выключателя с приводом не более 0,2 с;
б) собственное время отключения выключателя с приводом не более 0,1 с.
30.6. Произвести проверку и испытание цепей вторичной коммутации и устройств РЗА в соответствии с инструкцией завода-изготовителя, сборником «Объем и нормы испытаний электрооборудования» («Энергия», 1975) и действующими инструкциями.
30.7. Установить на блок-контакты КСА крышки и закрепить их винтами.
Оснастка: отвертка.
30.8. Установить крышку рамы привода и закрепить ее гайками.
Перед вводом в эксплуатацию испытать выключатель с опорной изоляцией повышенным напряжением в соответствии со сборником «Объем и нормы испытаний электрооборудования».
Оснастка: торцовый ключ, головка 10 мм.

Примечание к приложениям 1 и 2. В кружке указано: выше черты - номер события, соответствующий номеру технологической операции; ниже черты слева - суммарное время, затраченное на выполнение технологической операции от начала ремонта, справа разряд и количество человек в звене. При повторении операции к номеру события приписывается буква (А, B, С), указывающая полюс выключателя. Между кружками под чертой указывается количество человек в звене и время, затраченное одним электромонтером.

|
Наименование |
Номер заводского чертежа |
Количество на один выключатель |
|
Сменный наконечник |
5КА 426001 |
3 |
|
Ламель неподвижного контакта |
5КА 572001 |
15 |
|
Опорный изолятор |
8КА 720001 |
6 |
|
Кольцо дугогасительной камеры |
8КА 711001 |
3 |
|
Прокладка для нижней крышки |
8КА 34000Н |
3 |
|
Уплотнение маслоспускной пробки |
8КА 71000Н |
3 |
|
Стекло маслоуказателя |
8КА 724001 |
3 |
|
Колпачок маслоуказателя |
8КА 307002 |
3 |
|
Направляющая колодка |
8БП 143588 |
3 |
|
Мостик контактный |
5КА 533000 |
2 |
|
Контакт |
5КА 551030 |
2 |
|
Обойма наружная |
5КА 147000 |
1 |
|
Обойма наружная |
5КА 147001 |
1 |
|
Обойма внутренняя |
8КА 147005 |
1 |
|
Ролик |
8КА 221020 |
12 |
|
Толкатель |
8КА 235013 |
12 |
|
Пружина |
8КА 281066 |
12 |
|
Рабочая пружина |
8КА 284004 |
4 |
|
Резиновый буфер |
8КА 287013 |
1 |
|
Упор |
8КА 270010 |
1 |
|
Наименование инструмента |
Условное обозначение инструмента |
ГОСТ |
Количество, шт. |
|
Ключ гаечный с открытыми зевами двусторонний: |
|||
|
7×8 мм |
Ключ 7811-0006 |
ГОСТ 2839-71 |
1 |
|
8×10 мм |
Ключ 7811-0003 |
ГОСТ 2839-71 |
1 |
|
11×14 мм |
- |
1 |
|
|
10×12 мм |
Ключ 7811-0004 |
ГОСТ 2839-71 |
1 |
|
14×17 мм |
Ключ 7811-0022 |
ГОСТ 2839-71 |
1 |
|
17×19 мм |
Ключ 7811-0023 |
ГОСТ 2839-71 |
2 |
|
22×24 мм |
Ключ 7811-0025 |
ГОСТ 2839-71 |
1 |
|
27×30 мм |
Ключ 7811-0041 |
ГОСТ 2839-71 |
1 |
|
Ключ гаечный с открытым зевом односторонний |
|||
|
41 мм |
Ключ 7811-0145 |
ГОСТ 2841-71 |
1 |
|
Ключ торцовый с шарнирной муфтой (а = 10 мм) |
Ключ С7812-2071 |
- |
1 |
|
Головка сменная цельноштампованная: |
|||
|
10 мм |
Сменная головка 10 |
ГОСТ 3329-54 |
1 |
|
12 мм |
Сменная головка 12 |
ГОСТ 3329-54 |
1 |
|
14 мм |
Сменная головка 14 |
ГОСТ 3329-54 |
1 |
|
17 мм |
Сменная головка 17 |
ГОСТ 3329-54 |
1 |
|
19 мм |
Сменная головка 19 |
ГОСТ 3329-54 |
1 |
|
22 мм |
Сменная головка 22 |
ГОСТ 3329-54 |
1 |
|
24 мм |
Сменная головка 24 |
ГОСТ 3329-54 |
1 |
|
27 мм |
Сменная головка 27 |
ГОСТ 3329-54 |
1 |
|
Ключ торцовый с шарнирной муфтой (а = 14 мм) |
Ключ С7812-2074 |
- |
1 |
|
Плоскогубцы комбинированные длиной 150 мм |
Плоскогубцы комбинированные 150 |
ГОСТ 5547-52 |
1 |
|
Круглогубцы длиной 150 мм |
Круглогубцы 150 |
ГОСТ 7283-54 |
1 |
|
Зубило слесарное шириной лезвия 20 мм |
Зубило слесарное 20×60° |
ГОСТ 7211-54 |
1 |
|
Трехгранный напильник № 2 |
Напильник 2821-0067 |
ГОСТ 1465-69 |
1 |
|
Трехгранный напильник № 4 |
Напильник 2821-0069 |
ГОСТ 1465-69 |
1 |
|
Полукруглый напильник № 2 |
Напильник 2822-0127 |
ГОСТ 1465-69 |
1 |
|
Полукруглый напильник № 4 |
Напильник 2822-0131 |
ГОСТ 1465-69 |
1 |
|
Кернер |
Кернер 7843-0039 |
1 |
|
|
Молоток слесарный стальной типа I массой 400 г |
Молоток 7850-0051 |
ГОСТ 2310-70 |
1 |
|
Линейка измерительная металлическая 500 мм |
Линейка 1-500 |
ГОСТ 427-56 |
1 |
|
Тиски слесарные поворотные |
Тиски II-100 |
ГОСТ 4045-57 |
1 |
|
Штангенциркуль с двусторонними губками типа ЩЦ-II |
Штангенциркуль ЩЦ-II 0 - 200 |
ГОСТ 166-63 |
1 |
|
Штангенрейсмас 0 - 250 мм |
Штангенрейсмас ШР 0 - 250 |
ГОСТ 164-64 |
1 |
|
Щуп № 4 с набором |
- |
ГОСТ 882-64 |
1 |
|
Съемник двухрычажный |
Съемник 7801-0001 |
МН 548-60 |
1 |
|
Выколотка со сменным медным наконечником |
Выколотка С7851-2027 |
- |
1 |
|
Киянка |
0304-0002 |
ГОСТ 11775-66 |
1 |
|
Отвертка слесарно-монтажная |
Отвертка Б 200×1,0 |
ГОСТ 17199-71 |
1 |
|
Отвертка слесарно-монтажная типа В 150×0,3 |
Отвертка В 150×0,3 |
ГОСТ 17199-71 |
1 |
|
Ключ трубный рычажный № 1 |
Ключ трубный рычажный 1/4 - 1″ |
НКТМ 6813-39 |
|
|
Ключ гаечный разводной № 1 |
- |
ГОСТ 7275-62 |
1 |
|
Нож монтерский НМ-2 |
- |
МРТУ 34-7 |
1 |
|
Отвес ОТ-100 |
- |
ГОСТ 7948-71 |
1 |
|
Мерный стакан |
- |
- |
1 |
|
Кисть КФ-25 |
- |
ГОСТ 10597-70 |
1 |
|
Кисть КФК-6 |
- |
ГОСТ 10597-70 |
2 |
|
Ведро |
- |
- |
1 |
|
Противень |
- |
- |
1 |
|
Карандаш 2М |
- |
- |
1 |
|
Наименование материала |
ГОСТ |
Единица измерения |
Количество |
|
Смазка ЦИАТИМ-221 (ЦИАТИМ-203) |
кг |
0,2 |
|
|
Вазелин технический (смазка УН) |
ГОСТ 782-59 |
кг |
0,05 |
|
Масло трансформаторное |
ГОСТ 982-68 |
л |
12,0 |
|
Краска желтая |
ГОСТ 9640-61 |
кг |
По необходимости |
|
Краска красная |
ГОСТ 9640-61 |
кг |
-»- |
|
Краска зеленая |
ГОСТ 9640-61 |
кг |
-»- |
|
Краска черная |
ГОСТ 9640-61 |
кг |
-»- |
|
Краска серая |
ГОСТ 9640-61 |
кг |
-»- |
|
Ветошь |
ГОСТ 5355-69 |
кг |
1,0 |
|
Бензин авиационный Б-70 |
ГОСТ 1012-54 |
л |
0,5 |
|
Шкурка шлифовальная |
ГОСТ 5009-68 |
м2 |
0,25 |
|
Электрокартон ЭМ (толщина 1,0) |
ГОСТ 4194-68 |
кг |
По необходимости |
|
Электрокартон ЭМ (толщина 0,5) |
ГОСТ 4194-68 |
кг |
-»- |
|
Лак бакелитовый |
ГОСТ 901-56 |
кг |
0,1 |
|
Резина листовая техническая 5,0 мм |
ГОСТ 7338-65 |
кг |
По необходимости |
|
Резина листовая техническая 6,0 мм |
ГОСТ 7338-65 |
кг |
-»- |
|
Фибра листовая «ФЭ» |
ГОСТ 14613-69 |
кг |
-»- |
|
Паронит (толщина 1,0 мм) |
ГОСТ 481-71 |
кг |
-»- |
|
Графит «П» |
ГОСТ 8295-57 |
кг |
0,02 |
|
Шплинты разные |
ГОСТ 397-66 |
По необходимости |
|
Наименование |
Количество, шт. |
Примечание |
|
Приспособление П-1 для проверки усилия вытягивания подвижного контакта из неподвижного розеточного |
1 |
Рис. 7 |
|
Приспособление П-2 для регулировки полюсов (контрольный стержень) |
3 |
Рис. 10 |
|
Приспособление П-3 для замера скоростей включения и отключения выключателя |
1 |
Рис. 36 |
|
Приспособление П-4 для установки отключенного положения вала выключателя |
1 |
Рис. 30 |
|
Приспособление П-5 для фиксации включенного положения выключателя |
1 |
Рис. 14 |
|
Приспособление П-6 для съема пружины и планок пружинного буфера |
1 |
Рис. 21 |
|
Приспособление П-7 для сборки вала привода с барабаном |
1 |
Рис. 18 |
|
Приспособление П-8 для установки роликов |
1 |
Рис. 19 |
|
Приспособление П-9 для замера момента на валу привода |
1 |
Рис. 34 |
|
Приспособление П-10 для установки вибрографа |
1 |
Рис. 37 |
|
Динамометр 1 - 10 кгс · м |
1 |
ГОСТ 13837-68 |
|
Динамометр 5 - 50 кгс · м |
1 |
ГОСТ 13837-68 |
|
Виброграф на 12 В |
1 |
ЦВЛ Мосэнерго |
|
Шнур-удлинитель электрический |
1 |
- |
|
Рычаг ручного включения |
1 |
- |
|
Трансформатор 220/12 В |
1 |
- |
|
Прибор для замера сопротивления контактов М-246 |
1 |
- |
|
Мегомметр 1000 В |
1 |
- |
|
Вольтметр астатический 300 В |
1 |
- |
|
Электросекундомер |
1 |
- |
|
ЛАТР-1 |
1 |
- |
|
РЭУ _________________ УТВЕРЖДАЮ ПЭС __________________ Начальник ________________________ Подстанция ___________________ __________________________________ Присоединение ________________ «___» ______________________ 19__ г. ТЕХНИЧЕСКИЙ АКТ
|
||||||||||||||||||||||||||||||||||||||||||||||||||||||||||||||||||||||||||||||||||||||||||||||||||||||||||||||||||||||||||||||||||||||||||||||||||||||||||||||||||||||||||||||||||||||||||||||||||||||||||||||||||||
|
Наименование операции |
Отметка о выполнении |
Состояние после ремонта (заполняет мастер или производитель работ) |
|
Привод |
||
|
Ремонт вала привода с барабаном |
||
|
Ремонт отключающих и буферной пружин |
||
|
Ремонт вала выключателя (угол поворота вала выключателя 65 ± 2°) |
||
|
Ремонт масляного буфера: |
||
|
а) ход штока буфера - 21 мм |
||
|
б) заливка маслом - 70 см3 |
||
|
Ремонт запорных устройств включения и отключения |
||
|
Ремонт механизмов кнопок «Вкл.» и «Откл.» |
||
|
Ремонт электромагнитов дистанционного включения и отключения |
||
|
Ремонт электромагнита заводки рабочих пружин |
||
|
Ремонт рамы выключателя |
||
|
Контроль и регулировка зазоров: |
||
|
а) между щекой и обоймой барабана 0,3 - 0,9 мм (кругом) |
||
|
б) между рычагами, связанными с аварийными блок-контактами БКА не менее 1 мм |
||
|
в) между кулаком вала привода и роликом вала выключателя не менее 0,5 мм (в отключенном положении) |
||
|
г) между рабочими кромками блокировочной собачки и защелки механизма включения не менее 1 мм |
||
|
д) между рабочими кромками защелок и собачек механизмов включения и отключения 4+0,5-2,5 мм |
||
|
е) между контактом и контактодержателем прерывателя не менее 8 мм |
||
|
Контроль и регулировка моментов: |
||
|
а) предварительный натяг рабочих пружин не менее 3,5 кгс · м |
||
|
б) максимальный на валу привода 17,5+3-1 кгс · м |
||
|
в) на релейном валу не более 0,5 кгс на плече 35 мм |
||
|
Время заводки рабочих пружин: |
||
|
а) при U = 0,8Uн не более 60 с |
||
|
б) при U = Uн не более 30 с |
||
|
Прозвонка изоляции катушек электромагнитов дистанционного включения и отключения и электромагнита заводки (не менее 1 МОм) |
||
|
Смазка и окраска узлов привода |
||
|
Выключатель |
||
|
Проверка опорных изоляторов |
||
|
Ремонт маслоуказателей |
||
|
Полная (частичная) разборка полюсов |
||
|
Ремонт дугогасительных камер: |
||
|
а) проверка отверстия в кольце нижней перегородки (не более 29,5 мм) |
||
|
б) регулировка размеров щелей (а = 21 мм, b = 15 мм, c = 12 мм) |
||
|
в) регулировка высоты камеры A = 128 мм |
||
|
Ремонт неподвижных розеточных контактов (высота розетки a = 86 ± 0,5 мм) |
||
|
Ремонт подвижных контактов, направляющих стержней и роликового токосъема |
||
|
Сборка полюсов выключателя: |
||
|
а) регулировка вертикальности полюсов |
||
|
б) заливка полюсов маслом |
||
|
Смазка и окраска узлов выключателя |
|
Данные замера |
Результаты замера |
Норма |
||
|
Фаза |
||||
|
А |
В |
С |
||
|
а) вытягивающее усилие при недоходе до мертвой точки на 10 мм |
Не более 20 кгс |
|||
|
б) недоход направляющих колодок до верхнего крайнего положения |
Не менее 4 мм |
|||
|
в) разновременность касания контактов |
Не более 5 мм |
|||
|
г) ход подвижных контактов в розеточных контактах |
60+3-5 мм |
|||
|
д) полный ход подвижных контактов |
245-5 мм |
|||
|
е) верхний и нижний недоходы подвижных контактов |
Не менее 4 мм |
|||
|
ж) полное сопротивление контактов на фазу |
Не более 55 мкОм |
|||
|
з) испытание повышенным напряжением (время - 1 мин) |
Uн = 6 кВ Uисп = 32 кВ Uн = 10 кВ Uисп = 42 кВ |
|||
|
Скорость, м/с |
При отключении |
При включении |
||
|
Норма |
Замер |
Норма |
Замер |
|
|
а) максимальная |
5,0 |
6,0 |
||
|
б) в момент замыкания и размыкания контактов |
3,5 ± 0,3 |
Не менее 4,5 |
||
|
Собственное время выключателя, с |
При отключении |
При включении |
||
|
Норма |
Замер |
Норма |
Замер |
|
|
Не более 0,1 |
Не более 0,2 |
|||
Детали, узлы, замененные во время ремонта ______________________________________
____________________________________________________________________________
____________________________________________________________________________
Замечания по ремонту, указания эксплуатационному персоналу _____________________
____________________________________________________________________________
____________________________________________________________________________
Выключатель ВМП-10П из ремонта __________________________
сдал производитель работ (подпись, дата) ( )
Выключатель из ремонта принял _____________________________
представитель эксплуатация (подпись, дата) ( )
Для замера скорости и времени включения (отключения) выключателя служат приспособление П-3 (рис. 37), приспособление П-10 (рис. 38) и виброграф на 12 В, изготовленный Мосэнерго (рис. 39). Приспособление П-3 с вибрографом крепится к корпусу механизма 18 (см. рис. 2) на месте снятой с полюса верхней крышки 15 на двух болтах. На планке приспособления П-3 крепится полоска из миллиметровой бумаги, затем приспособление ввинчивается в торец контакта согласно рис. 37.

Рис. 37. Приспособление П-3 для установки вибрографа
Рис. 38. Приспособление П-10 для установки вибрографа:
1 - держатель; 2 - стержень (приспособление П-3, см. рис. 37); 3 - труба; 4 - полоска; 5 - отверстия для крепления вибрографа; 6 - отверстия для крепления держателя на полюсе
Примечание. Размеры держателя приведены для вибрографа 12 В.
Катушка 7 (см. рис. 39) вибрографа включается в сеть переменного тока напряжением 12 В и частотой 50 Гц. При включении и отключении выключателя приспособление П-3 двигается вместе с подвижным контактом и карандаш 1 чертит на полоске из миллиметровой бумаги, закрепленной на планке приспособления П-3, волнообразную кривую (виброграмму).
Рис. 39. Виброграф:
1 - карандаш; 2 - якорь; 3 - сердечник; 4 - корпус; 5 - пружинящая пластина; 6 - регулировочный винт; 7 - катушка
При питании катушки 7 от сети с частотой 50 Гц, пластина 5 вибрирует с частотой 100 Гц, совершая одна колебание за 0,01 с. Амплитуда колебаний регулируется винтом 6. За время одного колебания пластины 5 карандаш 1 записывает на движущейся ленте одну волну виброграммы (рис. 40). Длина волны L зависит от скорости движения подвижного контакта. Чем быстрее движется контакт, тем больше длина волны виброграммы. Среднюю скорость движения подвижного контакта определяют по формуле
![]()
где t = 0,01 c.
Если длину волны измерять в сантиметрах, а скорость в метрах в секунду, то
![]()
т.е. средняя скорость движения подвижного контакта (м/с) на любом участке численно равна длине волны виброграммы (см) на этом участке.
Рис. 40. Волна виброграммы:
L - длина волны
Рис. 41. Разбивка виброграммы на пролеты:
Vо.к - скорость в момент размыкания контактов; Vо.м - максимальная скорость отключения; S1 - ход в розеточном контакте; S2 - ход подвижного контакта
Рис. 42. Виброграмма для определения скорости включения (отключения) выключателя:
L, L′, L″ - длина пролетов; O1, O2, O3 - вершины виброграммы
Виброграммы снимаются при номинальном напряжении на приводе.
Для регулировки выключателя снимаются виброграммы «Включение» и «Отключение».
На рис. 41 в качестве примера представлена виброграмма «Отключение».
При записи виброграммы ход планки приспособления П-3 соответствует ходу подвижного контакта (S2 = 245 мм), а скорость движения подвижного контакта равна скорости движения планки приспособления П-3 и определяется по виброграмме. Для этого производится разбивка виброграммы на пролеты, равные длинам волн. Расстановка отметок ведется с первой (считая от конца B) вершины. Средние скорости движения подвижных контактов (м/с), численно равные длине пролетов (см) обозначаются на виброграмме в пролетах.
При разметке виброграммы на пролеты и анализе ее надо учитывать следующее:
а) отметки необходимо наносить точно у вершин волн, так как неточность в один миллиметр приводит к ошибке в определении скорости на 0,1 м/с;
б) значение средней скорости в пролете следует относить не к середине пролета, а к промежуточной обратной вершине O2 (рис. 42) виброграммы, где ставится дополнительная отметка;
в) скорость в пролете справа и слева от дополнительной отметки не равна средней скорости.
Показателем
изменения скорости является прирост Δ
длины пролета при переходе от рассматриваемого пролета к соседнему. Если длина
данного пролета L, а длина соседних пролетов L′ и L″,
то Δ′ = L′
- L и Δ″ = L″ - L. Если соседний пролет больше (L′ > L или
L″ > L),
то прирост Δ имеет знак плюс, и наоборот.
На длине 1 мм пролета скорость изменяется примерно на величину Δ/L, а на расстоянии lx от дополнительной отметки
скорость движения может быть определена
, где Vx - в метрах в секунду, L, lx, Δ - в
сантиметрах, причем прирост Δ должен быть взят
соответствующего значения и знака (+ или -).
Виброграмму можно разделить на две части: в первой скорость движения возрастает от начального нулевого до максимального значения, во второй - она уменьшается от максимального до конечного нулевого значения. Следовательно, при рассмотрении первой части виброграммы длина пролета должна постепенно возрастать до максимального значения, а во второй - убывать. На протяжении виброграммы не должно быть участков, на которых после увеличения длина пролетов начинает уменьшаться, а затем вновь увеличиваться. Если такие участки имеются, это свидетельствует о провале скорости (местном замедлении), что недопустимо.
По виброграмме определяют скорости движения контактов в момент размыкания (замыкания) Vо.к, Vв.к (см. рис. 41) и максимальные скорости для данной операции Vо.м, Vв.м. Эти скорости не должны отличаться от нормированных. Скорость включения выключателя ВМП-10П в момент замыкания контактов не менее 4,5 м/с. Наибольшая скорость включения выключателя ВМП-10П - 6 м/с. Скорость отключения выключателя ВМП-10П в момент размыкания контактов - 3,5 ± 0,3 м/с. Наибольшая скорость отключения выключателя ВМП-10П - 5 м/с.
По
виброграмме можно определить время движения подвижных контактов. Если
виброграмма имеет n пролетов, то полное время
движения подвижных контактов равно ![]()
СОДЕРЖАНИЕ